патент
№ RU 2584789
МПК B63B45/00

УСТРОЙСТВО ДЛЯ ОБОЗНАЧЕНИЯ ГРАНИЦЫ ВПП ГИДРОАЭРОДРОМА

Авторы:
Потатуев Сергей Васильевич
Номер заявки
2014152380/11
Дата подачи заявки
23.12.2014
Опубликовано
20.05.2016
Страна
RU
Как управлять
интеллектуальной собственностью
Чертежи 
2
Реферат

Изобретение относится к гидротехническим устройствам и предназначено для обозначения границы ВВП гидроаэродрома при взлете воздушного судна с его поверхности и его посадке. Устройство для обозначения границы ВПП гидроаэродрома содержит корпус. Корпус состоит из освещаемой надводной и герметичной подводной частей, в которой расположен пенал для аккумуляторов, и имеет пескобетонный груз, монтажный трос, якорный рым. Надводная и подводная части корпуса разнесены и соединены между собой гидрошлангом. Надводная часть снабжена антенной радиоуправления. Подводная часть корпуса снабжена дополнительными водонепроницаемыми пеналами для размещения приемоуправляющего блока, блока автоматики управления гидронасосом и подсветки, а также гидронасосом с возможностью подачи воды с регулируемой интенсивностью, формой, цветом и яркостью водяной струи по гидрошлангу через форсунку. Форсунка закреплена в надводной части корпуса. При этом устройство снабжено балансировочным грузом на гидрошланге, дополнительным поплавком с проходящим через него монтажным тросом, гидрошлангом, электропроводом антенны и подсветки. Достигается безопасность при взлете и посадке воздушного судна и расширение эксплуатационных возможностей. 3 ил.

Формула изобретения

Устройство для обозначения границы ВПП гидроаэродрома, содержащее корпус, состоящий из освещаемой надводной и герметичной подводной частей, с расположенным в нем пеналом для аккумуляторов, имеющий пескобетонный груз, монтажный трос, якорный рым, отличающееся тем, что надводная и подводная части корпуса разнесены и соединены между собой гидрошлангом, при этом надводная часть снабжена антенной радиоуправления, принимающей радиосигналы, а подводная часть корпуса - дополнительными водонепроницаемыми пеналами для размещения приемоуправляющего блока, блока автоматики управления гидронасосом и подсветки, а также гидронасосом с возможностью подачи воды с регулируемой интенсивностью, формой, цветом и яркостью водяной струи по гидрошлангу через форсунку, закрепленную в надводной части корпуса, а также устройство снабжено балансировочным грузом на гидрошланге, стабилизирующим его вертикальное положение, дополнительным поплавком с проходящим через него монтажным тросом, гидрошлангом, электропроводом антенны и подсветки.

Описание

[1]

Изобретение относится к гидротехническим устройствам и предназначено для обозначения границы ВПП (взлетно-посадочной полосы) гидроаэродрома при взлете воздушного судна с его поверхности и его посадке.

[2]

Известно устройство (1), представляющее собой плавучий освещаемый навигационный знак. Данное устройство состоит из пустотелого пластмассового корпуса, включающего заполненную пенопластом поплавковую часть с элементом жесткости, выполненную в виде металлической рамы трапециедальной формы, установленной в плоскости, проходящей через ось симметрии буя, силуэтной фигуры с центральным пеналом для размещения источников питания отбойного устройства, рымами швартовки и крепления якорной цепи (троса), балластных грузов и пенопластовой вставки в верхней силуэтной части буя.

[3]

Недостатком устройства являются сложная конструкция буя, трудоемкая и сложная технология изготовления, использование большого количества металла, отсутствие килевого стабилизатора, а также недостаточная устойчивость буя на воде.

[4]

Наиболее близким к предлагаемому изобретению, выбранным в качестве прототипа, является плавучий навигационный освещаемый знак (2), изготовленный из современных полимерных материалов. Устройство состоит из поплавка, корпус которого выполнен из стеклопластика, заполненного полистирольным пенопластом. В нижней части корпуса-днища уложен балластный груз из пескобетона. Снаружи на подводной части днища корпуса поплавка установлен якорный рым, и по оси с ним - килевой профилированный стабилизатор. На подводной части корпуса буя установлена силуэтная часть и герметичный пенал для устройства подсветки в ночное время. Кроме того, на поверхности буя установлено металлическое стальное ограждение устройства подсветки, выполняющее так же роль локаторного отражателя. Посредством троса или капронового фала буй через якорный рым соединяется с балластным грузом, находящимся на дне водоема.

[5]

Недостатками такого устройства являются:

[6]

а) большая парусность надводной части буя, при неблагоприятных погодных условиях, а именно при ветре и возникающей при этом волне резко увеличивается износ соединительных элементов (трос, цепь) буя и балластного груза, находящегося на дне водоема;

[7]

б) ограниченная видимая высота буя;

[8]

в) большое энергопотребление на освещение в ночное время;

[9]

г) конструкция буя достаточно сложная;

[10]

д) невозможность, из-за значительных размеров буя над водной поверхностью и небезопасности руления и взлета гидросамолета, использовать буи такого типа для обозначения взлетной полосы гидроаэродрома;

[11]

е) световой сигнал буя ограничен одним цветом;

[12]

ж) при штиле водной поверхности буй не способствует визуальному определению высоты над уровнем водоема.

[13]

Техническим результатом предлагаемого изобретения является обеспечение безопасной эксплуатации воздушного судна в режиме взлета и посадки на гидроаэродроме, расширение эксплуатационных возможностей.

[14]

Технический результат достигается тем, что устройство для обозначения границы ВПП гидроаэродрома содержит корпус, состоящий из освещаемой надводной и герметичной подводной частей, с расположенным в ней пеналом для аккумуляторов, имеющий пескобетонный груз, монтажный трос, якорный рым. Надводная и подводная части корпуса разнесены и соединены между собой гидрошлангом, при этом надводная часть снабжена антенной радиоуправления, принимающей радиосигналы, а подводная часть корпуса - дополнительными водонепроницаемыми пеналами для размещения приемоуправляющего блока, блока автоматики управлении гидронасосом и подсветки. Также подводная часть корпуса снабжена гидронасосом с возможностью подачи воды с регулируемой интенсивностью, формой, цветом и яркостью водяной струи по гидрошлангу через форсунку, закрепленную в надводной части корпуса, а также устройство снабжено балансировочным грузом на гидрошланге, стабилизирующим его вертикальное положение, дополнительным поплавком с проходящим через него монтажным тросом, гидрошлангом, электропроводом антенны и подсветки.

[15]

Сопоставительный анализ предлагаемого изобретения с выявленными аналогами показывает, что оно обладает новизной, изобретательским уровнем и промышленной применяемостью.

[16]

Сущность предлагаемого изобретения поясняется кратким описанием и прилагаемым чертежом, где:

[17]

- на фиг. 1 показано устройство для обозначения границы ВПП гидроаэродрома;

[18]

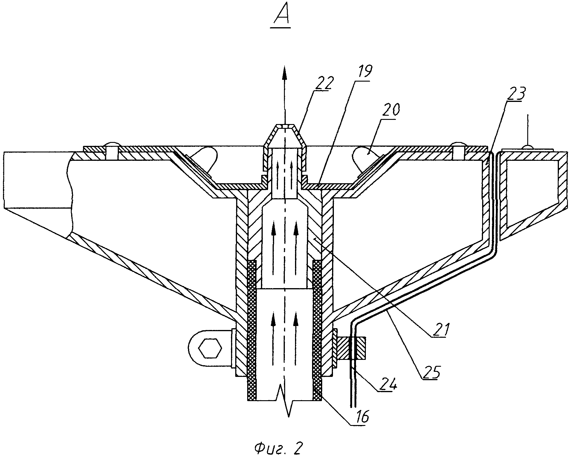
- на фиг. 2 показан вид А - надводная часть устройства;

[19]

- на фиг. 3 показан вид Б - вид подводной части корпуса устройства с условно снятой крышкой.

[20]

Устройство состоит из герметичной подводной части корпуса 1, представляющей собой по форме усеченный конус, выполненной, например, из армированного стеклопластика и состоящей из двух элементов - крышки 2 и основания 3, соединенных между собой по контуру крепежом, обладающим коррозионной устойчивостью. К основанию 3 подводной части корпуса 1 снаружи закреплен армированный пескобетонный груз 4, находящийся в пластмассовой облицовке, окантованный по контуру металлическим с коррозионной защитой профилем, с находящимся на нем рымболтом 5, на котором закреплен монтажно-эксплуатационный трос 6. На основании 3 внутри находятся и закреплены три влагозащищенных пенала 7, в которых установлены приемоуправляющий блок 8, блок автоматики и подсветки 9, блок аккумуляторов 10. Рядом с пеналами установлен гидронасос 11, входной патрубок 12 которого через гибкое соединение соединен с фланцем водозабора 13, расположенным на боковой поверхности крышки 2, причем фланец водозабора 13 закрыт сеткой - фильтром 14, во избежание попадания в систему инородных предметов. Выходной патрубок 15 гидронасоса 11 соединен с армированным гидрошлангом 16, проходящим через гермопроходник крышки 2 наружу. Далее армированный гидрошланг 16 проходит через закрепленный на нем дополнительный поплавок 17, представляющий собой по форме два усеченных конуса, обращенных друг к другу основаниями и состоящих из стеклопластикового корпуса и внутреннего наполнителя - полистирольного пенопласта, необходимого для компенсации веса гидрошланга 16 и имеющего на своей поверхности крепление для проходящего монтажно-эксплуатационного троса 6.

[21]

Конец армированного гидрошланга 16 закреплен и проходит через центральные отверстия надводной части корпуса 18 устройства и светоотражателя 19, с установленными на нем светодиодами 20 и заканчивается штуцером 21, с закрепленной на нем форсункой 22. Надводная часть корпуса 18 устройства представляет собой по форме усеченный конус с наличием у основания конуса незначительной цилиндрической части, закрепленной на конце армированного гидрошланга 16, направленного вершиной от водной поверхности и обладающего при этом расположении минимальным сопротивлением при волнении водной среды, исключающим необходимость в тяжелых балластных грузах. Надводная часть корпуса 18 изготовлена, например, из стеклопластикового (полимерного) материала и имеет вертикальные каналы 23 для прохождения электропровода 24 светодиодов 20, а также провода 25 антенны радиоуправления 26 устройством, находящейся на поверхности цилиндрической части. Наполнитель надводной части корпуса 18 - полистирольный пенопласт. Для стабилизации вертикального положения армированного гидрошланга 16 предусмотрен дополнительный металлический с коррозионной защитой балансировочный груз 27, установленный на гидрошланге 16 ниже дополнительного поплавка 17.

[22]

Устройство работает следующим образом.

[23]

При подаче радиосигнала УКВ-диапазона (ультракоротких волн) службой гидроаэродрома на устройство, сигнал принимается УКВ антенной 26, расположенной на поверхности надводной части корпуса устройства 18. Сигнал управления по электропроводу 24 попадает на приемоуправляющий блок 8, расположенный во влагозащищенном пенале 7, герметичной подводной части корпуса 1 устройства. Управляющий сигнал с приемоуправляющего блока 8 поступает на блок автоматики управления гидронасосом и подсветки 9. Через него происходит подключение аккумуляторов 10, находящихся во влагозащищенном пенале 7, к гидронасосу 11, находящемуся в герметичной подводной части корпуса 1 устройства. Аналогично, через блок автоматики 9 и провод 24 происходит подключение светодиодов 20 подсветки, находящихся на светоотражателе 19, установленном на поверхности надводной части корпуса 18 устройства. При срабатывании гидронасоса 11, через входной патрубок 12, с установленным на нем фильтром - сеткой 14, происходит забор воды с подачей ее по армированному гидрошлангу 16 к штуцеру 21 с форсункой 22. Струя воды через форсунку 22 выбрасывается на водную поверхность, образуя водяной буек, при этом происходит его подсветка определенным цветом, обозначая место своего нахождения. Система таких водяных буйков создает границу ВПП гидроаэродрома. После взлета воздушного судна устройство отключается. Так как оно подключается только на момент руления и взлета гидросамолета, радиоуправление устройством осуществляется в «экономном» режиме.

[24]

В зависимости от поставленной задачи высота, форма и цвет струи устройства могут изменяться сигналом радиоуправления, обеспечивая необходимую визуальную форму струи буя: высоту, цвет струи, яркость.

[25]

При работе устройства в штиль исключается само понятие «зеркальная вода», так как струя воды буя, падая на «зеркальную » водную поверхность, создает рябь поверхности, что является достаточным для визуального восприятия плоскости ВПП и создает предпосылки безопасного взлета и посадки гидросамолета на водную поверхность водоема.

[26]

В связи с расположением надводной части корпуса устройства на уровне водной поверхности и его незначительными размерами исключается возможность повреждения элементов гидросамолета при их контакте, а также «эффект парусности» и необходимость использования балластного груза большой массы.

[27]

Таким образом, устройство для обозначения границы ВПП гидроаэродрома решает задачу безопасной эксплуатации в режиме взлета и посадки воздушного судна на гидроаэродроме, расширяет эксплуатационные возможности.

[28]

Предлагаемое изобретение осуществимо по существующей технологии из материалов, применяемых в самолетостроении.

[29]

Источники информации

[30]

1. SU №810550, МПК В63В 21/52; В63В 51/02.

[31]

2. RU №20080 U1, МПК В63В 22/00.

Как компенсировать расходы
на инновационную разработку
Похожие патенты