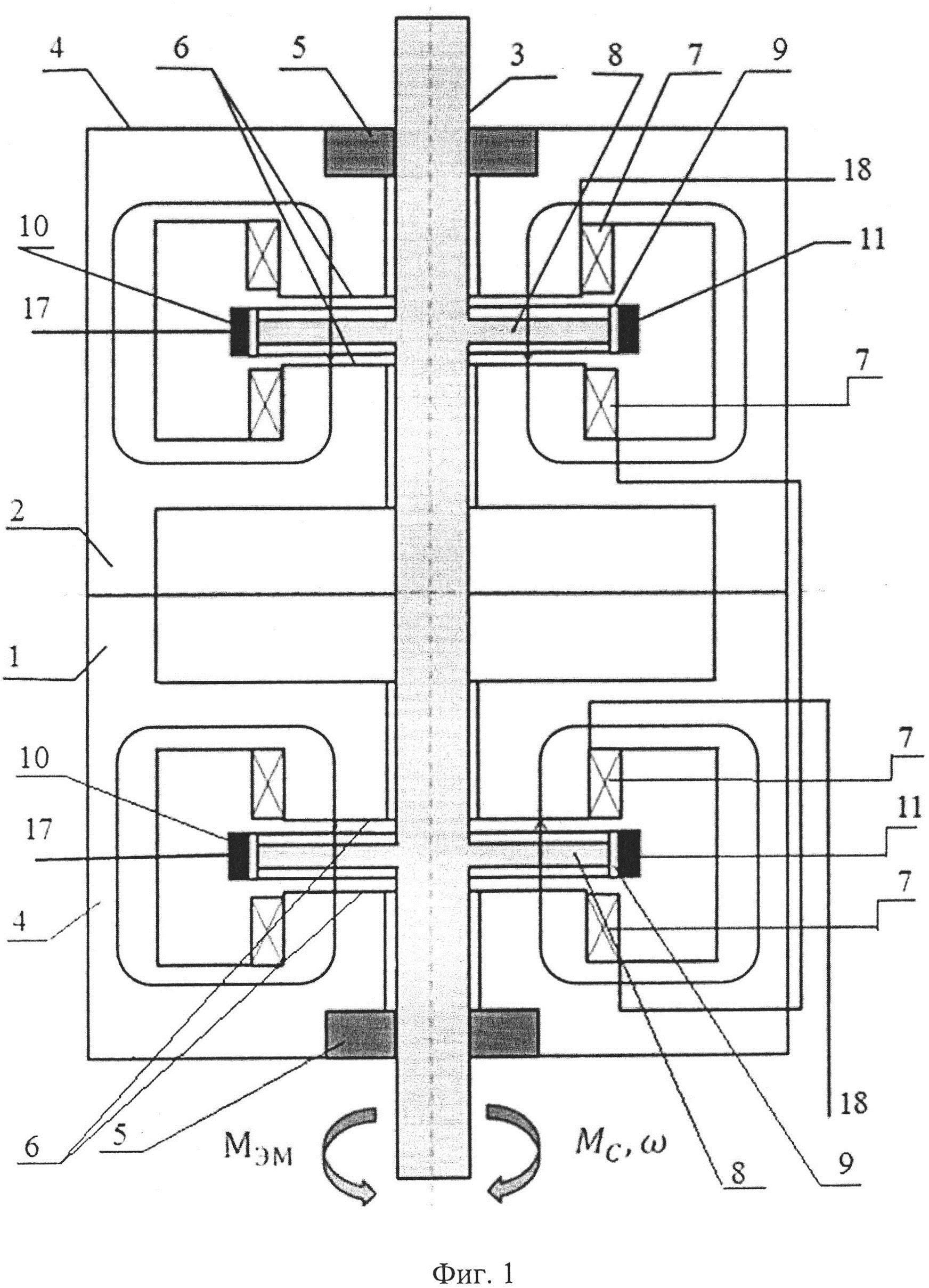
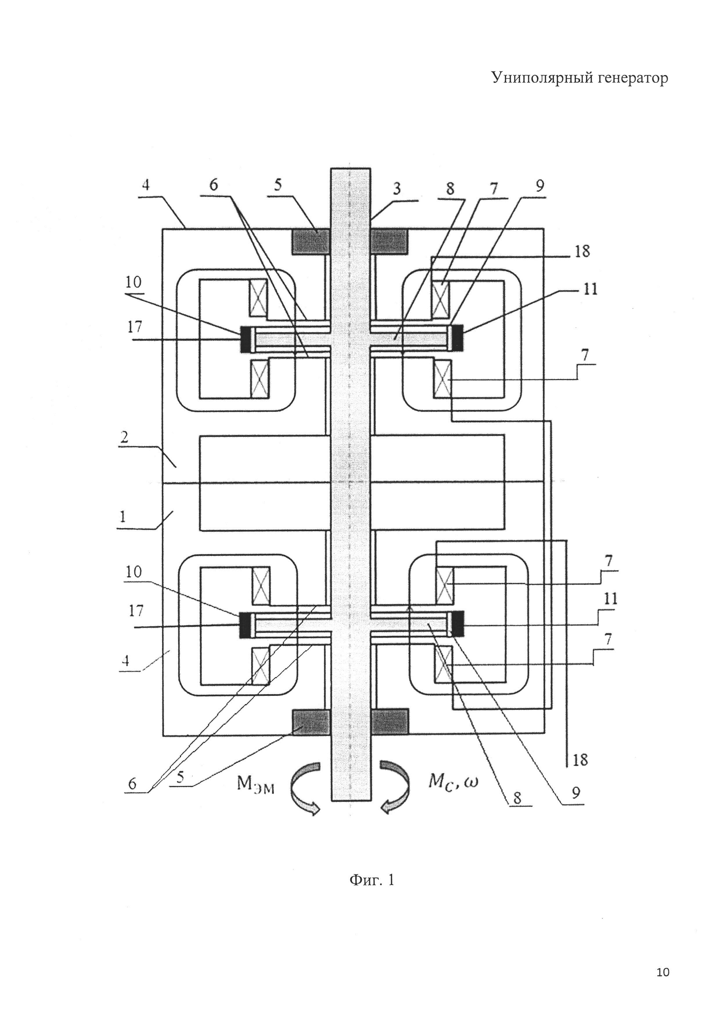
Изобретение относится к области электротехники и может быть использовано для питания низковольтных электрических устройств. Техническим результатом является расширение области применения униполярных генераторов. Униполярный генератор содержит первый генерирующий модуль (1) и второй генерирующий модуль (2), выполненные идентичными и соединенные валом (3). Каждый генерирующий модуль (1, 2) содержит корпус (4) с установленными в нем подшипниками (5), в которых зафиксирован вал (3), и с расположенными внутри него полюсами (6), на которых установлены катушки обмотки возбуждения (7), и диск якоря (8), установленный на валу (3) между полюсами (6). На внешних торцевых поверхностях дисков якоря (8) выполнены буртики (9) в форме колец шириной b=Δ и высотой h=3⋅Δ, где Δ - толщина диска якоря (8). На внешней поверхности буртиков (9) установлены первая щетка (10) и спаренная с ней вторая щетка (11), выполненные распределенными в виде призматических полуколец из композиции угля и графита. Первая (10) и вторая (11) щетки зафиксированы относительно корпуса (4) пружинами (12) с направляющими штоками (13), основания которых закреплены на монтажных утолщениях (14) упругих пластин (15), выполненных в форме плоских дуг из упругой стали с высокой электрической проводимостью. Щетки (10, 11) перекрыты упругими пластинами (15), образуя единые токосъемные узлы первого (1) и второго (2) генерирующих модулей. Свободные края пружин (12) установлены в изолирующие опоры (16), расположенные в корпусе (4) и выполненные из пластмассы с низкой электрической проводимостью. Между поверхностями изолирующих опор (16) и направляющими штоками (13) выполнены зазоры, превышающие длину возможного радиального перемещения щеток (10, 11). Вывод (17) щетки (10), являющийся также выводом щетки (11), и вывод (18) катушек обмотки возбуждения (7) установлены на корпусе (4). Упругие пластины (15) гибкими проводниками (19) соединены с выводом (17) щеток (10, 11). 5 ил.
Униполярный генератор, содержащий первый генерирующий модуль и второй генерирующий модуль, выполненные идентичными и соединенные валом, причем каждый генерирующий модуль содержит корпус с установленными в нем подшипниками, в которых зафиксирован вал, и с расположенными внутри него полюсами, на которых установлены катушки обмотки возбуждения, диск якоря, установленный на валу между полюсами, первую щетку, вывод первой щетки и вывод катушек обмотки возбуждения, установленные на корпусе, отличающийся тем, что он снабжен буртиками, выполненными на внешних торцевых поверхностях дисков якоря в форме колец шириной b=Δ и высотой h=3⋅Δ, где Δ - толщина диска якоря, второй щеткой, спаренной с первой щеткой, пружинами с направляющими штоками, упругими пластинами, выполненными в форме плоских дуг из упругой стали с высокой электрической проводимостью с монтажными утолщениями, изолирующими опорами, расположенными в корпусе и выполненными из пластмассы с низкой электрической проводимостью, при этом первая и вторая щетки установлены на внешней поверхности буртиков и перекрыты упругими пластинами, выполнены распределенными в виде призматических полуколец из композиции угля и графита и зафиксированы относительно корпуса пружинами с направляющими штоками, основания которых закреплены на монтажных утолщениях упругих пластин, а свободные края пружин установлены в изолирующие опоры, между поверхностями изолирующих опор и направляющими штоками выполнены зазоры, превышающие длину возможного радиального перемещения первой и второй щеток, вывод первой щетки является также выводом второй щетки и соединен гибкими проводниками с упругими пластинами.
Изобретение относится к электротехнике и может быть использовано для питания низковольтных электрических устройств. Известен униполярный генератор Форбса (Электрические униполярные машины // Под ред. Л.А. Суханова / Л.А. Суханов, Р.Х. Сафиуллина, Ю.А. Бобков. - ВНИИЭМ - Москва, 1964 г., 136 с.), содержащий корпус и полюсы, выполненные из материала с высокой магнитной проницаемостью, катушки обмотки возбуждения, два диска якоря, соединенные валом и выполненные из немагнитного материала с высокой электрической проводимостью, сосредоточенные щетки, выполненные в форме призм из композиции угля и графита и установленные на внешних торцевых поверхностях дисков якоря. Недостатком данного технического решения является узкая область применения из-за большого изменения напряжения генератора при нагрузке, обусловленного высоким электрическим сопротивлением дисков якоря и высоким электрическим сопротивлением областей контакта между уединенными сосредоточенными щетками и внешними торцевыми поверхностями дисков якоря. Наиболее близким по технической сущности к предлагаемому техническому решению является униполярный генератор (патент RU №2588593, публ. 10.07.2016, МПК H02K 31/02), содержащий первый генерирующий модуль и второй генерирующий модуль, выполненные идентичными и соединенные валом, зафиксированным в подшипниках, установленных в корпусах генерирующих модулей, при этом каждый генерирующий модуль содержит корпус и полюсы, выполненные из материала с высокой магнитной проницаемостью, причем полюсы являются фрагментами корпуса генерирующего модуля, катушки обмотки возбуждения, установленные на полюсах, диск якоря, установленный на валу, уединенную сосредоточенную щетку, выполненную в форме призмы из композиции угля и графита и установленную на внешней торцевой поверхности диска якоря, вывод уединенной сосредоточенной щетки и вывод катушки обмотки возбуждения, установленные на корпусе, при этом вал и диски якоря генерирующих модулей выполнены из немагнитного материала с высокой электрической проводимостью, причем диски якоря установлены на валу таким образом, что располагаются в пространстве между полюсами генерирующих модулей. Недостатком данного технического решения является узкая область применения из-за большого изменения напряжения генератора при нагрузке, обусловленного высоким электрическим сопротивлением дисков якоря и высоким электрическим сопротивлением областей контакта между уединенными сосредоточенными щетками и внешними торцевыми поверхностями дисков якоря. Технической задачей изобретения является снижение изменения напряжения униполярного генератора при нагрузке. Технический результат заключается в расширении области применения униполярных генераторов в качестве источников питания низковольтных электрических устройств. Это достигается тем, что униполярный генератор, содержащий первый генерирующий модуль и второй генерирующий модуль, выполненные идентичными и соединенные валом, причем каждый генерирующий модуль содержит корпус с установленными в нем подшипниками, в которых зафиксирован вал, и с расположенными внутри него полюсами, на которых установлены катушки обмотки возбуждения, диск якоря, установленный на валу между полюсами, первую щетку, вывод первой щетки и вывод катушек обмотки возбуждения, установленные на корпусе, снабжен буртиками, выполненными на внешних торцевых поверхностях дисков якоря в форме колец шириной b=Δ и высотой h=3⋅Δ, где Δ - толщина диска якоря, второй щеткой, спаренной с первой щеткой, пружинами с направляющими штоками, упругими пластинами, выполненными в форме плоских дуг из упругой стали с высокой электрической проводимостью с монтажными утолщениями, изолирующими опорами, расположенными в корпусе и выполненными из пластмассы с низкой электрической проводимостью, при этом первая и вторая щетки установлены на внешней поверхности буртиков и перекрыты упругими пластинами, выполнены распределенными в виде призматических полуколец из композиции угля и графита и зафиксированы относительно корпуса пружинами с направляющими штоками, основания которых закреплены на монтажных утолщениях упругих пластин, а свободные края пружин установлены в изолирующие опоры, между поверхностями изолирующих опор и направляющими штоками выполнены зазоры, превышающие длину возможного радиального перемещения первой и второй щеток, вывод первой щетки является также выводом второй щетки и соединен гибкими проводниками с упругими пластинами. Сущность изобретения поясняется чертежами, где на фиг. 1 изображены основные конструктивные узлы униполярного генератора, на фиг. 2 показана детализированная конструкция токосъемного узла, на фиг. 3 показаны линии тока в диске якоря униполярного генератора, снабженного распределенными спаренными щетками, на фиг. 4 показаны линии тока в диске якоря униполярного генератора с уединенными сосредоточенными щетками, на фиг. 5 представлена схема подключения униполярного генератора к нагрузке. Униполярный генератор содержит первый генерирующий модуль 1 и второй генерирующий модуль 2, выполненные идентичными и соединенные валом 3. Каждый генерирующий модуль 1, 2 содержит корпус 4 с установленными в нем подшипниками 5, в которых зафиксирован вал 3, и с расположенными внутри него полюсами 6, на которых установлены катушки обмотки возбуждения 7, и диск якоря 8, установленный на валу 3 между полюсами 6. На внешних торцевых поверхностях дисков якоря 8 выполнены буртики 9 в форме колец шириной b=Δ и высотой h=3⋅Δ, где Δ - толщина диска якоря 8. На внешней поверхности буртиков 9 установлены первая щетка 10 и спаренная с ней вторая щетка 11, выполненные распределенными в виде призматических полуколец из композиции угля и графита. Первая 10 и вторая 11 щетки зафиксированы относительно корпуса 4 пружинами 12 с направляющими штоками 13, основания которых закреплены на монтажных утолщениях 14 упругих пластин 15, выполненных в форме плоских дуг из упругой стали с высокой электрической проводимостью. При этом первая 10 и вторая 11 щетки перекрыты упругими пластинами 15, образуя единые токосъемные узлы первого 1 и второго 2 генерирующих модулей. Свободные края пружин 12 установлены в изолирующие опоры 16, расположенные в корпусе 4 и выполненные из пластмассы с низкой электрической проводимостью. Между поверхностями изолирующих опор 16 и направляющими штоками 13 выполнены зазоры, превышающие длину возможного радиального перемещения первой 10 и второй 11 щеток. Вывод 17 первой щетки 10, являющийся также выводом второй щетки 11, и вывод 18 катушек обмотки возбуждения 7 установлены на корпусе 4. Упругие пластины 15 гибкими проводниками 19 соединены с выводом 17 первой 10 и второй 11 щеток. Вал 3, диски якоря 8 и буртики 9 выполнены из немагнитного материала с высокой электрической проводимостью. Пружины 12 выполнены из упругой стали, а упругие пластины 15 - из упругой стали с высокой электрической проводимостью, направляющие штоки 13 выполнены из конструкционной стали. Униполярный генератор работает следующим образом. Под действием внешнего момента MC, уравновешенного электромагнитным моментом униполярного генератора МЭM, происходит вращение с частотой ω вала 3, дисков якоря 8 и буртиков 9. Из-за несовпадения осей корпуса 4, вала 3 и дисков якоря 8 при вращении возникают радиальные перемещения дисков якоря 8 и буртиков 9 относительно корпуса 4, которые передаются на первую 10 и вторую 11 щетки, на упругие пластины 15 и поглощаются пружинами 12. При радиальных перемещениях упругие пластины 15 обеспечивают постоянный электрический контакт между первой щеткой 10 и второй щеткой 11 и, совместно с пружинами 12 и направляющими штоками 13, обеспечивают возможность независимого радиального перемещения первой 10 и второй 11 щеток относительно корпуса 4. Изолирующие опоры 16, пружины 12 относительно корпуса 4 обеспечивают также электрическую изоляцию между корпусом 4 и элементами цепи якоря униполярного генератора, в которую входят вал 3, диски якоря 8, первые щетки 10, вторые щетки 11, выводы 17 первой 10 и второй 11 щеток, буртики 9, упругие пластины 15 и гибкие проводники 19 первого 1 и второго 2 генерирующих модулей. При подключении униполярного генератора к нагрузке согласно схеме на фиг. 5 катушки обмотки возбуждения 7, обтекаемые током Iƒ, создают между полюсами 6 первого 1 и второго 2 генерирующих модулей постоянное магнитное поле. При этом магнитное поле первого 1 и второго 2 генерирующих модулей противоположно по направлению. Данное магнитное поле наводит во вращающихся дисках якоря 8 электродвижущую силу (ЭДС). Благодаря противоположной направленности магнитного поля ЭДС дисков якоря 8 первого 1 и второго 2 генерирующих модулей, соединенных электропроводящим валом 3, складываются, образуя результирующую ЭДС холостого хода генератора Eƒ. ЭДС холостого хода униполярного генератора Eƒ через буртики 9, первую 10 и вторую 11 щетки, упругие пластины 15, а также гибкие проводники 19 передается на выводы 17 первой 10 и второй 11 щеток первого 1 и второго 2 генерирующих модулей, образуя на них напряжение холостого хода униполярного генератора U0=Eƒ. При подключении нагрузки к выводам 17 первой 10 и второй 11 щеток первого 1 и второго 2 генерирующих модулей напряжение униполярного генератора снижается на величину δU в связи с размагничивающим действием токов дисков якоря 8 и падением напряжения на электрическом сопротивлении цепи якоря униполярного генератора, в которое входят совокупное сопротивление r Изменение напряжения униполярного генератора при нагрузке рассчитывается, как где δЕ - изменение ЭДС под действием токов дисков якоря 8, I Выполнение первой 10 и второй 11 щеток полукольцевыми обеспечивает минимальное значение электрического сопротивления r Количественная оценка электрических сопротивлений диска якоря 8 предлагаемого униполярного генератора с полукольцевыми спаренными щетками r где d - диаметр вала 3, D - внешний диаметр диска якоря 8. Таким образом, применение полукольцевых щеток в униполярном генераторе снижает электрическое сопротивление r Выполнение буртиков 9 втрое увеличивает площадь областей контакта первой 10 и второй 11 щеток с внешними поверхностями буртиков 9 первого 1 и второго 2 генерирующих модулей. В результате, втрое снижается совокупное сопротивление rщ. Коэффициент понижения сопротивления составляет где rщΔ - совокупное электрическое сопротивление областей контакта первых 10 и вторых 11 щеток с внешними торцевыми поверхностями дисков якоря 8 первого 1 и второго 2 генерирующих модулей для униполярного генератора со спаренными полукольцевыми щетками без буртиков 9 на дисках якоря 8, rщ - совокупное электрическое сопротивление областей контакта первых 10 и вторых 11 щеток с внешними поверхностями буртиков 9 первого 1 и второго 2 генерирующих модулей для униполярного генератора со спаренными полукольцевыми щетками и буртиками 9 на дисках якоря 8. Это, согласно (1), влечет соответствующее снижение изменения напряжения униполярного генератора при нагрузке. Общий коэффициент снижения электрического сопротивления цепи якоря для предлагаемого униполярного генератора оценивается средним арифметическим При равных весах слагаемых правой части (1) изменение напряжения при нагрузке для униполярного генератора с уединенными сосредоточенными щетками (прототипа) составляет Понижение электрического сопротивления цепи якоря не менее чем в 2,5 раза за счет предлагаемых конструктивных решений снижает изменение напряжения при нагрузке униполярного генератора с распределенными спаренными щетками δU' не менее чем на 30% Приведенные числовые оценки подтверждают решение поставленной технической задачи и достижение технического результата. Использование изобретения позволяет существенно расширить область применения униполярных генераторов в качестве источников питания низковольтных электрических устройств.
и униполярного генератора с сосредоточенными уединенными щетками
, дает при d<<D следующий результат:



