патент
№ RU 2624910
МПК H01J9/12

СПОСОБ ИЗГОТОВЛЕНИЯ ФОТОЭЛЕКТРОННОГО ПРИБОРА

Авторы:
Коновалов Павел Игоревич Викулин Михаил Петрович Нуртдинов Руслан Ильдарович
Все (5)
Номер заявки
2015151149
Дата подачи заявки
27.11.2015
Опубликовано
10.07.2017
Страна
RU
Как управлять
интеллектуальной собственностью
Чертежи 
1
Реферат

Изобретение относится к электровакуумной технике, в частности к технологии изготовления фотоэлектронных приборов (ФЭП), содержащих одну или несколько микроканальных пластин (МКП). Технический результат - увеличение срока службы ФЭП без ионно-барьерной пленки. Способ изготовления фотоэлектронного прибора включает изготовление корпуса прибора, катодного узла, коллектора электронов, монтаж внутренних деталей и узлов, сварку узлов прибора, загрузку всех узлов в высоковакуумную установку финишной сборки, откачку всей системы, термическое обезгаживание всех узлов в вакууме, электронное обезгаживание МКП и коллектора электронов в вакууме, изготовление фотокатода на катодном узле, герметизацию прибора, выгрузку ФЭП из установки финишной сборки. После загрузки в высоковакуумную установку финишной сборки катодного узла, корпуса с микроканальными пластинами и коллектора электронов, корпус с МКП и коллектор электронов разносят друг от друга и осуществляют откачку всей системы до давления не более 10Па, термическое обезгаживание всех узлов в вакууме в течение не менее 4 ч при температуре от 300 до 400°С, раздельно выполняют одностороннее электронное обезгаживание в течение не менее 2 ч при температуре от 0 до 400°С коллектора электронов направленным на него потоком электронов и двустороннее электронное обезгаживание МКП при той же температуре, для чего в течение не менее 2 ч попеременно включают и выключают источники возбуждения вторичных электронов в МКП, расположенные перед входом и выходом МКП, и тем самым электронный поток направляют от входа к выходу МКП и, наоборот, от выхода к входу МКП, синхронно меняя полярность напряжения питания между входом и выходом МКП и постепенно увеличивая напряжение на МКП и выходной ток МКП до значений, не ухудшающих параметры МКП, после чего формируют фотокатод на катодном узле и далее корпус с МКП устанавливают на коллектор электронов, а катодный узел - на корпус, и выполняют герметизацию прибора. 2 ил.

Формула изобретения

Способ изготовления фотоэлектронного прибора, включающий изготовление корпуса прибора, катодного узла, коллектора электронов, монтаж внутренних деталей и узлов, сварку узлов прибора, загрузку всех узлов в высоковакуумную установку финишной сборки, откачку всей системы, термическое обезгаживание всех узлов в вакууме, электронное обезгаживание МКП и коллектора электронов в вакууме, изготовление фотокатода на катодном узле, герметизацию прибора, выгрузку ФЭП из установки финишной сборки, отличающийся тем, что после загрузки в высоковакуумную установку финишной сборки катодного узла, корпуса с микроканальными пластинами и коллектора электронов, корпус с МКП и коллектор электронов разносят друг от друга и осуществляют откачку всей системы до давления не более 10-8 Па, термическое обезгаживание всех узлов в вакууме в течение не менее 4 ч при температуре от 300 до 400°C, раздельно выполняют одностороннее электронное обезгаживание в течение не менее 2 ч при температуре от 0 до 400°C коллектора электронов направленным на него потоком электронов и двустороннее электронное обезгаживание МКП при той же температуре, для чего в течение не менее 2 ч попеременно включают и выключают источники возбуждения вторичных электронов в МКП, расположенные перед входом и выходом МКП, и тем самым электронный поток направляют от входа к выходу МКП и, наоборот, от выхода к входу МКП, синхронно меняя полярность напряжения питания между входом и выходом МКП и постепенно увеличивая напряжение на МКП и выходной ток МКП до значений, не ухудшающих параметры МКП, после чего формируют фотокатод на катодном узле и далее корпус с МКП устанавливают на коллектор электронов, а катодный узел - на корпус, и выполняют герметизацию прибора.

Описание

[1]

Область техники

[2]

Изобретение относится к электровакуумной технике, в частности к технологии изготовления фотоэлектронных приборов (ФЭП), содержащих одну или несколько микроканальных пластин (МКП).

[3]

Уровень техники

[4]

Фотоэлектронный прибор представляет собой электровакуумное устройство, содержащее корпус, фотокатод, эмитирующий электроны под действием оптического излучения, умножительную систему на основе микроканальных пластин и коллектор электронов, в качестве которого может быть использован анод, содержащий один или несколько выходов, люминесцентный экран или электронно-чувствительная матрица. К фотоэлектронным приборам относятся электронно-оптические преобразователи (ЭОП), фотоэлектронные умножители (ФЭУ), многоанодные ФЭУ, координатно-чувствительные детекторы (КЧД).

[5]

Основная причина выхода из строя фотоэлектронных приборов с микроканальными пластинами связана с изменением свойств фотокатода под воздействием ионной бомбардировки, возникающей в результате образования ионов в процессе электронно-стимулированной десорбции при ударе электрона о стенку канала микроканальной пластины. Бомбардировка фотокатода и стенок каналов МКП ионами приводит, с одной стороны, к эмиссии вторичных электронов и появлению паразитного сигнала, с другой - к резкому снижению чувствительности фотокатода. Сочетание большого количества сорбированного МКП газа с малым внутренним объемом фотоэлектронного прибора приводит к значительному газовыделению, ухудшению вакуума и отравлению фотокатода в работающем приборе при прохождении электронного потока через МКП. Все эти явления приводят к значительному снижению срока службы.

[6]

Самым распространенным решением устранения указанных недостатков является нанесение на входную поверхность МКП специальной тонкой пленки, прозрачной для электронов, но не прозрачной для ионов. Такая ионно-барьерная пленка, изготавливаемая главным образом из окиси алюминия, позволяет создавать фотоэлектронные приборы с долговечностью до 10000 ч. Однако использование ионно-барьерной пленки приводит к снижению эффективности сбора фотоэлектронов с ~60% (в случае без ионно-барьерной пленки) до ~35% [Т. Jinno, et al. Lifetime-extended MCP-PMT. Nuclear Instruments and Methods in Physics Research A 629 (2011) 111-117]. Также при работе электронно-оптических преобразователей III поколения с ионно-барьерными пленками возникли затруднения в распознавании объектов с ярко светящимися элементами, вокруг которых возникает широкий слепящий ореол [С.В. Куклев, Д.С. Соколов, И.Н. Зайдель. Электронно-оптические преобразователи. - М.: Машиностроение, 2004]. Поэтому возникла проблема создания фотоэлектронных приборов без ионно-барьерной пленки на входной поверхности МКП и одновременно с долговечностью, не уступающей долговечности приборов с ионно-барьерной пленкой.

[7]

Для устранения паразитных явлений, вызванных процессом электронно-стимулированной десорбции, применяются и другие различные конструктивные и технологические решения.

[8]

Известен фотоэлектронный умножитель [патент США №2014361683, МПК H01J 43/04. Electrostatic suppression of ion feedback in a microchannel plate photomultiplier. Опубл. 11.12.2014], содержащий дополнительный электрод, представляющий собой тонкую сетку, между фотокатодом и микроканальной пластиной. ФЭУ также содержит источник питания, обеспечивающий подачу напряжения на электроды, причем на сетку подается потенциал, равный или больше, чем потенциал на входе МКП, обеспечивая тем самым потенциальный барьер для движения ионов от МКП к фотокатоду. Недостатками данного технического решения являются невысокий динамический диапазон, поскольку барьерная сетка задерживает до 20-30% фотоэлектронов; большое временное разрешение вследствие значительного расстояния между фотокатодом и входом МКП и наличием потенциального барьера между сеткой и входом МКП, вызывающего торможение фотоэлектронов; низкая вибрационная прочность прибора из-за наличия тонкой сетки.

[9]

Известен способ изготовления ЭОП с МКП без ионно-барьерной пленки [патент РФ №2372684 МПК H01J 31/50. Способ изготовления электронно-оптического преобразователя и устройство для его реализации. Опубл. 10.11.2009], принятый за прототип, в котором после изготовления МКП по стандартной технологии на ее входную и выходную поверхности наносят изоляционный или полупроводниковый слой, проводящий слой и второй изоляционный или полупроводниковый слой, далее после проведения первого электронного обезгаживания МКП и экрана в корпусе ЭОП формируют индивидуальные газопоглотители в каналах МКП в виде покрытия на стенках каналов МКП со стороны входа, выхода МКП или с обеих сторон из вещества, обладающего высокой сорбционной способностью и коэффициентом вторичной эмиссии больше единицы, а также формируют индивидуальные газопоглотители между каналами МКП на входной, выходной поверхностях МКП или с обеих сторон и на экране в виде покрытия из вещества, обладающего высокой сорбционной способностью, после этого проводят второе электронное обезгаживание МКП и экрана в корпусе ЭОП. Недостатком данного технического решения является недостаточно высокий срок службы ЭОП без ионно-барьерной пленки.

[10]

Техническим результатом предлагаемого технического решения является увеличение срока службы ЭОП без ионно-барьерной пленки.

[11]

Раскрытие изобретения

[12]

Указанный технический результат достигается тем, что в способе изготовления фотоэлектронного прибора, включающем изготовление корпуса прибора, катодного узла, коллектора электронов, монтаж внутренних деталей и узлов, сварку узлов прибора, загрузку всех узлов в высоковакуумную установку финишной сборки, откачку всей системы, термическое обезгаживание всех узлов в вакууме, электронное обезгаживание МКП и коллектора электронов в вакууме, изготовление фотокатода на катодном узле, герметизацию прибора, выгрузку ФЭП из установки финишной сборки, после загрузки в высоковакуумную установку финишной сборки катодного узла, корпуса с микроканальными пластинами и коллектора электронов, корпус с МКП и коллектор электронов разносят друг от друга и осуществляют откачку всей системы до давления не более 10-8 Па, термическое обезгаживание всех узлов в вакууме в течение не менее 4 ч при температуре от 300 до 400°С, раздельно выполняют одностороннее электронное обезгаживание в течение не менее 2 ч при температуре от 0 до 400°С коллектора электронов направленным на него потоком электронов и двустороннее электронное обезгаживание МКП при той же температуре, для чего в течение не менее 2 ч попеременно включают и выключают источники возбуждения вторичных электронов в МКП, расположенные перед входом и выходом МКП, и тем самым электронный поток направляют от входа к выходу МКП и, наоборот, от выхода к входу МКП, синхронно меняя полярность напряжения питания между входом и выходом МКП и постепенно увеличивая напряжение на МКП и выходной ток МКП до значений, не ухудшающих параметры МКП, после чего формируют фотокатод на катодном узле и далее корпус с МКП устанавливают на коллектор электронов, а катодный узел - на корпус, и выполняют герметизацию прибора.

[13]

Краткое описание чертежей

[14]

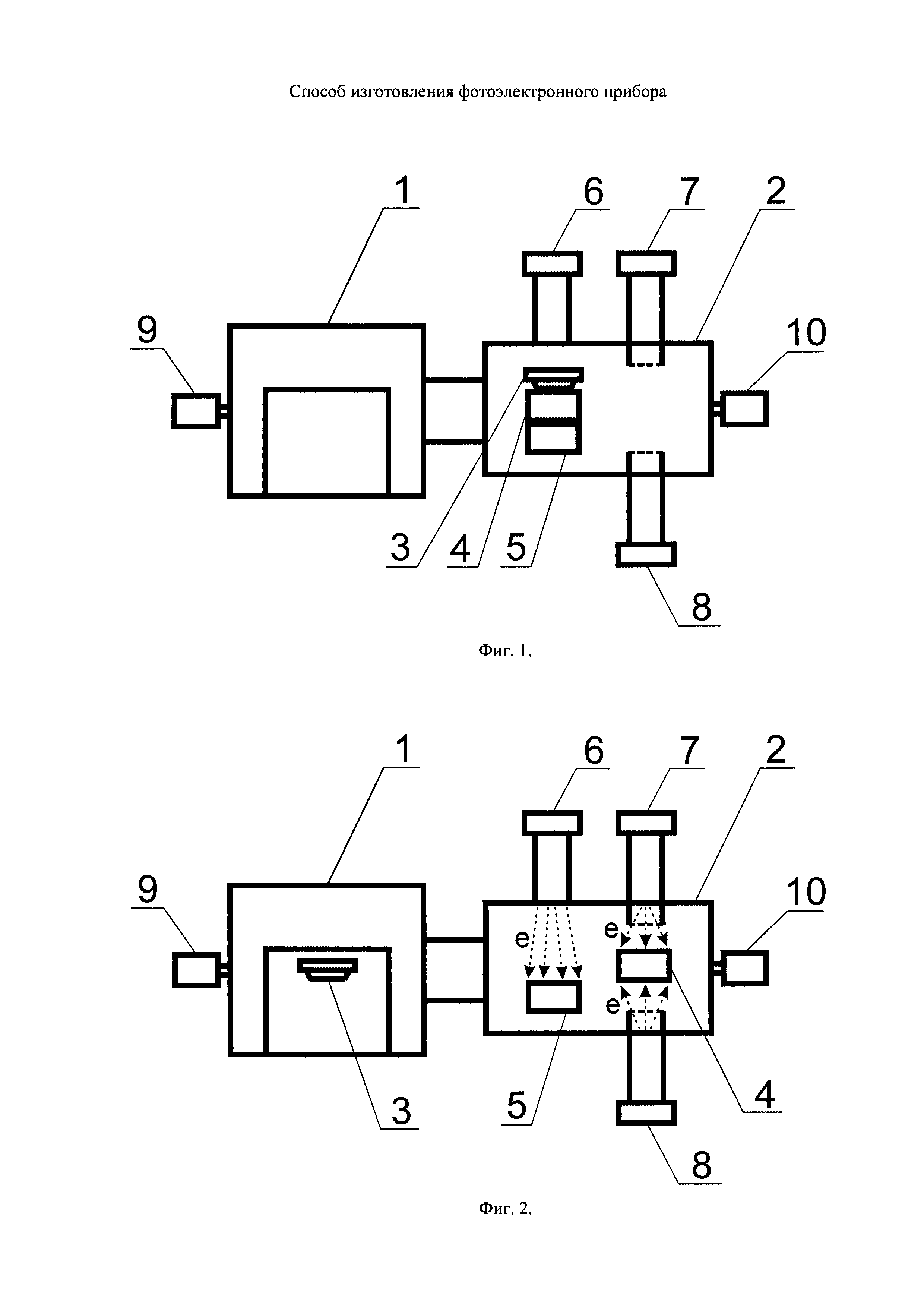
Сущность предлагаемого способа изготовления фотоэлектронного прибора поясняется фиг. 1, на которой схематично изображена высоковакуумная установка для выполнения финишной сборки ФЭП с загруженными в нее сборочными единицами, и фиг. 2, на которой показано выполнение раздельного электронного обезгаживания МКП и коллектора электронов в высоковакуумной установке, где 1 - основной отсек для формирования фотокатода, 2 - модуль для электронного обезгаживания и герметизации, 3 - катодный узел, 4 - корпус прибора с МКП, 5 - коллектор электронов, 6 - электронная пушка для обезгаживания коллектора электронов, 7 и 8 - электронная пушка с анодной сеткой для обезгаживания МКП, 9 и 10 - манипулятор.

[15]

Осуществление изобретения.

[16]

Предлагаемый способ изготовления фотоэлектронного прибора реализован следующим образом. В модуль 2 для электронного обезгаживания и герметизации высоковакуумной установки финишной сборки загружают катодный узел 3, корпус 4 с МКП (общим числом от одной до трех) и коллектор 5 электронов (фиг. 1). Обычно используют корпуса с микроканальными платинами общим числом от одной до трех, но могут использовать корпуса и с большим числом микроканальных платин. После загрузки при помощи манипулятора 9 катодный узел 3 перемещают в основной отсек 1, а корпус 4 с МКП при помощи манипулятора 10 устанавливают напротив электронных пушек 7 и 8, при этом коллектор 5 электронов остается напротив электронной пушки 6 (фиг. 2). После этого вакуумную камеру откачивают до давления не более 10-8 Па, опускают печь и модуль 2 прогревают при температуре 390°С (допустимо от 300 до 400°С) в течение не менее 4 ч (обычно 10-12 ч). После завершения термического обезгаживания температуру в камере снижают до 25°С и выполняют электронное обезгаживание коллектора 5 электронов и МКП. Допускается выполнять электронное обезгаживание при температуре от 0 до 400°С. Повышение температуры, при которой выполняется электронное обезгаживание коллектора 5 электронов и МКП, способствует повышению интенсивности газовыделения, при этом общее время электронного обезгаживания дополнительно сокращается до 50%. Для обезгаживания коллектора 5 электронов используют электронную пушку 6. Обезгаживание выполняют в течение 2-3 ч (допускается обезгаживание при более длительном времени) при токе с коллектора электронов около 1 мкА. Двустороннее электронное обезгаживание МКП выполняют с использованием электронных пушек 7 и 8. Для этого на МКП и анодные сетки электронных пушек 7 и 8 подают напряжение в прямом направлении, постепенно увеличивая напряжение на МКП в течение всего процесса электронного обезгаживания от 400 до 900 В для одной МКП (возможно дальнейшее увеличение напряжения до значения, не ухудшающего параметры МКП). Также отрицательное напряжение (до 200 В) относительно входа МКП подают на электронную пушку 7. Электронная пушка 8 отключена. В течение заданного времени электронный поток облучает одну из поверхностей МКП, при этом выполняется контроль выходного тока (постепенно увеличивая его в течение всего процесса электронного обезгаживания от 2 до 7 мкА, возможно дальнейшее увеличение тока до значения, не ухудшающего параметры МКП) в цепи анодной сетки электронной пушки 8. Далее выполняют переключение потенциалов на МКП и анодных сетках, отключают электронную пушку 7, подают напряжение на электронную пушку 8 и выполняют облучение электронным потоком второй поверхности МКП. Далее эти операции повторяют в течение не менее 2 ч до тех пор, пока микроканальная пластина не будет полностью обезгажена. По окончании обезгаживания МКП и коллектора 5 электронов начинается процесс формирования фотокатода на катодном узле 3. После этого манипулятором 10 корпус 4 с МКП переносят на коллектор 5 электронов, а манипулятором 9 катодный узел 3 переносят на корпус 4 с МКП и выполняют герметизацию корпуса 4 с МКП с коллектором 5 электронов и катодным узлом 3. Время, затраченное на электронное обезгаживание МКП, при использовании данного способа сокращается на 25-40%, при этом остаточное газовыделение МКП существенно ниже (примерно в 2,4 раза), чем при стандартном одностороннем обезгаживании МКП.

[17]

Использование предлагаемого способа изготовления фотоэлектронного прибора по сравнению с прототипом позволит существенно снизить остаточное газосодержание в начальной части каналов МКП за счет более тщательного двустороннего электронного обезгаживания МКП по сравнению с односторонним обезгаживанием, что позволит существенно снизить скорость деградации фотокатода и увеличить срок службы фотоэлектронных приборов без ионно-барьерной пленки, снизив при этом трудоемкость изготовления прибора.

Как компенсировать расходы
на инновационную разработку
Похожие патенты