патент
№ RU 2677485
МПК H01Q21/00

Антенная система

Авторы:
Колесников Андрей Викторович Кисмерешкин Владимир Павлович Давыдович Александр Владимирович
Все (4)
Номер заявки
2018100684
Дата подачи заявки
10.01.2018
Опубликовано
17.01.2019
Страна
RU
Как управлять
интеллектуальной собственностью
Чертежи 
2
Реферат

[15]

Изобретение относится к антенной технике и может быть использовано, например, в мобильных приемопередающих центрах. Антенная система представляет собой совокупность рамочных излучателей, равномерно распределенных по кругу. Излучатели выполнены в виде рамок из коаксиального кабеля, представляющих собой систему из двух контуров с распределенной связью между ними, последовательно настроенных на требуемую частоту с помощью конденсаторов переменной емкости, симметрично возбуждающих токи в антенне. Технический результат заключается в увеличении эффективности излучения при минимально возможных габаритах и весе антенны. 2 з.п. ф-лы, 2 ил.

Формула изобретения

1. Антенная система, представляющая собой совокупность рамочных излучателей, равномерно распределенных по кругу, отличающаяся тем, что излучатели выполнены в виде рамок из коаксиального кабеля, представляющих собой систему из двух контуров с распределенной связью между ними, последовательно настроенных на требуемую частоту с помощью конденсаторов переменной емкости, симметрично возбуждающих токи в антенне.

2. Антенная система по п. 1, отличающаяся тем, что при настройке каждой из рамок на одну частоту антенная система выполнена как многовходовая система с суммированием мощности в антенне.

3. Антенная система по п. 1, отличающаяся тем, что при настройке антенная система выполнена как многовходовая система с возможностью одновременной работы ряда передатчиков (приемников) на одну антенну, каждый из которых работает на своей частоте.

Описание

[1]

Изобретение относится к радиотехнике, а именно к антенной технике и может быть использовано, например, в мобильных приемопередающих центрах.

[2]

Наиболее близкой по технической сущности (прототипом) является «Диапазонная антенна» [1] представляющая собой три треугольные рамки из наклонных проводов, плоскости которых перпендикулярны поверхности земли, и эти треугольные рамки синфазно запитаны и образуют тело антенны. Располагаются они под углом 120 градусов относительно друг друга. Одна из сторон каждой рамки состоит токопроводящей мачты, другая сторона рамки является обратным (горизонтальным) проводником, и три стяжки, при этом верхние концы токопроводящих мачт через наклонные (нисходящие) провода электрически соединены с началами горизонтальных проводов, концы которых сходятся в центре антенны, электрически объединены между собой и являются второй точкой несимметричного питания антенны, стяжки диэлектрически соединяют верхние концы мачт.

[3]

Недостатком устройства-прототипа является невысокая эффективность излучения антенны.

[4]

Задачей данного изобретения является повышение эффективности излучения антенны, при минимальных размерах и весе антенны.

[5]

Поставленная задача достигается тем, что в антенной системе, представляющей собой совокупность рамочных излучателей, равномерно распределенных по кругу, согласно изобретению излучатели выполнены в виде рамок из коаксиального кабеля, представляющих собой систему из двух контуров с распределенной связью между ними, последовательно настроенных на требуемую частоту с помощью конденсаторов переменной емкости, симметрично возбуждающих токи в антенне. Поставленная задача достигается также тем, что при настройке каждой из рамок на одну частоту антенная система выполнена, как многовходовая система с суммированием мощности в антенне, а при настройке рамок на разные частоты антенная система выполнена, как многовходовая система с возможностью одновременной работы ряда передатчиков (приемников) на одну антенну, каждый из которых работает на своей частоте.

[6]

Достигаемым техническим результатом является увеличение эффективности излучения при минимально возможных габаритах и весе антенны.

[7]

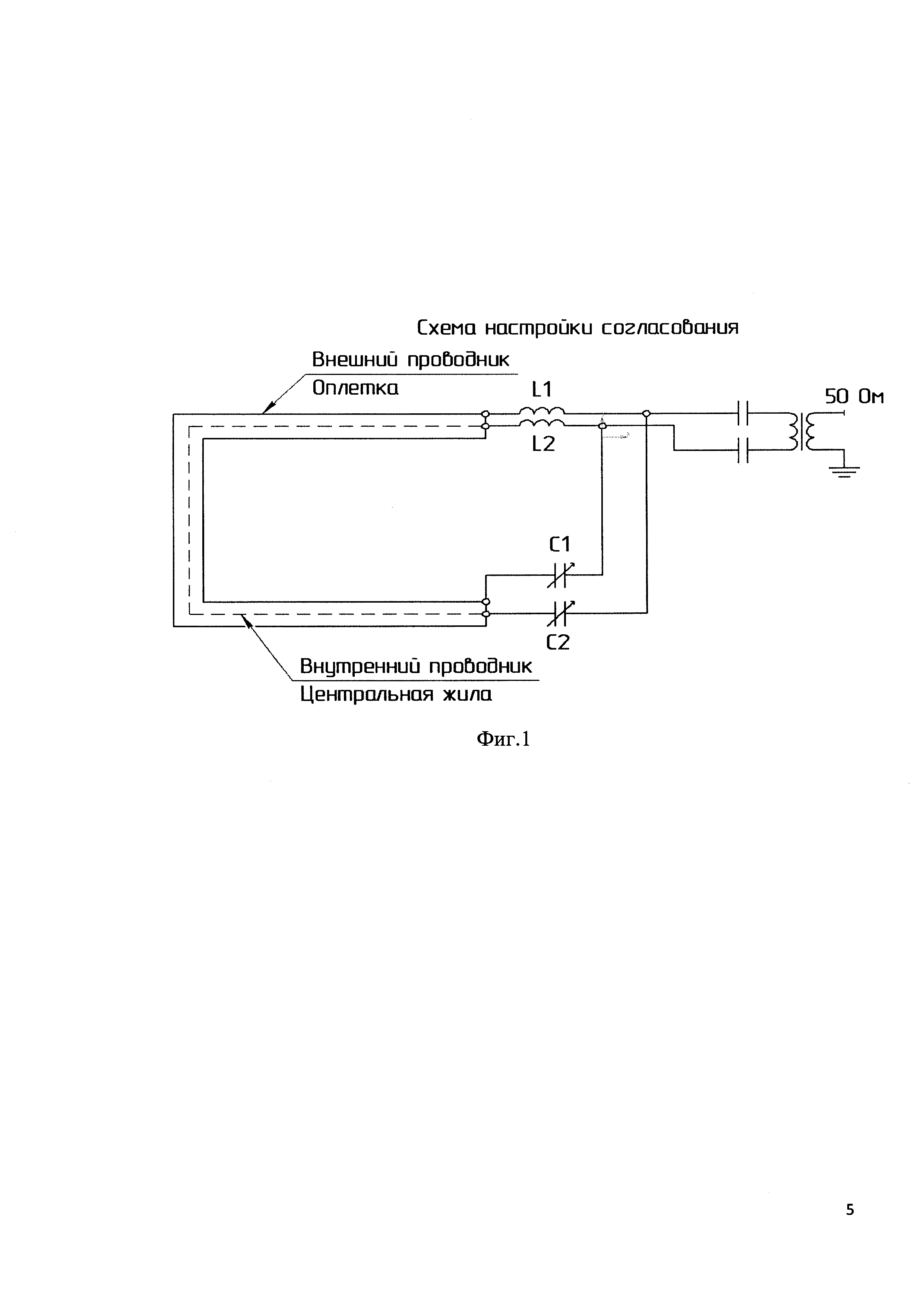
Решение задачи достигается тем, что в предлагаемой антенной системе фиг. 1 каждая рамка состоит из коаксиального кабеля с определенной схемой настройки согласования фиг. 2. Поз. 1 на фиг. 1 обозначено устройство настройки согласования, состоящее из магазина конденсаторов.

[8]

Предлагаемая антенная система работает следующим образом. Особенностью данной системы является то, что рамки выполнены из коаксиального кабеля. Каждая из рамок представляет собой систему из двух контуров с распределенной связью между ними. Контуры последовательно настраиваются в резонанс на требуемую частоту с помощью соответствующих емкостей. Схема настройки согласования каждого витка показана на фиг.1. Применение данной схемы настройки согласования позволяет согласовать антенну с 50-ти омным трактом с КСВ <1,2. Каждая рамка настраивается в резонанс с добротностью порядка 70, что означает повышение сопротивления излучения порядка Q2 раз. Увеличение количества рамок эквивалентно повышению сопротивления излучения. Такое увеличение эффективности свидетельствует о существенном повышении энергетики радиолинии.

[9]

Сравнительный анализ предлагаемого решения с прототипом показывает, что предлагаемое решение отличается использованием в качестве излучателей коаксиального кабеля вместо обычного провода, использование определенной схемы настройки согласования для коаксиального кабеля.

[10]

Антенная система содержит рамочные излучатели, расположенные по кругу, один из примеров показан на фиг. 2. Каждая из рамок может настраиваться на одну частоту, образуя таким образом многовходовую систему с суммированием мощности в антенне, также может настраиваться на разные частоты, образуя многовходовую систему с возможностью одновременной работы ряда передатчиков (приемников) на одну антенну, каждый из которых работает на своей частоте.

[11]

Предлагаемая антенная система в горизонтальной плоскости обеспечивает близкую к круговой диаграмму направленности.

[12]

Реактивная часть входного сопротивления антенны в исследуемом диапазоне частот носит индуктивный характер, что позволяет производить ее настройку согласование с выходом приемника/передатчика при помощи конденсаторов переменной емкости, не прибегая к внедрению в цепь катушек переменной индуктивности.

[13]

Источники информации

[14]

1. Патент RU 2163740 H01Q 11/06, опубликован 27.02.2001

Как компенсировать расходы
на инновационную разработку
Похожие патенты