патент
№ RU 2630952
МПК F04F5/10
Номер заявки
2016121038
Дата подачи заявки
27.05.2016
Опубликовано
14.09.2017
Страна
RU
Как управлять
интеллектуальной собственностью
Чертежи 
1
Реферат

Изобретение относится к струйной технике и может быть применено в струйных термонасосах для создания принудительной циркуляции, например, водяного теплоносителя в ядерных реакторах. Струйный термонасос выполнен с проточной частью, которая содержит сопло для активной среды, включающее конфузор, горловину и расширяющийся участок, выполненную в виде конфузора камеру смешения с профилированными отверстиями для подачи питательной воды, сверхзвуковой диффузор, состоящий из конфузора, горловины и расширяющегося участка, и дозвуковой диффузор. Конфузор сверхзвукового диффузора выполнен с переменным углом конусности, при этом величина угла выбрана от 10° до 15° на входе в конфузор и от 20° до 35° на выходе из конфузора. Техническим результатом является повышение напора струйного термонасоса путем уменьшения гидравлических потерь в сверхзвуковом диффузоре. 2 з.п. ф-лы, 1 ил.

Формула изобретения

1. Струйный термонасос, проточная часть которого содержит сопло для активной среды, включающее конфузор, горловину и расширяющийся участок, выполненную в виде конфузора камеру смешения с профилированными отверстиями для подачи питательной воды, сверхзвуковой диффузор, состоящий из конфузора, горловины и расширяющегося участка, и дозвуковой диффузор, отличающийся тем, что конфузор сверхзвукового диффузора выполнен с переменным углом конусности, при этом величина угла выбрана от 10° до 15° на входе в конфузор и от 20° до 35° на выходе из конфузора.

2. Термонасос по п. 1, отличающийся тем, что проточная часть дополнительно содержит конфузор и горловину, которые расположены между расширяющимся участком сверхзвукового диффузора и дозвуковым диффузором.

3. Термонасос по п. 1, отличающийся тем, что горловина сопла для активной среды выполнена с длиной, выбранной в пределах от 3 до 4 диаметров горловины сопла для активной среды.

Описание

[1]

Изобретение относится к струйной технике и может быть применено в струйных термонасосах для создания принудительной циркуляции, например, водяного теплоносителя в ядерных реакторах.

[2]

Известен струйный термонасос, проточная часть которого содержит сопло для активной среды, включающее конфузор, горловину и расширяющийся участок, выполненную в виде конфузора камеру смешения с профилированными отверстиями для подачи питательной воды, сверхзвуковой диффузор, состоящий из конфузора, горловины и расширяющегося участка, и дозвуковой диффузор (Ф.М. Митенков, Э.Г. Новинский, В.М. Бутов «Главные циркуляционные насосы АЭС», Энергоатомиздат, 1989, стр. 329-331, рис. 8.9).

[3]

Недостатком известного струйного термонасоса является его невысокий КПД. Это объясняется тем, что из-за постоянной величины угла конусности конфузора сверхзвукового диффузора происходит смена режима скачков уплотнения потока на волны разрежения потока, где поток ускоряется, что приводит к повышению гидравлических потерь в сверхзвуковом диффузоре. Кроме этого, невысокий КПД связан с потерей напора термонасоса из-за неустойчивости потока воды при прохождении через прямой скачок уплотнения на участке, образованном горловиной и расширяющимся участком сверхзвукового диффузора и дозвуковым диффузором.

[4]

Задачей настоящего изобретения является создание струйного термонасоса, имеющего увеличенный КПД по сравнению с известным струйным термонасосом.

[5]

Техническим результатом настоящего изобретения является повышение напора струйного термонасоса путем уменьшения гидравлических потерь в сверхзвуковом диффузоре. Кроме этого, техническим результатом является повышение устойчивости потока воды на участке, образованном горловиной и расширяющимся участком сверхзвукового диффузора и дозвуковым диффузором. Кроме этого, техническим результатом является обеспечение термодинамического равновесия между водяной и паровой фазами активной среды.

[6]

Указанный технический результат достигается тем, что в известном струйном термонасосе, проточная часть которого содержит сопло для активной среды, включающее конфузор, горловину и расширяющийся участок, выполненную в виде конфузора камеру смешения с профилированными отверстиями для подачи питательной воды, сверхзвуковой диффузор, состоящий из конфузора, горловины и расширяющегося участка, и дозвуковой диффузор, согласно заявленному изобретению конфузор сверхзвукового диффузора выполнен с переменным углом конусности, при этом величина угла выбрана от 10° до 15° на входе в конфузор и от 20° до 35° на выходе из конфузора.

[7]

Кроме этого, проточная часть дополнительно содержит конфузор и горловину, которые расположены между расширяющимся участком сверхзвукового диффузора и дозвуковым диффузором.

[8]

Кроме этого, горловина сопла для активной среды выполнена с длиной, выбранной в пределах от 3 до 4 диаметров горловины сопла для активной среды.

[9]

Выполнение конфузора сверхзвукового диффузора с переменным углом конусности с указанными диапазонами его величины на входе и выходе из конфузора позволяет уменьшить гидравлические потери в сверхзвуковом диффузоре и увеличить тем самым напор струйного термонасоса. Наличие конфузора и горловины перед входом в дозвуковой диффузор позволяет уменьшить турбулентность потока за скачком и повысить коэффициент восстановления давления в потоке, т.е. повысить КПД струйного термонасоса. Кроме этого, увеличение длины горловины сопла для активной среды до указанного диапазона позволит увеличить время прохождения активной среды по горловине и тем самым выравнять температуры жидкой и паровой фаз.

[10]

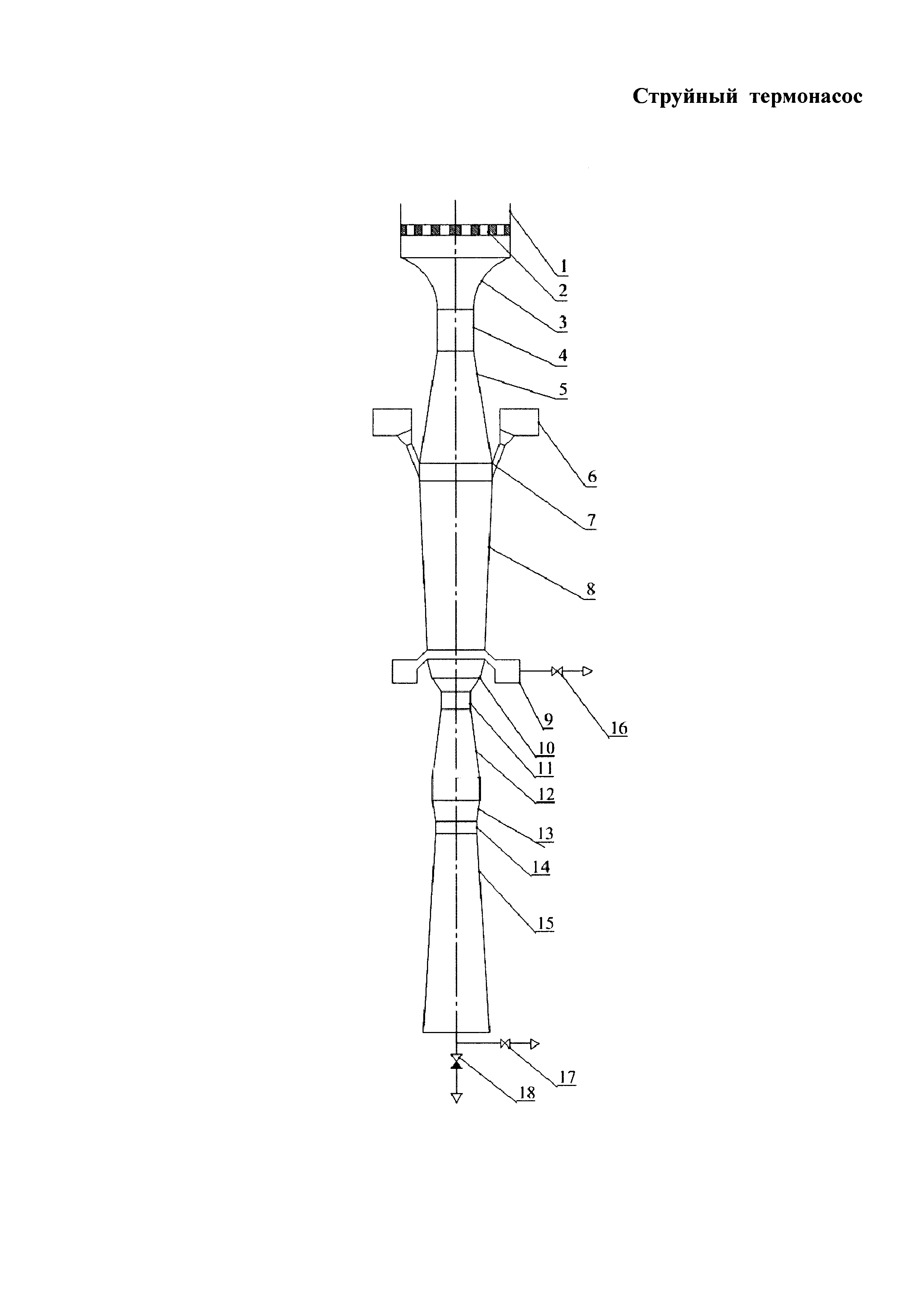
Сущность изобретения поясняется чертежом, на котором представлена схема струйного термонасоса.

[11]

Струйный термонасос содержит входной участок 1 с дроссельной решеткой 2, последовательно соединенный с соплом для активной среды, состоящим из конфузора 3, горловины 4 и расширяющегося участка 5. Камера 6 подвода питательной воды соединена посредством сопел 7, выполненных в виде профилированных отверстий, с камерой смешения 8, которая выполнена в виде конфузора и соединена через пусковую камеру 9 со сверхзвуковым диффузором. Сверхзвуковой диффузор имеет конфузор 10, горловину 11 и расширяющийся участок 12, последовательно соединенный с конфузором 13, горловиной 14 и дозвуковым диффузором 15. Пусковая камера 9 через вентиль 16 соединена с емкостью пониженного давления (на чертеже не показано), например, с конденсатором турбины. Выход дозвукового диффузора 15 также соединен через вентиль 17 с емкостью пониженного давления. На выходе из струйного термонасоса установлен обратный клапан 18. Горловина сопла 4 выполнена с длиной в пределах от 3 до 4 диаметров горловины сопла 4, например, при диаметре горловины, равном 10 мм, длина горловины составит от 30 до 40 мм. При меньшей длине горячая среда будет перегрета, а при большей будет гидравлическая потеря на трение потока о стенку горловины.. Конфузор 10 выполнен с переменным углом конусности, например, с криволинейной наружной поверхностью (на чертеже не показано) или в виде нескольких конических поверхностей, например, двух: первый из которых имеет входной угол в пределах от 10° до 15°, а второй - от 20° до 35°, например, первый угол равен 10°, а второй угол равен 30°. При монотонном переходе от камеры смешения 8 к сверхзвуковому диффузору, а именно, при выполнении первого конуса с углом меньше 10° после скачка уплотнения образуются волны разрежения, что приведет к снижению напора термонасоса. При выполнении первого конуса с углом больше 15° возможен срыв режима сверхзвукового течения пароводяной среды. При выполнении второго конуса с углом больше 35° возможен также срыв режима сверхзвукового течения пароводяной среды, а при выполнении второго конуса с углом меньше 20° после скачка уплотнения образуются волны разрежения, что приведет к снижению напора термонасоса. Проточная часть струйного термонасоса образована соплом для активной среды, камерой смешения 8, сверхзвуковым диффузором, конфузором 13, горловиной 14 и дозвуковым диффузором 15.

[12]

Струйный термонасос работает следующим образом.

[13]

Запуск термонасоса, т.е. установление в проточной части сверхзвукового режима течения пароводяной смеси, осуществляется кратковременным открытием вентилей 16 и 17, соединяющих проточную часть термонасоса с емкостью пониженного давления (на чертеже не показана). Выход термонасоса закрыт обратным клапаном 18. Часть активной (горячей воды) и пассивной (питательной воды) сред сбрасывается в емкость пониженного давления, в проточной части термонасоса падает давление и устанавливается сверхзвуковой режим течения. Вентили 16 и 17 закрываются, под напором потока открывается обратный клапан 18, и термонасос начинает работать. Горячая вода с параметрами, близкими к параметрам на линии насыщения, поступает во входной участок 1 с дроссельной решеткой 2. Проходя дроссельную решетку 2, вода частично вскипает, образуя центры парообразования. Затем поток горячей воды поступает в сопло для активной среды: конфузор 3, горловину 4 и расширяющийся участок 5. На выходе потока горячей воды из конфузора 3 давление падает, и вода частично испаряется, вследствие чего поток приобретает более высокую скорость, но в пределах дозвуковой скорости. При этом горячая вода имеет температуру, характеризующую ее перегрев по сравнению с термодинамическим равновесным состоянием пара. Далее пароводяная среда попадает в горловину 4 сопла. На выходе из горловины 4 сопла пароводяная среда приобретает скорость, равную скорости звука (для двухфазной среды скорость звука составляет порядка 70 м/сек). За время прохождения по горловине 4 сопла пароводяная смесь подходит близко к термодинамическому равновесию и, соответственно, к образованию двух отдельных фаз: горячей воды и пара. Температура воды приближается к температуре насыщения при равновесном состоянии, что способствует увеличению скорости потока. Массовый расход пароводяной смеси становится более стабильным, давление падает и за горловиной 4 сопла пароводяная смесь переходит через скорость звука, поступает в расширяющийся участок 5, имея сверхзвуковую скорость. После выхода из сопла для активной среды пароводяная смесь со сверхзвуковой скоростью поступает в камеру смешения 8, в которую через сопла 7 из камеры подвода питательной воды 6 подается питательная вода с температурой ниже температуры насыщения активной среды. В камере смешения 8 происходит смешение активной и пассивной сред и конденсация части паровой фазы активной среды, смесь образует единый поток с массовым паросодержанием, меньшим, чем у активной среды на входе в камеру смешения 8. Скорость потока смеси, давление и паросодержание устанавливаются в соответствии с гидродинамическими и термодинамическими законами сохранения количества движения и законами сохранения масс. Для обеспечения смешения потоков и обменных процессов конденсации части паровой фазы необходимо обеспечить время, определяемое временем пробега длины камеры смешения 8. При этом смесь должна оставаться двухфазной со сверхзвуковой скоростью движения. После завершения процесса смешения поток поступает в конфузор 10 сверхзвукового диффузора. Геометрия сверхзвукового диффузора выбрана таким образом, чтобы торможение потока в нем происходила серией косых скачков и не было повторного процесса расширения потока, что вызывает потери работоспособности потока, увеличение энтропии и снижение КПД термонасоса в целом. Углы сужения также не должны превышать значений, при которых может возникнуть прямой скачек уплотнения, и произойдет срыв режима работы термонасоса. На выходе из конфузора 10 поток приобретает более высокое давление с меньшим паросодержание и с меньшей скоростью движения, чем на входе в него, но остается сверхзвуковым. Далее поток поступает в горловину 11 и в расширяющийся участок 12. В расширяющемся участке 12 поток движется со сверхзвуковой скоростью, а навстречу ему в потоке, состоящем из воды (жидкое состояние), движется волна сжатия, в результате их встречи в соответствии с законами гидродинамики устанавливается прямой (или мостообразный) скачок уплотнения, где возникает скачковый переход от сверхзвуковой в дозвуковую форму движения, и среда за скачком становится однофазной. Далее однофазная среда поступает в конфузор 13, где турбулентность потока уменьшается, и однофазная среда поступает в горловину 14 и в дозвуковой диффузор 15. Вследствие увеличения коэффициента восстановления давления в потоке в конфузоре 13 КПД термонасоса повышается.

Как компенсировать расходы
на инновационную разработку
Похожие патенты