патент
№ RU 2636068
МПК F42B12/58

РАЗОВАЯ БОМБОВАЯ КАССЕТА

Авторы:
Шелехов Виктор Степанович Парашин Сергей Александрович Федоров Александр Николаевич
Все (4)
Номер заявки
2016135943
Дата подачи заявки
06.09.2016
Опубликовано
20.11.2017
Страна
RU
Как управлять
интеллектуальной собственностью
Чертежи 
3
Реферат

Изобретение относится к области вооружений, а именно к кассетным системам в снаряжении саморассеивающимися боевыми элементами. Технический результат - повышение эффективности бомбовой кассеты в условиях малого воздушного напора при малых скоростях и малых высотах носителя. Разовая бомбовая кассета включает корпус, поршневое устройство, газогенератор, каркас с передним и задним фланцами. Между этими фланцами размещены поперечными рядами, разделенными дисками, ротирующие боевые элементы. В переднем фланце смонтирован взрыватель. При этом бомбовая кассета имеет три, по крайней мере, ленточные пружины и трос. Поршневое устройство выполнено в виде диска с уплотнительным кольцом и стакана. Стакан установлен соосно диску и соединен посредством переходной втулки с передним фланцем. Один конец каждой из ленточных пружин закреплен на заднем фланце, а другой конец размещен между переходной втулкой и стаканом. В полости стакана размещен газогенератор с центральным отверстием для передачи огневого импульса, получаемого при срабатывании взрывателя. Один конец троса закреплен на переднем фланце, а второй - на диске поршневого устройства. Сам трос уложен по спирали на наружной поверхности переходной втулки. Поршневое устройство, диски и задний фланец последовательно соединены друг с другом посредством гибких связей. Каждая из последующих связей смонтирована со стороны, противоположной стороне монтажа предыдущей связи. 4 ил.

Формула изобретения

Разовая бомбовая кассета, включающая корпус, поршневое устройство, газогенератор, каркас с передним и задним фланцами, между которыми поперечными рядами, разделенными дисками, размещены ротирующие боевые элементы, и смонтированный в переднем фланце взрыватель, отличающаяся тем, что она снабжена по крайней мере тремя ленточными пружинами и тросом, при этом поршневое устройство выполнено в виде диска с уплотнительным кольцом и стакана, установленного соосно диску и соединенного посредством переходной втулки с передним фланцем, один конец каждой из ленточных пружин закреплен на заднем фланце, а другой конец размещен между переходной втулкой и стаканом, в полости стакана размещен газогенератор с центральным отверстием для передачи огневого импульса, получаемого при срабатывании взрывателя, один конец троса закреплен на переднем фланце, а второй на диске поршневого устройства, сам трос уложен по спирали на наружной поверхности переходной втулки, а поршневое устройство, диски и задний фланец последовательно соединены друг с другом посредством гибких связей, причем каждая из последующих связей смонтирована со стороны, противоположной стороне монтажа предыдущей связи.

Описание

[1]

Изобретение относится к области вооружений, а именно к кассетным системам в снаряжении саморассеивающимися боевыми элементами.

[2]

Известно, что эффективность поражения площадных целей в значительной степени зависит от зоны рассеивания боеприпасов, т.е. от эффективности кассетной системы и боевых элементов.

[3]

В большинстве случаев для разброса боевых элементов из кассетных систем применяют достаточно мощные разрывные заряды, что влечет вынужденное упрочнение и утяжеление конструкции разбрасываемых элементов. Это приводит к нерациональному использованию массы кассет и, соответственно, снижению их эффективности.

[4]

Повышение эффективности кассет может быть достигнуто за счет использования для их снаряжения саморассеивающихся боевых элементов и применения обтюраторного типа их распаковки, который не требует мощных разрывных зарядов.

[5]

Известна авиационная бомбовая кассета с последовательно отстреливаемыми поражающими элементами (патент US №3611931, приоритет от 05.05.1969), состоящая из цилиндрического корпуса и ряда блоков боевых элементов, вставленных друг в друга и удерживающихся в собранном положении с помощью винтов. Блоки собраны в секции, которые стыкуются сваркой. Взрыватель устанавливается на стыке секции, от него отходят огнепроводные шнуры, проложенные в алюминиевых трубах. Кроме того, каждый блок снабжен вышибной платформой с пороховой навеской, которая служит для выбрасывания боевых элементов из корпуса кассеты. Полости, в которых размещены пороховые навески, соединяются с помощью огнепроводов. При срабатывании взрывателя форс пламени передается огнепроводным шнурам и далее пороховой навеске.

[6]

Под действием пороховых газов вышибная платформа, срезая крепежные винты, выбрасывает боевые элементы из крайних блоков, затем - из следующих и т.д. При свободном падении происходит рассеивание боевых элементов.

[7]

К недостаткам известного технического решения следует отнести:

[8]

- низкую удельную эффективность кассеты из-за невозможности размещения боевых элементов в пространстве под обтекателем (выброс блоков боевых элементов возможен только из цилиндрической части корпуса кассеты);

[9]

- низкая надежность действия из-за большого количества элементов в огневой цепи кассеты и последовательностью их срабатывания;

[10]

- не обеспечивается безопасность бомбометания из-за возможности «проскока» пороховых газов от одной вышибной платформы к другой, минуя огнепроводные шнуры (отсутствие обтюрирующих элементов на вышибных платформах).

[11]

Известна разовая бомбовая кассета (патент RU №2313061, приоритет от 09.03.2006), выбранная в качестве прототипа, содержащая корпус, поршневое устройство, газогенератор, каркас с передним и задним фланцами, между которыми поперечными рядами, разделенными дисками, размещены ротирующие боевые элементы, и смонтированный в переднем фланце взрыватель, включающая также центральную трубу. При этом поршневое устройство выполнено в виде крышки с уплотнительным кольцом, соединенной вытяжным звеном с передним фланцем, оснащенным коаксиально размещенным и жестко соединенным отражателем, а также цилиндрической втулкой, соединенной с центральной трубой пробкой. Газогенератор размещен в полости центральной трубы со стороны ее переднего фланца. Передний фланец жестко соединен с корпусом кассеты, а диски каркаса выполнены в виде секторов, каждый из которых снабжен посадочными местами под боевые элементы и замковым соединением в виде приливов по одной из своих граней и ответным гнездом по другой.

[12]

К недостаткам известного устройства следует отнести:

[13]

- использование в соединении головной части и каркаса пробкового соединения в виде пробки вызывает необходимость применения специального отражателя для защиты вытяжного звена при отстреле пробки пороховым зарядом, что усложняет конструкцию;

[14]

- диски каркаса выполнены из секторов с замковыми элементами и после их сборки между собой образуют жесткие диски на центральной трубе, между которыми размещаются боевые элементы, образуя монолитный каркас, который сжимается вдоль трубы крепежным элементом (гайкой). При срабатывании кассеты и сходе корпуса каркас с боевыми элементами освобождается от стягивающего усилия и под действием воздушного потока происходит последовательная распаковка каркаса и высвобождение боевых элементов. При этом воздушный поток определяющим образом влияет на распаковку и высвобождение боевых элементов - чем сильнее воздушный поток, тем быстрее происходит распаковка и высвобождение боевых элементов. Вследствие того, что секторы дисков жестко связаны между собой замковым соединением, при малых скоростях и малых высотах из-за малого воздушного напора распаковка либо затягивается, либо происходит неполная распаковка каркаса, например, при сбросе кассет с вертолета. Кроме того, такая конструкция кассеты не обеспечивает возможную зону накрытия земной поверхности вследствие различных скоростей и высот полета носителя.

[15]

Технический результат изобретения заключается в повышении эффективности бомбовой кассеты при сбросе за счет быстрой распаковки каркаса и полного высвобождения боевых элементов, в том числе в условиях малого воздушного напора при малых скоростях и малых высотах полета носителя.

[16]

Технический результат достигается тем, что разовая бомбовая кассета, включающая корпус, поршневое устройство, газогенератор, каркас с передним и задним фланцами, между которыми поперечными рядами, разделенными дисками, размещены ротирующие боевые элементы, и смонтированный в переднем фланце взрыватель, снабжена, по крайней мере, тремя ленточными пружинами и тросом, при этом поршневое устройство выполнено в виде диска с уплотнительным кольцом и стакана, установленного соосно диску и соединенного посредством переходной втулки с передним фланцем, один конец каждой из ленточных пружин закреплен на заднем фланце, а другой конец размещен между переходной втулкой и стаканом, в полости стакана размещен газогенератор с центральным отверстием для передачи огневого импульса, получаемого при срабатывании взрывателя, один конец троса закреплен на переднем фланце, а второй на диске поршневого устройства, сам трос уложен по спирали на наружной поверхности переходной втулки, а поршневое устройство, диски и задний фланец последовательно соединены друг с другом посредством гибких связей, причем каждая из последующих связей смонтирована со стороны, противоположной стороне монтажа предыдущей связи.

[17]

Сущность изобретения поясняется графическими изображениями, где на:

[18]

- Фиг. 1 - общий вид кассеты;

[19]

- Фиг. 2 - узел крепления гибкой связи;

[20]

- Фиг. 3 - места размещения боевых элементов в диске;

[21]

- Фиг. 4 - распаковка корпуса и ввод боевых элементов в воздушный поток.

[22]

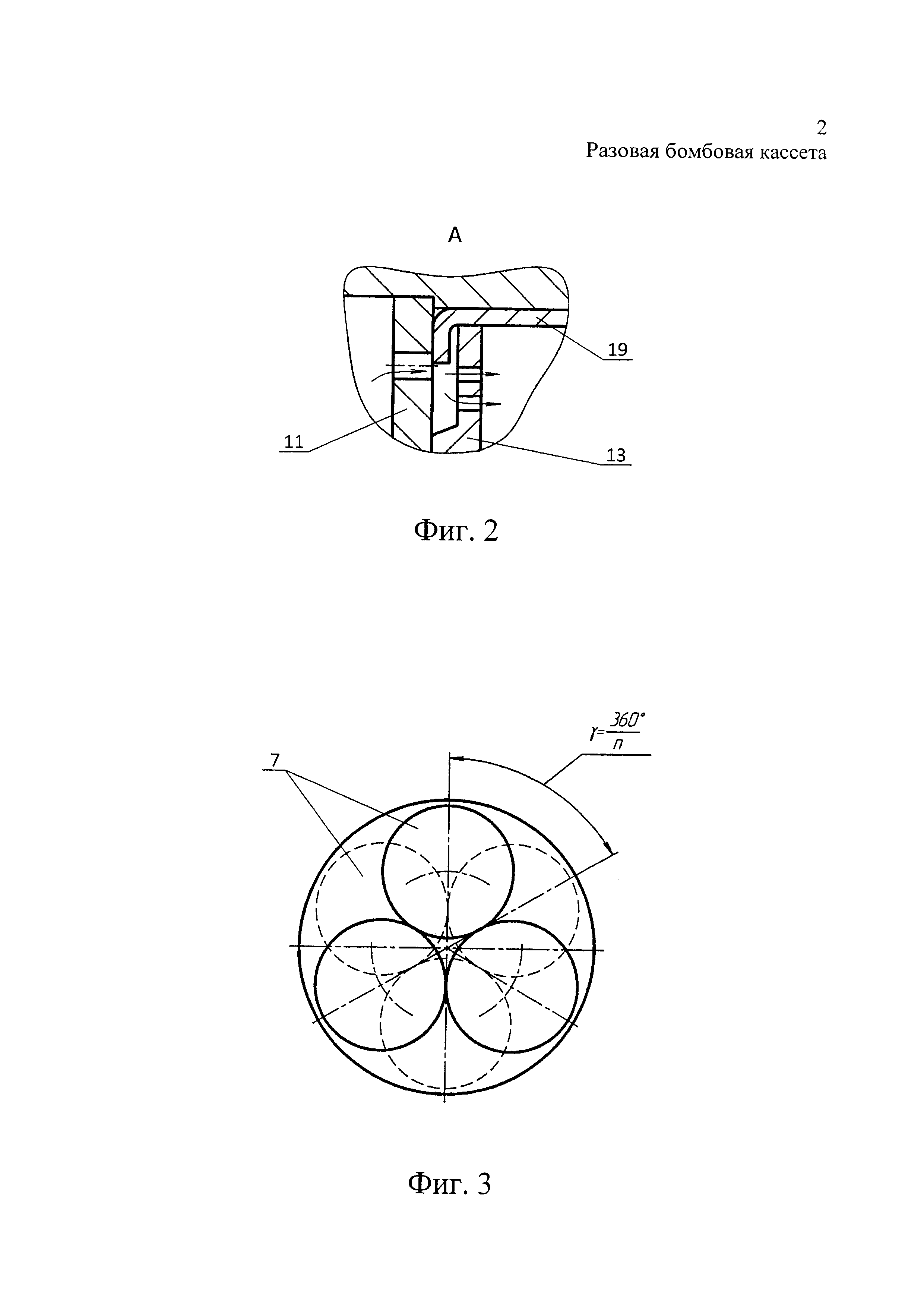
Разовая бомбовая кассета состоит (Фиг. 1) из взрывателя 1, корпуса 2, стабилизатора 3, каркаса, состоящего из переднего фланца 4, заднего фланца 5, между которыми поперечными рядами, разделенными дисками 6, размещены ротирующие боевые элементы 7, при этом взрыватель 1 смонтирован в переднем фланце 4. Поршневое устройство 8 состоит из диска 9 с уплотнительным кольцом 10 и стакана 11, установленного соосно диску 9. Стакан 11 соединен разъемным соединением, шариковым замком 12, с переходной втулкой 13, а посредством втулки 16 - с передним фланцем 4, закрепленным в головной части корпуса 2 гайкой 14. Размещенный в полости стакана 11 газогенератор 15 выполнен с центральным отверстием для передачи огневого импульса, получаемого при срабатывании взрывателя 1. Боевые элементы 7 смежных рядов устанавливаются в гнезда (выемки), выполненные в дисках 6 и 9 в соответствии с формой головной части боевых элементов со смещением относительно друг друга на угол γ=360°/n, где n - количество боевых элементов в ряду (Фиг. 3), и с заглублением относительно друг друга на величину S (Фиг. 1), что в зависимости от количества рядов позволяет разместить в корпусе дополнительное количество боевых элементов.

[23]

На переднем фланце 4 закреплен один конец троса 17, а на диске 9 поршневого устройства 8 - второй конец троса 17. Трос 17 уложен по спирали на наружной поверхности переходной втулки 13 с возможностью свободного развертывания на полную длину при распаковке корпуса кассеты.

[24]

Поршневое устройство 8, диски 6 (выполнены из дерева или плотного пенопласта) и задний фланец 5 последовательно соединены друг с другом гибкими связями 18, причем каждая из последующих связей смонтирована со стороны, противоположной стороне монтажа предыдущей связи.

[25]

На заднем фланце 5 посредством болтовых соединений 20 закреплены концы, по крайней мере, трех ленточных пружин 19, каждая толщиной 0,6÷1 мм. Другие концы пружин 19 размещены между стаканом 11 и переходной втулкой 13 и выходят из защемления при срабатывании разъемного соединения и схода корпуса 2 с каркаса, что позволяет обеспечить более плотную укладку боевых элементов без какой-либо дополнительной арматуры. Задний фланец 5 закреплен посредством трубы 21 в донной части стабилизатора 3.

[26]

При срабатывании взрывателя 1 огневой импульс через центральное отверстие передается на газогенератор 15, при воспламенении которого срабатывает шариковый замок 12 и пороховые газы через отверстия стакана 11 и переходной втулки 13 (Фиг. 2) поступают в полость головной части корпуса, создавая в ней повышенное давление. Под действием давления каркас с боевыми элементами перемещается в корпусе в сторону хвостовой части. При этом стакан 11 с поршневым устройством 8 смещается относительно переходной втулки 13, освобождая защемленные концы ленточных пружин 19 и, соответственно, каркас с боевыми элементами 7. Под действием давления пороховых газов на поршневое устройство 8 каркас вместе с боевыми элементами 7 выбрасывается из корпуса 2. После развертывания на полную длину троса 17 движение поршневого устройства 8 затормаживается, после чего поршневое устройство 8 начинает двигаться вместе с корпусом 2. Освобожденные ленточные пружины 19 свертываются, освобождая каркас с боевыми элементами 7 от стягивающего усилия. Движение каркаса с боевыми элементами 7 и стабилизатором 3 тормозится относительно корпуса 2 под воздействием первоначального импульса при срабатывании газогенератора 15 и воздушного потока. Под воздействием разнонаправленных сил, действующих на корпус 2 и каркас с боевыми элементами 7 (Фиг. 4), диски 6 под воздействием растягивающих усилий гибких связей 18 раскрываются, выстраиваясь в одну линию, освобождая размещенные между ними боевые элементы 7. Таким образом, при распаковке каркаса и сходе корпуса обеспечивается гарантированное разделение элементов каркаса и выход в воздушный поток боевых элементов независимо от скорости полета как носителя, так и разовой бомбовой кассеты, что позволяет при любых условиях бомбометания обеспечить оптимальные зоны накрытия. Попадая в воздушный поток, боевые элементы 7 раскручиваются, разлетаются в радиальном направлении и, падая на землю, накрывают определенную зону. При падении происходит срабатывание боевых элементов с образованием осколков, обеспечивающих поражение цели.

Как компенсировать расходы
на инновационную разработку
Похожие патенты