патент
№ RU 2621300
МПК H01M8/06

ЭНЕРГЕТИЧЕСКАЯ УСТАНОВКА

Авторы:
Волощенко Георгий Николаевич
Номер заявки
2016131495
Дата подачи заявки
01.08.2016
Опубликовано
01.06.2017
Страна
RU
Как управлять
интеллектуальной собственностью
Чертежи 
1
Реферат

Изобретение относится к воздухонезависимым энергоустановкам и может быть использовано для подводных транспортных средств и для других устройств при отсутствии наружного воздуха. Техническим результатом заявленного изобретения является повышение удельной энергии энергоустановки за счет использования в качестве источника окислителя перекиси водорода, а источника водорода боргидрида натрия, причем вода, образующаяся при разложении перекиси водорода, используется для разложения боргидрида натрия, и повышение надежности работы установки за счет сокращения числа узлов. Для достижения указанного результата предложена энергетическая установка, содержащая электрохимический генератор с магистралями питания кислородом и водородом, емкостями хранения топлива и окислителя и регулируемыми насосами подачи жидкостей, при этом в нее включены сепаратор кислорода, соединенный с ним реактор разложения перекиси водорода и емкость хранения катализатора, причем вход реактора разложения перекиси водорода соединен с емкостью хранения перекиси водорода через регулируемый насос, а емкость с катализатором соединена с магистралью подачи воды через регулируемый насос. 1 ил.

Формула изобретения

Энергетическая установка, содержащая электрохимический генератор с магистралями питания кислородом и водородом, емкостями хранения топлива и окислителя и регулируемыми насосами подачи жидкостей, отличающаяся тем, что в нее включены сепаратор кислорода, соединенный с ним реактор разложения перекиси водорода и емкость хранения катализатора, причем вход реактора разложения перекиси водорода соединен с емкостью хранения перекиси водорода через регулируемый насос, а емкость с катализатором соединена с магистралью подачи воды через регулируемый насос.

Описание

[1]

Область техники

[2]

Изобретение относится к воздухонезависимым энергоустановкам и может быть использовано для подводных транспортных средств и для других устройств при отсутствии наружного воздуха.

[3]

Уровень техники

[4]

Известны воздухонезависимые энергоустановки с запасенными водородом и кислородом в сжатом или криогенном виде (например, патент РФ №2417487). Недостатком таких энергоустановок является то, что масса реагентов составляет малую долю от массы хранилища, что значительно уменьшает удельную энергию установки.

[5]

Известна энергоустановка (патент РФ №2284078), в которой источником водорода служат аноды вспомогательного источника тока при взаимодействии с водой. Недостатками такого технического решения являются, с одной стороны, хранение окислителя в виде кислорода с недостатком предыдущего аналога, а с другой стороны, низкая надежность установки в целом из-за зависимости работы основного источника тока от работы вспомогательного.

[6]

В патенте РФ №2230401 (опубл. 10.06.2004 бюллетень «Изобретения. Полезные модели» №), принятым за прототип, окислитель хранится в виде кислорода, а источником водорода служит алюминий, выделяющий водород при взаимодействии со щелочным раствором. Недостатками этого технического решения являются ограниченная удельная энергия установки из-за использования кислорода и алюминия, необходимость иметь дополнительный запас щелочи, а также сложная схема приготовления раствора щелочи и подачи в емкость с алюминием, что снижает надежность установки.

[7]

Раскрытие изобретения

[8]

Техническим результатом заявленного изобретения является повышение удельной энергии энергоустановки за счет использования в качестве источника окислителя перекиси водорода, а источника водорода боргидрида натрия, причем вода, образующаяся при разложении перекиси водорода, используется для разложения боргидрида натрия, и повышение надежности работы установки за счет сокращения числа узлов энергоустановки.

[9]

Технический результат достигается тем, что предложена энергетическая установка, содержащая электрохимический генератор с магистралями питания кислородом и водородом, емкостями хранения топлива и окислителя и регулируемыми насосами подачи жидкостей, при этом в нее включены сепаратор кислорода, соединенный с ним реактор разложения перекиси водорода и емкость хранения катализатора, причем вход реактора разложения перекиси водорода соединен с емкостью хранения перекиси водорода через регулируемый насос, а емкость с катализатором соединена с магистралью подачи воды через регулируемый насос.

[10]

Краткое описание графических материалов

[11]

Признаки и сущность заявленного изобретения поясняются в последующем детальном описании, иллюстрируемом чертежом, где показано следующее.

[12]

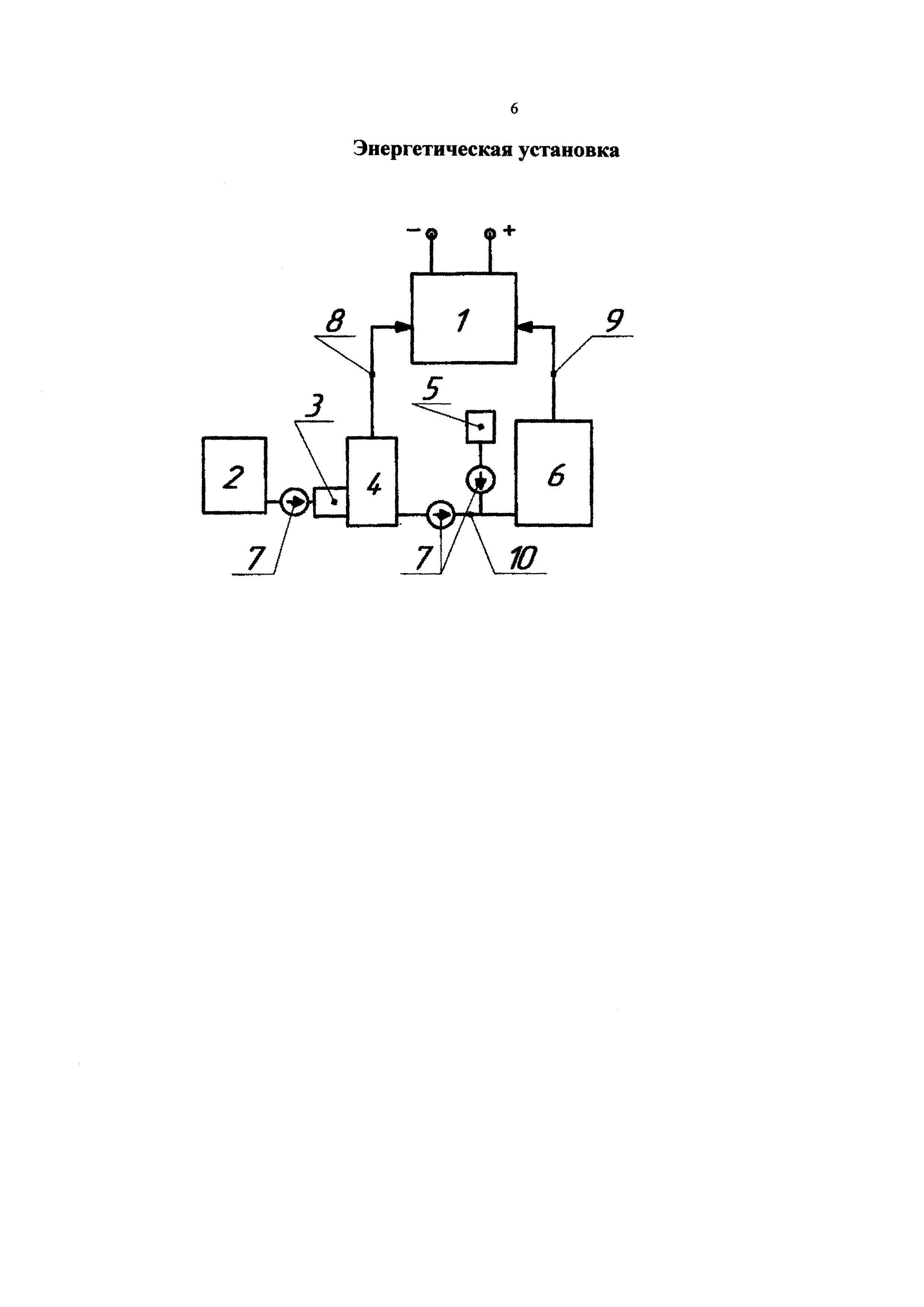
На фигуре приведена схема заявленной энергетической установки, где:

[13]

1 - электрохимический генератор (ЭХГ),

[14]

2 - емкость хранения перекиси водорода,

[15]

3 - реактор разложения перекиси водорода,

[16]

4 - сепаратор кислорода,

[17]

5 - емкость хранения катализатора,

[18]

6 - емкость хранения боргидрида натрия,

[19]

7 - регулируемый насос,

[20]

8 - магистраль питания кислородом ЭХГ,

[21]

9 - магистраль питания водородом ЭХГ,

[22]

10 - магистраль подачи воды.

[23]

Осуществление изобретения

[24]

Энергетическая установка содержит электрохимический генератор 1 с магистралями питания кислородом 8 и водородом 9, емкостями хранения топлива боргидрида натрия 6 и окислителя перекиси водорода 2 и регулируемыми насосами подачи жидкостей 7, причем установка дополнитель содержит сепаратор кислорода 4, соединенный с ним реактор разложения перекиси водорода 3 и емкость хранения катализатора 5, вход реактора разложения перекиси водорода 3 соединен с емкостью хранения перекиси водорода 2 через регулируемый насос 7, а емкость с катализатором 5 соединена с магистралью подачи воды 10 через регулируемый насос 7.

[25]

Заявленная энергетическая установка работает следующим образом. Перекись водорода насосом 7 подается в реактор разложения 3, где разлагается с выделением кислорода и воды, которые разделяются при поступлении в сепаратор 4. Из сепаратора 4 кислород поступает по магистрали 8 в ЭХГ 1, а вода насосом 7 подается в магистраль 10, в которой к ней подмешивается с помощью насоса 7 катализатор из емкости 5. Далее эта смесь подается в емкость с боргидридом натрия 6, где происходит разложение боргидрида с образованием водорода, который подается в ЭХГ 1 по магистрали 9.

[26]

Содержание водорода в боргидриде натрия с учетом водорода, получаемого из воды, взаимодействующей с боргидридом, составляет около 23%, а содержание кислорода в перекиси водорода составляет около 47%, таким образом, суммарное содержание водорода и кислорода в окислителе и топливе составляет около 42%. Поскольку перекись водорода и боргидрид натрия не требуют особых условий для хранения, то вес емкостей для них невелик и не влияет существенно на удельную энергию энергоустановки. Масса катализатора для разложения боргидрида составляет несколько процентов от массы боргидрида и также мало влияет на удельную энергию.

[27]

Таким образом, в предлагаемом техническом решении достигается заявленный технический результат по повышению удельной энергии и надежности работы за счет сокращения числа узлов энергоустановки.

Как компенсировать расходы
на инновационную разработку
Похожие патенты