патент
№ RU 2622861
МПК G06K7/12

СПОСОБ ПОМЕХОУСТОЙЧИВОЙ ИДЕНТИФИКАЦИИ ДВИЖУЩИХСЯ ЦИЛИНДРИЧЕСКИХ ОБЪЕКТОВ И УСТРОЙСТВО ДЛЯ ЕГО ОСУЩЕСТВЛЕНИЯ

Авторы:
Пестунов Алексей Николаевич
Номер заявки
2016133553
Дата подачи заявки
15.08.2016
Опубликовано
20.06.2017
Страна
RU
Как управлять
интеллектуальной собственностью
Чертежи 
2
Реферат

Способ и устройство предназначены для идентификации объектов путем считывания информации с носителей при помощи оптического излучения, с использованием определенной длины волны. Технический результат заключается в ускорении идентификации движущихся цилиндрических объектов с маркировкой кольцами заданного цвета. Устройство содержит блок светофильтров 9, информационный фотоприемник 7. Устройство снабжено микроконтроллером 6, аналого-цифровым преобразователем 11, блоком освещения 3, содержащим светодиоды 4, соединенным с блоком управления освещением 5, который соединен с микроконтроллером 6. Фотоприемник 7 снабжен фотодиодами 8, область спектральной чувствительности каждого из которых соответствует одному из заданных цветов символов маркировки. Фотоприемник 7 последовательно соединен с микроконтроллером 6. Цилиндрический объект 1, с нанесенными на его боковой поверхности маркировочными символами 2 в виде поперечных колец с ранее выбранным цветом, поступательно продвигают вдоль его продольной оси вручную или на транспортере вблизи блока освещения 3. При достижении объектом 1 заранее рассчитанной позиции на микроконтроллер 6 приходит сигнал. От микроконтроллера 6 через схему управления яркостью 5 поступает сигнал на блок освещения 3 о включении светодиодов 4, разделенных на группы. При этом каждая из групп светодиодов 4 настроена на излучение пучка света с определенной длиной волны, то есть заранее заданного цвета. Цилиндрический объект 1 проходит мимо блока освещения 3. Маркировочные символы 2 освещают одновременно несколькими пучками монохромного света, каждый из которых имеет длину волны, соответствующую используемым цветам в маркировочных символах 2. 2 н. и 9 з.п. ф-лы, 2 ил.

Формула изобретения

1. Способ помехоустойчивой идентификации движущихся цилиндрических объектов, включающий освещение поверхности объекта монохроматическим светом, перемещение объекта вдоль его продольной оси, считывание маркировочных символов с контролируемой поверхности, компьютерную обработку символов, отличающийся тем, что маркировочные символы выполняют в виде последовательно расположенных поперечных колец, каждое с заранее заданным цветом, охватывающих боковую поверхность объекта, освещают маркировочные символы пучками монохроматического света с длинами волн, соответствующими заданным цветам маркировочных символов, проецируют отраженные от маркировочных символов световые пучки через фокусирующий объектив и светофильтры, каждый из которых соответствует цвету пучка монохроматического света, на фотодиоды, преобразуют световые сигналы в электрические, определяют соотношение сигналов между собой, сравнивают соотношения электрических сигналов от всех фотодиодов с эталонной базой данных соотношений сигналов от всех фотодиодов для каждого цвета, на основании этого определяют цвет кольца, идентифицируют стартовый репер символов маркировки, регистрируют его и последующие кольца по мере продвижения цилиндрического объекта.

2. Способ по п. 1, отличающийся тем, что в качестве стартового репера из символов маркировки принимают кольцо, или несколько колец, или первое появление кольца заранее выбранного цвета.

3. Способ по п. 1, отличающийся тем, что после определения цвета кольца идентифицируют фоновый промежуток, и регистрируют фоновый промежуток.

4. Способ по п. 1, отличающийся тем, что в качестве фонового промежутка между символами маркировки принимают кольцо черного цвета или другого заранее выбранного цвета.

5. Способ по п. 1, отличающийся тем, что после регистрации заданного изначально количества символов маркировки, начиная от стартового репера, считывание маркировки объекта считают законченным.

6. Устройство для помехоустойчивой идентификации движущихся цилиндрических объектов, содержащее источник света, блок светофильтров, фотоприемник, отличающееся тем, что устройство снабжено микроконтроллером, соединенным с аналого-цифровым преобразователем и блоком освещения, содержащим светодиоды, обеспечивающие излучение пучков света, каждый с длиной волны, соответствующей заданному цвету, при этом фотоприемник снабжен фотодиодами, область спектральной чувствительности каждого из которых соответствует одному из заданных цветов символов маркировки, при этом фотоприемник соединен с микроконтроллером, предназначенным для определения цвета колец на основе соотношений сигналов для каждого цвета, хранящихся в памяти микроконтроллера, а после определения стартового репера для включения регистратора кода движущегося цилиндрического объекта.

7. Устройство по п. 6, отличающееся тем, что блок освещения снабжен блоком управления, который соединен с микроконтроллером.

8. Устройство по п. 6, отличающееся тем, что блок освещения снабжен светодиодами, разделенными на группы.

9. Устройство по п. 6, отличающееся тем, что в качестве фотодиодов использован многосекционный фотодиод.

10. Устройство по п. 6, отличающееся тем, что фотодиоды снабжены светофильтрами красного, зеленого, синего цветов.

11. Устройство по п. 6, отличающееся тем, что группа светодиодов скомплектована из красного, зеленого, синего цветов.

Описание

[1]

Область техники

[2]

Изобретение относится к средствам для идентификации объектов путем считывания информации с носителей при помощи оптического излучения, с использованием определенной длины волны. Наиболее конкретно, для считывания информации с движущихся цилиндрических объектов для их идентификации. Изобретение может быть использовано в автоматизированных системах контроля изготовления и для выполнения логистических операций с разнообразными изделиями цилиндрической формы, например, цилиндрических емкостей, бутылок, контейнеров и т.п.

[3]

Предшествующий уровень техники

[4]

При выполнении логистических операций на важное место выходит автоматизированный учет и идентификация объектов, особенно в случае обращения с массовыми однотипными изделиями. Одной из наиболее распространенных форм изделий массового применения являются цилиндрические поверхности, на боковой поверхности которых удобно наносить маркировку. При автоматизированной идентификации маркировки на боковой поверхности объекта желательным является отсутствие требований по однозначному ориентированию объекта в зоне контроля. Наиболее технологичным является перемещение объекта через зону контроля вдоль оси его цилиндрической поверхности. При этом также желательным является отсутствие жестких требований к равномерности и скорости перемещения объекта через зону контроля.

[5]

Известен способ идентификации движущихся объектов (АС СССР №888150, приор. 25.03.1981, опубл. 07.12.1981, авторы Гусаров В.А. и др.), в котором на контейнер, подлежащий распознаванию и учету, наносят символ в виде покрытия комбинацией лаков, или красок, содержащих определенные химические элементы, а контроль наличия этих элементов на поверхности контейнера производят радиометрическим методом, облучая контейнер γ-излучением. Информация о символе кодируется в виде двоичного числа. Наличие элементов в символе соответствует «1», отсутствие - «0».

[6]

Недостатком данного способа можно считать сложность и высокую стоимость используемого оборудования для облучения и фиксирования метки на движущемся контейнере. К тому же должны быть применены повышенные требования безопасности при работе с радиоактивными элементами.

[7]

В качестве прототипа для способа был выбран способ оптико-телевизионного распознавания и считывания маркировочных символов на поверхности труб (патент РФ №2233475, приор. 29.07.2002, опубл. 27.07.2004, авторы Калинин О.Б., Чебанов В.Б. и др.), в котором контролируемую поверхность трубы освещают, с помощью видеокамер формируют изображение с последующей компьютерной обработкой, одновременно с вращением трубу перемещают вдоль продольной оси со скоростью VП=0,01-0,02 м/с, при этом производят кадровую синхронизацию изображения и считывание маркировочных символов на контролируемой поверхности, а освещение производят монохроматическим светом с длиной волны L=620-650 нм.

[8]

Недостатком данного способа можно считать необходимость одновременного вращения и перемещения трубы, которая вызвана неопределенностью положения маркировочных символов на поверхности трубы относительно объективов камер. Это требует дополнительного времени на идентификацию, специального оборудования для вращения трубы, и дополнительных расходов энергии. Задача усложняется тем, что цилиндрические объекты на транспортере по технологическим причинам требуется продвигать только в одном направлении, а скорость их движения непостоянна.

[9]

В качестве аналога для устройства было выбрано устройство для считывания штриховых изображений (АС №330471, приор. 03.04.1967, опубл. 20.04.1972, автор Е.П. Попечителев), содержащее трехцветный датчик видеосигналов с тремя колориметрическими светофильтрами, блоки индикации и освещения исследуемого объекта, блок анализа.

[10]

Недостатком данного устройства для считывания штриховых изображений можно считать невозможность подстраивания режима его работы под разные скорости движения цилиндрического объекта.

[11]

В качестве прототипа для устройства было выбрано устройство для анализа цвета объекта (АС №1339602, приор. 14.08.1985, опубл. 23.09.1987., авторы А.И. Селютин, В.П. Иванников), включающее в себя блок светофильтров, блок фотоприемников уровня фона, информационный фотоприемник, формирователи уровня фона, формирователь порогового напряжения, блок выделения.

[12]

Недостатком данного устройства является его недостаточное быстродействие из-за наличия шагового двигателя и его зависимости от блока светофильтров. Вместе с тем требуется точный, дорогостоящий привод, синхронизированный с системой анализа цвета.

[13]

Раскрытие изобретения

[14]

Задачей, на решение которой направлено заявляемое изобретение, является ускоренная идентификация цилиндрических объектов, движущихся поступательно с переменной скоростью при наличии возможности случайного поворота объекта вокруг его продольной оси.

[15]

Технический результат, достигаемый в способе при решении этой задачи, заключается в форме и расположении цветных маркировочных символов, идентификация маркировки без ее фотографирования.

[16]

Для получения указанного технического результата в способе помехоустойчивой идентификации движущихся цилиндрических объектов освещают контролируемую поверхность цилиндра монохроматическим светом, перемещают цилиндр вдоль продольной оси, считывают маркировочные символы на контролируемой поверхности, обрабатывают полученные результаты при помощи компьютера. Согласно изобретению, маркировочные символы выполняют в виде последовательно расположенных поперечных колец, каждое с заранее заданным цветом, охватывающих боковую поверхность объекта.

[17]

Маркировочные символы в месте контроля освещают одновременно пучками монохроматического света с длинами волн, соответствующими заданным цветам маркировочных символов. Проецируют отраженные от маркировочных символов световые пучки через фокусирующий объектив и светофильтры, каждый из которых соответствует цвету пучка монохроматического света, на фотодиоды. Преобразуют световые сигналы в электрические. Определяют соотношение сигналов между собой. Сравнивают соотношения электрических сигналов от всех фотодиодов с эталонной базой данных соотношений сигналов от всех фотодиодов для каждого цвета. На основании этого определяют цвет кольца, регистрируют его и последующие кольца. После определения цвета первого кольца идентифицируют его в качестве стартового репера и регистрируют первый символ маркировки

[18]

Возможно, в качестве стартового репера из символов маркировки принимают кольцо, или несколько колец, или первое появление кольца заранее выбранного цвета.

[19]

Стартовый репер из символов маркировки можно определить по соотношению электрических сигналов от многосекционного фотодиода и заранее заданного соотношения сигналов для стартового репера. Например, в качестве стартового репера может быть использовано первое появление красного кольца.

[20]

После определения цвета кольца можно идентифицировать фоновый промежуток, и регистрировать фоновый промежуток.

[21]

Допустимо принимать кольцо черного цвета, или другого заранее принятого цвета, в качестве фонового промежутка между символами маркировки.

[22]

Фоновый промежуток между символами маркировки можно определить по соотношению электрических сигналов от многосекционного фотодиода и заранее заданного соотношения сигналов для фонового промежутка.

[23]

При попадании на месте контроля в поле зрения многосекционного фотодиода фонового промежутка из символов маркировки, регистрируют фоновый промежуток.

[24]

При попадании в поле зрения многосекционного фотодиода очередного из символов маркировки, определяют цвет символа по соотношению электрических сигналов от многосекционного фотодиода и заранее заданного соотношения сигналов для каждого цвета символов маркировки. Фиксируют очередной символ маркировки. После регистрации заданного изначально количества символов маркировки начиная от фонового промежутка, считывание маркировки объекта считают законченным.

[25]

Совокупность существенных признаков позволяет осуществить расположение и форму маркировочных символов в виде поперечных колец, охватывающих боковую поверхность цилиндра, использовать цвет в маркировке, идентификацию маркировки без ее фотографирования. Вследствие этого ускоряется идентификация цилиндрических объектов, движущихся поступательно с переменной скоростью при наличии возможности случайного поворота объекта вокруг его продольной оси.

[26]

Технический результат в устройстве достигается тем, что устройство для помехоустойчивой идентификации движущихся цилиндрических объектов, содержит источник света, фотоприемник с блоком светофильтров. Согласно изобретению, устройство снабжено микроконтроллером, соединенным с аналого-цифровым преобразователем, блоком освещения, содержащим светодиоды, соединенным с блоком управления освещением, который соединен с микроконтроллером. Фотоприемник снабжен фокусирующим объективом, блоком светофильтров, фотодиодами. При этом фотоприемник последовательно соединен с усилителем и микроконтроллером.

[27]

Для более надежного определения цвета маркировки и для компактности фотодиоды могут быть заменены на многосекционный фотодиод. Для каждого канала цвета используют отдельный фотодиод, или секцию фотодиода.

[28]

Для более надежного освещения маркировки светодиоды могут быть объединены в группы. Одна группа светодиодов излучает свет одной длины волны, соответствующей одному из цветов маркировки.

[29]

Для каждого конкретного варианта сочетания цветов маркировки отдельную группу фотодиодов собирают из красного, зеленого, синего, черного цветов, или из красного, желтого, зеленого, синего, черного цветов. Перечисленные варианты цветов, так же как и их сочетание не является исчерпывающим. Допускается возможность использовать другие цвета и их сочетание.

[30]

Совокупность существенных признаков позволяет в устройстве использовать цвет в маркировке и идентификацию маркировки без ее фотографирования. Вследствие этого ускоряется идентификация цилиндрических объектов, движущихся поступательно с переменной скоростью при наличии возможности случайного поворота объекта вокруг его продольной оси.

[31]

Краткое описание фигур чертежа

[32]

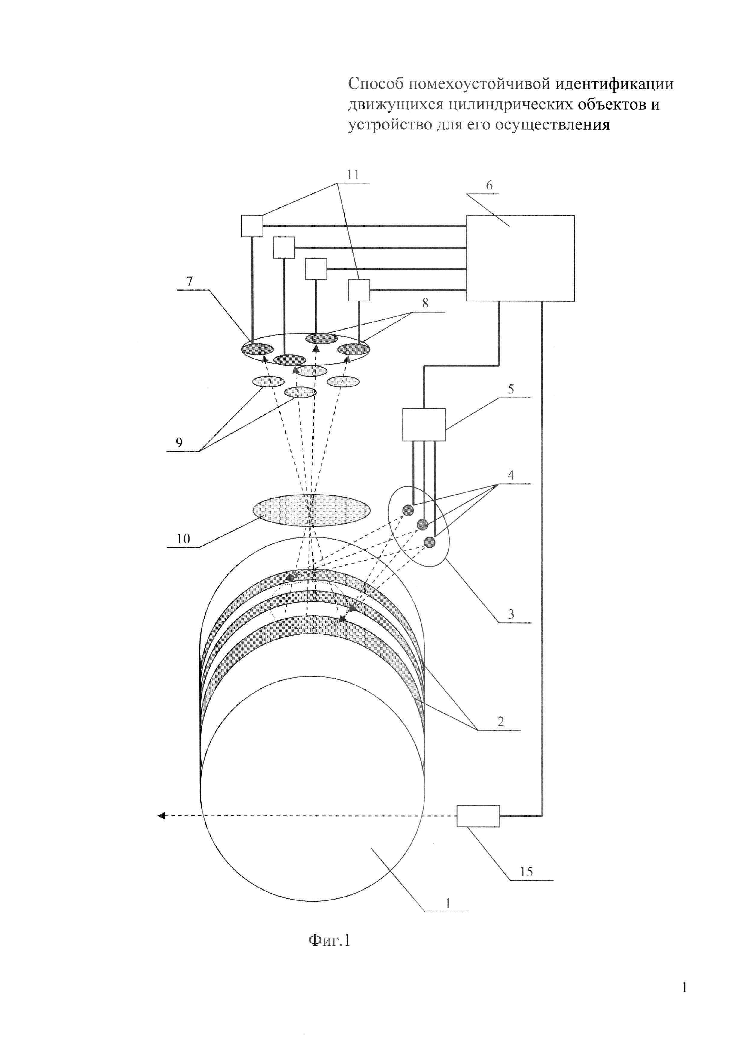
На фиг. 1 приведена блок-схема устройства.

[33]

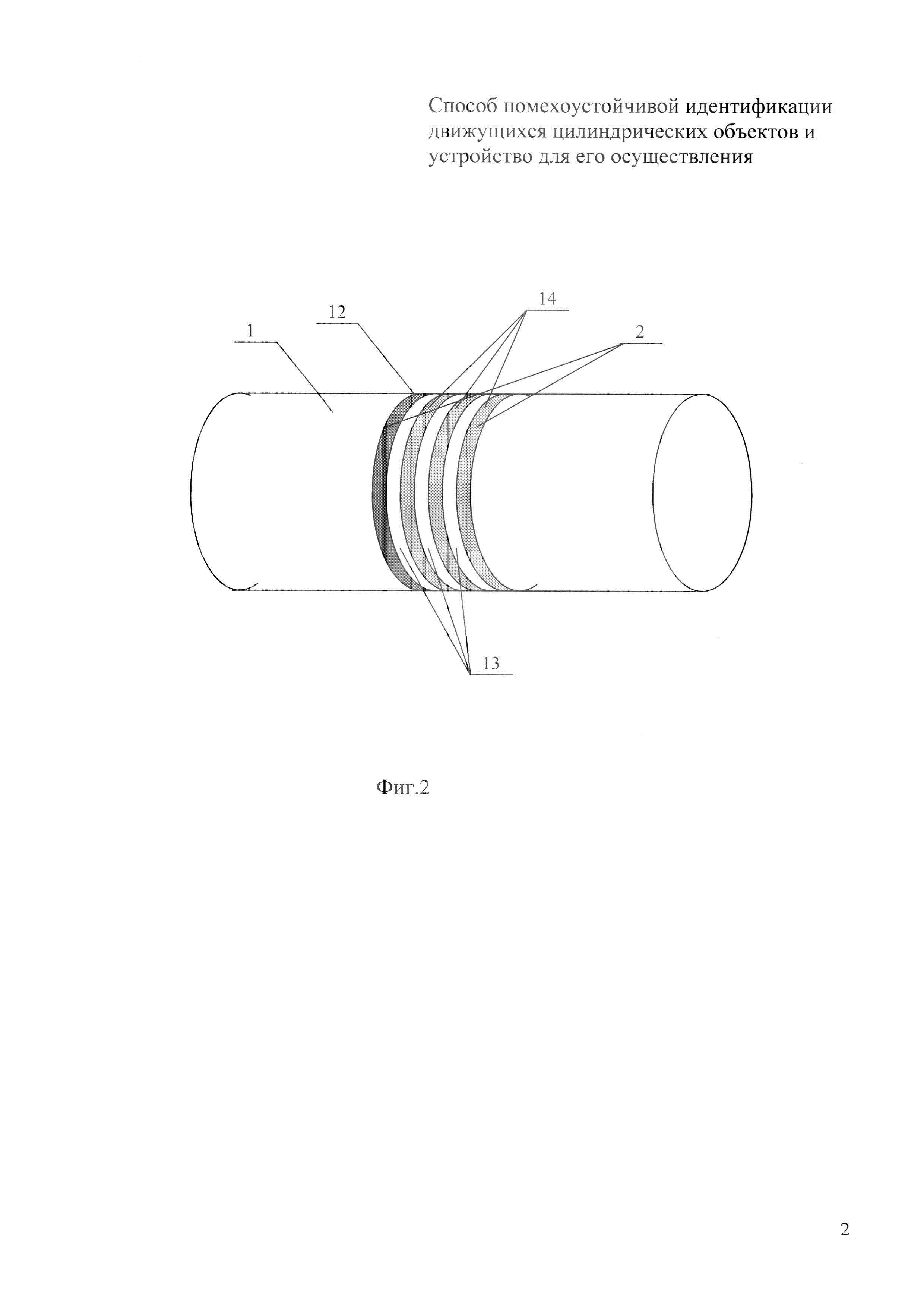
На фиг. 2 показана часть цилиндрического объекта с нанесенной маркировкой.

[34]

Варианты осуществления изобретения

[35]

Как показано на фиг. 1, устройство для помехоустойчивой идентификации движущихся цилиндрических объектов 1, с нанесенными на его боковой поверхности маркировочными символами 2, состоит из блока освещения 3, который содержит светодиоды 4. Блок освещения 3 соединен со схемой управления 5 яркостью свечения светодиодов 4. Схема управления 5 соединена с микроконтроллером 6. Устройство так же содержит информационный фотоприемник 7 с усилителем, содержащий фотодиоды 8. Перед блоком информационного фотоприемника 7 расположен блок светофильтров 9 и фокусирующий объектив 10. Каждый фотодиод 8 соединен с аналого-цифровым преобразователем 11 (АЦП), который соединен с микроконтроллером 6.

[36]

Светодиоды 4 объединены в группы. При этом каждая из групп светодиодов 4 настроена на излучение света с заранее заданной длиной волны. То есть каждая группа светодиодов 4 излучает свет заранее заданного цвета.

[37]

Фотодиоды 8 в фотоприемнике 7 могут быть заменены одним фотодиодом, разделенным на секции. При этом на каждую секцию фотодиода 8 пучки света падают через светофильтр 9 заранее заданного цвета. Это позволяет выделить световой сигнал с нужной длиной волны. Таким образом, каждая секция фотодиода 8 настроена посредством светофильтров 9 перед ней на обнаружение своего диапазона длин волн, который соответствует определяемому цвету.

[38]

Устройство работает следующим образом.

[39]

Каждому используемому цвету и сочетанию цветов в маркировке предварительно присваивают индивидуальный код. Как показано на фиг. 2, на корпус цилиндрического объекта 1 наносят маркировочные символы 2 в виде колец разных по цвету. Маркировочные символы 2 содержат стартовый репер 12, информационные кольца 13 фоновые промежутки 14, расположенные между информационными кольцами 13.

[40]

В качестве стартового репера 12 можно принять кольцо заранее определенного цвета, или первое появление одного из информационных колец 13, либо предварительно принятое сочетание цветов нескольких совместно расположенных колец13. В данном варианте в качестве стартового репера 12 принимают первое появление кольца красного цвета.

[41]

В качестве фоновых промежутков 14 принимают кольца заранее определенного цвета. В приведенном варианте исполнения в качестве фонового промежутка 14 принимают кольцо черного цвета. Возможны другие варианты, когда в качестве фонового промежутка 14 принимают кольцо другого цвета. Фоновые промежутки 14 расположены между информационными кольцами 13 маркировки.

[42]

Цилиндрический объект 1, с нанесенными на его боковой поверхности маркировочными символами 2, которые содержат в себе закодированную информацию, в виде поперечных колец с ранее выбранным цветом, поступательно продвигают вдоль его продольной оси вручную или на транспортере вблизи блока освещения 3 (на фиг. 1).

[43]

При достижении объектом 1 заранее рассчитанной позиции, от датчика присутствия 15 на микроконтроллер 6 приходит сигнал. В результате чего от микроконтроллера 6 через схему управления яркостью 5 поступает сигнал на блок освещения 3 о включении светодиодов 4, объединенных в группу. При этом каждый светодиод 4 настроен на излучение пучка света с определенной длиной волны, то есть заранее заданного цвета. Цилиндрический объект 1 проходит мимо блока освещения 3. Маркировочные символы 2 освещают одновременно несколькими пучками монохромного света, каждый из которых имеет длину волны, соответствующую используемым цветам в маркировочных символах 2 таким образом, что пучки каждого цвета освещают все маркировочные символы 2 в процессе движения объекта 1. Светодиоды 4 освещают пучками монохромного света боковую поверхность объекта 1 в том месте, где расположены маркировочные символы 2.

[44]

Монохромные пучки света, отраженные от каждого маркировочного символа 2, проецируют посредством фокусирующего объектива 10 через блок светофильтров 9 на фотодиоды 8 фотоприемника 7. Каждый из фильтров блока светофильтров 9 пропускает с минимальным искажением отраженный пучок света, совпадающий с цветом фильтра. Пучки света, отличающиеся от цвета светофильтра, гасятся, а если и проходят светофильтр, то сигнал от них уменьшается. Фотодиоды 8 могут быть заменены одним фотодиодом, состоящим из секций. Каждая секция в фотодиоде 8 предназначена для обнаружения отраженного от маркировочного символа 2 светового пучка с определенной длиной волны. В рассматриваемом варианте используют несколько фотодиодов 8, каждый из которых предназначен для обнаружения светового пучка определенного цвета.

[45]

При попадании в поле зрения фотоприемника 7 и его фотодиодов 8 отраженных пучков света от стартового репера 12 из маркировочных символов 2, сигналы усиливают, преобразуют в цифровые сигналы в АЦП 11, передают в микроконтроллер 6. В микроконтроллере 6 рассчитывают соотношения сигналов, пришедших от каждого фотодиода 8 между собой. Далее сравнивают полученные величины с базой данных соотношений, которые хранятся в памяти микроконтроллера 6. База данных соотношений сигналов от фотодиодов 8 для каждого цвета, используемого в маркировке 2, получена ранее экспериментальным путем и хранится в микроконтроллере 6. При соответствии полученного и хранящегося соотношений сигналов, делается вывод о цвете кольца из символов маркировки 2. Если этот цвет совпадает с запрограммированным заранее цветом для стартового репера 12, то включается регистратор кода в микроконтроллере 6, и регистрируют первый символ - стартовый репер 12 маркировочных символов 2.

[46]

При попадании в поле зрения фотоприемника 7 фонового промежутка (в данном примере черного кольца) из символов маркировки 2, определяют в микроконтроллере 6 соотношение сигналов от секций фотодиода 8 и сравнивают с базой данных соотношений сигналов, хранящихся в микроконтроллере 6. По наиболее близким совпадениям определяют цвет черного кольца. Регистратор кода в микроконтроллере 6 фиксирует фоновый промежуток. Применение фонового промежутка между кольцами маркировочных символов 2 позволяет повысить точность определения и фиксирования символов маркировки 2, проходящих мимо фотодиодов 8.

[47]

Определение цвета кольца как маркировочного символа 2 происходит следующим образом. Например, на красное кольцо от светодиодов 4 падают пучки монохроматического света, в том числе пучок красного цвета. Этот пучок отражается от красного кольца из символов маркировки 2, проходит через фокусирующий объектив 10, блок светофильтров 9, один из фильтров которого пропускает красный свет, и попадает на фотодиоды 8, в том числе на тот фотодиод, который расположен за красным фильтром и выдает максимальный сигнал. Фотоприемник 7 преобразует световой пучок в аналоговые сигналы от каждого фотодиода 8, усиливает их. Далее сигналы в АЦП 11 преобразуют в цифровые сигналы, которые поступают на микроконтроллер 6, где рассчитывается соотношение этих сигналов между собой. Сравнивают полученное соотношение с базой данных соотношений сигналов, хранящихся в микроконтроллере 6. По наиболее близким совпадениям определяют красный цвет кольца.

[48]

После регистрации заданного изначально в микроконтроллере 6 количества маркировочных символов 2 начиная от стартового репера 12, считывание маркировки объекта считают законченным.

[49]

Таким образом, использование колец в качестве идентификационных символов, их расположение на поверхности цилиндрического объекта позволяет считывать код последовательно по мере продвижения цилиндрического объекта, не фотографируя маркировку, не вращая объект в поисках кода, не зависеть от случайного поворота объекта вокруг своей оси. На этом экономится время и ускоряется идентификация маркировки. Использование цветных колец позволяет для кодирования информации использовать меньшее количество колец. Это так же ускоряет процесс идентификации маркировки. Использование монохроматических источников освещения и считывания позволяет считывать код последовательно по мере продвижения цилиндрического объекта. На процесс идентификации практически не влияет скорость продвижения объекта, так как организованная на базе описанного способа скорость считывания с запасом превышает скорость движения объекта.

[50]

Все рассмотренные существенные признаки в совокупности позволяют решить задачу ускоренной идентификации цилиндрических объектов, движущихся поступательно с переменной скоростью при наличии возможности случайного поворота объекта вокруг его продольной оси.

[51]

Промышленная применимость

[52]

Наиболее эффективно выглядит использование предложенного технического решения для считывания информации с движущихся цилиндрических объектов для их идентификации. Изобретение найдет применение в автоматизированных системах контроля изготовления и для выполнения логистических операций с разнообразными изделиями цилиндрической формы, например, цилиндрических емкостей, бутылок, контейнеров и т.п. Рассмотренный вариант выполнения изобретения может быть реализован на существующем в настоящее время оборудовании с применением известных материалов. Это подтверждает работоспособность и промышленную применимость изобретения.

Как компенсировать расходы
на инновационную разработку
Похожие патенты