патент
№ RU 2330926
МПК E05B65/24

ЗАПИРАЮЩЕЕ УСТРОЙСТВО

Авторы:
Зезера Юрий Григорьевич Тузиков Виталий Николаевич Кабанов Николай Серапионович
Все (4)
Номер заявки
2006128000/12
Дата подачи заявки
02.08.2006
Опубликовано
10.08.2008
Страна
RU
Как управлять
интеллектуальной собственностью
Чертежи 
11
Реферат

[25]

Изобретение относится к запирающим устройствам и может быть использовано для запирания дверей в авиационном или морском транспорте. Запирающее устройство для двери содержит закрепленный на каркасе механизм навески двери и запорный механизм, выполненный в виде установленной снаружи в кармане двери рукоятки, кинематически соединенной через систему тяг, рычагов и качалок с декомпрессионным лючком. Запирающее устройство снабжено механизмом стопорения запорного механизма в закрытом положении, выполненным в виде гибкой механической связи, кинематически соединенной одним своим концом через рычаг со стопором запирающего вала, имеющего выступ и ограничитель поворота этого вала, размещенный в пазу качалки, кинематически связанной с декомпрессионным лючком, при этом другой конец гибкой связи соединен с рукояткой, а стопор выполнен с возможностью взаимодействия с выступом запирающего вала. Декомпрессионный лючок может быть выполнен с возможностью его фиксации в открытом положении и закрывания при стопорении запорного механизма в закрытом положении двери, а гибкая связь - в виде троса. Изобретение повышает надежность запирающего устройства путем исключения возможности самопроизвольного открывания двери во время движения транспортного средства. 2 з.п. ф-лы, 12 ил.

Формула изобретения

1. Запирающее устройство, содержащее закрепленный на каркасе механизм навески двери, запорный механизм, выполненный в виде установленной снаружи в кармане двери рукоятки, кинематически соединенной через систему тяг, рычагов и качалок с декомпрессионным лючком, отличающееся тем, что оно снабжено механизмом стопорения запорного механизма в закрытом положении, выполненным в виде гибкой механической связи, кинематически соединенной одним своим концом через рычаг со стопором запирающего вала, имеющего выступ и ограничитель поворота этого вала, размещенный в пазу качалки, кинематически связанной с декомпрессионным лючком, при этом другой конец гибкой связи соединен с рукояткой, а стопор выполнен с возможностью взаимодействия с выступом запирающего вала.

2. Запирающее устройство по п.1, отличающееся тем, что декомпрессионный лючок выполнен с возможностью фиксации в открытом положении и закрывания при стопорении запорного механизма в закрытом положении двери.

3. Запирающее устройство по п.1, отличающееся тем, что гибкая связь выполнена в виде троса.

Описание

[1]

Настоящее изобретение относится к запирающим устройствам и может быть использовано для запирания дверей, например, в авиационном или морском транспорте.

[2]

Известно запирающее устройство, содержащее закрепленный на каркасе механизм навески двери, запорный механизм, выполненный в виде установленной снаружи в кармане двери рукоятки, кинематически соединенной через систему тяг, рычагов и качалок с декомпрессионным лючком (см. патент США №4510714, кл. 49/249, 1982 г.).

[3]

Недостатком данного запирающего устройства является то, что во время движения транспортного средства не исключена возможность самопроизвольного открывания двери.

[4]

Техническим результатом настоящего изобретения является повышение надежности запирающего устройства путем исключения возможности самопроизвольного открывания двери во время движения транспортного средства.

[5]

Данный технический результат достигается тем, что запирающее устройство, содержащее закрепленный на каркасе механизм навески двери, запорный механизм, выполненный в виде установленной снаружи в кармане двери рукоятки, кинематически соединенной через систему тяг, рычагов и качалок с декомпрессионным лючком, снабжено механизмом стопорения запорного механизма в закрытом положении, выполненным в виде гибкой механической связи, кинематически соединенной одним своим концом через рычаг со стопором запирающего вала, имеющего выступ и ограничитель поворота этого вала, размещенный в пазу качалки, кинематически связанной с декомпрессионным лючком, при этом другой конец гибкой связи соединен с рукояткой, а стопор выполнен с возможностью взаимодействия с выступом запирающего вала.

[6]

Декомпрессионный лючок может быть выполнен с возможностью фиксации в открытом положении и закрывания при стопорении запорного механизма в закрытом положении, а гибкая связь - в виде троса.

[7]

Изобретение поясняется чертежами.

[8]

На фиг.1 показан общий вид снаружи на дверь с запирающим устройством.

[9]

На фиг.2 показан вид по стрелке А запирающего устройства при закрытом положении двери.

[10]

На фиг.3 - вид по стрелке А запирающего устройства при сдвинутом положении двери.

[11]

На фиг.4 показано сечение Б-Б фиг.1.

[12]

На фиг.5 - сечение В-В фиг.1.

[13]

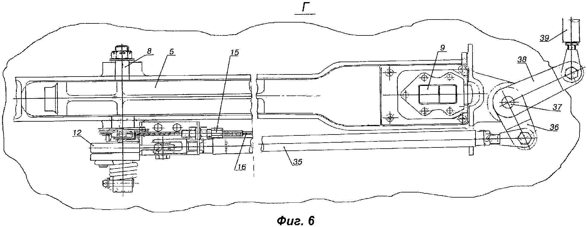
На фиг.6 показан вид Г фиг.2.

[14]

На фиг.7 - вид Д фиг.1.

[15]

На фиг.8 показано сечение Е-Е фиг.7.

[16]

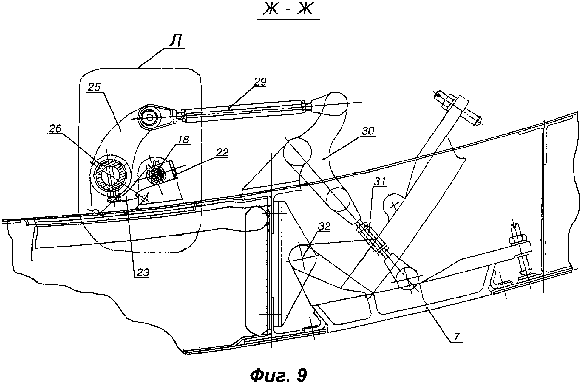
На фиг.9 - сечение Ж-Ж фиг.7.

[17]

На фиг.10 - сечение К-К фиг.4.

[18]

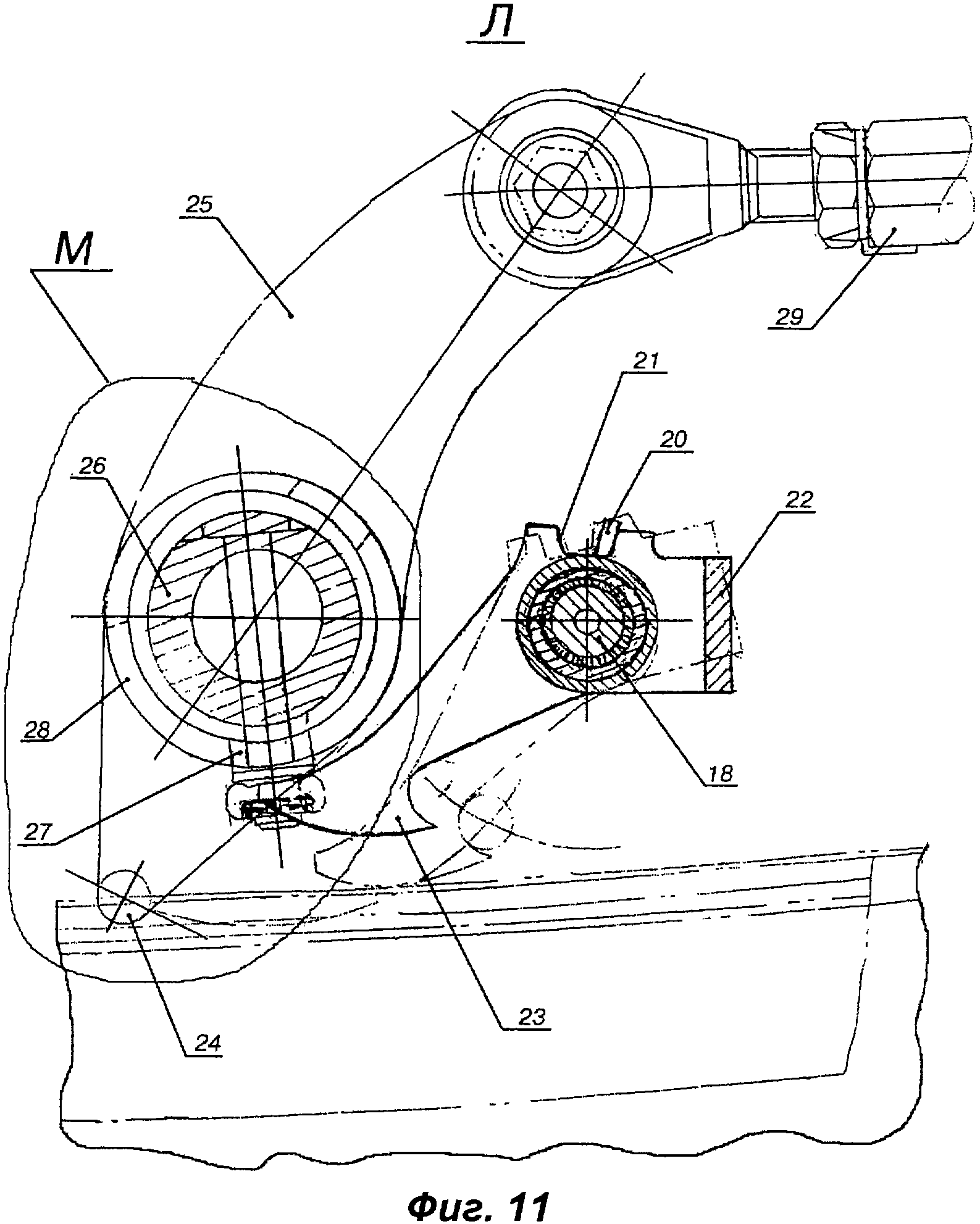
На фиг.11 показан узел Л фиг.9.

[19]

На фиг.12 - узел М фиг.11.

[20]

Запирающее устройство, предназначенное для двери 1, размещенной в проеме 2 люка 3, герметично запирающей ее и открываемой наружу вверх посредством механизма 4 навески, установленного на каркасе, содержит рукоятку 5, размещенную в кармане 6 двери 1 с возможностью управления ею снаружи, декомпрессионный лючок 7, кинематически соединенный с рукояткой 5, жестко установленной на валу 8 и зафиксированной в кармане 6 заподлицо с наружным контуром двери 1 посредством клавиши замка 9, размещенной в гнезде рукоятки 5, кулачок 10 и пружину 11, упруго соединяющую кулачок 10 с валом 8, двуплечую качалку 12, размещенную на валу 8 и соединенную пружиной кручения 13 с кронштейном 14, на котором закреплена оболочка 15, внутри которой проходит трос 16, соединяющий двуплечую качалку 12 с рычагом 17, жестко установленным на валу 18, снабженным пружиной 19. Выступ 20 рычага 17 размещен в выемке 21 стопора 22, выполненного в виде двузубой вилки, жестко установленной на валу 18, один зуб 23 которой выполнен в виде крючка для фиксации штифта 24 качалки 25, жестко закрепленной на запирающем валу 26. Устройство также содержит ограничитель 27, который размещен в пазу 28 качалки 25, соединенной с декомпрессионным лючком 7 посредством тяг 29, качалки 30 и тяги 31. Ось 32 установлена на каркасе двери 1 и снабжена пружиной 33. Рычаг 34, жестко закрепленный на запирающем валу 26, соединен с кулачком 10 тягой 35, качалкой 36, осью 37, качалкой 38 и тягой 39. Кулачок 10 имеет опорную площадку 40, контактирующую с упором 41 двуплечей качалки 12, а рычаг 34 имеет выступ 42.

[21]

Запирающее устройство работает следующим образом.

[22]

Для открывания двери 1 необходимо нажать на клавишу замка 9, размещенного в гнезде рукоятки 5. Под действием пружины 11 вал 8 вращается и выводит рукоятку 5 из кармана 6 двери 1 наружу, при этом опорная площадка 40 кулачка 10 отходит от упора 41 двуплечей качалки 12, которая под действием пружины 13, закрепленной на кронштейне 14, поворачивается в нем до упора. Одновременно с этим трос 16, соединяющий кронштейн 14 с рычагом 17 разгружается от усилия пружины 13 и вал 18 под действием пружины 19 вращается вместе с рычагом 17, который своим выступом 20, размещенным в выемке 21 стопора 22, давит на выемку 21. Стопор 22 выходит из зацепления с выступом 42 рычага 34, жестко соединенного с запирающим валом 26, то есть происходит разблокировка этого вала. При вращении рукоятки 5 на себя вал 8 через тягу 35, качалку 36, ось 37, качалку 38, тягу 39 и штифт 24 начинает вращаться запирающий вал 26, который через ограничитель 27 в пазу 28 качалки 25 поворачивает качалку 25, которая в свою очередь через тягу 29, качалку 30 и тягу 31 отклоняет декомпрессионный лючок 7 на оси 32 внутрь двери 1. При дальнейшем вращении рукоятки 5 на себя на угол до 90 градусов дверь сдвигается вверх и наружу. При вращении качалки 25 вместе с запирающим валом 26 происходит захват штифта 24 зубом 23 стопора 22. Таким образом, декомпрессионный лючок 7 заблокирован в открытом положении. Дальнейшее перемещение двери 1 вверх и фиксация ее в крайнем открытом положении осуществляется посредством механизма 4 навески.

[23]

Закрывание двери 1 осуществляется в обратном порядке. Дверь 1 опускают в нижнее положение. Далее поворотом рукоятки 5 при помощи системы тяг и качалок вращается запирающий вал 26. При вращении запирающего вала 26 происходит выход штифта 24 из зацепления с зубом 23 стопора 22. Одновременно при повороте рукоятки 5 с валом 8 и качалки 12 посредством троса 16 и стопора 22 осуществляется стопорение запирающего вала 26, при этом выступ 42 рычага 24 блокируется стопором 22. В конечном положении рукоятка 5 фиксируется в кармане 6 посредством замка 9, при этом блокируется декомпрессионный лючок 7 в закрытом положении.

[24]

Изобретение позволяет значительно повысить надежность запирающего устройства.

Как компенсировать расходы
на инновационную разработку
Похожие патенты