патент
№ RU 2618580
МПК G01T1/24

ЧУВСТВИТЕЛЬНЫЙ ЭЛЕМЕНТ С КОЛЬЦЕВЫМ КОНТАКТОМ ДЛЯ АЛМАЗНОГО ДЕТЕКТОРА

Авторы:
Родионов Николай Борисович Амосов Владимир Николаевич Артемьев Кирилл Константинович
Все (4)
Номер заявки
2015147172
Дата подачи заявки
03.11.2015
Опубликовано
04.05.2017
Страна
RU
Как управлять
интеллектуальной собственностью
Чертежи 
3
Реферат

Изобретение относится к области измерения ионизирующих излучений и может быть использовано при регистрации частиц, ультрафиолетового-, альфа-излучений. Чувствительный элемент с кольцевым контактом для алмазного детектора, предназначенный для регистрации частиц, альфа-, УФ излучений, содержит лицевой контакт, выполненный с отверстием радиуса R, определяющимся из условия достаточной величины электрического поля в цилиндрической области радиуса R и позволяющим устранить энергетические потери регистрируемых частиц вследствие отсутствия контакта внутри цилиндрической области радиуса R. Технический результат – расширение диапазона регистрируемых чувствительным элементом алмазного детектора частиц, включая области энергий менее 150 кэВ. 1 ил., 4 табл.

Формула изобретения

Чувствительный элемент с кольцевым контактом для алмазного детектора, предназначенный для регистрации частиц, альфа-, УФ излучений, содержащий лицевой контакт, отличающийся тем, что этот лицевой контакт выполнен с отверстием радиуса R, определяющимся из условия достаточной величины электрического поля в цилиндрической области радиуса R и позволяющим устранить энергетические потери регистрируемых частиц вследствие отсутствия контакта внутри цилиндрической области радиуса R.

Описание

[1]

Изобретение относится к области измерения ионизирующих излучений и может быть использовано при регистрации частиц, ультрафиолетового-, альфа-излучений в широком диапазоне энергий.

[2]

Известна конструкция чувствительного элемента для алмазного детектора для измерения ионизирующих излучений, включающая в себя чувствительный элемент на основе алмазной пластины со сплошными контактами, нанесенными с противоположных сторон чувствительного элемента

[3]

(СССР №451972, G01T 001/24, опубликовано 14.04.1975).

[4]

Недостатком этого известного алмазного детектора является то, что чувствительный элемент может иметь значительные энергетические потери на контактах, например, для частиц энергий менее 150 кэВ.

[5]

Задачей и техническим результатом данного изобретения является расширение диапазона регистрируемых чувствительным элементом алмазного детектора частиц, включая области энергий менее 150кэВ.

[6]

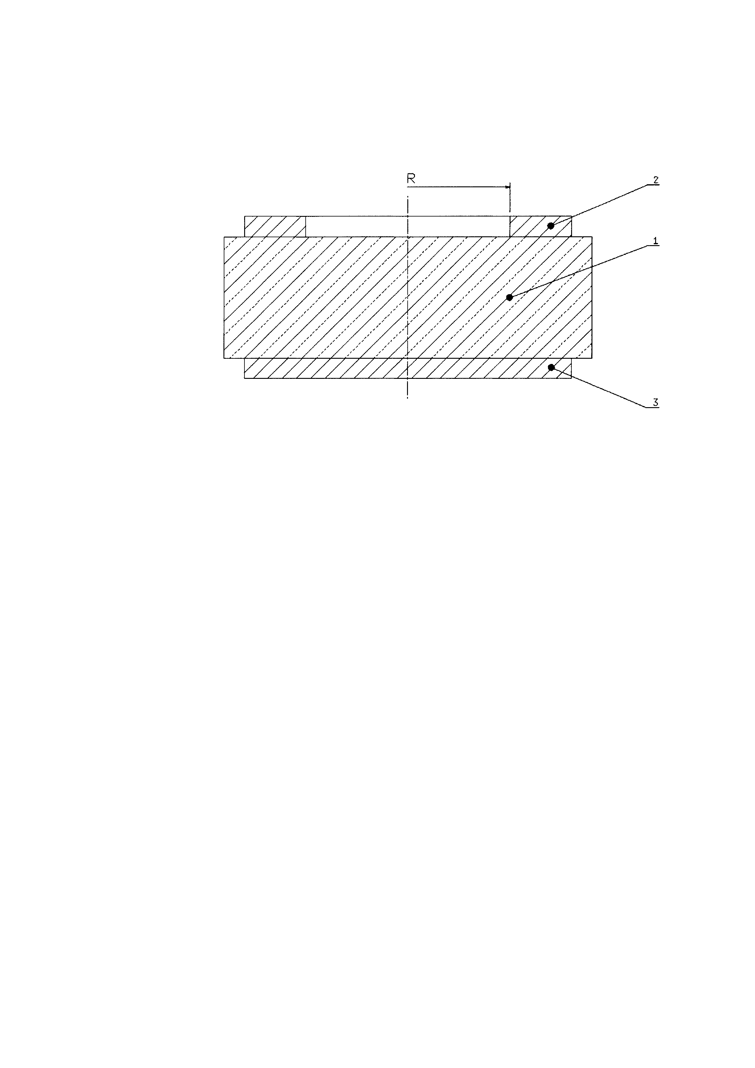
Технический результат достигается тем, что изменяется лицевой контакт чувствительного элемента алмазного детектора. Чувствительный элемент выполняется с отверстием радиуса R в лицевом сплошном контакте. Для предлагаемого чувствительного элемента были проведены расчеты электрических полей на программе ANSYS и проверено условие достаточной величины электрического поля в цилиндрической области радиуса R для обеспечения эффективного дрейфа носителей. На чертеже изображен чувствительный элемент алмазного детектора, где 1 - алмазная пластинка, 2 - сплошной контакт с отверстием радиуса R (лицевой), 3 - сплошной контакт.

[7]

В таблицах 1-4 приведены энергетические потери (кэВ) в детекторе (патент СССР №451972) в зависимости от энергии падающих частиц H, D, T, He при толщине контакта 35 нм. В детекторе с предлагаемой конструкцией чувствительного элемента потери отсутствуют, так как сплошной контакт выполнен с отверстием радиуса R, что позволяет избежать энергетических потерь регистрируемых частиц в материале контакта, ввиду его отсутствия в отверстии радиуса R.

[8]

Из представленных данных следует, что описанная форма лицевого контакта обеспечивает отсутствие энергетических потерь регистрируемых частиц в области низких энергий.

Как компенсировать расходы
на инновационную разработку
Похожие патенты