Изобретение относится к области испытательной техники и может быть использовано для измерения удельного электрического сопротивления металлических образцов в процессе растяжения при механических испытаниях. При растяжении образца расстояниемежду его произвольными точками 1 и 2 увеличивается, а поперечное сечение S - уменьшается. Оба эффекта приводят к увеличению электрического сопротивления между точками 1 и 2, существенно большему, чем изменение р. Это не позволяет определить его величину по результатам измерения напряжения Uмежду точками 1 и 2 при заданной величине тока без учета изменения геометрии образца при его деформации. Сложность задачи заключается в малых измененияхS и ρ, составляющих доли процента. Согласно изобретению изменениеи S в процессе растяжения компенсируется сближением точек 1 и 2 измерения электрического напряжения U. Для этого выполняют потенциальные электроды 1 и 2 с возможностью перемещения вдоль оси образца 4 при сохранении электрического контакта с ним, фиксируют перед растяжением образца 4 потенциальный электрод 1 на заданном расстоянии относительно поперечной плоскости образца 4, проходящей через исходную точку установки потенциального электрода 2, а потенциальный электрод 2 - относительно поперечной плоскости образца 4, проходящей через исходную точку установки потенциального электрода 1, определяют относительную деформацию ε образца и по регистрируемому напряжению Un, с учетом известных значений тока I, поперечного сечения S=Sидо растяжения, определяют искомую величину удельного электрического сопротивления металлического образца по формулеДля определения величины ε используют потенциальный электрод 3, зафиксированный в поперечной плоскости начальной установки потенциального электрода 1 и фиксации электрода 2, регистрируют в процессе растяжения образца напряжение Uмежду потенциальным электродом 3 и потенциальным электродом 1 и определяют соответствующую относительную деформацию по формулеТехническим результатом при реализации заявленного решения выступает повышение точности измерений за счет исключения операций, связанных с определением геометрических размеров образца, изменяющихся в процессе его растяжений. 1 з.п. ф-лы, 2 ил.
1. Способ измерения удельного электрического сопротивления металлического образца в процессе его испытаний на растяжение, заключающийся в том, что измеряют геометрические размеры образца до растяжения, электрически соединяют токовые провода от источника стабильного постоянного тока с образцом в зонах, расположенных вблизи головок, предназначенных для захвата зажимами испытательной машины, устанавливают на образце два потенциальных электрода, размещенных на известном расстоянии 2. Способ измерения удельного электрического сопротивления металлического образца в процессе его испытаний на растяжение по п. 1, отличающийся тем, что для определения величины ε используют третий потенциальный электрод, зафиксированный в поперечной плоскости начальной установки одного из потенциальных электродов и фиксации другого, регистрируют в процессе растяжения образца напряжение U3 между третьим потенциальным электродом и потенциальным электродом, находившимся в одной с ним плоскости до начала растяжения, и определяют соответствующую относительную деформацию по формуле
друг от друга в точках, размещенных между зонами соединения образца с токовыми проводами, фиксируют головки образца в зажимах испытательной машины, растягивают образец, одновременно пропускают по нему ток I от источника стабильного постоянного тока, регистрируют напряжение U12 между первым и вторым потенциальными электродами и выполняют операции для коррекции влияния изменения в процессе растяжения образца его поперечного сечения S и расстояния
между потенциальными электродами на результат измерения, отличающийся тем, что при измерениях на образце с постоянным начальным поперечным сечением S0 вдоль всей его рабочей части потенциальные электроды размещают в зоне с равномерным распределением плотности тока по поперечному сечению образца, а коррекцию осуществляют следующим образом: выполняют потенциальные электроды с возможностью перемещения вдоль оси образца при сохранении электрического контакта с ним, фиксируют перед растяжением образца первый потенциальный электрод на заданном расстоянии относительно поперечной плоскости образца, проходящей через исходную точку установки второго потенциального электрода, а второй потенциальный электрод - относительно поперечной плоскости образца, проходящей через исходную точку установки первого потенциального электрода, определяют относительную деформацию
образца и по регистрируемому напряжению U12, с учетом известных значений тока I, поперечного сечения S=S0 и
до растяжения, определяют искомую величину удельного электрического сопротивления металлического образца по формуле

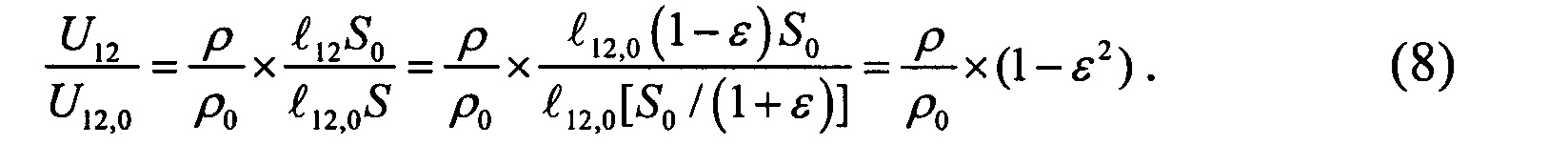
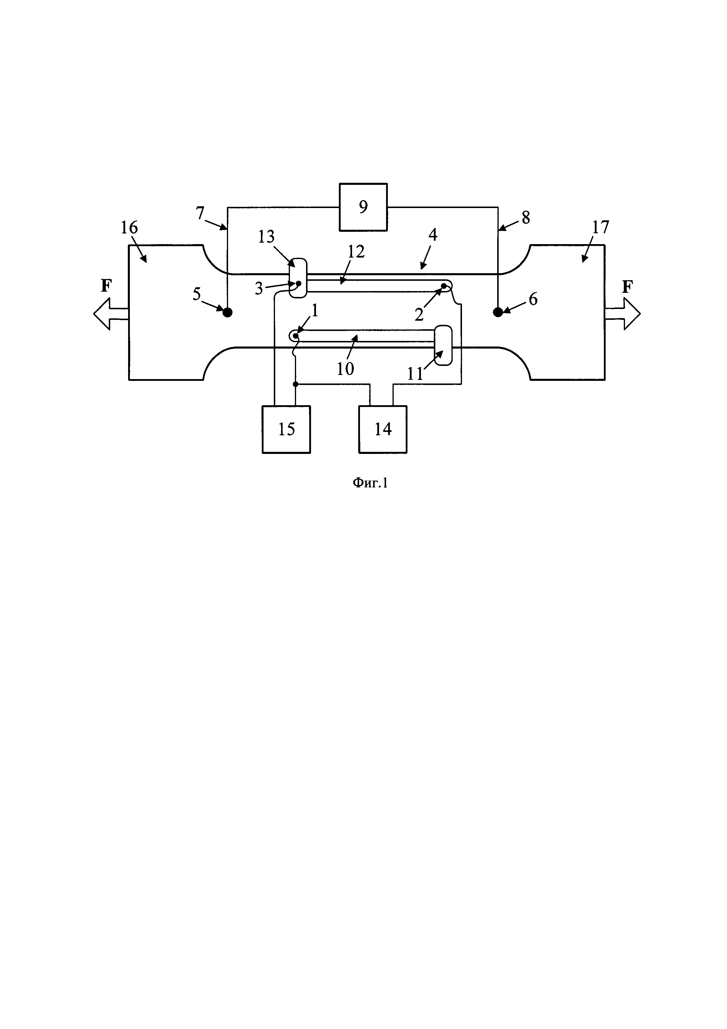
Изобретение относится к области испытательной техники и может быть использовано для измерения удельного электрического сопротивления металлических образцов в процессе растяжения при механических испытаниях. Взаимосвязь между степенью деформации металла и соответствующим изменением его удельного электрического сопротивления важна для оценки технического состояния соответствующих конструкций в процессе эксплуатации и позволяет определить степень повреждения металла по изменению его удельного электрического сопротивления. Известен способ измерения удельного электрического сопротивления линейно протяженных металлических образцов с постоянным поперечным сечением, например, проволок заключающийся в том, что измеряют величину S поперечного сечения, пропускают постоянный электрический ток вдоль образца, устанавливают потенциальные электроды на поверхности образца в точках 1 и 2, на фиксированном расстоянии Недостаток известного способа состоит в невозможности его применения для измерения удельного электрического сопротивления ρ образцов в процессе их механических испытаний на растяжение. Это связано с тем, что при растяжении образца расстояние между его произвольными точками 1 и 2 увеличивается, а поперечное сечение S - уменьшается. Оба эффекта приводят к увеличению электрического сопротивления R12 между точками 1 и 2, существенно большему, чем изменение ρ, что не позволяет определить его величину по результатам измерения. Проблема определения ρ с учетом изменения геометрии образца осложняется весьма малыми изменениями, как геометрических параметров образца, так и его удельного электрического сопротивления ρ в диапазоне, представляющем наибольший практический интерес, а именно, при удлинении, приводящем к началу пластической деформации металла. При этом изменение относительного удлинения образца Наиболее близок к предложенному, принятый за прототип, способ измерения удельного электрического сопротивления линейно протяженного плоского металлического образца в процессе механических испытаний на растяжение, заключающийся в том, что предварительно на поверхности образца рисуют сетку из прямоугольных элементов, закрепляют на поверхности образца в зонах, близких к участкам, предназначенным для захвата зажимами испытательной машины, токовые провода, подключенные к источнику стабильного постоянного тока и закрепляют на поверхности образца между точками ввода тока два потенциальных электрода, подключенных к измерителю напряжения. Затем испытуемый образец закрепляют в зажимах испытательной машины и растягивают. В процессе растяжения по образцу непрерывно пропускают ток заданной величины, периодически изменяют напряжение U12 между потенциальными электродами и регистрируют соответствующее ему изображение поверхности образца с помощью цифровой камеры высокого разрешения. Затем используют полученные изображения для коррекции изменения регистрируемого сигнала за счет изменения геометрических размеров образца и вычисляют изменение удельного электрического сопротивления металла образца за счет его растяжения [Zhang S.J., Xia Q.X, Li W. and Zhou X. Ductile damage measurement and necking analysis of metal sheets based on digital image correlation and direct current potential drop methods. - International Journal of Damage Mechanics 2014, Vol. 23(8). - 1133-1149.]. При коррекции изменение толщины выделенных прямоугольных элементов образца принимают обратно пропорциональным изменению их длины, исходя из неизменности объема деформируемого металла. Недостаток известного способа заключается в сложности его реализации, требующей большого количества прецизионных измерений геометрических размеров выделенных элементов (10 измерений в секунду) и последующих вычислений с операциями, включающими определение разности близких чисел. Выполнение подобных операций может стать источником погрешности, сопоставимой с искомой величиной. Технический результат настоящего изобретения заключается в уменьшении трудоемкости и погрешности измерений, за счет исключения операций, связанных с определением геометрических размеров образца, изменяющихся в процессе его растяжении. Указанный технический результат в способе измерения изменения удельного электрического сопротивления металлического образца при его испытаниях на растяжение, заключающемся в том, что измеряют геометрические размеры образца до растяжения, электрически соединяют токовые провода от источника стабильного постоянного тока с образцом в зонах, расположенных вблизи головок, предназначенных для захвата зажимами испытательной машины, устанавливают на образце два потенциальных электрода в точках, размещенных на известном расстоянии На фиг. 1 показана одна из возможных схем измерения для реализации заявляемого способа. На фиг. 2 схематично показан вид с боку на испытуемый образец с положением вдоль его оси потенциальных электродов и точек фиксации зажимов. Схема для измерения удельного электрического сопротивления металлического образца в процессе его испытаний на растяжение содержит потенциальные электроды 1, 2 и 3, установленные на плоском металлическом образце 4 между точками 5 и 6, к которым подключены токовые провода 7 и 8, соединенные с выходом источника 9 стабильного постоянного тока. Потенциальный электрод 1 выполнен с возможностью перемещения вдоль оси образца 4 при сохранении электрического контакта с ним и фиксирован с помощью тяги 10 и зажима 11 на заданном расстоянии относительно поперечной плоскости образца 4, проходящей через исходную точку установки потенциального электрода 2. Аналогично, потенциальный электрод 2 выполнен с возможностью перемещения вдоль оси образца 4 при сохранении электрического контакта с ним и фиксирован с помощью тяги 12 и зажима 13 на заданном расстоянии относительно поперечной плоскости образца 4, проходящей через исходную точку установки потенциального электрода 1. Обеспечение электрического контакта между образцом 4 и электродами 1, 2 достигается благодаря тому, что тяги 10 и 12 выполнены пружинящими и прижимают соответствующий электрод 1 или 2 к поверхности образца 4. Потенциальный электрод 3 зафиксирован в поперечной плоскости начальной установки потенциального электрода 1 и фиксации потенциального электрода 2, путем совмещения с зажимом 11. Потенциальные электроды 1, 2 подключены к входу измерителя 14 напряжения, а потенциальные электроды 1, 3 - к входу измерителя 15 напряжения. Зажимы 11 и 13 рекомендуется выполнять в виде скоб из диэлектрического материала с фиксирующими винтами с обеих сторон. Расстояния вдоль продольной оси образца 4 от точки фиксации зажима 11 до механически соединенного с ним электрода 1 и, соответственно, от точки фиксации зажима 11 до механически соединенного с ним электрода 1 равны Точки 5 и 6 ввода тока расположены вблизи головок 16 и 17 образца, соответственно. Расстояние между точками 5 и 6 до ближайших к ним потенциальных электродов 1, 3 и 2, соответственно, выбирается не менее ширины В0 образца. При этом условии ток распределяется равномерно по сечению S0 образца в зоне установки потенциальных электродов 1, 2, 3 и между ними. При равномерном распределении плотности тока электрический потенциал V постоянен в любой точке поперечного сечения образца. Заявляемый способ реализуется следующим образом. Головки 16 и 17 образца 4 закрепляют в зажимах испытательной машины (не показана). При наличии электрического соединения между зажимами испытательной машины рекомендуется электрически изолировать головки 16 и 17 образца 4 относительно зажимов, например, с помощью диэлектрических пластин, наклеиваемых на поверхность, по меньшей мере, одной из головок образца 4 с обеих сторон. Это необходимо для исключения влияния шунтирующего влияния цепи, создаваемой испытательной машиной при соединении образца 4 с ее зажимами. Перед растяжением образца 4 измеряют его поперечное сечение S0, пропускают по нему стабильный постоянный ток заданной величины I и регистрируют с помощью измерителей 14 и 15 напряжения U12 и U3 между электродами 1,2 и 1,3 - соответственно. При размещении электродов 1 и 3 строго в одной плоскости, перпендикулярной к оси образца 4, должно выполняться условие U3 = 0. При отклонении U3 от нулевого значения рекомендуется путем малых осевых перемещений зажима 11 добиться нуля. Это обеспечит размещение электродов 1 и 3 строго в одной плоскости. В процессе растяжения образца 4 расстояния вдоль его оси между потенциальными электродами 1-3, а также между точками фиксации зажимов 11 и 13 непрерывно изменяются. На фиг. 2 положение потенциальных электродов до растяжения показано позициями 1, 2 и 3, а в процессе растяжения - позициями 1', 2' и 3'. Положение точек фиксации зажимов до растяжения показано позициями 11 и 13, а в процессе растяжения - позициями 11' и 13'. Механические связи между электродом 1 в позиции 1' и точкой фиксации в позиции 13', а также между электродом 2 в позиции 2' и точкой фиксации в позиции 11' показаны на фиг. 2 двойной пунктирной линией. Поскольку значения I, Тогда В процессе растяжения образца 4 происходит смещение электрода 1, относительно электрода 2, и электрода 3 относительно электрода 1. Напряжение U12 между электродами в позициях 1' и 2' примет значение где ρ и S - соответствующие значения удельного электрического сопротивления и поперечного сечения образца при изменении его длины. Напряжение U3 между электродами 1 и 3 в позициях 1' и 3' примет значение Заметим, что относительная деформация 8 образца 4 связана с изменением длины между электродами 1 и 3 соотношением Это позволяет записать: При растяжении образца в пределах, представляющих интерес для технической диагностики, объем металла образца остается практически постоянным, т.е. можно считать, что Тогда, с учетом (6) Покажем, что по измеренным значениям U12 и U3 и ранее полученной величины начального удельного электрического сопротивления ρ0 можно вычислить величину ρ и соответствующую ему относительную деформацию ε образца 4. Поделив (3) на (1), с учетом (6) и (7), получим Следовательно, Отметим, что с приемлемой для практики погрешностью при малых относительных деформациях можно вычислить величину ρ, регистрируя только напряжение между электродами 1 и 2, т.е. Так, например, при ε < 0,01 методическая погрешность при использовании формулы (10) составит не более 0,01%. Однако при близком к предельной величине значении ε = 0,1 погрешность возрастает до 1%. Так как изменения удельного электрического сопротивления в процессе растяжения составляют менее процента, такая погрешность здесь недопустима. Для определения величины е можно воспользоваться дополнительными средствами измерения, позволяющими измерить деформацию образца, например, экстензометрами. Однако проще и с достаточной точностью это можно сделать, используя измеренную величину U3. Действительно, разделив (4) на (3), получим или Отсюда следует, что или После несложных преобразований, получим Следовательно, Или, окончательно, Уравнения (2), (9) и (17) определяют с учетом известных значений I, S0, В явном виде через известные исходные данные и полученные напряжения U12, U3 величина ρ, с для соответствующей величины ε, определяемой уравнением (17) определяется, как Технические преимущества предлагаемого способа измерения удельного электрического сопротивления металлического образца в процессе его испытаний на растяжение заключаются в уменьшении трудоемкости и повышении точности измерений. Это достигается за счет исключения необходимости дискретизации поверхности образца и регистрации при его растяжении текущих размеров выделенных элементов для коррекции влияния изменения геометрических размеров образца на величину электрического сопротивления между потенциальными электродами. Погрешность измерений при использовании известного способа определяется как погрешностью определения геометрических размеров образца в процессе деформации, так и погрешностью соответствующих математических операций, включающей погрешность дискретизации и округления. Еще одно преимущество заявляемого способа состоит в возможности измерения по регистрируемым значениям электрических напряжений не только изменения удельного электрического сопротивления металла, но и определения относительной деформации на измеряемом участке. Это позволяет не только исключить погрешность, связанную с неравномерной деформацией образца по его длине, но и обеспечить полную автоматизацию измерений. Возможность автоматизации важна при длительных испытаниях, а также в системах мониторинга.
друг от друга вдоль продольной оси образца, измеряют напряжение U12, равное разности потенциалов V1 - V2 между точками 1 и 2, определяют величину электрического сопротивления
и по нему вычисляют удельное электрическое сопротивление ρ образца, как
[Резистометрическое исследование сплавов на медно-никелевой основе /В.Р. Бараз, А.Ю. Волков, В.А. Стрижак, С.С. Герасимов, М.Ф. Клюкина, О.С. Новикова // Материаловедение. - 2012. - №6. - С. 29-33.].
где
- удлинение образца, а
- его начальная длина, составляет менее 1%, а изменение ρ - не более 0,1%.
друг от друга между зонами соединения образца с токовыми проводами, фиксируют головки образца в зажимах испытательной машины, растягивают образец, одновременно пропускают по нему ток I от источника стабильного постоянного тока, регистрируют напряжение U12 между первым и вторым потенциальными электродами и выполняют операции для коррекции влияния изменения в процессе растяжения образца его поперечного сечения S и расстояния
между потенциальными электродами на результат измерения, достигается благодаря тому, что при измерениях на образце с постоянным начальным поперечным сечением S0 вдоль всей его рабочей части потенциальные электроды размещают в зоне с равномерным распределением плотности тока по поперечному сечению образца, а коррекцию осуществляют следующим образом: выполняют потенциальные электроды с возможностью перемещения вдоль оси образца при сохранении электрического контакта с ним, фиксируют перед растяжением образца на заданном расстоянии первый потенциальный электрод относительно поперечной плоскости образца, проходящей через исходную точку установки второго потенциального электрода, а второй потенциальный электрод - относительно поперечной плоскости образца, проходящей через исходную точку установки первого потенциального электрода, определяют относительную деформацию
образца и по регистрируемому напряжению U12, с учетом известных значений тока I, поперечного сечения S=S0 и
до растяжения, определяют искомую величину удельного электрического сопротивления металлического образца по формуле:
Дополнительно, указанный технический результат достигается благодаря тому, что для определения величины ε используют третий потенциальный электрод, зафиксированный в поперечной плоскости начальной установки одного из потенциальных электродов и фиксации другого, регистрируют в процессе растяжения образца напряжение U3 между третьим потенциальным электродом и потенциальным электродом, находившимся в одной с ним плоскости до начала растяжения, и определяют соответствующую относительную деформацию по формуле: 
До растяжения образца 4 его поперечное сечение, определяемое начальной толщиной Т0 образца и его шириной В0 имеет величину S0 = В0×Т0, расстояние вдоль оси образца 4 между потенциальными электродами 1 и 2 равно
а электроды 1 и 3 размещены в общей плоскости, перпендикулярной продольной оси образца 4.
и S0 в исходном состоянии известны по измеренной с помощью измерителя 14 величине U12,0 можно вычислить начальное значение удельного электрического сопротивления ρ0 образца 4. Напряжение U12,0 между электродами 1 и 2 в исходных позициях равно

















взаимосвязь между регистрируемыми напряжениями U12, U3 с искомыми величинами - относительной деформацией ε образца при растяжении и соответствующему ему удельному электрическому сопротивлению ρ.