патент
№ RU 2694507
МПК F16K5/04

РЕГУЛЯТОР РАСХОДА ГОРЯЧЕГО ГАЗА

Авторы:
Чекушин Александр Дмитриевич Тумановская Валентина Павловна Домнин Кирилл Геннадьевич
Все (4)
Номер заявки
2019101858
Дата подачи заявки
24.01.2019
Опубликовано
16.07.2019
Страна
RU
Как управлять
интеллектуальной собственностью
Чертежи 
2
Реферат

Изобретение относится к области машиностроения, в частности к регуляторам расхода горячего газа для регулирования расхода рабочей среды, имеющей высокую температуру и давление, предназначенным для управления вектором тяги летательных аппаратов. Регулятор расхода горячего газа содержит теплоизолированный корпус с входным и двумя выходными патрубками, в которые установлены основное и дополнительное седла с расходными отверстиями, на седлах с обеих сторон от их расходных отверстий выполнены ребра, контактирующие с основной и дополнительной заслонками по взаимообращенным цилиндрическим поверхностям, заслонки через основную и дополнительную карданные муфты соединены с валом, соосным с цилиндрическими поверхностями заслонок и ребер седел, на обеих заслонках со стороны, ближайшей к валу, выполнены опорные приливы, обе карданные муфты снабжены штифтами, расположенными во взаимно перпендикулярных плоскостях и установленными по посадке в пазах, выполненных в валу и заслонках, при этом пазы имеют глухие торцы, а заслонки установлены с осевым люфтом и в них выполнены расходные отверстия, между глухими торцами пазов дополнительной заслонки и штифтом дополнительной карданной муфты расположен упругий элемент из сгораемого материала, толщина которого в осевом направлении больше суммарного осевого люфта заслонок, причем кромки расходных отверстий каждой из заслонок, ближайшие друг к другу, и торцы дополнительной карданной муфты не перекрывают кромки расходных отверстий также ближайших друг к другу седел. Технический результат изобретения направлен на повышение надежности работы регулятора расхода горячего газа, снижение массы и габаритов изделия. 4 з.п. ф-лы, 3 ил.

Формула изобретения

1. Регулятор расхода горячего газа, содержащий теплоизолированный корпус с входным и двумя выходными патрубками, в которые установлены основное и дополнительное седла с расходными отверстиями, на седлах с обеих сторон от их расходных отверстий выполнены ребра, в которых выполнены цилиндрические отверстия, контактирующие с основной и дополнительной заслонками по взаимообращенным цилиндрическим поверхностям, заслонки через основную и дополнительную карданные муфты соединены с валом, соосным с цилиндрическими поверхностями заслонок и седел, на обеих заслонках со стороны, обращенной к валу, выполнены опорные приливы, при этом диаметр опорного прилива на основной заслонке превышает диаметр цилиндрического отверстия ребер основного седла, а диаметр опорного прилива на дополнительной заслонке меньше диаметра цилиндрического отверстия ребер основного седла и больше диаметра цилиндрического отверстия ребер дополнительного седла, обе карданные муфты снабжены штифтами, расположенными во взаимно перпендикулярных плоскостях и установленными по посадке в пазах, выполненных в валу и заслонках, при этом пазы имеют глухие торцы, а заслонки установлены с осевым люфтом и в них выполнены расходные отверстия, ширина которых в осевой плоскости превышает ширину расходных отверстий седел, отличающийся тем, что между глухими торцами пазов дополнительной заслонки и штифтом дополнительной карданной муфты расположен упругий элемент из сгораемого материала, толщина которого в осевом направлении больше суммарного осевого люфта заслонок, причем кромки расходных отверстий каждой из заслонок, ближайшие друг к другу, и торцы дополнительной карданной муфты не перекрывают кромки расходных отверстий также ближайших друг к другу седел, а обе заслонки с торцов, обращенных друг к другу, выполнены с глухими отверстиями, соосными с осью вала и минимальная глубина которых превышает минимальное расстояние от кромок расходных отверстий заслонок, наиболее удаленных от дополнительной карданной муфты.

2. Регулятор расхода горячего газа по п. 1, отличающийся тем, что упругий элемент из сгораемого материала, толщина которого больше суммарного осевого люфта заслонок, установлен между глухими торцами пазов основной заслонки и штифтом дополнительной карданной муфты.

3. Регулятор расхода горячего газа по пп. 1, 2, отличающийся тем, что упругий элемент выполнен эквидистантно профилю зазора между штифтом и глухим торцом паза.

4. Регулятор расхода горячего газа по пп. 1, 2, отличающийся тем, что упругий элемент выполнен из резины.

5. Регулятор расхода горячего газа по пп. 1, 2, 3, отличающийся тем, что упругий элемент из сгораемого материала установлен на клеевом составе, при этом клеевой состав расположен между упругим элементом и штифтами дополнительной карданной муфты.

Описание

[1]

Изобретение относится к области машиностроения, в частности к регуляторам расхода горячего газа для регулирования расхода рабочей среды, имеющей высокую температуру и давление, и предназначенным для управления вектором тяги летательных аппаратов.

[2]

Известна конструкция регулятора расхода горячего газа, содержащая теплоизолированный корпус с входным и выходными основным и дополнительным патрубками, в выходные патрубки которых соответственно установлены седла с расходными отверстиями, контактирующие с соответствующими заслонками по взаимообращенным цилиндрическим поверхностям, основная заслонка кинематически соединена с валом, связанным с приводом, взаимообращенные цилиндрические поверхности основных заслонки и седла соосны с валом, дополнительная заслонка кинематически связана с основной заслонкой со стороны, противоположной стороне связи основной заслонки с валом, и взаимообращенные цилиндрические поверхности дополнительных заслонки и седла соосны с валом, причем на дополнительной заслонке со стороны основной заслонки выполнен прилив, диаметр которого меньше диаметра цилиндрического отверстия основного седла и больше диаметра цилиндрического отверстия дополнительного седла (Патент РФ №2669885, F16K 5/04, 2018 г.).

[3]

Недостаток такой конструкции заключается в том, что заслонки свободно перемещаются в осевом направлении относительно седел, что может привести к соударению заслонок, седел, карданных муфт и вала, которые обычно изготавливаются из жаропрочных сплавов, обладающих при комнатной температуре повышенной хрупкостью, а это при транспортировке и до начала работы может приводить к разрушению этих узлов и деталей.

[4]

Задачей изобретения является повышение надежности работы регулятора расхода горячего газа за счет исключения возможности разрушения узлов и деталей во время транспортировки и до начала их работы.

[5]

Указанная задача решается тем, что в регуляторе расхода горячего газа, содержащим теплоизолированный корпус с входным и двумя выходными патрубками, в которые установлены основное и дополнительное седла с расходными отверстиями, на седлах с обеих сторон от их расходных отверстий выполнены ребра, контактирующие с основной и дополнительной заслонками по взаимообращенным цилиндрическим поверхностям, заслонки через основную и дополнительную карданные муфты соединены с валом, соосным с цилиндрическими поверхностями заслонок и седел, при этом на обеих заслонках со стороны, обращенной к валу, выполнены опорные приливы, диаметр опорного прилива на основной заслонке превышает диаметр цилиндрического отверстия ребер основного седла, диаметр опорного прилива на дополнительной заслонке меньше диаметра цилиндрического отверстия ребер основного седла и больше диаметра цилиндрического отверстия ребер дополнительного седла, обе карданные муфты снабжены штифтами, расположенными во взаимно перпендикулярных плоскостях и установленными по посадке в пазах, выполненных в валу и заслонках, при этом пазы имеют глухие торцы, а заслонки установлены с осевым люфтом и в них выполнены расходные отверстия, ширина которых в осевой плоскости превышает ширину расходных отверстий седел, между глухими торцами пазов дополнительной заслонки и штифтом дополнительной карданной муфты расположен упругий элемент из сгораемого материала, толщина которого в осевом направлении больше суммарного осевого люфта заслонок, причем кромки расходных отверстий каждой из заслонок, ближайшие друг к другу, и торцы дополнительной карданной муфты не перекрывают кромки расходных отверстий, также ближайших друг к другу, седел, а обе заслонки с торцов, обращенных друг к другу, выполнены с глухими отверстиями, соосными с осью вала и минимальная глубина которых превышает минимальное расстояние от кромок расходных отверстий заслонок, наиболее удаленных от дополнительной карданной муфты.

[6]

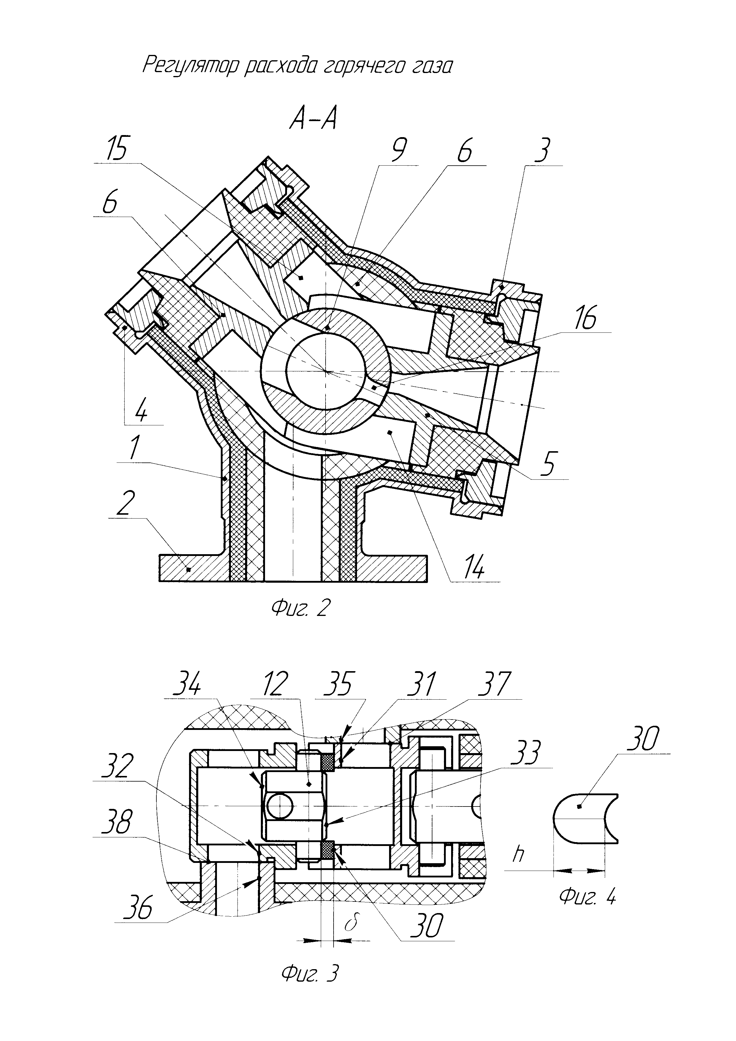
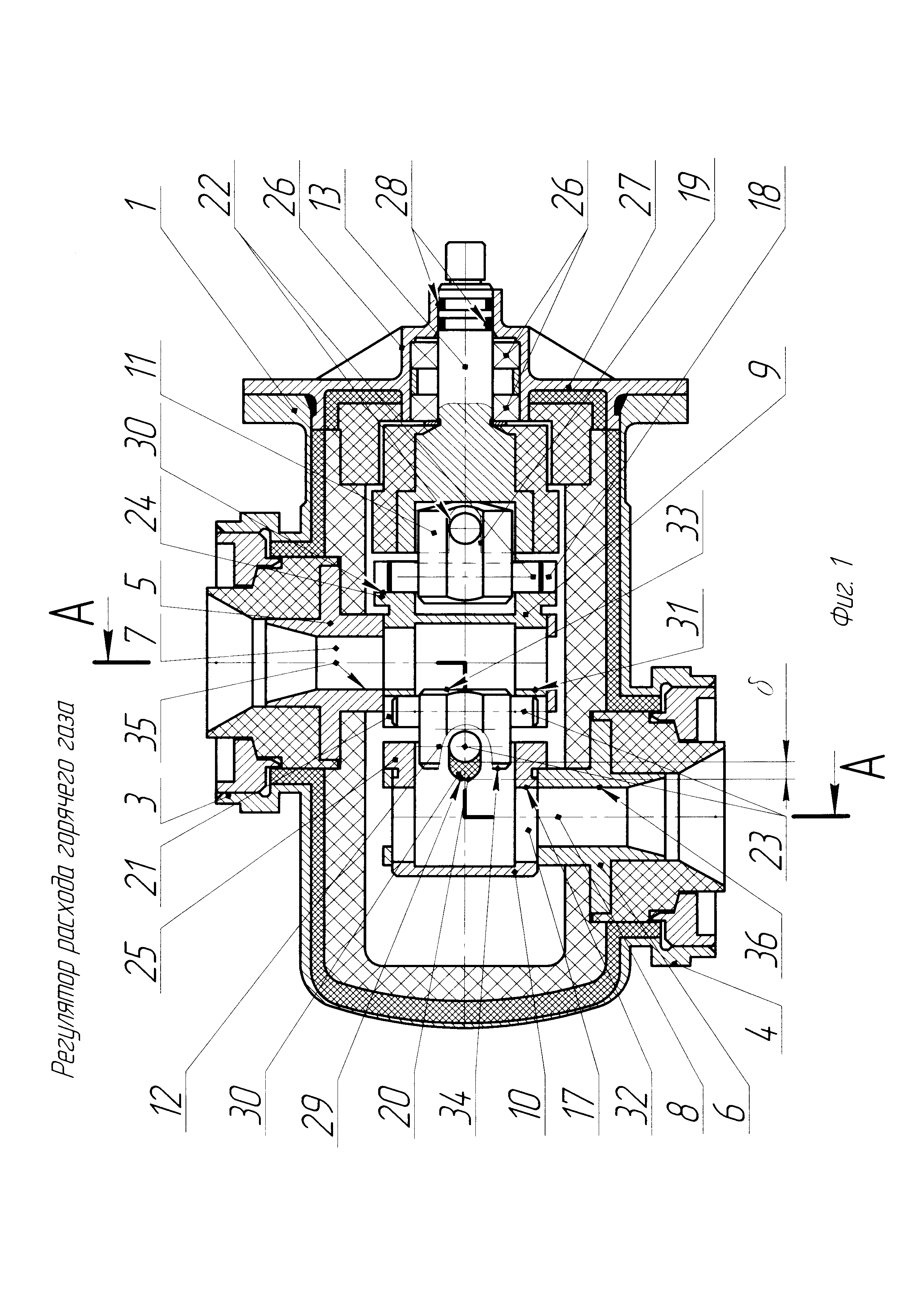
На фиг. 1 изображен общий вид регулятора расхода горячего газа.

[7]

На фиг. 2. изображено сечение регулятора по основному патрубку.

[8]

На фиг. 3 изображен вариант установки упругого элемента.

[9]

На фиг. 4 изображена форма упругого элемента.

[10]

Регулятор расхода горячего газа (фиг. 1, 2) состоит из теплоизолированного корпуса 1 с входным 2, основным выходным 3 и дополнительным выходным 4 патрубками. В выходные патрубки 3 и 4 установлены седла: основное 5 и дополнительное 6 с расходными отверстиями 7 и 8 соответственно. С седлами 5 и 6 контактируют заслонки: основная 9 и дополнительная 10, которые через карданные муфты: основную 11 и дополнительную 12 соединены с валом 13. Заслонки 9, 10 и седла 5, 6 контактируют по взаимообращенным цилиндрическим поверхностям. Для этого на седлах 5, 6 выполнены ребра 14 и 15. Ребра 14 и 15 выполнены в виде двух пластин, расположенных с обеих сторон от расходных отверстий 7 и 8 седел 5 и 6, в которых имеются цилиндрические отверстия. В основной 9 и дополнительной 10 заслонках выполнены расходные отверстия 16 и 17 соответственно. Цилиндрические взаимообращенные поверхности заслонок 9, 10 и седел 5, 6 соосны с валом 13. Для соединения заслонок 9, 10 с валом 13 через карданные муфты 11, 12 на заслонках 9, 10 и валу 13 выполнены пазы 18, 19, 20 и 2, в которые заходят штифты 22 и 23 карданных муфт 11 и 12. На основной заслонке 9 пазы 18 и 21 выполнены с обеих сторон. Заслонки 9 и 10 со стороны, ближайшей к валу 13, снабжены опорными приливами 24 и 25, диаметр которых превышает диаметр цилиндрической поверхности ребер 14 и 15 седел 5 и 6 соответственно. Величина диаметра опорного прилива 25 дополнительной заслонки 10 меньше величины диаметра цилиндрической поверхности ребер 14 основного седла 5 и больше величины диаметра цилиндрического отверстия ребер 15 дополнительного седла 6. Максимальная длина штифтов 23 дополнительной карданной муфты 12 меньше диаметра цилиндрического отверстия ребер 14 основного седла 5. Вал 13 через подшипники 26 установлен в крышку 27 и загерметизирован уплотнениями 28. Пазы 18, 19, 20 и 21 имеют глухие торцы 29. Ширина расходных отверстий 16 и 17 в осевой плоскости превышает ширину расходных отверстий седел на величину суммарного осевого люфта заслонок 9 и 10. Между глухими торцами 29 паза 20 дополнительной заслонки 10 и штифтом 23 дополнительной карданной муфты 12 расположен упругий элемент 30 из быстро сгораемого материала, толщина которого «h» в осевом направлении больше суммарного осевого люфта «5» заслонок (фиг. 1, 3, 4). Кромки 31 и 32 расходных отверстий 16 и 17 каждой из заслонок 9 и 10, ближайшие друг к другу, и торцы 33 и 34 дополнительной карданной муфты 12 не перекрывают кромки 35 и 36, ближайшие друг к другу расходных отверстий 7 и 8 седел 5 и 6. Упругие элементы обычно изготавливаются из резины. Обе заслонки 9 и 10 с торцов, обращенных друг к другу, выполнены с глухими отверстиями, соосными с осью вала 13 и минимальная глубина которых превышает минимальное расстояние от кромок 37 и 38 расходных отверстий 16 и 17 заслонок 9 и 10, наиболее удаленных от дополнительной карданной муфты 12 (фиг. 3).

[11]

На фиг. 3 изображен вариант установки упругого элемента 30. Упругий элемент 30 из сгораемого материала, толщина которого больше суммарного осевого люфта заслонок 9 и 10, установлен между глухими торцами пазов 21 основной заслонки 9 и штифтом 23 дополнительной карданной муфты 12. Упругий элемент 30 (фиг. 1, 4) может быть выполнен эквидистантно профилю зазора между штифтом 23 и глухим торцом 29 паза 20.Упругий элемент 30 из сгораемого материала может быть установлен на клеевом составе, при этом клеевой состав расположен между упругим элементом 30 и штифтом 23 дополнительной карданной муфты 12.

[12]

Установка упругого элемента 30 на клеевом составе исключает их выпадение при транспортировке за счет прочного скрепления со штифтами 23 дополнительной карданной муфты 12.

[13]

В отсутствие упругих элементов 30 за счет перегрузок при транспортировке и до включения в работу заслонки 9 и 10 и карданные муфты 11 и 12 могут соударяться друг о друга и о седла 5 и 6, что может привести к их разрушению, т.к. они выполнены из жаропрочных сплавов, которые обладают повышенной хрупкостью при комнатной температуре. При работе регулятора в парах «заслонка-седло» возникает шарнирный момент, усилие для преодоления которого передается от привода через карданы. Сила трения, возникающая между штифтами карданов и пазами заслонок, исключает их взаимное перемещение под действием вибраций и перегрузок после выгорания упругого элемента, обеспечивая их целостность при работе.

[14]

Установка заслонок 9 и 10 с вполне определенном взаимном расположении их кромок 31 и 32 расходных отверстий 7 и 8 относительно кромок 35 и 36 расходных отверстий седел 5 и 6 и торцов 33 и 36 дополнительной карданной муфты 12 исключает перекрытие расходных отверстий 7 и 8 седел 5 и 6.

[15]

Выполнение обеих заслонок 9 и 10 с торцов, обращенных друг к другу, с глухими отверстиями, соосными с осью вала 13 и минимальная глубина которых превышает максимальное расстояние от кромок расходных отверстий заслонок, наиболее удаленных от дополнительной карданной муфты 12, снижает массу и габариты регулятора.

[16]

Таким образом, предложенная конструкция регулятора расхода горячего газа обеспечивает повышение надежности его работы, снижает его массу и габариты.

Как компенсировать расходы
на инновационную разработку
Похожие патенты