Изобретение может быть использовано в тепловизорах на основе охлаждаемых матричных приемников. Телеобъектив содержит по ходу луча четыре компонента. Первый - неподвижный, содержащий положительный мениск, обращенный выпуклостью к плоскости предметов, и дополнительно введенный одиночный отрицательный мениск, обращенный выпуклостью к плоскости предметов. Вторая поверхность первого мениска и первая поверхность второго мениска асферические. Второй – подвижная двояковогнутая линза, вторая поверхность которой асферическая. Третий - неподвижный положительный компонент, содержащий положительный мениск, обращенный выпуклостью к плоскости предметов, вторая поверхность которого асферическая, и дополнительно введенный отрицательный мениск, обращенный выпуклостью к плоскости предметов, первая поверхность которого выполнена асферической. Четвертый - неподвижная одиночная положительная выпукло-вогнутая линза, обращенная выпуклостью к плоскости предметов, вторая поверхность которой асферо-дифракционная. Технический результат - создание компактного инфракрасного телеообъектива с двумя полями зрения и малым коэффициентом телеукорочения при высоком качестве изображения. 8 ил., 1 табл.
Инфракрасный телеобъектив с двумя полями зрения, содержащий по ходу луча четыре компонента, первый из которых неподвижный, выполненный в виде положительного мениска, обращенного выпуклостью к плоскости предметов, второй компонент - подвижный отрицательный, выполнен из двояковогнутой линзы и расположен между первым и третьим компонентами, третий - неподвижный положительный компонент, содержащий положительную линзу, вторая поверхность которой асферическая, и четвертый - неподвижный положительный компонент, включающий одиночную положительную выпукло-вогнутую линзу, обращенную выпуклостью к плоскости предметов, отличающийся тем, что в первом компоненте за положительным мениском добавлена вторая одиночная линза в виде отрицательного мениска, обращенного выпуклостью к плоскости предметов, причем вторая поверхность первой линзы и первая поверхность второй линзы в первом компоненте асферические, во втором компоненте вторая поверхность также асферическая, в третьем компоненте положительная линза выполнена в виде положительного мениска, обращенного выпуклостью к плоскости предметов, и добавлена вторая - отрицательная, выполненная в виде мениска, обращенного выпуклостью к плоскости предметов, причем первая поверхность второго мениска в третьем компоненте выполнена асферической, кроме того, в четвертом компоненте, выполненном в виде одиночной линзы, вторая поверхность асферо-дифракционная.
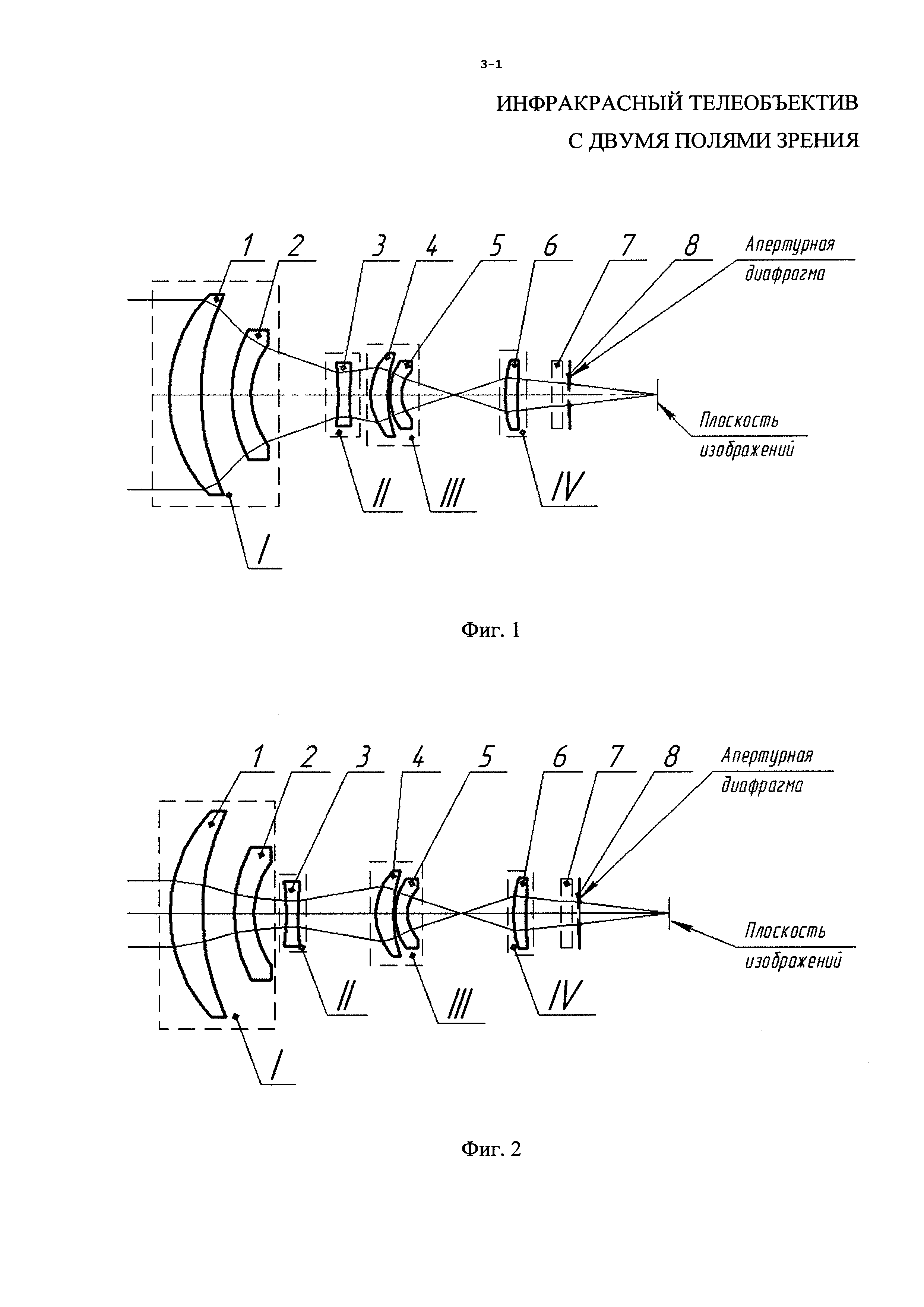
Изобретение относится к области оптического приборостроения, а именно к объективам для инфракрасной (ИК) области спектра, и может быть использовано в оптических системах тепловизоров, построенных на основе охлаждаемых матричных приемников теплового излучения. Известен инфракрасный объектив по патенту US №6424460, 2002. г., МПК G02B 13/14, где на фиг. 3 изображен объектив с двумя полями зрения и вынесенной апертурной диафрагмой, размещенной между последним компонентом объектива и плоскостью изображения. Объектив содержит расположенные по ходу лучей оптически связанные первый и последний положительные компоненты и расположенный между ними подвижный компонент, включающий отрицательную и положительную линзы, имеющий два фиксированных положения на оптической оси для смены полей зрения; при этом первый компонент выполнен в виде двух менисков, обращенных вогнутой стороной к плоскости изображений, последний компонент включает два положительных мениска, обращенных выпуклыми поверхностями друг к другу, и отрицательный мениск, обращенный вогнутой стороной к плоскости изображений. Функцию апертурной диафрагмы в процессе работы объектива в комплексе с охлаждаемым матричным приемником ИК излучения выполняет охлаждаемая диафрагма приемника. Причем, две поверхности являются асферическими, на одной из них нанесен дифракционный оптический элемент (в виде голограммы). Фокусное расстояние принимает два значения: 53 и 160 мм, т.е. обеспечивается трехкратный перепад фокусного расстояния (поля зрения). Относительное отверстие имеет величину 1:2,5. Расстояние от охлаждаемой апертурной диафрагмы до плоскости изображения составляет в конкретном примере исполнения 47 мм, что составляет 0,88 от наименьшей величины фокусного расстояния. Устройство таково, что проекция апертурной диафрагмы в пространство предметов - входной зрачок - является мнимой и не совпадает с первым компонентом объектива. Это приводит к тому, что диаметр первого компонента превышает диаметр входного зрачка для наибольшего фокусного расстояния. В примере конкретного исполнения это превышение составляет 1,6 раза. Также известен объектив для дальнего инфракрасного диапазона описанный в патенте RU №2400784 C1, МПК7 G02B 13/14, опубликованном 27.09.2010 г, содержащий десять линз, с фокусным расстоянием 210/70 мм и относительным отверстием 1:2, смена полей зрения осуществляется перемещением двух компонентов вдоль оптической оси. Но у данного объектива большое количество линз, а также наличие двух перемещаемых компонентов с величиной их перемещения для одного из компонентов более 100 мм. не позволяет использовать его в компактных объективах. Наиболее близким аналогом по технической сущности к заявляемому телеобъективу является инфракрасный объектив с двумя полями зрения описанный в патенте RU №2541420, МПК G02B 13/14, опубликованном 10.02.2015 г. Объектив состоит из расположенных вдоль оптической оси по ходу луча неподвижного первого компонента, содержащего положительную выпукло-вогнутую линзу, обращенную выпуклостью к плоскости предметов, подвижного второго компонента, содержащего отрицательную двояковогнутую линзу, неподвижного третьего компонента, содержащего положительную двояковыпуклую линзу, и четвертого неподвижного компонента, содержащего первую положительную двояковыпуклую линзу и вторую положительную выпукло-вогнутую линзу, обращенную выпуклостью к плоскости предметов. Подвижный второй компонент расположен с возможностью перемещения вдоль оптической оси между первым и третьим компонентами. Вторая поверхность положительной выпукло-вогнутой линзы неподвижного первого компонента и первая поверхность первой положительной двояковыпуклой линзы неподвижного четвертого компонента выполнены асферо-дифракционными. Вторая поверхность положительной двояковыпуклой линзы неподвижного третьего компонента и первая поверхность отрицательной двояковогнутой линзы подвижного второго компонента выполнены асферическими. Но данный объектив имеет большую длину, которая больше величины фокусного расстояния для узкого поля зрения, при этом коэффициент телеукорочения TL вычисляется по формуле: TL=L/f'max=1,07, где L - расстояние от первой поверхности до плоскости изображения, f'max - максимальное фокусное расстояние, а также технологически сложную асферо-дифракционную поверхность на линзе из кремния. Задачей, на решение которой направлено заявляемое изобретение, является создание компактного телеобъектива для средней ИК области спектра с высоким качеством изображения. Технический результат - создание компактного инфракрасного телеобъектива с двумя полями зрения, малым коэффициентом телеукорочения, при высоком качестве изображения. Это достигается тем, что в инфракрасном телеобъективе с двумя полями зрения, содержащем по ходу луча четыре компонента, первый из которых неподвижный, выполненный в виде положительного мениска, обращенного выпуклостью к плоскости предметов, второй компонент - подвижный отрицательный, выполнен из двояковогнутой линзы и расположен между первым и третьим компонентами, третий - неподвижный положительный компонент, содержащий положительную линзу, вторая поверхность которой асферическая, и четвертый - неподвижный положительный компонент, включающий одиночную положительную выпукло-вогнутую линзу, обращенную выпуклостью к плоскости предметов, в отличие от известного в первом компоненте за положительным мениском добавлена вторая одиночная линза в виде отрицательного мениска, обращенного выпуклостью к плоскости предметов, причем вторая поверхность первой линзы и первая поверхность второй линзы в первом компоненте асферические, во втором компоненте вторая поверхность также асферическая, в третьем компоненте положительная линза выполнена в виде положительного мениска, обращенного выпуклостью к плоскости предметов, и добавлена вторая - отрицательная, выполненная в виде мениска, обращенного выпуклостью к плоскости предметов, причем первая поверхность второго мениска в третьем компоненте выполнена асферической, кроме того, в четвертом компоненте, выполненном в виде одиночной линзы, вторая поверхность асферо-дифракционная. Предложенное изобретение иллюстрируется следующими графическими материалами: - фиг. 1 - оптическая схема инфракрасного телеобъектива с двумя полями зрения с узким полем зрения; - фиг. 2 - оптическая схема инфракрасного телеобъектива с двумя полями зрения с широким полем зрения; - фиг. 3 - частотно-контрастная характеристика (ЧКХ) инфракрасного телеобъектива в узком поле зрения; - фиг. 4 - ЧКХ инфракрасного телеобъектива в широком поле зрения; - фиг. 5 - функция концентрации энергии (ФКЭ) инфракрасного телеобъектива в узком поле зрения; - фиг. 6 - ФКЭ инфракрасного телеобъектива в широком поле зрения; - фиг. 7 - астигматизм и дисторсия инфракрасного телеобъектива в узком поле зрения; - фиг. 8 - астигматизм и дисторсия инфракрасного телеобъектива в широком поле зрения. Инфракрасный телеобъектив с двумя полями зрения (фиг. 1, фиг. 2) состоит из четырех, расположенных по ходу луча, компонентов. Первый неподвижный положительный компонент состоит из одиночных положительной выпукло-вогнутой линзы 1, обращенной выпуклостью к плоскости предметов, вторая поверхность которой асферическая, и отрицательного мениска 2, обращенного выпуклостью к плоскости предметов, первая поверхность которого асферическая. Второй отрицательный подвижный компонент состоит из двояковогнутой линзы 3, вторая поверхность которой асферическая, и имеет два фиксированных положения на оптической оси между первым и третьим неподвижными компонентами для переключения полей зрения. Третий неподвижный положительный компонент состоит из одиночных положительного мениска 4, обращенного выпуклостью к плоскости предметов, вторая поверхность которого асферическая, и отрицательного мениска 5, обращенного выпуклостью к плоскости предметов, первая поверхность которого асферическая. Четвертый неподвижный положительный компонент состоит из положительной выпукло-вогнутой линзы 6, обращенной выпуклостью к плоскости предметов, вторая поверхность которой асферо-дифракционная. Между третьим и четвертым компонентами имеется промежуточное изображение. В оптической схеме инфракрасного телеобъектива с узким полем зрения (фиг. 1) второй компонент в виде двояковогнутой линзы 3 находится в первом фиксированном положении и расположен перед третьим компонентом. В оптической схеме инфракрасного телеобъектива с широким полем зрения (фиг. 2) второй компонент в виде двояковогнутой линзы 3 находится во втором фиксированном положении и расположен за первым компонентом Инфракрасный телеобъектив с двумя полями зрения работает следующим образом: световой поток, исходящий из бесконечно удаленной точки предмета, проходит через линзы 1-6 объектива, входное окно 7, фильтр 8 фотоприемного устройства и формирует изображение на матрице чувствительных элементов фотоприемного устройства (на фиг. не показан). Смена полей зрения (фокусного расстояния) осуществляется перемещением линзы 3 вдоль оптической оси. В соответствии с предложенным решением рассчитан объектив, конструктивные параметры которого приведены в таблице 1. Характеристики объектива Через «/» указаны значения, соответственно, для узкого и широкого полей зрения. Таким образом, создан компактный инфракрасный телеобъектив с двумя полями зрения, коэффициент телеукорочения которого равен 0,63, при высоком качестве изображения, что подтверждается графиками (фиг. 3-8), при этом асферо-дифракционная поверхность выполнена только одна и на линзе из германия, что повышает технологичность системы, а диаметр первого компонента не превышает диаметр входного зрачка объектива.
Фокусное расстояние, мм -183,3/-61 Относительное отверстие 1:4 Линейное поле в пространстве изображений (2у'×2х'), мм2 7,68×9,6 Спектральный диапазон, мкм 3,7-4,85 Длина от первой поверхности до плоскости изображения, мм 115