патент
№ RU 2627820
МПК C23C14/35
Номер заявки
2016143145
Дата подачи заявки
02.11.2016
Опубликовано
11.08.2017
Страна
RU
Как управлять
интеллектуальной собственностью
Чертежи 
3
Реферат

Изобретение относится к узлу катода магнетронного распылителя. Узел содержит мишень 1, закрепленную в стенках корпуса 4, первый электростатический экран 7, установленный с внешней стороны стенок корпуса 4 и основания 5. Со стороны внутренней поверхности 3 мишени 1 установлена пластина 10, выполненная по форме, идентичной форме мишени 1 толщиной от 1 до 4 мм, и плотно прижатая к ее внутренней поверхности 3. На основании 5 по центру установлен центральный магнит 11, а на периферии основания 5 расположены внешние магниты 12. На основании 5 расположен теплопередающий элемент 13 с внутренней проточкой 15, в которой расположен центральный магнит 11 и с внешними проточками 16, в которых установлен трубопровод охлаждения 17. Трубопровод охлаждения 17 выполнен в виде прямоугольной рамки со скошенными углами из труб прямоугольного сечения и содержит патрубки подачи и отвода охлаждающей жидкости 18. При этом в теплопередающем элементе 13 выполнены отверстия 19, в которые вставлены патрубки подачи и отвода охлаждающей жидкости 18. Поперечное сечение трубопровода охлаждения 17 выбрано из условия обеспечения эффективного охлаждения с турбулентным режимом течения охлаждающей жидкости, характеризующимся числом Рейнольдса не менее 8000. Технический результат заключается в повышении эффективности охлаждения и надежности работы узла катода магнетронного распылителя. 2 з.п. ф-лы, 4 ил.

Формула изобретения

1. Узел катода магнетронного распылителя, содержащий мишень с внешней поверхностью и внутренней поверхностью, закрепленную в стенках корпуса, установленных на основании, соединительными винтами, первый электростатический экран, установленный с внешней стороны стенок корпуса и основания, выполненный идентичным их форме, закрепленный на основании крепежными болтами и электрически изолированный от него изоляторами, внешние магниты, расположенные на периферии основания, теплопередающий элемент и трубопровод охлаждения, отличающийся тем, что он снабжен центральным магнитом, установленным на основании по его продольной оси симметрии, пластиной, вторым электростатическим экраном и прижимными винтами, при этом пластина установлена со стороны внутренней поверхности мишени, выполнена по форме, идентичной форме мишени толщиной от 1 до 4 мм и плотно прижата к ней и стенкам корпуса соединительными винтами, причем между пластиной и верхней плоскостью внешних магнитов образован теплоизоляционный зазор шириной от 0,5 до 2 мм, при этом общая толщина пластины с мишенью не превышает 12 мм, второй электростатический экран установлен внутри первого электростатического экрана, выполнен идентичным его форме, электрически изолирован от основания изоляторами и закреплен на нем крепежными болтами с образованием между стенками корпуса, вторым электростатическим экраном и первым электростатическим экраном зазоров от 2 до 4 мм, при этом теплопередающий элемент расположен на основании, выполнен в виде вкладыша продолговатой формы и прижат своей верхней плоскостью к пластине прижимными винтами и боковыми торцами к внешним магнитам, при этом теплопередающий элемент содержит внутреннюю проточку, в которой расположен центральный магнит и выполненную идентичной форме центрального магнита, внешние проточки, в которых установлен трубопровод охлаждения с патрубками подачи и отвода охлаждающей жидкости, при этом внешние проточки выполнены идентичными форме трубопровода охлаждения таким образом, что он плотно прижат к пластине, и отверстия, в которые вставлены патрубки подачи и отвода охлаждающей жидкости, выполненные идентичными форме поперечного сечения патрубков подачи и отвода охлаждающей жидкости, причем трубопровод охлаждения выполнен в виде прямоугольной рамки со скошенными углами из труб прямоугольного поперечного сечения, которое выбрано из условия обеспечения эффективного охлаждения с турбулентным режимом течения охлаждающей жидкости, характеризующимся числом Рейнольдса не менее 8000.

2. Узел катода по п. 1, отличающийся тем, что пластина и теплопередающий элемент выполнены из немагнитных материалов с высокой теплопроводностью.

3. Узел катода по п. 1, отличающийся тем, что второй электростатический экран выполнен из немагнитного материала с низким значением коэффициента черноты.

Описание

[1]

Изобретение относится к области нанесения покрытий распылением металлов с использованием магнитного поля, а именно к магнетронным распылительным устройствам.

[2]

Известен узел катода магнетронного распылителя (патент RU №2555264, МПК С23С 14/35, опубл. 10.07.2015), содержащий основание из ферромагнитного материала, соединенную с основанием мишень из распыляемого материала, установленные на основании с внутренней стороны от мишени магниты, отделенные от нее зазором, и систему охлаждения.

[3]

Недостатком настоящего устройства является низкая надежность вследствие нагрева внешней части магнитной системы излучением как от мишени, так и от стенок корпуса магнетронов, а также наличия сложного в изготовлении основания из ферромагнитного материала, имеющего низкую теплопроводность и легко подвергающегося коррозии.

[4]

Наиболее близким по технической сущности к заявляемому изобретению является узел катода магнетронного распылителя (патент RU №2319788, МПК С23С 14/35, опубл. 20.03.2008), содержащий мишень, имеющую наружную сторону и внутреннюю сторону и выполненную по меньшей мере частично из распыляемого материала, расположенные с внутренней стороны от мишени магниты, теплоизолированные от мишени, и по меньшей мере один трубопровод для охлаждающей среды, имеющий стенку с частью, свободной от передачи тепла непосредственно от мишени.

[5]

Недостатком настоящего устройства является низкая надежность из-за ненадежного теплового контакта с контуром охлаждения, одновременного нагрева внешней части магнитной системы излучением от мишени и от боковых стенок корпуса магнетронов, а также возможность утечки охлаждающей среды в рабочий объем вакуумной камеры.

[6]

Технической задачей предлагаемого изобретения является повышение эффективности охлаждения мишени и магнитной системы узла катода магнетронного распылителя.

[7]

Технический результат заключается в повышении эффективности охлаждения и надежности работы узла катода магнетронного распылителя.

[8]

Это достигается тем, что узел катода магнетронного распылителя, содержащий мишень с внешней поверхностью и внутренней поверхностью, закрепленную в стенках корпуса, установленных на основании, соединительными винтами, первый электростатический экран, установленный с внешней стороны стенок корпуса и основания, выполненный идентичным их форме, закрепленный на основании крепежными болтами и электрически изолированный от него изоляторами, внешние магниты, расположенные на периферии основания, теплопередающий элемент и трубопровод охлаждения, снабжен центральным магнитом, установленным на продольной оси симметрии основания, пластиной, вторым электростатическим экраном и прижимными винтами, при этом пластина установлена со стороны внутренней поверхности мишени, выполнена по форме, идентичной форме мишени толщиной от 1 до 4 мм, и плотно прижата к ней и стенкам корпуса соединительными винтами, причем между пластиной и верхней плоскостью внешних магнитов образован теплоизоляционный зазор шириной от 0,5 до 2 мм, при этом общая толщина пластины с мишенью 1 не превышает 12 мм, второй электростатический экран установлен внутри первого электростатического экрана, выполнен идентичным его форме, электрически изолирован от основания изоляторами и закреплен на нем крепежными болтами таким образом, что между стенками корпуса, вторым электростатическим экраном и первым электростатическим экраном образованы зазоры от 2 до 4 мм, теплопередающий элемент расположен на основании, выполнен в виде вкладыша продолговатой формы и прижат своей верхней плоскостью к пластине прижимными винтами, а боковыми торцами - к внешним магнитам, при этом теплопередающий элемент содержит внутреннюю проточку, в которой расположен центральный магнит и выполненную идентичной его форме, внешние проточки, в которых установлен трубопровод охлаждения с патрубками подачи и отвода охлаждающей жидкости, выполненные идентичными его форме таким образом, что он плотно прижат к пластине, и отверстия, в которые вставлены патрубки подачи и отвода охлаждающей жидкости и выполненные по форме, идентичной форме их поперечного сечения, причем трубопровод охлаждения выполнен в виде прямоугольной рамки со скошенными углами из труб прямоугольного поперечного сечения, которое выбрано из условия обеспечения эффективного охлаждения с турбулентным режимом течения охлаждающей жидкости, характеризующимся числом Рейнольдса не менее 8000, при этом пластина и теплопередающий элемент выполнены из немагнитных материалов с высокой теплопроводностью, второй электростатический экран выполнен из немагнитного материала с низким значением коэффициента черноты.

[9]

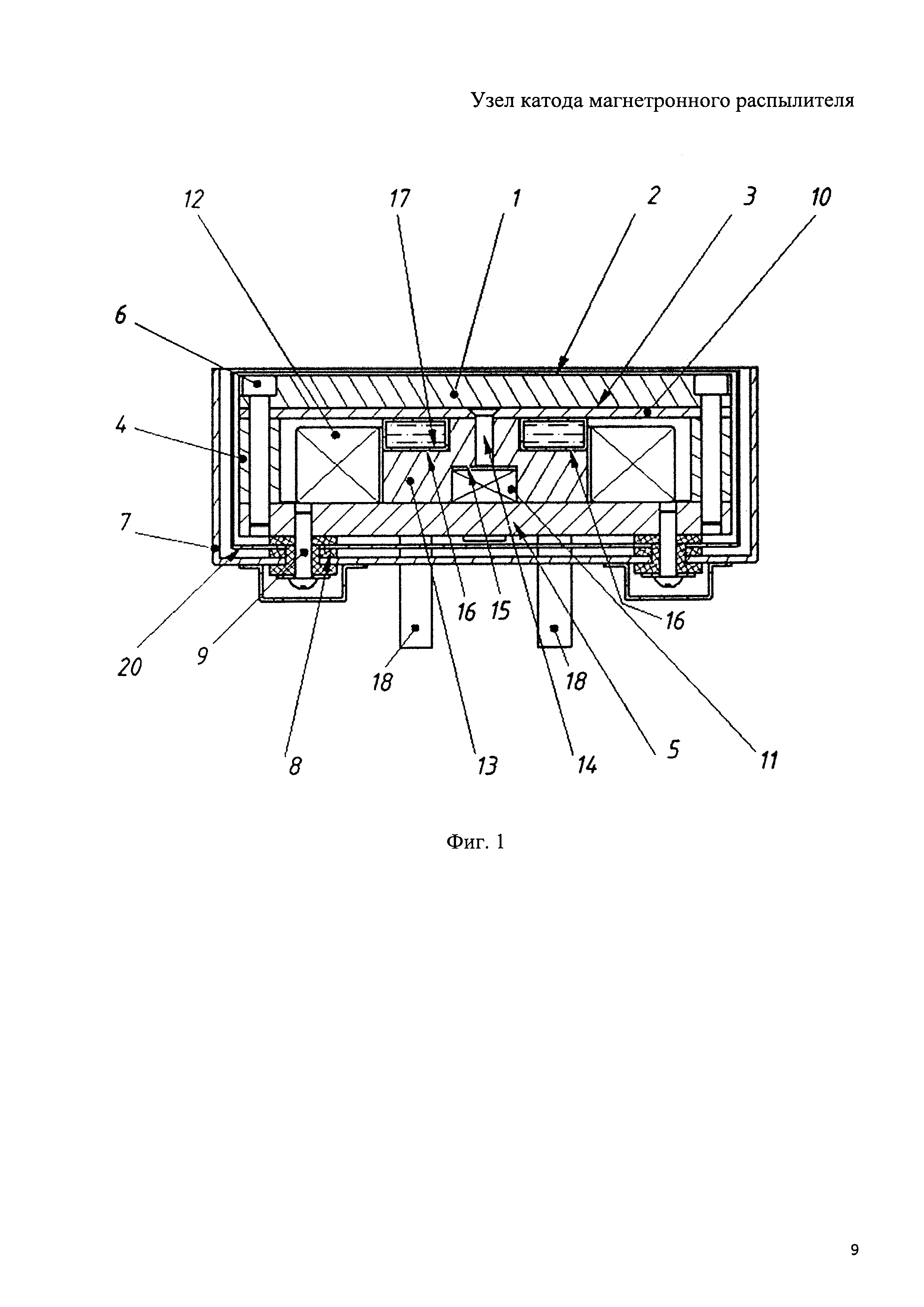
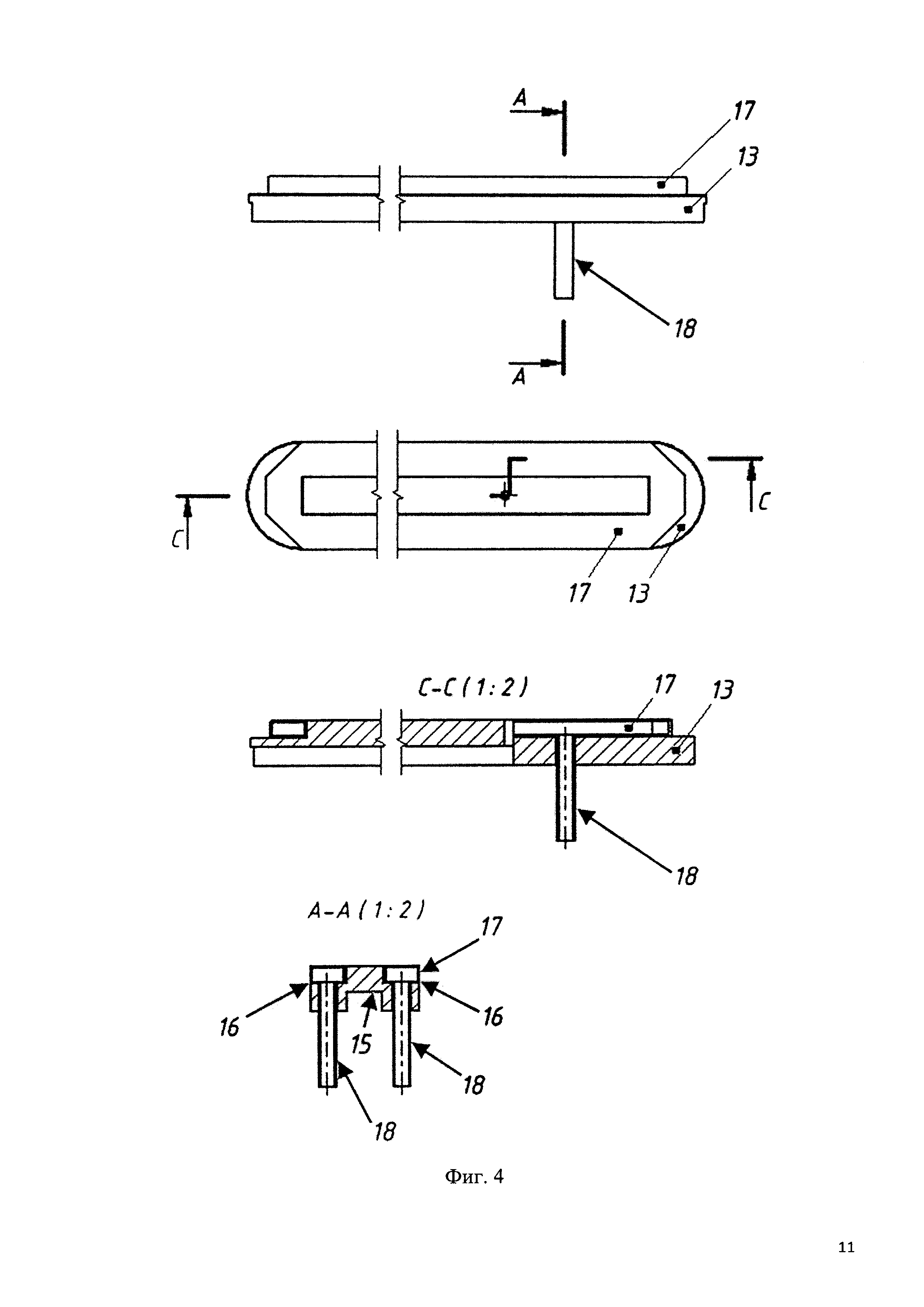
Сущность изобретения поясняется чертежами, где на фиг. 1 изображена схема узла катода магнетронного распылителя, на фиг. 2 представлен внешний вид трубопровода охлаждения, на фиг. 3 показан внешний вид вкладыша, на фиг. 4 представлена схема трубопровода охлаждения и вкладыша в сборе.

[10]

Узел катода магнетронного распылителя содержит мишень 1 с внешней поверхностью 2 и внутренней поверхностью 3, закрепленную в стенках корпуса 4, установленных на основании 5, соединительными винтами 6, первый электростатический экран 7, установленный с внешней стороны стенок корпуса 4 и основания 5, выполненный идентичным их форме, и электрически изолированный от основания 5 изоляторами 8, и закрепленный на нем крепежными болтами 9. Со стороны внутренней поверхности 3 мишени 1 установлена пластина 10, выполненная по форме, идентичной форме мишени 1 толщиной от 1 до 4 мм, и плотно прижатая к ее внутренней поверхности 3 и стенкам корпуса 4 соединительными винтами 6. При этом общая толщина пластины 10 с мишенью 1 не превышает 12 мм.

[11]

На продольной оси симметрии основания 5 установлен центральный магнит 11, а на периферии основания 5 расположены внешние магниты 12, причем между верхней плоскостью внешних магнитов 12 и пластиной 10 образован теплоизоляционный зазор шириной от 0,5 до 2 мм. На основании 5 расположен теплопередающий элемент 13, выполненный в виде вкладыша продолговатой формы и прижатый своей верхней плоскостью к пластине 10 прижимными винтами 14, а боковыми торцами к внешним магнитам 12. Теплопередающий элемент 13 содержит внутреннюю проточку 15, в которой расположен центральный магнит 11 и выполненную идентичной его форме, и внешние проточки 16, в которых установлен трубопровод охлаждения 17, и выполненные идентичными его форме таким образом, что он плотно прижат к пластине 10. Причем трубопровод охлаждения 17 выполнен в виде прямоугольной рамки со скошенными углами из труб прямоугольного сечения и содержит патрубки подачи и отвода охлаждающей жидкости 18. При этом в теплопередающем элементе 13 выполнены отверстия 19, в которые вставлены патрубки подачи и отвода охлаждающей жидкости 18, идентичные форме их поперечного сечения. Поперечное сечение трубопровода охлаждения 17 выбрано из условия обеспечения эффективного охлаждения с турбулентным режимом течения охлаждающей жидкости, характеризующимся числом Рейнольдса не менее 8000.

[12]

Внутри первого электростатического экрана 7 установлен второй электростатический экран 20, выполненный идентичным его форме, электрически изолированный от основания 5 изоляторами 8, и закрепленный на нем крепежными болтами 9 таким образом, что между стенками корпуса 4, вторым электростатическим экраном 20 и первым электростатическим экраном 7 образованы зазоры от 2 до 4 мм.

[13]

Пластина 10 и теплопередающий элемент 13 выполнены из немагнитных материалов с высокой теплопроводностью, например меди или алюминиевого сплава. Второй электростатический экран 20 выполнен из немагнитного материала с низким значением коэффициента черноты. Трубопровод охлаждения 17 выполнен из коррозионно-стойкого материала, некорродирующего с применяемой охлаждающей жидкостью.

[14]

Узел катода магнетронного распылителя работает следующим образом.

[15]

В трубопровод охлаждения 17 подают охлаждающую жидкость. Затем на узел катода магнетронного распылителя подают высокое напряжение. При этом над мишенью 1 возникает газовый разряд, поддерживаемый скрещенными электрическими и магнитными полями. Наличие центрального магнита 11 позволяет настраивать конфигурацию магнитного поля над мишенью для нанесения металлических или диэлектрических (керамических) покрытий, что расширяет возможности управления технологическим процессом осаждения покрытий с помощью данного устройства.

[16]

Электроны плазмы, образующейся над мишенью 1, удерживаются магнитными полями, образуемыми внешними магнитами 12 и центральным магнитом 11 и дрейфуют по замкнутым траекториям над мишенью 1. Получаемые при этом положительно заряженные ионы рабочего газа ускоряются электрическим полем узла катода магнетронного распылителя, приобретают высокую кинетическую энергию и бомбардируют внешнюю поверхность 2 мишени 1 так, что распыляемый материал выбивается из мишени 1 и оседает на изделии.

[17]

Контакт пластины 10, обладающей высокой теплопроводностью, с внутренней поверхностью 3 мишени 1, трубопроводом охлаждения 17, теплопередающим элементом 13 и стенками корпуса 4 образует замкнутый контур теплопередачи (тепловой мостик) вокруг центрального 11 и внешних 12 магнитов. Это препятствует нагреву магнитной системы и отводит тепло от внутренней поверхности мишени 3.

[18]

Трубопровод охлаждения 17 находится в тепловом контакте с пластиной 10 и теплопередающим элементом 13, через которые проходит поток тепла от внутренней поверхности 3 горячей мишени 1 к охлаждающей жидкости, и не касается боковыми стенками других элементов. Это обеспечивается пастами или многослойной фольгой, выполненными из материалов с высокой теплопроводностью. Охлаждающая жидкость, циркулирующая по трубопроводу охлаждения 17, обеспечивает охлаждение мишени 1, предотвращающее ее разрушение под действием тепловых нагрузок, и обеспечивает эффективное охлаждение стенок корпуса 4, основания 5, пластины 10 и теплопередающего элемента 13, тем самым предотвращая нагрев центрального 11 и внешних 12 магнитов. Пластина 10 также препятствует разрушению трубопровода охлаждения 17 из-за распыления его материала при сквозном распылении мишени 1, что предотвращает возможность утечки охлаждающей жидкости в рабочий объем. Второй электростатический экран 20 препятствует одновременному осуществлению нагрева внешней части магнитной системы излучением от мишени 1 и от стенок первого электростатического экрана 7.

[19]

Использование изобретения позволяет повысить эффективность охлаждения и надежность работы узла катода магнетронного распылителя за счет создания вокруг магнитной системы замкнутого охлаждаемого теплопроводящего контура, организующего направленный поток тепла к трубопроводу охлаждения и обеспечивающего возможность сквозного распыления мишени, а также за счет препятствия нагреву деталей узла катода магнетронного распылителя от окружающей среды через стенки корпуса.

Как компенсировать расходы
на инновационную разработку
Похожие патенты