патент
№ RU 2641055
МПК E04H12/08

СТОЙКА ОПОРЫ ВОЗДУШНОЙ ЛИНИИ ЭЛЕКТРОПЕРЕДАЧИ

Авторы:
Касьян Никита Сергеевич
Номер заявки
2017109656
Дата подачи заявки
22.03.2017
Опубликовано
15.01.2018
Страна
RU
Как управлять
интеллектуальной собственностью
Чертежи 
4
Реферат

Изобретение относится к области наземного строительства, конкретнее к возведению опорных конструкций для линий электропередачи. Достигаемые технические результаты заключаются в повышении жесткости и прочности стойки в зоне закрепления к фундаменту по отношению к крутящим нагрузкам и изгибающим нагрузкам, действующим в продольном и в поперечном направлениях относительно линии электропередачи, в исключении проворота стойки на фундаменте при резком возрастании нагрузок в аварийной ситуации, обеспечении надежной работы стойки во всех режимах. Суть решения заключается в том, что ствол стойки выполнен разрезным, состоящим из двух, верхней и нижней, пар вертикальных открытых профилей, жестко связанных между собой посредством поперечной пластины, в плане которой нижняя пара профилей развернута относительно верхней на 90°. Профили верхней пары соединены между собой стержневыми элементами. На профилях нижней пары размещено средство для закрепления на свае, которое включает разнесенные по высоте стойки узлы для стяжки профилей, размещенные в уровнях упомянутых узлов поперечные диафрагмы жесткости и закрепленные на внутренней поверхности профилей ограничители для опоры на верхний торец сваи. 11 з.п. ф-лы, 10 ил.

Формула изобретения

1. Стойка опоры воздушной линии электропередачи, содержащая ствол из вертикальных открытых профилей, обращенных навстречу друг другу крайними гранями, стержневые элементы, соединяющие крайние грани профилей, и средство для закрепления на свае, включающее разнесенные по высоте стойки узлы для стяжки профилей, размещенные в уровнях упомянутых узлов поперечные диафрагмы жесткости и закрепленные на внутренней поверхности профилей ограничители для опоры на верхний торец сваи, отличающаяся тем, что ствол стойки выполнен разрезным, состоящим из двух, верхней и нижней, пар вертикальных открытых профилей, жестко связанных между собой посредством поперечной пластины, в плане которой нижняя пара профилей развернута относительно верхней на 90°, при этом профили верхней пары соединены между собой стержневыми элементами, а средство для закрепления на свае размещено на профилях нижней пары.

2. Стойка по п. 1, отличающаяся тем, что в уровне поперечной пластины площадь поперечного сечения стойки, ограниченная контуром нижней пары профилей, меньше площади поперечного сечения, ограниченной контуром верхней пары профилей.

3. Стойка по п. 1, отличающаяся тем, что поперечное сечение верхней части стойки выполнено расширенным в поперечном направлении относительной воздушной линии электропередачи, при этом поперечное сечение нижней части стойки выполнено расширенным в направлении оси воздушной линии электропередачи.

4. Стойка по п. 1, отличающаяся тем, что нижняя пара профилей выполнена из металла большей толщины, чем верхняя.

5. Стойка по п. 1, отличающаяся тем, что вертикальные открытые профили выполнены в виде П-образных гнутых профилей.

6. Стойка по п. 1, отличающаяся тем, что в поперечной пластине выполнены сквозные отверстия.

7. Стойка по п. 1, отличающаяся тем, что между поперечной пластиной и наружными стенками профилей установлены ребра жесткости.

8. Стойка по п. 1, отличающаяся тем, что ограничители выполнены в виде вертикальных пластин, приваренных ребром к внутренней стенке соответствующего профиля.

9. Стойка по п. 1, отличающаяся тем, что каждый узел стяжки включает два упора, закрепленных напротив друг друга на крайних гранях нижних профилей, при этом в упорах выполнены отверстия для стягивающего резьбового элемента.

10. Стойка по п. 9, отличающаяся тем, что упоры выполнены в виде приваренных к профилям отрезков трубчатого профиля.

11. Стойка по п. 1, отличающаяся тем, что поперечные диафрагмы жесткости выполнены составными из двух фигурных пластин, каждая из которых размещена в пространстве между внутренними стенками соответствующего профиля и закреплена к этим стенкам на части контура, при этом другая часть контура пластины выполнена с возможностью сопряжения с боковой поверхностью сваи.

12. Стойка по п. 11, отличающаяся тем, что фигурные пластины выполнены со срезанными углами в зонах изгибов профилей.

Описание

[1]

Область техники, к которой относится изобретение

[2]

Изобретение относится к области наземного строительства, конкретнее, к возведению опорных конструкций для линий электропередачи.

[3]

Уровень техники

[4]

Известна опора контактной сети железной дороги, включающая металлическую стойку из двух соединенных стяжками швеллеров, закрепленных на индивидуальных основаниях, каждое из которых жестко связано с общим бетонным фундаментом посредством болтового соединения (см. патент на полезную модель RU 17939, МПК: Е04Н 12/00, опубл. 10.05.2001).

[5]

Известна металлическая опора линии электропередачи, содержащая сужающуюся по высоте полую стойку, на нижнем конце которой размещен фланец для ее закрепления к фундаменту (патент на полезную модель RU 138695, МПК: Е04Н 12/00, опубл. 20.03.2014).

[6]

Фланцевое соединение, примененное в обоих вышеупомянутых аналогах для закрепления стойки на фундаменте, характеризуется высокой жесткостью соединения и простотой монтажных работ. Однако в этом случае существенно усложняется конструкция самого фундамента из-за необходимости формирования на нем соединительного фланца. В этом случае требуется проведение сварочных работ в полевых условиях, что не всегда приемлемо.

[7]

В качестве наиболее близкого аналога для заявляемого технического решения принята стойка опоры воздушной линии электропередачи, конструкция которой раскрыта в материалах патента RU 2473763, МПК: Е04Н 12/08, опубл. 27.01.2013 г. Признаки ближайшего аналога, совпадающие с существенными признаками заявляемой конструкции, следующие: стойка опоры воздушной линии электропередачи содержит ствол из вертикальных открытых профилей, обращенных навстречу друг другу крайними гранями, стержневые элементы, соединяющие крайние грани профилей, и средство для закрепления стойки на свае, включающее, как минимум, два узла для стяжки профилей, разнесенные по высоте стойки, поперечные диафрагмы жесткости, каждая из которых размещена в уровне соответствующего узла для стяжки профилей, и закрепленные на внутренней поверхности профилей пластины-ограничители, служащие для опоры на верхний торец сваи.

[8]

В качестве фундаментной опоры для стойки в этом решении используют цилиндрическую сваю или металлическую трубу, заглубленную в грунт одним концом. Стойка насаживается на сваю сверху, до упора ее пластин-ограничителей в верхний торец сваи, после чего нижние концы вертикальных профилей стягиваются между собой в обхват сваи посредством узлов для стяжки, расположенных по два с каждой стороны стойки.

[9]

Существенным недостатком ближайшего аналога является низкая устойчивость опоры в отношении крутящего и изгибающего моментов, что обусловлено совокупным действием ряда причин: использованием двух разнесенных между собой несущих профилей, большими плечами действующих сил, невозможностью обеспечения идеальной плотности прилегания профилей к свае в местах закрепления.

[10]

В аварийной ситуации, например, при обрыве одного или нескольких проводов, в верхней части стойки появляется горизонтальная нагрузка, приводящая к появлению крутящего момента. В известной конструкции в этом случае высока вероятность скручивания профилей в зоне закрепления к фундаменту и проворота стойки на фундаментной трубе, что ведет к возникновению случаев первой и второй группы предельных состояний.

[11]

При работе известной конструкции на максимальные нагрузки в нормальных режимах возможно «выключение» из работы одного из разнесенных между собой несущих профилей по причине недостаточной жесткости крепления стойки к фундаменту и раздельной (несовместной) работы профилей друг от друга.

[12]

Используемое в патенте RU 2473763 усиление узлов крепления за счет установки над узлами стяжки поперечных балок, попарно соединяемых подкосами, ведет к усложнению монтажных работ и при этом не решает упомянутых проблем.

[13]

Технической проблемой, на решение которой направлено заявляемое изобретение, является повышение устойчивости и эксплуатационной надежности опоры во всех режимах работы, в том числе в аварийной ситуации, за счет повышения жесткости соединения стойки с фундаментом.

[14]

Раскрытие изобретения

[15]

Упомянутая проблема решена благодаря тому, что в стойке опоры воздушной линии электропередачи, содержащей ствол из вертикальных открытых профилей, обращенных навстречу друг другу крайними гранями, стержневые элементы, соединяющие крайние грани профилей, и средство для закрепления на свае, включающее, как минимум, два узла для стяжки профилей, разнесенные по высоте стойки, размещенные в уровнях упомянутых узлов поперечные диафрагмы жесткости и закрепленные на внутренней поверхности профилей ограничители для опоры на верхний торец сваи, согласно заявляемому изобретению ствол стойки выполнен разрезным, состоящим из двух, верхней и нижней, пар вертикальных открытых профилей, жестко связанных между собой посредством поперечной пластины, в плане которой нижняя пара профилей развернута относительно верхней на 90°, при этом профили верхней пары соединены между собой стержневыми элементами, а средство для закрепления на свае размещено на профилях нижней пары.

[16]

Вышеупомянутая совокупность существенных отличительных признаков заявляемого изобретения позволяет получить следующие технические результаты, а именно: повысить механические (жесткостные и прочностные) характеристики сечения стойки в зоне закрепления к фундаменту по отношению к изгибающим нагрузкам, и в продольном, и в поперечном направлениях относительно линии электропередачи, а также к крутящим нагрузкам, благодаря чему исключить проворот стойки на фундаменте при резком возрастании нагрузок, например при обрыве провода, а также обеспечить надежную совместную работу несущих поясов во всех режимах.

[17]

Другим достигаемым техническим результатом является простота и производительность монтажных работ.

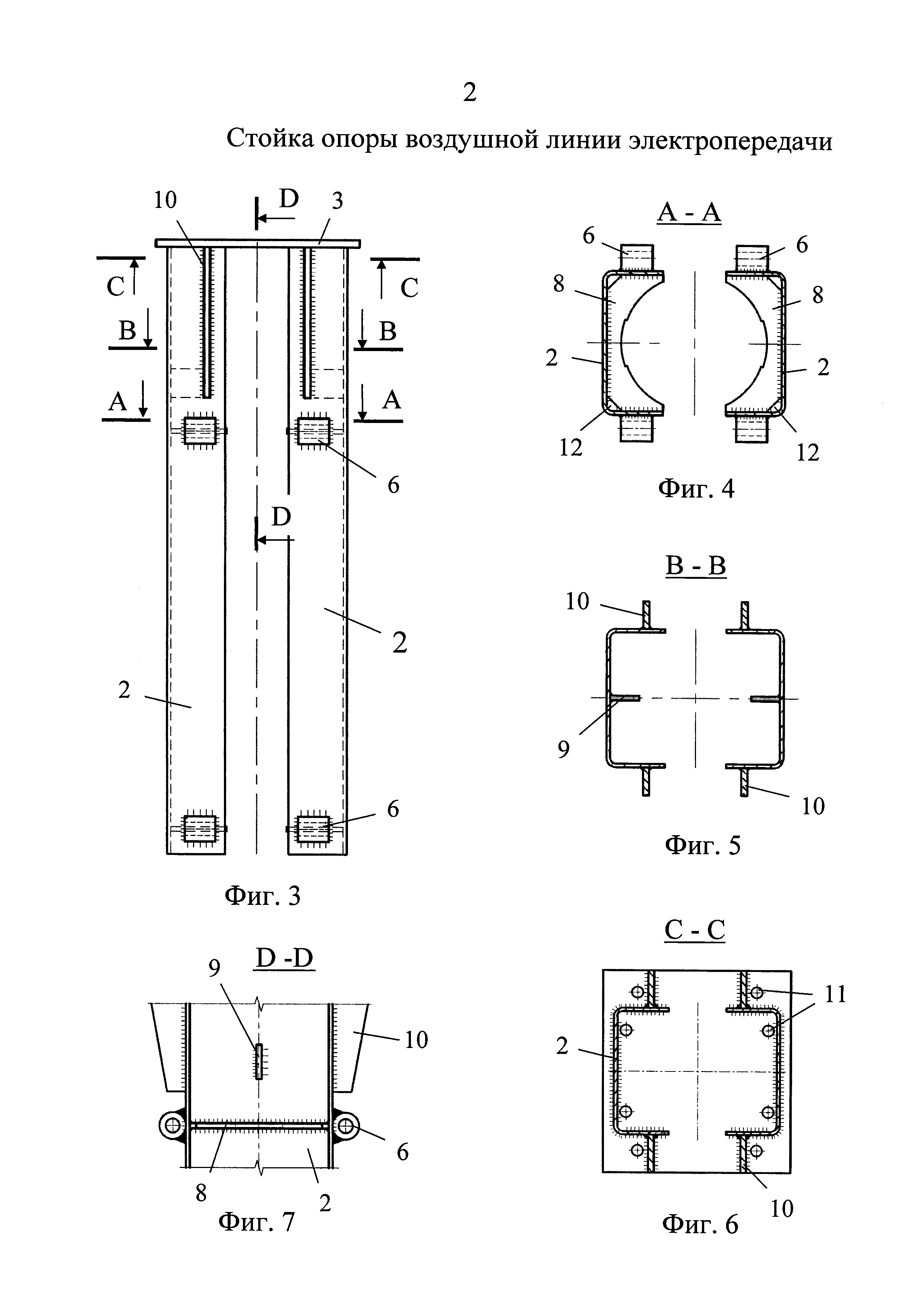
[18]

Существенным отличием предлагаемой стойки от ближайшего аналога является выполнение ствола стойки разрезным по высоте, а именно: состоящим из двух частей, верхней и нижней, жестко соединенных между собой через поперечную пластину и образующих в совокупности единую цельную конструкцию.

[19]

«Разрезной», согласно одному из определений, обозначает «составленный, изготовленный из двух, нескольких частей, кусков» (см. Новый толково-словообразовательный словарь русского языка Ефремовой. 2012).

[20]

Верхняя часть ствола составляет основную длину стойки и формируется известным образом на основе пары вертикальных открытых профилей, соединенных между собой стержневыми элементами. При этом профили могут быть расположены параллельно или наклонены друг к другу. В предлагаемой конструкции нижние концы верхних профилей жестко замкнуты между собой поперечной пластиной, соединяющей части ствола.

[21]

Нижняя часть ствола, также образованная парой вертикальных открытых профилей, служит для закрепления на фундаменте. Она значительно короче верхней и отличается малой свободной длиной профилей, верхние концы которых жестко зафиксированы поперечной пластиной, соединяющей части ствола.

[22]

За счет выполнения нижней части стойки отрезной была уменьшена свободная длина несущих элементов в зоне сосредоточенной передачи усилий, т.е. в зоне закрепления стойки к фундаменту, что позволило повысить жесткость узла закрепления в отношении изгибающего и крутящего моментов.

[23]

При этом использование принципа разрезной конструкции обеспечило возможность независимого формирования верхней и нижней частей ствола, в частности возможность подбора наиболее оптимальных геометрических параметров поперечного сечения для каждой части стойки.

[24]

В результате стало возможным уменьшение площади поперечного сечения (сечения, ограниченного контуром несущих профилей) в нижней части стойки, в зоне сосредоточенной передачи усилий, при сохранении широкого поперечного сечения в основании верхней части, расположенном в уровне соединительной пластины.

[25]

Сечение верхней части стойки рассчитывается известным образом, исходя из условия обеспечения требуемой несущей способности.

[26]

Профили нижней части более плотно сдвинуты между собой и более плотно охватывают сваю, при этом уменьшены размеры поперечных пластин, образующих диафрагмы жесткости.

[27]

В совокупности с уменьшением свободной длины несущих профилей это позволило существенно повысить жесткость и надежность соединения стойки с фундаментом в отношении изгибающего и крутящего моментов.

[28]

Поперечная пластина обеспечивает возможность жесткого соединения различных по геометрическим параметрам частей стойки и гарантирует надежную совместную работу верхних и нижних несущих вертикальных поясов (профилей). При этом поперечная пластина способствует частичному гашению нагрузок, передаваемых из верхней части стойки в нижнюю.

[29]

На повышение жесткости и надежности конструкции работает и развернутая геометрия нижней части стойки, профили которой развернуты относительно профилей верхней части на 90°. В этом случае профили нижней части ориентированы сплошными гранями перпендикулярно воздушной линии электропередачи, что позволило включить в работу сплошные стенки нижних профилей в отношении нагрузок, действующих перпендикулярно воздушной линии электропередачи (ВЛ).

[30]

ВЛ - является общепринятым сокращением (используемым далее), обозначающим воздушную линию электропередачи, иначе - проводную линию, линию проводов.

[31]

Благодаря возможности независимого формирования верхней и нижней частей ствола также стало возможным использование для изготовления частей стойки разного сортамента несущих профилей, что позволило при уменьшении площади поперечного сечения нижней части стойки (сечения, ограниченного контуром несущих профилей) сохранить жесткостную (Yy - момент инерции сечения относительно оси ВЛ) относительно верхней части ствола и увеличить прочностную (Wy - момент сопротивления относительно оси ВЛ) характеристики стойки в направлении, перпендикулярном оси ВЛ.

[32]

Таким образом, вышеупомянутая совокупность отличительных признаков заявляемого изобретения, а именно: разрезная конструкция ствола, наличие поперечной пластины, соединяющей части, а также разворот нижней части ствола стойки на 90° относительно верхней части, позволили добиться наиболее высоких механических (прочностных и жесткостных) характеристик сечения стойки в зоне закрепления к фундаменту по отношению к изгибающим нагрузкам в продольном и в поперечном направлениях относительно линии электропередачи.

[33]

Была повышена надежность конструкции в зоне сосредоточенной передачи усилий без снижения прочностных и жесткостных характеристик в перпендикулярном направлении к ВЛ и увеличены прочностные и жесткостные характеристики в направлении оси ВЛ.

[34]

Выполнение стойки в виде цельной конструкции и использование простых узлов для стяжки профилей обеспечило простоту и производительность монтажных работ.

[35]

В предпочтительном случае реализации предлагаемого устройства поперечное сечение стойки выполнено несимметричным относительно ее центральной вертикальной оси, а именно: в верхней части расширенным (развитым, усиленным) в поперечном направлении относительно ВЛ, а в нижней части - расширенным в продольном направлении к ВЛ.

[36]

Расширение поперечного сечения нижней части стойки вдоль оси ВЛ позволило дополнительно повысить прочностные и жесткостные характеристики сечения в зоне соединения с фундаментной трубой по отношению к изгибающим нагрузкам, действующим вдоль оси ВЛ, и крутящим нагрузкам, за счет чего обеспечить надежность работы конструкции в аварийном режиме и исключить прокручивание опоры на фундаментной трубе.

[37]

Выполнение поперечного сечения верхней части стойки расширенным в поперечном направлении к ВЛ способствует снижению ветровой нагрузки на конструкцию и дополнительному увеличению прочностных и жесткостных характеристик в направлении, поперечном ВЛ.

[38]

Нижняя пара профилей выполнена из металла большей толщины, по сравнению с верхней парой профилей. Использование разного сортамента для верхней и нижней частей стойки не только способствует повышению механических характеристик нижней части ствола, но и обеспечивает наиболее рациональный расход материалов.

[39]

В предпочтительном случае реализации конструкции (см. пример ниже) в качестве вертикальных открытых профилей использованы П-образные гнутые профили (швеллера). Однако приведенный пример не исключает возможности использования для изготовления стойки открытых профилей с иным поперечным сечением и другим количеством граней.

[40]

В поперечной пластине выполняются сквозные технологические отверстия. С одной стороны, наличие отверстий обеспечивает возможность применения для антикоррозионной обработки стойки метода горячего цинкования, с другой стороны - предотвращает скопление влаги на горизонтальной поверхности пластины.

[41]

С целью дополнительного повышения механической прочности и надежности конструкции между поперечной пластиной и стенками вертикальных профилей могут быть установлены ребра жесткости. В предложенной конструкции обеспечена возможность размещения ребер жесткости снаружи профилей, что обеспечивает простоту и технологичность их закрепления.

[42]

Необходимые для установки стойки в проектное положение ограничители, служащие для опоры на верхний торец сваи, предпочтительно, выполнены в виде вертикальных пластин, приваренных ребром к внутренней стенке соответствующего профиля. Использование вертикальных пластин-ограничителей гарантирует образование зазора между поперечной пластиной, соединяющей части ствола, и торцом сваи, что обеспечивает хорошую продуваемость конструкции, исключает образование конденсата и скопление влаги внутри нее.

[43]

Каждый узел стяжки включает два упора, закрепленных друг напротив друга на крайних гранях нижних профилей, при этом в упорах выполнены отверстия для стягивающего резьбового элемента.

[44]

Упоры могут быть выполнены в виде приваренных к профилям уголков или пластин, однако более предпочтительным является выполнение упоров из отрезков трубчатого профиля круглого или квадратного сечения, привариваемых к несущим профилям угловыми швами.

[45]

Такие упоры практически не подвержены деформациям, что способствует высокой жесткости соединения, при этом обеспечивается технологическая простота изготовления и отсутствие нахлесточных соединений.

[46]

Размещенные в уровнях стяжки поперечные диафрагмы жесткости выполнены составными из двух фигурных пластин, каждая из которых размещена в пространстве между внутренними стенками соответствующего профиля и закреплена к этим стенкам на части своего контура, при этом другая часть контура пластины выполнена с возможностью сопряжения с боковой поверхностью сваи. По сути, внутренний контур пластины повторяет боковую поверхность сваи, образуя ложемент для нее.

[47]

В зонах изгибов профилей фигурные пластины имеют срезанные углы, что обеспечивает образование в угловых зонах сквозных отверстий.

[48]

Благодаря тому, что в предлагаемой сварной конструкции стойки отсутствуют нахлесточные соединения, а в поперечных пластинах и угловых зонах выполнены сквозные технологические отверстия, обеспечивается возможность использования метода горячего цинкования для антикоррозионной обработки сварной конструкции стойки.

[49]

Краткое описание чертежей

[50]

Возможность промышленной осуществимости предлагаемого технического решения подтверждается приведенным ниже примером и чертежами, на которых изображены:

[51]

на фиг. 1 - стойка опоры воздушной линии электропередачи, общий вид;

[52]

на фиг. 2 - вид А с фиг. 1;

[53]

на фиг. 3 - показана нижняя часть стойки;

[54]

на фиг. 4 - сечение А-А с фиг. 3;

[55]

на фиг. 5 - сечение В-В с фиг. 3;

[56]

на фиг. 6 - сечение С-С с фиг. 3;

[57]

на фиг. 7 - сечение D-Dс фиг. 3;

[58]

на фиг. 8 - показана стойка, установленная на свае, с частичным разрезом;

[59]

на фиг. 9 - сечение Е-Е с фиг. 8;

[60]

на фиг. 10 - пример опоры, выполненной с использованием предлагаемой стойки, изометрия, показана ориентация стойки относительно воздушной линии электропередачи.

[61]

Осуществление изобретения

[62]

Предлагаемая стойка может быть использована в качестве промежуточной опоры воздушной линии электропередачи, а также в составе анкерной опоры с подкосом.

[63]

Стойка содержит разрезной ствол, образованный двумя парами вертикальных открытых профилей: верхних 1 и нижних 2, жестко связанных между собой посредством поперечной пластины 3 (см. фиг. 1, 2).

[64]

Вертикальные профили 1 и 2, выполненные в виде П-образных гнутых профилей, обращены, в каждой паре, навстречу друг другу крайними гранями.

[65]

В силу большой длины верхней части, вертикальные профили 1 могут быть выполнены из состыкованных между собой секций.

[66]

Крайние грани верхних профилей 1 соединены между собой стержневыми элементами 4, образующими решетчатую грань стойки. Стержневые элементы 4 могут быть выполнены в виде планок или раскосов, предпочтительно из углового горячекатаного или гнутого профиля. Раскосы установлены ребрами на поверхности профилей 1 и соединены с ними угловыми сварными швами.

[67]

Верхние концы профилей 1 объединены в совместную работу пластиной 5, служащей для закрепления траверсы для подвески проводов. Поперечная пластина 3 жестко связывает между собой нижние концы верхних профилей 1 и верхние концы нижних профилей 2, обеспечивая надежную совместную работу несущих поясов.

[68]

Нижние профили 2 развернуты на 90° относительно профилей 1 в плане пластины 3. Нижняя часть стойки существенно короче верхней и служит для закрепления стойки на свае. Размещенное на нижних профилях 2 средство для закрепления стойки на свае включает (см. фиг. 3, 4) узлы для стяжки профилей в обхват сваи. Узлы размещены по два с противолежащих сторон стойки и разнесены в каждой паре по высоте стойки. Каждый узел стяжки включает закрепленные друг напротив друга на крайних гранях профилей 2 упоры 6, т. н. бобышки с резьбовыми отверстиями для стягивающих элементов 7. Каждый упор 6 выполнен из отрезка трубы, приваренного снаружи к стенке профиля 2.

[69]

На одном уровне с упорами 6 внутри каждого профиля 2 установлена фигурная пластина 8, закрепленная к внутренним стенкам профиля 2 на части своего контура и выполненная на другой части контура ответной боковой поверхности сваи (см. фиг. 4, 9). Расположенные в одном уровне фигурные пластины 8 образуют после соединения профилей поперечную диафрагму жесткости.

[70]

Над верхними упорами 6 размещены ограничители 9 в виде вертикальных пластин, закрепленных ребром к внутренним стенкам профилей 2 (см. фиг. 5, 7, 8).

[71]

При необходимости нижняя часть стойки может быть усилена косынками 10, приваренными между пластиной 3 и наружными стенками профилей 2 и образующими вертикальные ребра жесткости (см. фиг. 1-3, 5-8).

[72]

Целиком собранную сварную конструкцию стойки подвергают антикоррозионной обработке, например, методом горячего цинкования. Возможность применения этого метода обработки обеспечена отсутствием в конструкции нахлесточных соединений, выполнением технологических отверстий 11 в поперечной пластине 3 (см. фиг. 6), а также наличием зазоров 12 в угловых зонах изгибов профилей 2 за счет выполнения фигурных пластин 8 со срезанными углами (см. фиг. 4).

[73]

Поперечное сечение стойки выполнено несимметричным, прямоугольным, расширенным в верхней части в поперечном направлении относительно ВЛ, а в нижней части - в продольном направлении, по оси ВЛ (см. фиг. 1-2, 4-6, 9).

[74]

Площадь поперечного сечения стойки, ограниченная контуром нижней пары профилей 2, меньше площади поперечного сечения, ограниченной контуром верхней пары профилей 1 в уровне пластины 3.

[75]

Для изготовления нижних профилей 2 может быть использован металл большей толщины, чем для верхних профилей 1.

[76]

Полностью готовую стойку доставляют к месту установки. Используя соответствующую грузоподъемную технику, стойку насаживают сверху на предварительно установленную, заглубленную в грунт железобетонную или металлическую сваю 13, до упора торца сваи 13 в ограничители 9 стойки. Проверяют, соответствует ли вертикальное положение стойки требуемому проектному положению.

[77]

Проверяют ориентацию стойки относительно линии электропередачи: решетчатая грань верхней части стойки должна быть расположена перпендикулярно проводам воздушной линии электропередачи, а сплошные стенки профилей 1 ориентированы вдоль проводной линии (см. фиг. 10).

[78]

После выверки фиксируют стойку путем стягивания между собой профилей 2 резьбовыми элементами 7 с контролируемым натяжением. Проверяют достаточность обжатия сваи 13 визуальным и измерительным контролем (щупом).

[79]

На вершине установленной стойки монтируется траверса 14 для закрепления проводов 15, выбор конструкции которой зависит от конструктивных особенностей прокладываемой линии электропередачи и типа применяемого провода.

[80]

Проведенные натурные испытания показали, что предлагаемая конструкция стойки характеризуется высокими прочностными и жесткостными характеристиками в зоне соединения с фундаментом в отношении нагрузок, действующих и в продольном, и в поперечном направлениях относительно воздушной линии электропередачи, что обеспечивает высокую надежность и несущую способность опоры во всех режимах работы, в том числе на максимальных нагрузках в нормальных режимах работы, а также в аварийных ситуациях.

[81]

Так в аварийном режиме, при обрыве одного или нескольких проводов, на конструкцию вместе с весовыми нагрузками, передаваемыми от проводов, воздействуют горизонтальные нагрузки от редуцированного тяжения. В этом случае резко возрастает изгибающий момент в направлении оси ВЛ и появляется крутящий момент, который равномерно передается по стволу стойки вниз, вдоль несущих вертикальных профилей.

[82]

Разрезная конструкция ствола стойки, наличие поперечной соединительной пластины 3 и более высокие жесткостные и прочностные характеристики «прямоугольного сечения» нижней части стойки позволяют исключить прокручивание стойки на фундаментной трубе.

[83]

Предлагаемая конструкция стойки по жесткости соединения с фундаментом не уступает конструкциям с фланцевым соединением.

[84]

Следует понимать, что возможности осуществления изобретения не ограничиваются приведенным выше примером, который показывает возможность промышленного применения изобретения и служит для пояснения сути решения.

Как компенсировать расходы
на инновационную разработку
Похожие патенты