Изобретение относится к области техники связи и может быть использовано в средствах связи с амплитудно- или частотно-манипулированными сигналами. Технический результат - обеспечение возможности оценки мощности помехи за время, соизмеримое с периодом изменения сигнала, и за счет этого - в повышении помехоустойчивости средств связи путем обеспечения выделения сигнала в условиях наличия помех типа аддитивного Гауссовского шума и узкополосных помех. В способе выделения сигнала в условиях наличия помех аддитивную смесь сигнала и помехи обрабатывают в линейном тракте приемника, после чего сигнал возводят в квадрат и принимают решение о наличии сигнала путем сравнения с порогом. Сигнал после возведения в квадрат фильтруют фильтром нижних частот (ФНЧ), полоса которого согласована с полосой сигнала, и одновременно фильтруют полосовым фильтром (ПФ), полоса пропускания которого выбирается так, что верхняя частота ПФ соответствует верхней частоте сигнала, нижняя частота ПФ выбирается максимально близкой к нулю, выбор ФНЧ и ПФ осуществляют с идентичными в максимальной степени фазово-частотными характеристиками друг относительно друга и так, что обеспечивают минимально возможное значение суммы разностей значений амплитудно-частотных характеристик ФНЧ и ПФ, взятых для всех частот, путем преобразования в соответствующих аналого-цифровых преобразователях (АЦП), формируют отсчеты сигналов, прошедших ПФ и ФНЧ, данные значения вычитают одно из другого в вычислительном устройстве, полученные значения суммируют и запоминают, из полученной суммы вычитают значение мощности помехи, которое получают путем фильтрации помехи тем же ФНЧ, которым фильтруют смесь сигнала и помехи, одновременно фильтруют помеху тем же ПФ, которым фильтруют смесь сигнала и помехи, путем преобразования в соответствующих АЦП формируют отсчеты помехи, прошедшей ФНЧ и ПФ, данные значения вычитают одно из другого, полученные значения суммируют и запоминают, данное значение мощности помехи получают в течение временного интервала анализа помехи, который расположен непосредственно перед обрабатываемым информационным символом и в котором содержится только помеха. 2 н.п. ф-лы, 3 ил., 4 табл.
1. Способ выделения сигнала в условиях наличия помех, заключающийся в том, что аддитивная смесь сигнала и помехи обрабатывается в линейном тракте приемника, после чего сигнал возводится в квадрат и принимается решение о наличии сигнала путем сравнения с порогом, отличающийся тем, что сигнал после возведения в квадрат фильтруют фильтром нижних частот (ФНЧ), полоса которого согласована с полосой сигнала; одновременно сигнал после возведения в квадрат фильтруют полосовым фильтром, полоса пропускания которого выбирается так, что верхняя частота полосового фильтра соответствует верхней частоте сигнала, нижняя частота полосового фильтра выбирается максимально близкой к нулю; выбор ФНЧ и полосового фильтра осуществляют с идентичными в максимальной степени фазово-частотными характеристиками друг относительно друга и так, что обеспечивается минимально возможное значение суммы разностей значений амплитудно-частотных характеристик ФНЧ и полосового фильтра, взятых для всех частот; формируют в цифровом виде, путем преобразования в соответствующих аналого-цифровых преобразователях (АЦП), отсчеты сигналов, прошедших полосовой фильтр и ФНЧ, данные значения вычитают одно из другого в вычислительном устройстве, полученные значения суммируют и запоминают, из полученной суммы вычитают значение мощности помехи, которое получают следующим образом: фильтруют помеху тем же ФНЧ, которым фильтруют смесь сигнала и помехи, одновременно фильтруют помеху тем же полосовым фильтром, которым фильтруют смесь сигнала и помехи, формируют в цифровом виде, путем преобразования в соответствующих АЦП, отсчеты помехи, прошедшей ФНЧ и полосовой фильтр, данные значения вычитают одно из другого, полученные значения суммируют и запоминают, данное значение мощности помехи получают в течение временного интервала анализа помехи, который расположен непосредственно перед обрабатываемым информационным символом и в котором содержится только помеха. 2. Устройство выделения сигналов в условиях наличия помех, содержащее последовательно соединенные усилитель промежуточной частоты (УПЧ), разветвитель, блок умножения и полосовой фильтр, при этом второй выход разветвителя соединен со вторым входом блока умножения, вход УПЧ является входом устройства, отличающееся тем, что введены последовательно соединенные первый аналого-цифровой преобразователь (АЦП) и вычислительное устройство, в котором отсчеты смеси сигнал и помехи, или помехи после их возведения в квадрат вычитают одно из другого, полученные значения суммируют и запоминают, выход вычислительного устройства является выходом устройства, кроме того, последовательно соединенные фильтр нижних частот (ФНЧ) и второй АЦП, выход которого соединен со вторым входом вычислительного устройства, вход первого АЦП соединен с выходом полосового фильтра, вход ФНЧ соединен с выходом блока умножения.
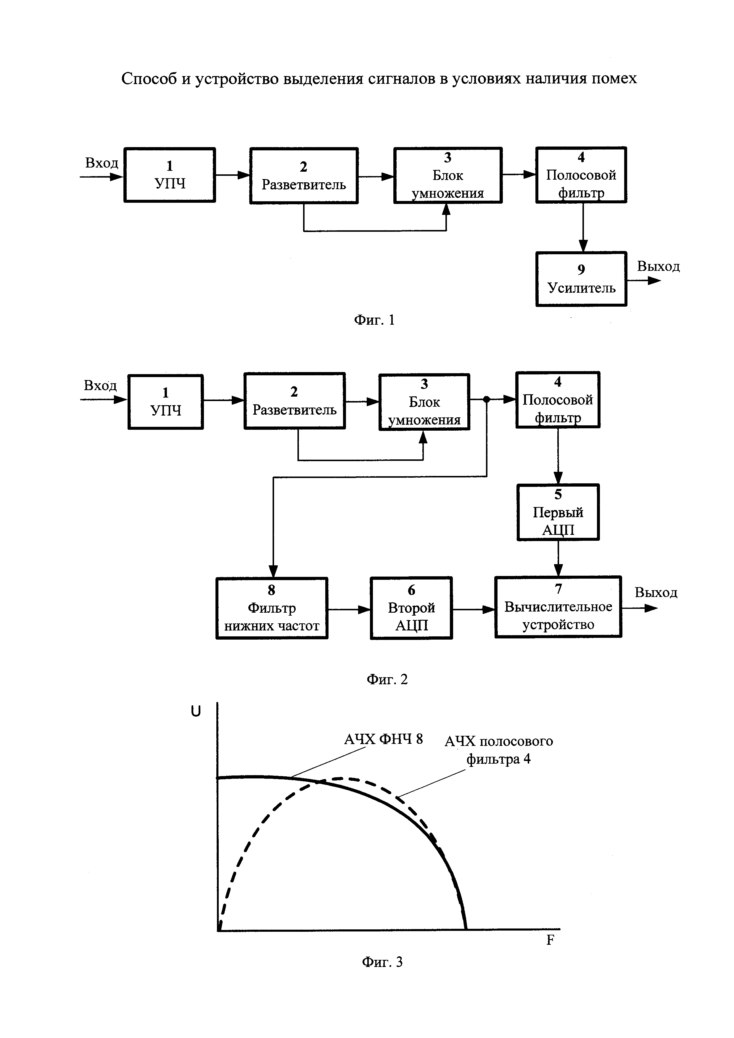
Способ и устройство относятся к радиотехнике и могут найти применение в средствах связи. Известны способы, которые реализуются устройствами подавления узкополосных помех, описанными в а.с. №1688416 Н04 В1/10, а также в патентах РФ №2034403 Н04В 1/10, №2204203 Н04В 1/10, устройством компенсации узкополосных помех, описанным в статье Ефимова В.П. «Оценка влияния нелинейного преобразования на помехоустойчивость приема в спутниковых сетях», опубликованной в журнале «Электромагнитные волны и электромагнитные системы», №1, т. 3, 1998 г, стр. 95, недостатком которых является невысокая степень подавления помех. Известны способы, которые реализуются устройствами подавления широкополосных помех, описанные в патентах RU 2115234, RU 2143783, RU 2190297, недостатком которых является невысокая степень подавления помех. Наиболее близким по технической сущности к предлагаемому способу является способ энергетического обнаружения Прайса-Урковица, описанный в учебном пособии «Основы теории радиотехнических систем. Учебное пособие. // В.И. Борисов, В.М. Зинчук, А.Е. Лимарев, Н.П. Мухин. Под ред. В.И. Борисова. Воронежский научно-исследовательский институт связи, 2004», стр. 75-76». Для способа-прототипа нормированная статистика на выходе обнаружителя имеет вид где: Т - интервал интегрирования; Здесь: H1 - гипотеза о том, что присутствует и сигнал S(t) и помеха n(t) типа аддитивного Гауссовского (белого) шума; Н0 - гипотеза о том, что присутствует только помеха n(t). Аддитивная смесь сигнала и помехи фильтруется и усиливается в линейном тракте приемника (ЛТП), после чего возводится в квадрат в соответствующем устройстве, например путем ее разветвления на два одинаковых сигнала и подачи их на соответствующие входы устройства умножения. Полученный сигнал интегрируется. После чего принимается решение о наличии сигнала с использованием устройства сравнения с порогом. Решение о наличии сигнала принимается, если напряжение, поступающее на устройство сравнения, превышает порог, и решение об отсутствии сигнала принимается в противном случае. Недостатком способа-прототипа является невысокая помехоустойчивость средств связи в условиях наличия помех типа аддитивного Гауссовского шума, а также сложность практической реализации, связанная с длительным временем оценки мощности помехи. Задача - повышение помехоустойчивости средств связи путем обеспечения выделения сигнала в условиях наличия помех типа аддитивного Гауссовского шума за счет обеспечения возможности оценки мощности помехи за время, соизмеримое с периодом изменения сигнала. Для решения поставленной задачи в способе, заключающемся в том, что аддитивная смесь сигнала и помехи обрабатывается в линейном тракте приемника, после чего аддитивная смесь сигнала и помехи возводится в квадрат и принимается решение о наличии сигнала путем сравнения с порогом, согласно изобретению фильтруют полученный после возведения в квадрат сигнал фильтром нижних частот (ФНЧ), полоса которого согласована с полосой сигнала; одновременно фильтруют полученный сигнал полосовым фильтром, полоса пропускания которого выбирается таким образом, что верхняя частота полосового фильтра соответствует верхней частоте сигнала, нижняя частота полосового фильтра выбирается минимально возможной; формируют в цифровом виде отсчеты сигналов, прошедших полосовой фильтр и ФНЧ, путем преобразования в соответствующих аналого-цифровых преобразователях (АЦП), данные значения вычитают одно из другого в вычислительном устройстве, полученные значения суммируют, из полученной суммы вычитают сумму разностей отсчетов, полученных по такому же алгоритму в течение временного интервала анализа помехи, который расположен непосредственно перед обрабатываемым информационным символом, и в котором содержится только помеха. Предлагаемый способ выделения сигнала осуществляется следующим образом. Приводится описание способа для случая работы на фиксированной частоте. Для случая работы с перестройкой частоты процесс осуществляется для каждой рабочей частоты так же как для фиксированной частоты. Используется узкополосный сигнал или широкополосный сигнал. Вид модуляции - амплитудная манипуляция (АМн) или частотная манипуляция (ЧМн). Информация передается в виде информационных символов, каждый из которых содержит несколько сигналов различных типов. Типы сигналов определяются используемым видом манипуляции. Перед первым информационным символом и между символами формируется временной интервал (интервал анализа помехи), который не содержит сигнал, и который используется для определения значений параметров помехи. Каждый информационный символ может содержать несколько сигналов первого и второго типа. Для АМн - сигнал первого типа - сигнал с первым значением амплитуды, сигнал второго типа - сигнал со вторым значением амплитуды. Для АМн сравнение амплитуды смеси сигнала и помехи осуществляется с порогом, значение которого зависит от уровня используемых амплитуд сигналов и уточняется на этапе разработки и испытаний средств связи. Для ЧМн - сигнал первого типа - сигнал, передаваемый на частоте №1, сигнал второго типа - сигнал, передаваемый на частоте №2. При дальнейшем рассмотрении считается, что в случае использования ЧМн одинаковая обработка осуществляется в каждом частотном канале. При принятии решения осуществляется сравнение амплитуд сигнала и помехи (помехи) одного из каналов с амплитудой помехи (сигнала и помехи) другого канала. Длительности информационного символа и интервала анализа помехи определяются на этапе разработки в соответствии с заданными техническими требованиями к средству связи, одним из которых является уровень качества передачи информации. Под заданным уровнем качества понимается передача информации с вероятностью не меньше заданного уровня или с числом ошибок, не превосходящим заранее заданное значение. Аддитивная смесь помехи и сигнала (в дальнейшем по тексту - смесь помехи и сигнала) усиливается, например, в усилителе промежуточной частоты (УПЧ), если обработка осуществляется на промежуточной частоте. Затем смесь помехи и сигнала разделяется на два одинаковых сигнала любым известным способом, например, в разветвителе. Полученные таким образом сигналы умножаются друг на друга, например, с использованием смесителя (умножителя). Результат перемножения смеси сигнала и помехи самой на себя: - результат умножения сигнал на сигнал - квадрат амплитуды сигнала - для узкополосного сигнала, сумма квадратов амплитуд сигнала (постоянная составляющая) и сумма комбинационных составляющих сигнала - для широкополосного сигнала; - результат умножения составляющих помехи самих на себя - сумма квадратов амплитуд помехи (постоянная составляющая) и сумма результата умножения составляющих помехи на составляющие помехи (комбинационные составляющие помехи); - результат умножения составляющих помехи на составляющие сигнала - сумма комбинационных составляющих сигнала и помехи. Результаты умножения фильтруются фильтром нижних частот и одновременно (параллельно) - полосовым фильтром. Полоса ФНЧ согласована с полосой сигнала, т.е. верхняя частота ФНЧ соответствует верхней частоте сигнала, нижняя частота ФНЧ близка к нулю. Верхняя частота полосового фильтра соответствует верхней частоте сигнала. Нижняя частота полосового фильтра выбирается минимально возможной и таким образом, чтобы значение коэффициента подавления суммы квадратов амплитуд сигнала и помехи был не меньше заданного уровня. Значение коэффициента подавления определяется на этапе разработки путем моделирования или экспериментальным путем. Таким образом, на выход полосового фильтра проходят только комбинационные составляющие помехи, сигнала и комбинационные составляющие помехи и сигнала разностной частоты. То есть где: Nss, Nsp - число гармонических составляющих сигнала и помехи, соответственно; Usi, Upi, ωsi, ωpi, ϕsi, ϕpi - амплитуды, частоты и фазы i-x составляющих сигнала и помехи, соответственно. Формируются в цифровом виде значения амплитуд результата перемножения смеси сигнала и помехи самой на себя, прошедшие полосовой фильтр и ФНЧ, путем преобразования в соответствующих аналого-цифровых преобразователях (АЦП) Считается, что во время вхождения в связь осуществлена синхронизация, и положение во времени начала сигнала известно с достаточной точностью для осуществления преобразования в АЦП. Число отсчетов, используемых для представления сигнала, определяется путем математического моделирования или экспериментальным путем. В вычислительном устройстве отсчеты - значения амплитуд результатов перемножения смеси сигнала и помехи самой на себя, прошедшие полосовой фильтр и ФНЧ, взятые в один и тот же момент времени, вычитаются одно из другого, полученные значения суммируются. Из полученного значения вычитается сумма разностей отсчетов, полученных по такому же алгоритму в течение временного интервала анализа помехи, который располагается непосредственно перед обрабатываемым информационным символом, и в котором содержится только помеха. Определяется тип сигнала в зависимости от используемого вида манипуляции путем сравнение полученного значения с соответствующим порогом. При использовании АМн осуществляется сравнение полученного значения с порогом, значение которого зависит от уровня используемых амплитуд сигналов и уточняется на этапе разработки и испытаний средств связи. При использовании ЧМн осуществляется сравнение амплитуд сигнала и помехи (помехи) одного из каналов с амплитудой помехи (сигнала и помехи) другого канала. Результаты оценки эффективности предлагаемого способа получены методом математического моделирования на ЭВМ с использованием системы MATLAB. В качестве источников помех рассматриваются радиопередающие средства, индустриальные помехи, вызванные работой различных электроустановок, а также атмосферные помехи. Данные помехи влияют на работу приемных устройств радиостанций. Помеха при моделировании представлена в виде совокупности гармонических колебаний со случайными значениями амплитуд (Upi) и фаз (ϕpi), которые распределены по нормальному (амплитуды) и равномерному (фазы) законам (см., например, учебное пособие «Основы теории радиотехнических систем». Учебное пособие. // В.И. Борисов, В.М. Зинчук, А.Е. Лимарев, Н.П. Мухин. Под ред. В.И. Борисова. Воронежский научно-исследовательский институт связи, 2004., стр. 51, 68) где Nsp - число гармонических составляющих помехи, используемых для ее представления (аппроксимации); ϕpi - частота i-й составляющей помехи; ϕpi - фаза i-ой составляющей помехи; Upi - амплитуда i-й составляющей помехи. При этом считается, что для помехи типа белый шум время существования составляющих помехи меньше, чем временной интервал взятия отсчетов в аналого-цифровом преобразователе (АЦП) (отсчеты - независимые случайные величины). Для узкополосных помех считается, что время существования любой составляющей помехи значительно превышает временной интервал взятия отсчетов в АЦП. Сравнение эффективности предлагаемого способа осуществлено с эффективностью способа-прототипа, для случая, когда оценка мощности помехи осуществлялась за один период изменения сигнала, то есть скорость передачи информации для предлагаемого способа и способа-прототипа одинакова. При моделировании использовались следующие исходные данные: - число реализаций - 103; - вид манипуляции - амплитудная манипуляция; - амплитуда сигнала: сигнал первого типа (предается 1) - амплитуда сигнала равна 1; сигнал второго типа (предается 0) - амплитуда сигнала равна 2; - значение порогового уровня, для которого осуществляется принятие решения о наличии сигнала первого или второго типа (если амплитуда отсчета не превышает значение порогового уровня, то принимается решение о наличии сигнала первого типа, в противном случае - принимается решение о наличии сигнала второго типа) - 1,8; - отношение значений верхней частоты полосового фильтра промежуточной частоты (ПЧ) к нижней частоте полосового фильтра ПЧ - 2; - число отсчетов за период: для помехи типа белый шум - 1; для узкополосной помехи - 10; - число ошибок при принятии решения о наличии сигнала первого или второго типа - 1*10-3. Результаты моделирования приведены в таблицах 1-4. Моделирование осуществлялось для узкополосного сигнала. Результаты моделирования для помехи типа белый шум приведены в таблице 1. В таблице 1 использованы следующие обозначения: Kп - коэффициент подавления комбинационных составляющих сигнала и помехи и помехи (в %); Nпер - число периодов гармонического сигнала; Nсп - число гармонических составляющих помехи, используемых для ее представления (аппроксимации); Qпс - отношение мощностей помехи и сигнала для предлагаемого способа, при котором число ошибок при принятии решения о наличии сигнала первого или второго типа - 1*10-3; Qтс - отношение мощностей помехи и сигнала для традиционного способа, при котором число ошибок при принятии решения о наличии сигнала первого или второго типа - 1*10-3; Qпс/Qтс - отношение мощностей помехи и сигнала для предлагаемого и традиционного способов. Анализ данных, приведенных в таблице 1, позволяет сделать вывод о том, что эффективность предлагаемого способа более чем в 3 раза превышает эффективность способа-прототипа при наличии помех типа белый шум, в зависимости от значений параметров способа. В таблице 2 приведены результаты оценки степени компенсации помех типа белый шум. В таблице 2 использованы следующие обозначения: Kп - коэффициент подавления комбинационных составляющих сигнала и помехи и помехи; Nпер - число периодов гармонического сигнала; Nсп - число гармонических составляющих помехи, используемых для ее представления (аппроксимации); Рбк - значение мощности помехи без компенсации; Рпк - значение мощности помехи после компенсации, при котором число ошибок при принятии решения о наличии сигнала первого или второго типа - 1*10-3; Рбк/Рпк - отношение значений мощностей помех без компенсации и после компенсации, соответственно. Из анализа данных, приведенных в таблице 2, следует, что снижение мощности помех типа белый шум за счет ее компенсации превышает 17, в зависимости от значений параметров способа. Результаты моделирования для узкополосных помех приведены в таблице 3. Обозначения, использованные в таблице 3, аналогичны обозначениям, использованным в таблице 1. Анализ данных, приведенных в таблице 3, позволяет сделать вывод о том, что эффективность предлагаемого способа практически в 5 раз превышает эффективность способа-прототипа в условиях наличия узкополосных помех. В таблице 4 приведены результаты оценки степени компенсации узкополосных помех. Обозначения, использованные в таблице 4, аналогичны обозначениям, использованным в таблице 2. Из анализа данных, приведенных в таблице 4, следует, что снижение мощности узкополосных помех за счет ее компенсации составляет свыше 37, в зависимости от значений параметров способа. Таким образом, использование предлагаемого способа позволяет значительно повысить помехоустойчивость средств связи за счет компенсации помехи путем оценки амплитуды комбинационных составляющих сигнала, помехи и сигнала и помехи в канале, в котором используется полосовой фильтр, а так же предварительной оценки суммы квадратов амплитуд составляющих помехи, осуществляемой в интервале времени, содержащем только помеху. Известны устройства подавления узкополосных помех, описанные в а.с. №1688416 Н04 В1/10, а также в патентах РФ №2034403 Н04В 1/10, №2204203 Н04В 1/10, устройство компенсации узкополосных помех, описанное в статье Ефимова В.П. «Оценка влияния нелинейного преобразования на помехоустойчивость приема в спутниковых сетях», опубликованной в журнале «Электромагнитные волны и электромагнитные системы», №1, т. 3, 1998 г, стр. 95, недостатком которых является невысокая степень подавления помех. Известны устройства подавления широкополосных помех, описанные в патентах RU 2115234, RU 2143783, RU 2190297, недостатком которых является невысокая степень подавления помех. Наиболее близким аналогом по технической сущности к предлагаемому является мультипликативное устройство защиты от узкополосных помех, описанное в патенте РФ №2287899 Н04 В1/10, принятое за прототип. Структурная схема устройства-прототипа приведена на фиг. 1, где обозначено: 1 - усилитель промежуточной частоты (УПЧ); 2 - разветвитель; 3 - блок умножения; 4 - полосовой фильтр; 9 - усилитель. Устройство-прототип содержит последовательно соединенные УПЧ 1, разветвитель 2, блок умножения 3, полосовой фильтр 4, усилитель 9, выход которого является выходом устройства, второй выход разветвителя 2 соединен со вторым входом блока умножения 3, вход УПЧ 1 является входом устройства. Устройство-прототип работает следующим образом. Входной сигнал, содержащий аддитивную смесь сигнала и помехи, который содержит N1 частотных составляющих сигнала и N2 частотных составляющих помех, с входа устройства поступает через УПЧ 1, где осуществляется его усиление, на разветвитель 2, где смесь сигнала и помехи разделяется на две одинаковые составляющие, которые поступают на соответствующие входы умножителя 3. Результат перемножения аддитивной смеси сигнала и помехи самой на себя - сумма квадратов амплитуд помехи и квадратов амплитуды сигнала, комбинационные составляющие помехи, сигнала и помехи разностной частоты поступает на полосовой фильтр 4. Полоса фильтра выбирается таким образом, что полосовой фильтр 4 пропускает сигнал в диапазоне частот fн…fв, где: Обозначения, использованные в формулах (5), (6) приведены выше. То есть, полосовой фильтр 4 пропускает комбинационные составляющие помехи и сигнала разностной частоты и комбинационные составляющие сигнала разностной частоты где UC1, UC2, UP, ωC1, ωC2, ωP, ϕC1 ϕC2, ϕP - амплитуда, частота и фаза частотных составляющих сигнала и узкополосной помехи, соответственно. Таким образом, через полосовой фильтр 4 проходят комбинационные составляющие помехи и сигнала разностной частоты и не проходят сумма квадратов амплитуд помехи и квадратов амплитуды сигнала и комбинационные составляющие помехи, поскольку они находятся вне его полосы пропускания. В случае присутствия на входе приемника только сигнала и узкополосной помехи результирующий сигнал на выходе устройства умножения 3 может быть записан следующим образом: С использованием предположения, что амплитуды частотных составляющих сигнала одинаковы и амплитуды частотных составляющих помехи одинаковы, с учетом того, что комбинационные составляющие помехи отфильтровываются, и, проведя усреднение при условии, что фазы частотных составляющих помехи случайны, после соответствующего преобразования выражения (8), выражение для сигнала на выходе полосового фильтра 4 записывается в виде: В случае использования амплитудной манипуляции сигнала, в качестве показателя, характеризующего степень различения двух сигналов с различными амплитудами, может использоваться отношение амплитуд этих сигналов на выходе полосового фильтра 4. С использованием выражения (9) получено После несложного преобразования окончательное выражение для отношения амплитуд этих сигналов на выходе полосового фильтра 4, записывается в виде Из выражения (11) следует, что при стремлении мощности помехи к бесконечности отношение амплитуд этих сигналов на выходе полосового фильтра 4 стремится к и не зависит от уровня помехи в пределах динамического диапазона приемника. При наличии на входе приемника не только узкополосных помех или когда разность частот между узкополосными помехами превышает нижнее значение полосы пропускания полосового фильтра 4, выражение для отношения амплитуд сигналов на выходе полосового фильтра 4 может быть получено с использованием выражений (9) и (10) То есть ничем не отличается от случая использования традиционных схем обработки сигналов (см. например Г. Ван Трис «Теория обнаружения, оценок и модуляции, Т. 1, М. «Сов. радио», 1972, стр. 39, 53). Недостатком устройства-прототипа является то, что данное устройство обеспечивает эффективное подавление узкополосных помех только при наличии информации о значениях верхней и нижних частотах помехи, и обладает низкой эффективностью в противном случае. Задача - расширение функциональных возможностей за счет повышения эффективности подавления узкополосных помех для случая, когда информация о значениях верхней и нижних частотах помехи отсутствует, а так же обеспечение компенсации помех типа белый шум. Для решения поставленной задачи в устройство, содержащее последовательно соединенные усилитель промежуточной частоты (УПЧ), разветвитель, блок умножения и полосовой фильтр, при этом второй выход разветвителя соединен со вторым входом блока умножения, вход УПЧ является входом устройства, согласно изобретению, введены последовательно соединенные первый аналого-цифровой преобразователь (АЦП) и вычислительное устройство, выход которого является выходом устройства, кроме того, последовательно соединенные фильтр нижних частот (ФНЧ) и второй АЦП, выход которого соединен со вторым входом вычислительного устройства, вход первого АЦП подсоединен к выходу полосового фильтра, вход ФНЧ подсоединен к выходу блока умножения. Структурная схема заявляемого устройства приведена на фиг. 2, где обозначено: 1 - усилитель промежуточной частоты (УПЧ); 2 - разветвитель; 3 - блок умножения; 4 - полосовой фильтр; 5, 6 - первый и второй аналого-цифровой преобразователь (АЦП); 7 - вычислительное устройство (ВУ); 8 - фильтр нижних частот (ФНЧ). Предлагаемое устройство содержит последовательно соединенные УПЧ 1, разветвитель 2, блок умножения 3, полосовой фильтр 4, первый АЦП 5 и вычислительное устройство 7, выход которого является выходом заявляемого устройства. Кроме того, второй выход разветвителя 2 подсоединен ко второму входу блока умножения 3, выход которого через последовательно соединенные фильтр нижних частот 8 и второй АЦП 6 соединен со вторым входом вычислительного устройства 7, вход УПЧ 1 является входом заявляемого устройства. Предлагаемое устройство работает следующим образом. Используется гармонический (узкополосный) сигнал или широкополосный сигнал. Вид модуляции - амплитудная манипуляция (АМн) или частотная манипуляция (ЧМн). Информация передается в виде информационных символов, каждый из которых содержит несколько сигналов различных типов, в зависимости от используемого вида манипуляции. Перед первым символом и между символами формируется временной интервал (интервал анализа помехи), который не содержит сигнал, и который используется для анализа значений параметров помехи. Каждый информационный символ может содержать несколько сигналов первого и второго типа. Для АМн - сигнал первого типа - сигнал с первым значением амплитуды, сигнал второго типа - сигнал со вторым значением амплитуды. Для ЧМн - сигнал первого типа - сигнал, передаваемый на частоте №1, сигнал второго типа - сигнал, передаваемый на частоте №2. Длительности информационного символа и интервала анализа помехи определяются на этапе разработки в соответствии с заданными техническими требованиями к средству связи, одним из которых является уровень качества передачи информации. Под заданным уровнем качества в данном случае понимается передача информации с вероятностью не меньше заданного уровня или с числом ошибок, не превосходящим заранее заданное значение. В случае использования ЧМн, осуществляется одинаковая обработка в каждом канале. При принятии решения осуществляется сравнение амплитуд сигнала и помехи (помехи) одного из каналов с амплитудой помехи (сигнала и помехи) другого канала. Для АМн сравнение амплитуды смеси сигнала и помехи осуществляется с порогом, значение которого зависит от уровня используемых амплитуд сигналов и уточняется на этапе разработки и испытаний средств связи. Аддитивная смесь помехи и сигнала усиливается в УПЧ 1 и поступает на разветвитель 2, где эта смесь разделяется на две одинаковые составляющие, которые поступают на соответствующие входы умножителя 3. Результат перемножения смеси сигнала и помехи самой на себя: - результат умножения сигнала на сигнал: сумма квадратов амплитуд сигнала и сумма результата умножения составляющих сигнала на составляющие сигнала (комбинационные составляющие сигнала) - для широкополосного сигнала, или квадрат амплитуды сигнала - для узкополосного сигнала (постоянная составляющая); - результат умножения составляющих помехи самих на себя: сумма квадратов амплитуд помехи (постоянная составляющая), сумма результата умножения составляющих помехи на составляющие помехи (комбинационные составляющие помехи); - результат умножения составляющих помехи на составляющие сигнала (комбинационные составляющие сигнала и помехи). Эти результаты умножения поступают на полосовой фильтр 4 и на ФНЧ 8. Полоса полосового фильтра 4 согласована с полосой сигнала, т.е. значение верхней частоты полосового фильтра 4 соответствует значению верхней частоты сигнала. Нижняя частота полосового фильтра 4 выбирается минимально возможной и, таким образом, чтобы значение коэффициента подавления суммы квадратов амплитуд сигнала и помехи был не меньше заданного уровня. Данное значение коэффициента подавления определяется на этапе разработки путем моделирования или экспериментальным путем. Таким образом, на выход полосового фильтра 4 проходят только комбинационные составляющие помехи, сигнала и комбинационные составляющие помехи и сигнала разностной частоты. То есть: где Nss, Nsp - число гармонических составляющих сигнала и помехи, соответственно; Usi, Upi, ωsi, ωpi, ϕsi, ϕpi - амплитуды, частоты и фазы i-x составляющих сигнала и помехи соответственно. Полоса ФНЧ 8 согласована с полосой сигнала. На выход ФНЧ 8 проходит результат перемножения смеси сигнала и помехи самой на себя - сумма квадратов амплитуд сигнала и помехи и комбинационные составляющие сигнала, помехи сигнала и помехи разностной частоты. Считается, что во время вхождения в связь осуществлена синхронизация, и положение во времени начала сигнала известно с достаточной точностью. Сигнал - результат перемножения смеси сигнала и помехи самой на себя, прошедший на выход ФНЧ 8, поступает на вход второго АЦП 6, где формируются в цифровом виде значения амплитуд, которые поступают на второй вход ВУ 7. Комбинационные составляющие помехи и комбинационные составляющие помехи и сигнала, прошедшие через полосовой фильтр 4, поступают на вход первого АЦП 5, где формируются в цифровом виде отсчеты, которые поступают на первый вход ВУ 7. Число отсчетов, используемых для представления сигнала, определяется путем математического моделирования или экспериментальным путем. В ВУ 7 значения этих отсчетов вычитаются одно из другого, полученные значения суммируются. В течение интервала анализа помехи, который расположен непосредственно перед обрабатываемым информационным символом, осуществляется аналогичная обработка помехи. То есть на второй вход ВУ 7 поступают с выхода АЦП 6 в цифровом виде отсчеты результата перемножения помехи самой на себя. На первый вход ВУ 7 с выхода АЦП 5 поступают в цифровом виде отсчеты суммы комбинационных составляющих помехи. В ВУ 7 определяется разность этих значений - сумма квадратов амплитуд составляющих помехи и амплитуды некомпенсированных комбинационных составляющих помехи. Некомпенсированные комбинационные составляющих помехи - это разность между отсчетами комбинационными составляющими помехи, прошедшими на выход ФНЧ 8 и отсчетами комбинационных составляющих помехи, прошедшими на выход полосового фильтра 4. Полученные значения разностей суммируются. Данное значение запоминается в ВУ 7. При обработке смеси сигнала и помехи из суммарных значений разностей амплитуд перемноженной самой на себя смеси сигнала помехи и значений амплитуд комбинационных составляющих помехи, сигнала и комбинационных составляющих помехи и сигнала вычитается запомненное значение суммы квадратов амплитуд составляющих помехи и значений амплитуды некомпенсированных комбинационных составляющих помехи. Иллюстративный пример, поясняющий работу устройства, приведен на фиг. 3. Здесь приведены амплитудно-частотные характеристики (АЧХ) полосового фильтра 4 и ФНЧ 8. Вычислительное устройство 7 может быть выполнено в виде программируемой логической интегральной схемы (ПЛИС), и реализован, например, на микросхеме XC2V3000-6FG676I или ПЛИС серии XCV400 фирмы Xilinx, или в виде микропроцессорных устройств (или в виде единого микропроцессорного устройства) с соответствующим программным обеспечением, например процессора серии TMS320VC5416 фирмы Texas Instruments; Первый АЦП 5 и второй АЦП 6 могут быть реализованы на микросхеме THS1403IPFB. В качестве источников помех рассматриваются любые радиопередающие средства, индустриальные помехи, вызванные работой различных электроустановок, а также атмосферные помехи. Данные помехи влияют на работу приемных устройств радиостанций. Помеха при моделировании представлена в виде совокупности гармонических колебаний со случайными значениями амплитуд (Upi) и фаз (ϕpi), которые распределены по нормальному (амплитуды) и равномерному (фазы) законам (см., например, учебное пособие «Основы теории радиотехнических систем». Учебное пособие. // В.И. Борисов, В.М. Зинчук, А.Е. Лимарев, Н.П. Мухин. Под ред. В.И. Борисова. Воронежский научно-исследовательский институт связи, 2004., стр. 51, 68). Аналитическое описание помехи приведено выше. При этом считается, что для помехи типа белый шум время существования составляющих помехи меньше чем временной интервал взятия отсчетов в АЦП. Для узкополосных помех считается, что время существования любой составляющей помехи значительно превышает временной интервал взятия отсчетов в АЦП. Результаты оценки эффективности предлагаемого способа получены методом математического моделирования на ЭВМ с использованием системы MATLAB. Результаты моделирования приведены в таблицах 1-4 описания. Из анализа данных, приведенных в таблицах 1-4, следует, что обеспечено расширение функциональных возможностей, за счет повышения эффективности подавления узкополосных помех, для случая, когда информация о значениях верхней и нижних частотах помехи отсутствует, а так же повышена эффективность компенсации помех типа белый шум.



















