патент
№ RU 2556885
МПК H04N5/367

СПОСОБ И СИСТЕМА КОРРЕКЦИИ ДЕФЕКТНЫХ ПИКСЕЛЕЙ ИЗОБРАЖЕНИЯ

Авторы:
Гусев Владимир Валентинович Решетникова Юлия Борисовна Кравченко Денис Борисович
Все (8)
Номер заявки
2014124497/07
Дата подачи заявки
17.06.2014
Опубликовано
20.07.2015
Страна
RU
Как управлять
интеллектуальной собственностью
Чертежи 
4
Реферат

Изобретение относится к области обработки дискретной информации в битовом потоке, а именно к способу/системe коррекции дефектных пикселей изображения. Техническим результатом изобретения является обеспечение карты дефектных пикселей меньшего размера, что позволяет сократить объем памяти для хранения карты дефектных пикселей. Предложен cпособ коррекции дефектных пикселей изображения, в котором формируют в памяти карту дефектных пикселей, при этом определяют координаты каждого дефектного пикселя матрицы видеосенсора; с помощью кодера определяют и сохраняют в память приращения, а именно расстояния между соседними дефектными пикселями, отсортированными в порядке возрастания номера пикселя в матрице, причем приращения разделяют их на одну или несколько групп в битах, а приращения занимают переменное число бит и выражены в количестве пикселей, последовательно обрабатываемых по строкам, начиная с верхнего левого угла матрицы и заканчивая правым нижним углом. Принимают декодером устройства коррекции изображения входное растровое видеоизображение в виде потока кадров; с помощью декодера считывают из карты дефектных пикселей приращение, если текущий пиксель кадра входного видеоизображения обычный и не требует коррекции, тогда его записывают в кадр выходного изображения, а если текущий пиксель дефектный и требует коррекции, тогда его передают в блок коррекции дефектных пикселей для коррекции и записывают скорректированное значение дефектного пикселя в кадр выходного видеоизображения. 2 н. и 10 з.п. ф-лы, 5 ил.

Формула изобретения

1. Способ коррекции дефектных пикселей изображения, в котором формируют в памяти карту дефектных пикселей, при этом определяют координаты каждого дефектного пикселя матрицы видеосенсора; с помощью кодера определяют и сохраняют в память приращения, а именно расстояния между соседними дефектными пикселями, отсортированными в порядке возрастания номера пикселя в матрице, причем приращения разделяют их на одну или несколько групп в битах, при этом приращения занимают переменное число бит и выражены в количестве пикселей, последовательно обрабатываемых по строкам, начиная с верхнего левого угла матрицы и заканчивая правым нижним углом; принимают от внешнего источника на вход декодера устройства коррекции изображения входное растровое видеоизображение в виде потока кадров; с помощью декодера считывают из карты дефектных пикселей приращение и для каждого пикселя кадра входного видеоизображения определяют необходимость его коррекции, при этом, если текущий пиксель кадра входного видеоизображения обычный и не требует коррекции, тогда его записывают в кадр выходного изображения, а если текущий пиксель дефектный и требует коррекции, тогда его передают в блок коррекции дефектных пикселей, с помощью которого корректируют дефектный пиксель и записывают скорректированное значение дефектного пикселя в кадр выходного видеоизображения.

2. Способ по п.1, отличающийся тем, что определяют и сохраняют в память приращения в двоичном виде с кодировкой длин приращений в битах.

3. Способ по п.1, отличающийся тем, что определяют и сохраняют в память приращения, при этом разделяют их на одну или несколько групп фиксированной длины в битах, причем длины групп задают заранее одинаковыми для всех приращений, а количество групп для каждого приращения определяется минимально необходимой длиной приращения в битах.

4. Способ по п.3, отличающийся тем, что разделяют приращения на минимально необходимое количество групп, при этом в каждой группе выделяют один управляющий бит.

5. Способ по п.3, отличающийся тем, что минимально необходимую длину приращения в битах кодируют по методу Хаффмана.

6. Способ по п.1, отличающийся тем, что определяют и сохраняют в память приращения, при этом разделяют их на одну или несколько групп адаптивной длины, которая для каждой группы заранее не фиксирована и определяется анализом общего набора дефектных пикселей в матрице, причем количество групп для каждого приращения определяется минимально необходимой длиной приращения в битах, и в каждой группе выделяется один управляющий бит.

7. Система коррекции дефектных пикселей изображения, содержащая память и устройство коррекции изображения, которое включает в себя соединенные между собой блок коррекции дефектных пикселей, кодер и декодер, соединенные с памятью, причем кодер выполнен с возможностью получения от пользователя координат дефектных пикселей матрицы видеосенсора и определения и сохранения в память приращений, а именно расстояний между соседними дефектными пикселями, отсортированными в порядке возрастания номера пикселя в матрице, причем разделения приращений на одну или несколько групп в битах, при этом приращения занимают переменное число бит и выражены в количестве пикселей, последовательно обрабатываемых по строкам, начиная с верхнего левого угла матрицы и заканчивая правым нижним углом, а декодер выполнен с возможностью приема от внешнего источника входного растрового видеоизображения в виде потока кадров, с возможностью считывания из карты дефектных пикселей приращения и для каждого пикселя кадра входного видеоизображения определения необходимости его коррекции, при этом, если текущий пиксель кадра входного видеоизображения обычный и не требует коррекции, тогда записи его в кадр выходного изображения, а если текущий пиксель дефектный и требует коррекции, тогда передачи его в блок коррекции дефектных пикселей, выполненный с возможностью коррекции дефектного пикселя и записи скорректированного значения дефектного пикселя в кадр выходного видеоизображения.

8. Система по п.7, отличающаяся тем, что кодер выполнен с возможностью определения и сохранения приращения в двоичном виде с кодировкой длин приращений в битах.

9. Система по п.7, отличающаяся тем, что кодер выполнен с возможностью определения и сохранения в память приращений, при этом разделения их на одну или несколько групп фиксированной длины в битах, причем задания длин групп заранее одинаковыми для всех приращений, и определения количества групп для каждого приращения минимально необходимой длиной приращения в битах.

10. Система по п.9, отличающаяся тем, что кодер выполнен с возможностью разделения приращений на минимально необходимое количество групп, при этом в каждой группе выделения одного управляющего бита.

11. Система по п.9, отличающаяся тем, что кодер выполнен с возможностью кодирования по методу Хаффмана длин приращений в битах.

12. Система по п.7, отличающаяся тем, что кодер выполнен с возможностью определения и сохранения в память приращений, при этом разделения их на одну или несколько групп адаптивной длины, которая для каждой группы заранее не фиксирована и определяется анализом общего набора дефектных пикселей в матрице, причем количество групп для каждого приращения определяется минимально необходимой длиной приращения в битах, и в каждой группе выделяется один управляющий бит.

Описание

[2]

Изобретение относится к области обработки дискретной информации в битовом потоке, а именно к способам и системам коррекции дефектных пикселей изображения, и может быть использовано для обработки любых изображений, получаемых с помощью видеосенсоров.

[3]

В последнее время наблюдается активное развитие технологий, позволяющих устранить дефекты изображений, вносимых дефектами видеосенсоров. Одним из таких дефектов являются дефектные пиксели. Причиной появления дефектных пикселей является неисправность элемента матрицы видеосенсора. Изготовление матрицы видеосенсора - процесс дорогой и трудоемкий, проверить ее на неисправность можно лишь после полного изготовления, а обеспечить 100% исправность всех пикселей очень сложно, поэтому производители стараются отбраковывать продукцию как можно реже, относя ее по результатам тестов к одному из классов качества, допуская разный процент дефектных пикселей в различных классах качества видеосенсоров. Кроме того, дефектные пиксели могут образовываться и в готовом изделии по истечении некоторого времени эксплуатации.

[4]

Для решения вышеупомянутой задачи коррекции дефектных пикселей изображения, получаемого с видеосенсоров, применяют различные способы коррекции дефектных пикселей, однако в этих существующих способах очень небольшое внимание уделяется проблеме оптимизации хранения координат дефектных пикселей матрицы видеосенсора в виде карты дефектных пикселей.

[5]

Известен способ (заявка WO 2012063265 А2) коррекции дефектных пикселей изображения, в котором карту дефектных пикселей формируют в виде битовой карты, содержащей 0 и 1, где 0 обозначает нормальный пиксель, 1 обозначает дефектный пиксель.

[6]

Недостатком этого способа является то, что в нем формируют карту дефектных пикселей большого объема, так как в ней кроме информации о дефектных пикселях содержится также информация о нормальных пикселях, для хранения которой требуется большой объем памяти.

[7]

Наиболее близким к заявленному изобретению является способ коррекции дефектных пикселей изображения, описанный в заявке WO 2012116862 А1, в котором карту дефектных пикселей формируют в двух вариантах. Если дефектных пикселей меньше тысячи, тогда карту дефектных пикселей формируют в виде битовой карты, содержащей 0 и 1, где 0 обозначает нормальный пиксель, 1 обозначает дефектный пиксель. Если дефектных пикселей больше тысячи, тогда карту дефектных пикселей формируют в виде координат {x,y}, где x, y - координаты дефектного пикселя. Данный способ выбран в качестве прототипа заявленного изобретения.

[8]

Недостатком способа коррекции дефектных пикселей изображения прототипа является большой объем памяти, требуемой для хранения карты дефектных пикселей, так как в варианте формирования битовой карты необходимо хранить информацию не только о дефектных, но также и о нормальных пикселях, а в варианте формирования координат дефектных пикселей под значение координат отводится количество бит, равное максимальной разрядности ширины кадра изображения для х и высоты для y.

[9]

Задачей заявленного изобретения является создание способа и системы коррекции дефектных пикселей изображения, формирующих карту дефектных пикселей меньшего размера, что позволяет сократить объем памяти, требуемой для хранения карты дефектных пикселей, а значит повысить эффективность использования памяти для хранения информации о дефектных пикселях.

[10]

Поставленная задача решена путем создания способа коррекции дефектных пикселей изображения, в котором формируют в памяти карту дефектных пикселей, при этом определяют координаты каждого дефектного пикселя матрицы видеосенсора; с помощью кодера определяют и сохраняют в память приращения, а именно расстояния между соседними дефектными пикселями, отсортированными в порядке возрастания номера пикселя в матрице, причем приращения разделяют их на одну или несколько групп в битах, при этом приращения занимают переменное число бит и выражены в количестве пикселей, последовательно обрабатываемых по строкам, начиная с верхнего левого угла матрицы и заканчивая правым нижним углом; принимают от внешнего источника на вход декодера устройства коррекции изображения входное растровое видеоизображение в виде потока кадров; с помощью декодера считывают из карты дефектных пикселей приращение и для каждого пикселя кадра входного видеоизображения определяют необходимость его коррекции, при этом, если текущий пиксель кадра входного видеоизображения обычный и не требует коррекции, тогда его записывают в кадр выходного изображения, если текущий пиксель дефектный и требует коррекции, тогда его передают в блок коррекции дефектных пикселей, с помощью которого корректируют дефектный пиксель и записывают скорректированное значение дефектного пикселя в кадр выходного видеоизображения.

[11]

В предпочтительном варианте осуществления способа определяют и сохраняют в память приращения в двоичном виде с кодировкой длин приращений в битах.

[12]

В предпочтительном варианте осуществления способа определяют и сохраняют в память приращения, при этом разделяют их на одну или несколько групп фиксированной длины в битах, причем длины групп задают заранее одинаковыми для всех приращений, а количество групп для каждого приращения определяется минимально необходимой длиной приращения в битах.

[13]

В предпочтительном варианте осуществления способа разделяют приращения на минимально необходимое количество групп, при этом в каждой группе выделяют один управляющий бит.

[14]

В предпочтительном варианте осуществления способа минимально необходимую длину приращения в битах кодируют по методу Хаффмана.

[15]

В предпочтительном варианте осуществления способа определяют и сохраняют в память приращения, при этом разделяют их на одну или несколько групп адаптивной длины, которая для каждой группы заранее не фиксирована и определяется анализом общего набора дефектных пикселей в матрице, причем количество групп для каждого приращения определяется минимально необходимой длиной приращения в битах, и в каждой группе выделяется один управляющий бит.

[16]

Поставленная задача решена также путем создания системы коррекции дефектных пикселей изображения, содержащей память и устройство коррекции изображения, которое включает в себя соединенные между собой блок коррекции дефектных пикселей, кодер и декодер, соединенные с памятью, причем кодер выполнен с возможностью получения от пользователя координат дефектных пикселей матрицы видеосенсора и определения и сохранения в память приращений, а именно расстояний между соседними дефектными пикселями, отсортированными в порядке возрастания номера пикселя в матрице, причем разделения приращений на одну или несколько групп в битах, при этом приращения занимают переменное число бит и выражены в количестве пикселей последовательно обрабатываемых по строкам, начиная с верхнего левого угла матрицы и заканчивая правым нижним углом, а декодер выполнен с возможностью приема от внешнего источника входного растрового видеоизображения в виде потока кадров, с возможностью считывания из карты дефектных пикселей приращения и для каждого пикселя кадра входного видеоизображения определения необходимости его коррекции, при этом, если текущий пиксель кадра входного видеоизображения обычный и не требует коррекции, тогда записи его в кадр выходного изображения, а если текущий пиксель дефектный и требует коррекции, тогда передачи его в блок коррекции дефектных пикселей, выполненный с возможностью коррекции дефектного пикселя и записи скорректированного значения дефектного пикселя в кадр выходного видеоизображения.

[17]

В предпочтительном варианте осуществления системы кодер выполнен с возможностью определения и сохранения приращения в двоичном виде с кодировкой длин приращений в битах.

[18]

В предпочтительном варианте осуществления системы кодер выполнен с возможностью определения и сохранения в память приращений, при этом разделения их на одну или несколько групп фиксированной длины в битах, причем задания длин групп заранее одинаковыми для всех приращений, и определения количества групп для каждого приращения минимально необходимой длиной приращения в битах.

[19]

В предпочтительном варианте осуществления системы кодер выполнен с возможностью разделения приращений на минимально необходимое количество групп, при этом в каждой группе выделения одного управляющего бита.

[20]

В предпочтительном варианте осуществления системы кодер выполнен с возможностью кодирования по методу Хаффмана длин приращений в битах.

[21]

В предпочтительном варианте осуществления системы кодер выполнен с возможностью определения и сохранения в память приращений, при этом разделения их на одну или несколько групп адаптивной длины, которая для каждой группы заранее не фиксирована и определяется анализом общего набора дефектных пикселей в матрице, причем количество групп для каждого приращения определяется минимально необходимой длиной приращения в битах, и в каждой группе выделяется один управляющий бит.

[22]

Для лучшего понимания заявленного изобретения далее приводится его подробное описание с соответствующими графическими материалами.

[23]

Фиг. 1. Структурная схема системы коррекции дефектных пикселей изображения согласно изобретению.

[24]

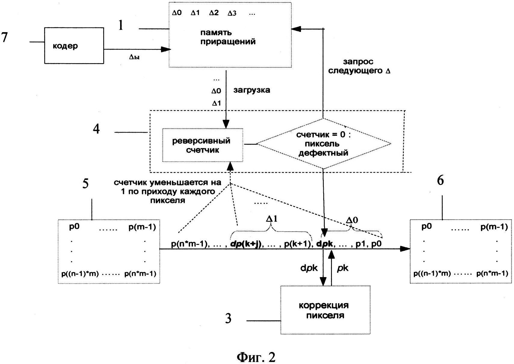
Фиг. 2. Функциональная схема системы коррекции дефектных пикселей изображения согласно изобретению.

[25]

Фиг. 3. Схема формирования карты дефектных пикселей в группах разрядностью 8 бит согласно изобретению.

[26]

Фиг. 4. Схема формата записи в память длин и значений приращений согласно изобретению.

[27]

Фиг. 5. Схема формирования длин и значений приращений согласно изобретению.

[28]

Рассмотрим более подробно варианты выполнения заявленных способа и системы формирования карты дефектных пикселей изображения (Фиг. 1-5).

[29]

Существующие способы и системы коррекции изображений, содержащих дефектные пиксели, осуществляют коррекцию дефектных пикселей кадра изображения, координаты которых хранят во внутренней памяти системы и определяют пользователем. Определение дефектных пикселей производят путем тестирования матрицы (например, экспозицией), на которой отображается изображение. В заявленном изобретении для хранения данных о дефектных пикселях используют приращения (расстояние между дефектными пикселями, отсортированными в порядке возрастания номера пикселя в кадре). Например, максимальная разрядность приращения для кадра разрешения UltraHD_8k (7680×4320 пикселей) 25 бит.

[30]

В заявленном изобретении формирование карты дефектных пикселей могут осуществлять тремя вариантами: посредством хранения в группах разрядностью N бит (вариант 1), посредством хранения длин и значений приращений (вариант 2) и посредством хранения приращений в ячейках адаптивной разрядности (вариант 3).

[31]

Рассмотрим первый вариант формирования карты дефектных пикселей изображения, в котором информацию о дефектных пикселях матрицы видеосенсора сохраняют в группах разрядностью N бит. Хранение в группах разрядностью N бит - это вариант хранения приращений, основанный на разбиении приращений на группы разрядностью N бит, где старший бит является управляющим (бит равен 0 - группа не последняя, 1 - группа является последней). Если минимально необходимая длина приращения в битах при двоичном кодировании меньше или равна N-1 бит, то в старший бит записывают 1, а в оставшиеся N-1 бит значение приращения. Если минимально необходимая длина приращения в битах при двоичном кодировании больше N-1 бит, то приращение кодируют группами по N бит, где N-1 бит отводят под значение приращения, а 1 бит управляющий. Например, для разрешения изображения UltraHD (3840×2160 пикселей) и 4096 дефектных пикселей в изображении при значении N=8 достигается высокий коэффициент сжатия, при этом чтение из памяти осуществляют побайтово. Так, например, если минимальная необходимая длина приращения в битах при двоичном кодировании значения 100 - 7 бит, значит, для хранения этого приращения потребуется 8 бит. Если значение приращения равно 400, то минимально необходимая длина приращения в битах при двоичном кодировании равна 9 бит, соответственно для хранения этого приращения потребуется 16 бит.

[32]

Достоинства этого варианта состоят в простоте реализации и отсутствии необходимости хранения дополнительной информации о кодировке. Коэффициент сжатия карты дефектных пикселей в заявленном способе по первому варианту составляет от 37% по сравнению с картой дефектных пикселей в способах аналога и прототипа, формируемой путем сохранения координат {x,y} дефектных пикселей.

[33]

Для восстановления данных о дефектных пикселях из потока считывают N бит. Младшие (N-1) бит записывают в младшие разряды приращения. Затем считывают следующие N бит, и, если старший бит равен 0, то младшие (N-1) бит записывают в приращение со сдвигом на (N-1) влево, а если старший бит равен 1, то текущее приращение завершилось и текущие 8 бит - это начало следующего приращения.

[34]

Второй вариант формирования карты дефектных пикселей, в котором сохраняют длины и значения приращений, заключается в следующем. Хранение длин и значений приращений - это вариант хранения приращений, основанный на сжатии данных по методу Хаффмана. Все приращения разбивают на 16 групп, при этом все группы кроме последней соответствуют определенной минимально необходимой длине приращения в битах при двоичном кодировании, а последняя группа соответствует максимальной разрядности приращения для текущего разрешения изображения. Минимально необходимые длины приращений в битах при двоичном кодировании кодируют по методу Хаффмана. Далее в память записывают сначала код длины приращений по Хаффману, затем значение приращений. Значение приращения записывают без старшего бита, так как он всегда равен 1, кроме случаев, когда приращение записывают из группы с максимальной разрядностью.

[35]

Коэффициент сжатия карты дефектных пикселей в заявленном способе по второму варианту составляет от 40% по сравнению с картой дефектных пикселей в способах аналога и прототипа, формируемой путем сохранения координат {x,y} дефектных пикселей.

[36]

Для восстановления информации о дефектных пикселях во втором варианте требуется хранить дополнительные параметры - массив из 48 элементов по 4 бит, значение максимальной разрядности - 1 элемент 5 бит. Для восстановления длин приращений в битах во втором варианте может использоваться алгоритм описанный K.-L. Chung Information Processing Letters 61 (1997) 97-99 «Efficient Huffman decoding». Далее задают количество бит, равное (длине приращения 1) для всех длин приращений, за исключением группы с максимальной разрядностью, для которой задают количество бит, равное максимальной разрядности приращения для текущего разрешения изображения.

[37]

В третьем варианте формирования карты дефектных пикселей приращения сохраняют в группах адаптивной разрядности. Сохранение приращений в группах адаптивной разрядности - это вариант сохранения приращений, основанный на разбиении приращений на группы, где разрядности групп подбирают для каждого конкретного множества значений приращений, с целью минимизации итогового объема памяти. Множество значений приращений задают при калибровке дефектных пикселей, что позволяет использовать метод полного перебора для поиска оптимальной разрядности групп. Однако можно предложить последовательный алгоритм поиска близкой к оптимальной разрядности.

[38]

Сжатие и восстановление данных аналогично первому варианту хранения в группах разрядностью N бит, однако требуется хранить дополнительные данные для восстановления информации. Для восстановления данных о дефектных пикселях хранится последовательность групп бит, каждая группа начинается с 1, затем идет количество нулей, равное разрядности группы. Например, если методом перебора было установлено, что оптимальным разбиением на группы является набор групп по 15, 7, 3 бит, то код запишется следующим образом 1000000000000000100000001000.

[39]

Коэффициент сжатия карты дефектных пикселей в заявленном способе по третьему варианту составляет от 42% по сравнению с картой дефектных пикселей в способах аналога и прототипа, формируемой путем сохранения координат {x,y} дефектных пикселей.

[40]

На Фиг. 1-2 представлена структурная схема заявленной системы коррекции дефектных пикселей изображения. Система содержит память 1 и устройство 2 коррекции изображения, которое включает в себя соединенные между собой блок 3 коррекции дефектных пикселей, декодер 4 и кодер 7, соединенные с памятью 1. Сначала формируют в памяти 1 карту дефектных пикселей, при этом посредством пользователя путем тестирования матрицы (например, экспозицией) определяют координаты каждого дефектного пикселя матрицы видеосенсора, после чего с помощью кодера 7 определяют и сохраняют в память 1 приращения, а именно расстояния между соседними дефектными пикселями, отсортированными в порядке возрастания номера пикселя в матрице видеосенсора, при этом приращения занимают переменное число бит и выражены в количестве пикселей, последовательно обрабатываемых по строкам, начиная с верхнего левого угла матрицы и заканчивая правым нижним углом. Входное растровое видеоизображение 5 в виде потока кадров принимают от внешнего источника на вход устройства 2 коррекции изображения. Из карты дефектных пикселей с помощью декодера 4 считывают приращение и для каждого пикселя кадра входного изображения определяют необходимость его коррекции. Если текущий пиксель кадра входного изображения обычный и не требует коррекции, тогда его записывают в кадр выходного видеоизображения 6, если текущий пиксель дефектный и требует коррекции, тогда его передают в блок 3 коррекции дефектных пикселей, из которого исправленное значение дефектного пикселя записывают в кадр выходного видеоизображения 6.

[41]

На Фиг. 2 представлена функциональная схема заявленной системы коррекции дефектных пикселей изображения. Входное растровое видеоизображение 5 в виде потока кадров принимают от источника видеоизображения и передают на вход устройства 2 коррекции изображения. Из карты дефектных пикселей, содержащейся в памяти 1, считывают приращение и записывают его в реверсивный счетчик 4. Счетчик 4 декрементируют по каждому входному пикселю. Значение счетчика 4, равное нулю, означает, что текущий пиксель дефектный, и его с помощью декодера передают в блок 3 коррекции дефектных пикселей. С помощь блока 3 коррекции исправляют дефектный пиксель. Далее из карты дефектных пикселей считывают новое приращение и записывают в счетчик 4. При создании карты дефектных пикселей следят за тем, чтобы последний дефектный пиксель был вне кадра или совпадал с последним пикселем в кадре. Для следующего кадра изображения процесс повторяют с начала карты дефектных пикселей.

[42]

На Фиг. 3 показан пример хранения в группах разрядностью 8 бит. Если разрядность приращения меньше или равна 7 бит, то в старший бит записывают 1, а в оставшиеся 7 бит значение приращения. Если разрядность приращения больше 7 бит, то приращение делят на группы по 8 бит, где 7 бит отводится под значение приращение, а 1 бит зарезервирован под флаг начала приращения.

[43]

На Фиг. 4 показан формат записи данных в память 1 во втором варианте формирования карты дефектных пикселей, в котором сохраняют длины и значения приращений. Префикс - разрядность приращения, закодированная по методу Хаффмана.

[44]

На Фиг. 5 показан пример хранения длин и значений приращений. Сначала в память 1 записывают минимально необходимую длину приращения в битах при двоичном кодировании, закодированную по методу Хаффмана, а далее значение приращения без старшего бита, кроме случаев, когда приращение записывают из группы с максимальной разрядностью.

[45]

Хотя описанные выше варианты выполнения изобретения были изложены с целью иллюстрации настоящего изобретения, специалистам ясно, что возможны разные модификации, добавления и замены, не выходящие из объема и смысла настоящего изобретения, раскрытого в прилагаемой формуле изобретения.

Как компенсировать расходы
на инновационную разработку
Похожие патенты