патент
№ RU 2643343
МПК H01T21/00

СПОСОБ ИЗГОТОВЛЕНИЯ РАЗРЯДНИКА С ВОДОРОДНЫМ НАПОЛНЕНИЕМ

Авторы:
Фокин Василий Михайлович Меркулов Борис Петрович Тетерин Дмитрий Евгеньевич
Все (7)
Номер заявки
2016139460
Дата подачи заявки
07.10.2016
Опубликовано
01.02.2018
Страна
RU
Как управлять
интеллектуальной собственностью
Чертежи 
3
Реферат

Изобретение относится к газоразрядной технике и может быть использовано при разработке и изготовлении газонаполненных разрядников с водородным наполнением с большой долговечностью и высокой стабильностью динамического напряжения пробоя. Технический результат - повышение долговечности и стабильности динамического напряжения пробоя разрядника с водородным наполнением. В способе изготовления разрядника, заключающемся в размещении элементов конструкции в оболочке, включающей изолятор, наполнении оболочки электроотрицательным газом, тренировке с последующим удалением газа из оболочки, промывке ее водородом и наполнении рабочим газом до давления, обеспечивающего заданное динамическое напряжение пробоя между электродами, после чего на электроды подают импульсы напряжения в виде затухающей синусоиды с малым декрементом затухания с пробоем разрядника на переднем фронте первой полуволны напряжения и проводят тренировку в рабочем режиме при условии, что динамическое напряжение пробоя между электродами находится на уровне напряжения скользящего пробоя по внутренней поверхности изолятора с исключением возможности пробоя по изолятору, после тренировки в рабочем режиме проверяют точность выбора соотношения динамического напряжения пробоя и напряжения скользящего пробоя по внутренней поверхности изолятора путем уменьшения напряжения на электродах разрядника снижением величины напряжения источника питания с переводом пробоя разрядника с переднего фронта первой полуволны импульса напряжения на передний фронт второй отрицательной полуволны импульса напряжения с последующим обратным переводом пробоя с переднего фронта второй отрицательной полуволны на передний фронт первой полуволны импульса напряжения, установлением величины напряжения источника питания, соответствующего первоначальному значению напряжения динамического пробоя, повторного фиксирования величины динамического напряжения пробоя и сравнения ее со значением динамического напряжения пробоя до начала проверки, после чего отбирают приборы, у которых динамическое напряжение повторного пробоя стабильно и равно первичному напряжению пробоя в пределах точности измерения. 3 ил.

Формула изобретения

Способ изготовления разрядника с водородным наполнением, заключающийся в размещении элементов конструкции в оболочке, включающей изолятор, наполнении оболочки электроотрицательным газом, тренировке с последующим удалением газа из оболочки, промывке ее водородом и наполнении рабочим газом до давления, обеспечивающего заданное динамическое напряжение пробоя между электродами, после чего на электроды подают импульсы напряжения в виде затухающей синусоиды с малым декрементом затухания с пробоем разрядника на переднем фронте первой полуволны напряжения и проводят тренировку в рабочем режиме при условии, что динамическое напряжение пробоя между электродами находится на уровне напряжения скользящего пробоя по внутренней поверхности изолятора с исключением возможности пробоя по изолятору, отличающийся тем, что после тренировки в рабочем режиме проверяют точность выбора соотношения динамического напряжения пробоя и напряжения скользящего пробоя по внутренней поверхности изолятора путем уменьшения напряжения на электродах разрядника снижением величины напряжения источника питания с переводом пробоя разрядника с переднего фронта первой полуволны импульса напряжения на передний фронт второй отрицательной полуволны импульса напряжения с последующим обратным переводом пробоя с переднего фронта второй отрицательной полуволны на передний фронт первой полуволны импульса напряжения, установлением величины напряжения источника питания, соответствующего первоначальному значению напряжения динамического пробоя, повторного фиксирования величины динамического напряжения пробоя и сравнения ее со значением динамического напряжения пробоя до начала проверки, после чего отбирают приборы, у которых динамическое напряжение повторного пробоя стабильно и равно первичному напряжению пробоя в пределах точности измерения.

Описание

[1]

Изобретение относится к газоразрядной технике и может быть использовано при разработке газонаполненных разрядников с водородным наполнением, имеющих большую долговечность и высокую стабильность динамического напряжения пробоя.

[2]

Известен способ изготовления газоразрядного прибора, включающий сборку элементов конструкции, пайку, наполнение рабочим газом с последующей тренировкой [Авт. свидетельство СССР №465672, H01J 9/14, 1975 г.].

[3]

Известен также способ изготовления газонаполненного разрядника, включающий сборку прибора, пайку, тренировку в среде инертного газа, откачку и наполнение рабочим газом [Патент США №3023069, 316-26, 1962 г.].

[4]

Общим недостатком указанных выше способов является то, что они непригодны для изготовления газонаполненных разрядников с водородным наполнением, т.к. в процессе работы таких разрядников при изготовлении их указанными способами наблюдается напыление токопроводящих продуктов эрозии материала электродов на изоляционную оболочку прибора, приводящее к неравномерному распределению потенциала электрического поля вдоль образующей поверхности изоляционной оболочки, которое по мере напыления продуктов эрозии материала электродов создает на поверхности изоляционной оболочки напряженность электрического поля, превышающую критическую, при которой развивается пробой, приводящий к потере электрической прочности.

[5]

Известен способ изготовления разрядника с водородным наполнением, заключающийся в размещении элементов конструкции в оболочке, включающей изолятор, наполнении оболочки электроотрицательным газом (элегазом) или его смесью с инертным газом и/или азотом, тренировке с последующим удалением газа из оболочки, промывке ее водородом и наполнении рабочим газом до давления, обеспечивающего заданное динамическое напряжение пробоя [Патент РФ №2313849, H01J 17/20, 2006 г.].

[6]

Тренировка газонаполненных разрядников в элегазе приводит к разложению шестифтористой серы в результате окислительно-восстановительной реакции с металлическими парами материала электродов, образующихся в разряде. Продуктами разложения являются SF4, S2F2, SF2, окислы материала электродов и сера, которые осаждаются на внутренней поверхности элементов разрядника. Продукты разложения не являются токопроводящими, поэтому они не влияют на распределение электрического поля вдоль образующей изолятора и, следовательно, не снижают его электрическую прочность.

[7]

В процессе работы газонаполненного разрядника с водородным наполнением на изоляционной поверхности его оболочки вследствие неравномерного осаждения токопроводящих продуктов эрозии материалов электродов, образующихся в восстанавливающей среде водорода, происходит перераспределение потенциала электрического поля вдоль образующей поверхности изолятора и создаются условия для скользящего пробоя по изолятору. Наличие же предварительно осажденного материала, содержащего низшие фториды серы, тормозит развитие разряда по внутренней поверхности изолятора и способствует экранированию неоднородностей металлических поверхностей оболочки разрядника, образующихся при изготовлении в процессе механической обработки, и, тем самым, повышает электрическую прочность разрядника.

[8]

Основным недостатком данного способа изготовления разрядника является низкая стабильность динамического напряжения пробоя в процессе наработки, что является важным фактором, ограничивающим его долговечность.

[9]

Наиболее близким к заявленному изобретению является способ изготовления газонаполненного разрядника с водородным наполнением, заключающийся в размещении элементов конструкции в оболочке, включающей изолятор, наполнении оболочки электроотрицательным газом, тренировке с последующим удалением газа из оболочки, промывке ее водородом и наполнении рабочим газом до давления, обеспечивающего заданное динамическое напряжение пробоя между электродами, после чего на электроды подают импульсы напряжения в виде затухающей синусоиды с малым декрементом затухания с пробоем разрядника на переднем фронте первой полуволны напряжения и проводят тренировку в рабочем режиме при условии, что динамическое напряжение пробоя между электродами находится на уровне напряжения скользящего пробоя по внутренней поверхности изолятора с исключением возможности пробоя по изолятору [Патент РФ №2560096, H01J 17/02, 2015 г. - прототип].

[10]

Высокая электрическая прочность и стабильность динамического напряжения пробоя в разрядниках, изготовленных указанным способом, осуществляется за счет стабилизации разрядных процессов в основном межэлектродном промежутке и на внутренней поверхности изолятора, вызванной их взаимным регулирующим воздействием. Примерное равенство динамического напряжения пробоя основного разрядного промежутка напряжению скользящего коронирующего разряда по внутренней поверхности изолятора создает условие для стабильной по времени предварительной ионизации основного разрядного промежутка скользящим коронным разрядом по изолятору в момент, предшествующий пробою основного промежутка. Коронный скользящий разряд по изолятору в этом случае сильно стабилизирует разрядные процессы в основном разрядном промежутке и вызывает его пробой при максимальном динамическом напряжении. Пробой же основного разрядного промежутка шунтирует разрядные процессы по поверхности изолятора и, тем самым, предотвращает его от пробоя, что способствует значительному увеличению электрической прочности разрядника и, следовательно, долговечности.

[11]

Недостатком такого способа изготовления разрядника является сильное влияние неточности выбора соотношения динамического напряжения пробоя и напряжения скользящего пробоя по внутренней поверхности изолятора, которая влияет на стабильность динамического напряжения пробоя разрядника и его долговечность в заданном эксплуатационном режиме.

[12]

Задачей предлагаемого изобретения является создание способа, позволяющего изготавливать разрядники с водородным наполнением, обладающие большой долговечностью и высокой стабильностью динамического напряжения пробоя за счет повышения точности выбора соотношения динамического напряжения пробоя и напряжения скользящего пробоя по внутренней поверхности изолятора разрядника.

[13]

Указанный технический эффект достигается тем, что в известном способе изготовления разрядника с водородным наполнением, заключающемся в размещении элементов конструкции в оболочке, включающей изолятор, наполнении оболочки электроотрицательным газом, тренировке с последующим удалением газа из оболочки, промывке ее водородом и наполнении рабочим газом до давления, обеспечивающего заданное динамическое напряжение пробоя между электродами, после чего на электроды подают импульсы напряжения в виде затухающей синусоиды с малым декрементом затухания с пробоем разрядника на переднем фронте первой полуволны напряжения и проводят тренировку в рабочем режиме при условии, что динамическое напряжение пробоя между электродами находится на уровне напряжения скользящего пробоя по внутренней поверхности изолятора с исключением возможности пробоя по изолятору, после тренировки в рабочем режиме проверяют точность выбора соотношения динамического напряжения пробоя и напряжения скользящего пробоя по внутренней поверхности изолятора путем уменьшения напряжения на электродах разрядника снижением величины напряжения источника питания с переводом пробоя разрядника с переднего фронта первой полуволны импульса напряжения на передний фронт отрицательной второй полуволны импульса напряжения с последующим обратным переводом пробоя с переднего фронта отрицательной второй полуволны на передний фронт первой полуволны импульса напряжения, установлением величины напряжения источника питания, соответствующего первоначальному значению напряжения динамического пробоя, повторного фиксирования величины динамического напряжения пробоя и сравнения ее со значением динамического напряжения пробоя до начала проверки, после чего отбирают приборы, у которых динамическое напряжение повторного пробоя стабильно и равно первичному напряжению пробоя в пределах точности измерения.

[14]

Нахождение равновесного состояния, при котором динамическое напряжение пробоя примерно равно напряжению скользящего пробоя по внутренней поверхности изолятора, является очень трудной задачей. Эта задача решается при использовании статистических данных, полученных в процессе производства разрядников-обострителей. Графическое решения этой задачи есть точка пересечения разрядной кривой (зависимость скользящего напряжения пробоя по внутренней поверхности изолятора от давления наполняющего газа при выбранных геометрических размерах изолятора) с динамической характеристикой разрядника для фиксированных значений межэлектродного расстояния. Разрядные кривые выбранного типа разрядника отличаются друг от друга и зависят от состояния неоднородности в месте соединения изолятора с металлом (заход металлизации на сопряженную со спаиваемой поверхностью изолятора и толщина металлизационного покрытия) и степени экранировки этой неоднородности. Именно поэтому при выборе межэлектродного расстояния и давления газа с целью обеспечения заданного динамического напряжения пробоя и равновесного состояния возможна ошибка, которая обнаруживается и устраняется после проверки предлагаемым способом.

[15]

Если выбранная рабочая точка на динамической кривой разрядника выше точки равновесного состояния (точки пересечения разрядной кривой с динамической), то при работе разрядника наблюдаются частые скользящие пробои по внутренней поверхности изолятора, которые в конечном итоге приводят к потере электрической прочности и ограничению долговечности. В этом случае для нахождения равновесного состояния нужно уменьшать давление рабочего газа.

[16]

Если выбранная рабочая точка на динамической кривой разрядника лежит ниже точки равновесного состояния, то работа разрядника характеризуется большой нестабильностью динамического напряжения пробоя. В этом случае для нахождения равновесного состояния нужно увеличивать давление рабочего газа.

[17]

Постоянство и высокая стабильность динамического напряжения пробоя после проведения проверки предлагаемым способом характеризует правильность выбора межэлектродного расстояния и давления наполняющего газа (водорода) с целью получения равновесного состояния для заданного динамического напряжения пробоя в разряднике, что позволяет изготавливать разрядники с водородным наполнением, обладающие большой долговечностью и высокой стабильностью динамического напряжения пробоя.

[18]

Проведенный заявителем анализ уровня техники, включающий поиск по патентным и научно-техническим источникам информации и выявление источников, содержащих сведения об аналогах заявленного изобретения, позволяет установить, что заявителем не обнаружен аналог, характеризующийся признаками, идентичными признакам заявленного изобретения, а определение из перечня выявленных аналогов прототипа как наиболее близкого по совокупности признаков аналога позволило выявить совокупность существенных по отношению к усматриваемому заявителем техническому результату отличительных признаков в заявленном объекте, изложенных в формуле изобретения. Следовательно, заявленное изобретение соответствует требованию "новизна".

[19]

Для проверки соответствия заявленного изобретения требованию "изобретательский уровень" был проведен дополнительный поиск известных решений с целью выявления признаков, совпадающих с отличительными от прототипа признаками заявленного изобретения, результаты которого показывают, что заявленное изобретение не следует для специалиста явным образом из известного уровня техники, так как не выявлены способы изготовления разрядников, позволяющие повысить долговечность и стабильность динамического напряжения пробоя за счет повышения точности выбора соотношения динамического напряжения пробоя разрядного промежутка и напряжения скользящего пробоя по внутренней поверхности изолятора, оценку которой осуществляют после тренировки в рабочем режиме путем уменьшения напряжения на электродах разрядника снижением величины напряжения источника питания с переводом пробоя разрядника с переднего фронта первой полуволны импульса напряжения на передний фронт отрицательной второй полуволны импульса напряжения с последующим обратным переводом пробоя с переднего фронта отрицательной второй полуволны на передний фронт первой полуволны импульса напряжения, установлением величины напряжения источника питания, соответствующего первоначальному значению напряжения динамического пробоя, повторного фиксирования динамического напряжения пробоя и сравнение ее со значением динамического напряжения пробоя до начала проверки, после чего отбирают приборы, у которых динамическое напряжение повторного пробоя стабильно и равно первичному напряжению пробоя в пределах точности измерения.

[20]

Заявленное техническое решение поясняется чертежами и графическими материалами.

[21]

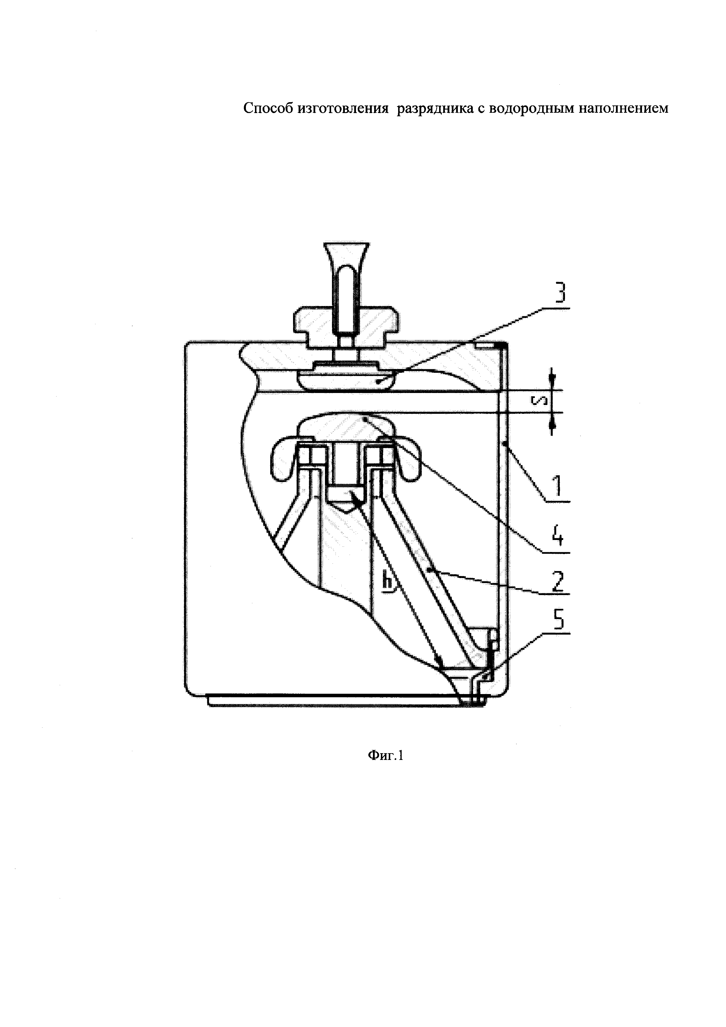
На фиг. 1 показана базовая конструкция газонаполненных разрядников-обострителей РО-43 и РО-49.

[22]

На фиг. 2 представлены кривые Uдин.пб=F(p,s) для разрядника-обострителя РО-43 при различных межэлектродных расстояниях S=const (межэлектродное расстояние изменялось в пределах 3±0,2) и график функции Uск.пб=F(p,h) при h=30 мм, выражающий зависимость импульсного напряжения скользящего пробоя по поверхности изолятора от давления как геометрическое место точек равновесного состояния в разряднике, когда соблюдается равенство динамического напряжения пробоя основного разрядного промежутка и напряжения скользящего пробоя по изолятору для различных значений межэлектродного расстояния. Графики снимались при подаче импульса напряжения на электроды разрядника в виде затухающей синусоиды с регулируемой амплитудой по первой полуволне от 30 до 300 кВ и периодом колебаний 7 мкс.

[23]

На фиг. 3 представлены кривые Uдин.пб=F(ps) для разрядника-обострителя РО-49 с длиной образующей изолятора h=42 мм при различных межэлектродных расстояниях, изменяющихся в пределах s=3,5±0,2 и график функции Uск.пб=F(p,h) при h=const, выражающий зависимость импульсного напряжения скользящего пробоя по изолятору от давления.

[24]

Способ изготовления высоковольтного искрового разрядника с водородным наполнением заключается в следующем

[25]

После размещения элементов конструкции в оболочке разрядника, наполнении ее электроотрицательным газом, например элегазом (SF6) или его смесью с инертным газом и/или азотом, с тренировкой на испытательном стенде при подаче импульсного напряжения на электроды разрядника с последующим удалением газа из оболочки, наполнении ее рабочим газом (водородом) до давления, обеспечивающего требуемое динамическое напряжение пробоя, проводят тренировку в рабочем режиме при условии примерного равенства динамического напряжения пробоя разрядного промежутка напряжению скользящего пробоя по внутренней поверхности изолятора, которое определяется для каждого типа разрядника выбором геометрических размеров межэлектродного расстояния и величины давления наполняющего газа (водорода) с учетом геометрических размеров изолятора. Примерное равенство динамического напряжения пробоя разрядника напряжению скользящего пробоя по изолятору дает возможность предварительной ионизации основного разрядного промежутка на самом верхнем уровне в непосредственной близости от момента пробоя между электродами, что значительно повышает стабильность динамического напряжения пробоя разрядника и его долговечность.

[26]

Следует отметить, что на равновесное состояние в разряднике (равенство динамического напряжения пробоя напряжению скользящего пробоя по изолятору) влияет состояние кромки металлизации для спая изолятора с металлом, а именно величина захода металлизации на поверхность сопряженную со спаиваемой поверхностью и ее толщина, которые определяется технологией изготовления и последующего нанесения металлизационной пасты на изолятор. Для каждой партии разрядников состояние кромок металлизации практически одинаковое, что дает возможность корректировать равновесное состояние путем подбора давления рабочего газа в разряднике.

[27]

Нахождение равновесного состояния в разряднике с заданным динамическим напряжением пробоя заключается в решение системы двух уравнений, выражающих зависимости динамического напряжения пробоя при выбранном межэлектродном расстоянии и напряжения скользящего пробоя по внутренней поверхности изолятора от давления наполняющего газа (водорода). Точка пересечения этих кривых есть графическое решение системы уравнений и выражает равновесное состояние разрядника. Данная задача очень трудоемкая и решается для каждого типа разрядника в процессе производства с использованием статистических данных. Для устранения возможной ошибки в определении равновесного состояния в предлагаемом способе изготовления газонаполненного разрядника с водородным наполнением после тренировки в рабочем режиме вводится проверка, в процессе которой уменьшают амплитуду импульса напряжения, приложенного к электродам разрядника уменьшением величины напряжения источника питания от выбранного значения с переводом пробоя разрядника с переднего фронта первой полуволны импульса напряжения на передний фронт отрицательной второй полуволны напряжения, после чего выполняют обратный перевод пробоя с переднего фронта отрицательной второй полуволны на передний фронт первой полуволны импульса напряжения, установив прежнее значение величины напряжения источника питания, при этом динамическое напряжение пробоя по величине должно быть таким же, как перед проверкой и стабильным с отсутствием скользящих пробоев по внутренней поверхности изолятора.

[28]

В этом случае мы имеем равновесное состояние в разряднике, которое указывает на правильный выбор давления наполняющего газа и межэлектродного расстояния в разряднике с учетом длинны образующей изолятора. Такой разрядник с равновесным состоянием при работе обладает высокой стабильностью динамического напряжения пробоя и большой долговечностью. Отличительной особенностью таких разрядников является возможность получения субнаносекундных и пикосекундных фронтов импульсов напряжения за счет малого времени коммутации, вызванного равновесным состоянием, при котором создаются условия для стабильной по времени предварительной ионизации основного разрядного промежутка скользящим коронным разрядом по изолятору в момент, предшествующий пробою основанного разрядного промежутка и не переходящий в канал искры. В конструкции разрядника и по технологии его изготовления предусмотрены предпочтительные условия для пробоя разрядного промежутка, чем для скользящего пробоя по изолятору. Пробой же основного разрядного промежутка шунтирует разрядные процессы по поверхности изолятора и, тем самым, предотвращает его от поверхностного пробоя, что способствует значительному увеличению электрической прочности разрядника и, следовательно, долговечности.

[29]

Если после проверки точности выбора соотношения динамического напряжения пробоя и напряжения скользящего пробоя (правильности выбора межэлектродного расстояния и давления наполняющего газа с учетом длинны образующей изолятора для получения равновесного состояния в разряднике) наблюдаются частые скользящие пробои по внутренней поверхности изолятора (определяются по виду осциллограмм напряжения между электродами разрядника, т.к. разрядный контур при скользящем пробое отличается от разрядного контура при пробое между электродами), то это указывает на отсутствие равновесного состояния в разряднике. В этом случае работа разрядника характеризуется высокой стабильностью динамического напряжения пробоя из-за высокого уровня предварительной ионизации, превышающего предельную прочность изолятора, но с частыми пробоями по изолятору, что значительно ограничивает долговечность. Рабочая точка на динамической кривой разрядника лежит выше точки равновесного состояния, т.е. выше разрядной кривой изолятора. В этом случае для того, чтобы вернуть рабочую точку в точку равновесного состояния и устранить скользящие пробои по изолятору необходимо уменьшить давление наполняющего газа.

[30]

Если после проверки точности выбора соотношения динамического напряжения пробоя и напряжения скользящего пробоя по внутренней поверхности изолятора не совпадает с первоначальным и имеет большой разброс, то рабочая точка на динамической кривой лежит ниже точки равновесного состояния, т.е. ниже разрядной кривой. В этом случае коронирующие процессы на внутренней поверхности изолятора влияют на процессы в основанном разрядном промежутке в зависимости от положения рабочей точки на динамической кривой относительно точки равновесного состояния. При удалении рабочей точки от точки равновесного состояния стабилизирующее действие коронирующих процессов по поверхности изолятора ослабевает, что приводит к увеличению разброса динамического напряжения пробоя. Для того чтобы вернуть рабочую точку в точку равновесного состояния необходимо увеличить давление наполняющего газа.

[31]

Пример конкретного применения

[32]

Предлагаемый способ изготовления газонаполненного разрядника с водородным наполнением был опробован при изготовлении серийно выпускаемых разрядников-обострителей РО-43, РО-49 с динамическим напряжением пробоя 190 и 250 кВ соответственно. Указанные разрядники-обострители (фиг. 1) содержат корпус 1 в виде цилиндрического стакана с отбортовкой, изолятор 2 в виде усеченного конуса, обращенного внутрь металлического корпуса 1, электроды - анод 3, закрепленный на внутренней поверхности дна металлического корпуса 1, и катод 4, размещенный на торцевой поверхности меньшего основания изолятора 2, манжета 5, расположенная на внутренней поверхности нижней части металлического корпуса 1, повторяя форму этой поверхности с образованием уступа, в котором установлено основание нижней части изолятора 2, при этом манжета 5 соединена своей нижней частью с металлическим корпусом 1 швом, выполненным аргонно-дуговой сваркой, а внутренней поверхностью соединена с боковой цилиндрической поверхностью изолятора 2 швом герметизации посредством пайки припоем.

[33]

В результате проведенных исследовательских работ и в процессе производства установлено, что для выполнения условия примерного равенства динамического напряжения пробоя разрядного промежутка напряжению скользящего пробоя по внутренней поверхности изолятора в разрядниках РО-43 с длиной образующей изолятора h=30 мм и динамическим напряжением 180÷195 кВ необходимо выбрать межэлектродное расстояние S=3±0,2 мм и давление наполняющего газа - водорода р=70±5 ати, а в разрядниках РО-49 с длиной образующей изолятора h=42 мм с динамическим напряжением 245÷255 кВ необходимо выбирать S=3,5±0,2 мм и давление наполняющего газа (водорода) р=70±5÷ ати. Правильность выбранных значений подтверждено проверкой по предлагаемому способу.

[34]

По графикам на фиг. 2 и фиг. 3 определяют параметры (межэлектродное расстояние s и давление р) разрядников-обострителей на заданное динамическое напряжение пробоя основного разрядного промежутка. Они должны соответствовать точкам равновесного состояния. Точками равновесного состояния в разрядниках являются точки пересечения динамических кривых (Uдин.пб=F(p,s) при S=const) для фиксированных значений межэлектродных расстояний разрядников с их разрядными кривыми (Uск.пб=F(p,h) при h=const).

[35]

Как показала практика работ при производстве разрядников-обострителей РО-43, РО-49 использование предлагаемого способа изготовления газонаполненного разрядника позволяет получить равновесное состояние с высокой точностью, что обеспечивает высокую стабильность динамического напряжения пробоя разрядного промежутка и большую долговечность (более 107 пробоев).

[36]

Таким образом, заявленный способ изготовления газонаполненного разрядника с водородным наполнением позволяет значительно увеличить долговечность и повысить стабильность срабатывания разрядника. Выбор равновесного состояния в разряднике обеспечивает получение субнаносекундной и пикосекундной коммутации.

[37]

Перспективной областью применения разрядников, изготовленных заявленным способом, является разработка и изготовление мощных генераторов сверхкоротких электромагнитных импульсов для проведения исследовательских работ по обеспечению электромагнитной совместимости технических систем, испытания радиотехнических средств на стойкость к воздействию электромагнитных импульсов и других целей.

Как компенсировать расходы
на инновационную разработку
Похожие патенты