патент
№ RU 2696274
МПК G01S13/90

Малогабаритная многорежимная бортовая радиолокационная система для оснащения перспективных беспилотных и вертолетных систем

Авторы:
Канащенков Анатолий Иванович
Номер заявки
2018141181
Дата подачи заявки
22.11.2018
Опубликовано
01.08.2019
Страна
RU
Как управлять
интеллектуальной собственностью
Чертежи 
2
Реферат

Изобретение относится к области радиолокации, а именно к радиолокационным системам. Достигаемый технический результат - создание малогабаритной многорежимной бортовой радиолокационной системы для оснащения перспективных беспилотных и вертолетных систем с целью выполнения мониторинга земной поверхности при проведении поисково-спасательных и специальных операций, а также охраны прибрежной акватории. Технический результат достигается за счет интеграции цифровых устройств, входящих в систему (синтезатора частот, синхронизатора, приемника, центрального вычислителя с высокой производительностью, высокоскоростных интерфейсов передачи информации), в единый макромодуль, а также наличия четырех приемных каналов с разностными диаграммами направленности в наклонной и азимутальной плоскостях, суммарного и компенсационного, применения соответствующих методов моноимпульсной пеленгации, что повышает точность и достоверность измерения угловых координат по азимуту и углу места. В предлагаемой системе формируются зондирующие сигналы с различными видами модуляции, применяется метод межпериодного расширения спектра, позволяющий повышать разрешающую способность по дальности с использованием узкополосных сигналов с известным порядком следования в пачке импульсов и оперативной перестройкой частот от импульса к импульсу. 4 ил.

Формула изобретения

Малогабаритная многорежимная бортовая радиолокационная система для оснащения перспективных беспилотных и вертолетных систем, содержащая антенный модуль, приемник ПЧ, передатчик и бортовую цифровую вычислительную машину (БЦВМ),

отличающаяся тем, что она содержит антенный модуль, содержащий волноводно-щелевую антенную решетку (ВЩАР), привод, СВЧ-приемник и циркулятор, четырехканальный приемник ПЧ, цифровой синтезатор частот и синхросигналов управления (СЧС), цифровой приемник, подключенный к системной шине БЦВМ, и бесплатформенную инерциальную систему, имеющую связь с БЦВМ, при этом для излучения зондирующего сигнала выход передатчика соединен через циркулятор с суммарным каналом ВЩАР, а для приема отраженного сигнала по суммарному каналу ВЩАР соединена через циркулятор с суммарным каналом СВЧ-приемника, для приема по разностным каналам по наклону и по азимуту ВЩАР соединена с соответствующими разностными каналами СВЧ-приемника и для приема по компенсационному каналу ВЩАР соединена с компенсационным каналом СВЧ-приемника, выходы которого на промежуточной частоте соединены соответственно с четырьмя входами приемника ПЧ, выходы которого на промежуточной частоте соединены соответственно с четырьмя входами цифрового приемника, содержащего четырехканальный аналого-цифровой преобразователь (АЦП), программируемую логическую интегральную схему (ПЛИС) обработки информации, управления и ввода-вывода, при этом выходы четырехканального АЦП соединены с четырьмя входами ПЛИС, а «вход-выход» ПЛИС соединен с высокоскоростной системной шиной БЦВМ, при этом шестой выход СЧС - выход сигнала несущей частоты соединен с входом передатчика, пятый выход - выход пилот-сигнала соединен с входом ВЩАР, четвертый выход - выход сигнала гетеродина соединен с входом СВЧ-приемника, третий выход - выход сигнала гетеродина ПЧ соединен с приемником ПЧ, второй выход - выход сигнала частоты выборок соединен с управляющим входом четырехканального АЦП цифрового приемника, первый выход - выход сигналов тактового интервала соединен с управляющим входом ПЛИС цифрового приемника и БЦВМ, вход СЧС соединен с БЦВМ посредством интерфейса RS-485, а выход БИНС соединен с БЦВМ посредством интерфейса RS-485; высокоскоростной двунаправленный выход БЦВМ является выходом системы.

Описание

[1]

Изобретение относится к области радиолокации и предназначено для выполнения широкого круга задач в режимах «воздух-поверхность», «воздух-воздух», «метео» и «маловысотный полет» при использовании на летательных аппаратах, а также в режиме «охрана» при использовании в стационарных условиях.

[2]

Известны радиолокационные системы (РЛС) для летательных аппаратов, предназначенные для обнаружения, сопровождения объектов, измерения их координат, обнаружения грозовых фронтов, обнаружения и измерения высоты наземных препятствий и выполнения других функций.

[3]

Например, двухдиапазонный моноимпульсный радиолокатор со встроенным контролем, заявка №2001104500 от 20.02.2001 г. Радиолокатор содержит антенну с диапазонным суммарно-разностным устройством и вспомогательными антеннами, два приемо-передающих тракта. Решены задачи моноимпульсной пеленгации при работе в двух диапазонах. Однако радиолокатор имеет следующие недостатки: приемный тракт - аналоговый, низкие помехозащищенность и разрешение по координатам, не обеспечена многофункциональность.

[4]

В радиолокаторе, защищенным патентом WO 2010090564, достигнуто высокое разрешение по координатам при работе в двух диапазонах. К недостаткам относятся: низкая помехозащищенность, отсутствует моноимпульсная пеленгация, не обеспечена многофункциональность.

[5]

Известна также многофункциональная радиолокационная станция для летательных аппаратов (RU патент №2319173, МПК G01S 13/90), принятая за прототип.

[6]

Данная РЛС выполняет функции обнаружения грозовых фронтов и кучевых облаков, обзора земной поверхности, обнаружения и измерения высоты наземных препятствий при полете на малых высотах. Функция измерения с заданной точностью высоты наземных препятствий обеспечивается путем обужения луча антенны в угломестной плоскости на прием. Это достигается тем, что в щелевой антенне кроме суммарной диаграммы формируется разностная диаграмма в угломестной плоскости.

[7]

Для реализации задачи обужения луча в угломестной плоскости суммарной диаграммы используется сигнал разностной диаграммы для чего в цифровой процессор сигналов введено устройство обужения, включающее коммутатор, первое устройство памяти (U∑), второе устройство памяти (UΔ), устройство разности, первое и второе устройство умножения.

[8]

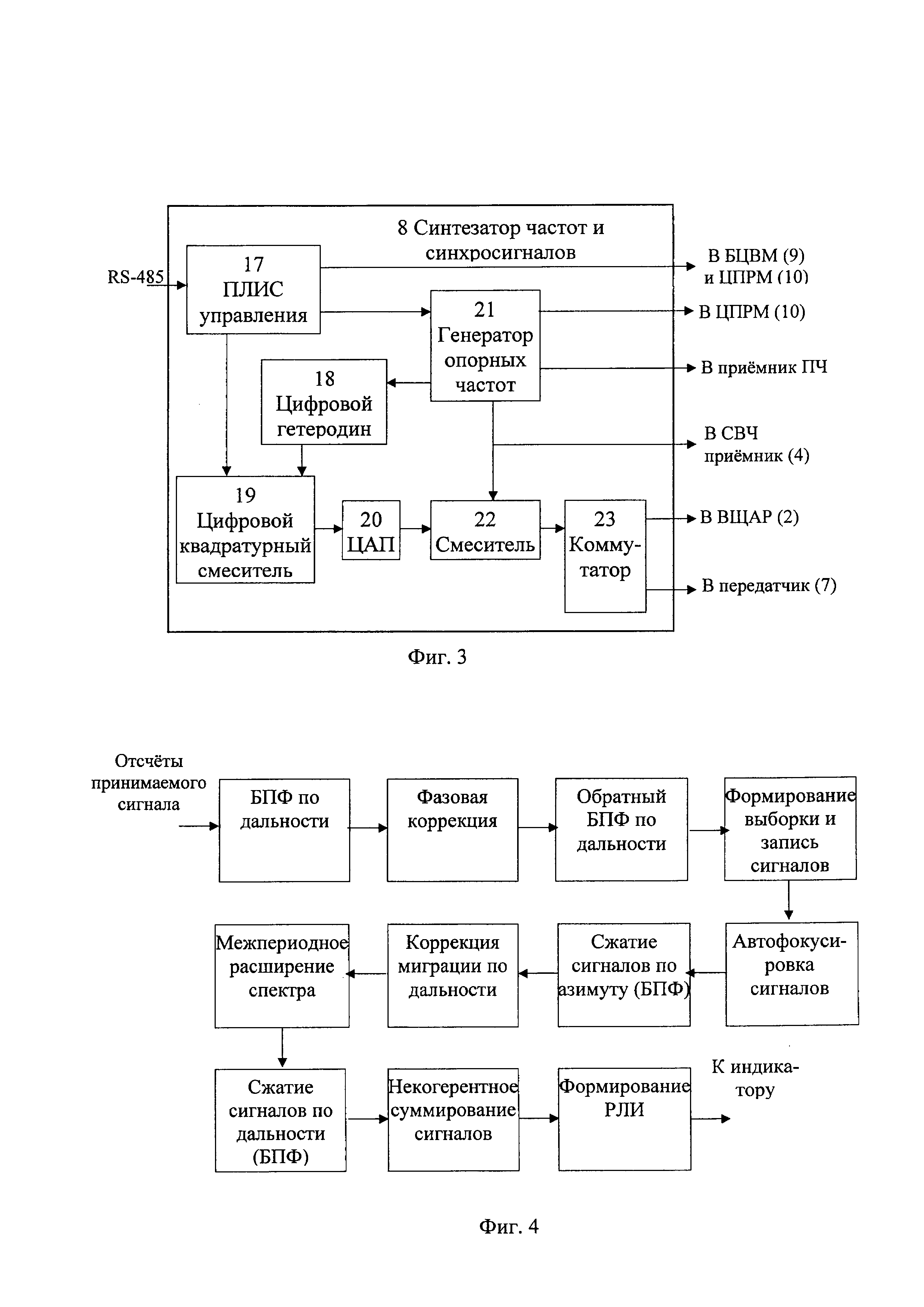
Данная РЛС имеет следующие недостатки: отсутствует моноимпульсная пеленгация по азимуту, низкая помехоустойчивость по зеркальному каналу, нет высокого разрешения по координатам, синтезатор частот аналоговый, что не позволяет наращивать функции.

[9]

Учитывая современные требования к реализуемым функциям радиолокационных систем летательных аппаратов, к повышению разрешения, точности и надежности решения задач при жестких ограничениях на габариты аппаратуры, задачей изобретения является создание малогабаритной многорежимной бортовой радиолокационной системы.

[10]

Технический результат от использования изобретения заключается в возможности решение задач прототипа, а также дополнительно реализуются следующие функции и свойства:

[11]

1) использование разных диапазонов частот позволяет, используя особенности распространения и отражения радиосигналов в разных средах, интегрально получить более высокие характеристики по дальности, точности, разрешающей способности в простых и сложных помеховых и метеоусловиях, а также обеспечить обнаружение и наблюдение объектов, скрытых растительным или другим радиопрозрачным покровом для используемых диапазонов частот;

[12]

2) картографирование с реальным лучом и синтезированием апертуры;

[13]

3) информационное обеспечение маловысотного полета с формированием профильного (по вертикали и горизонтали) и квазитрехмерного радиолокационного изображения поверхности земли и объектов;

[14]

4) селекция движущихся объектов;

[15]

5) определение зон повышенной турбулентности и низковысотных «сдвигов ветра»;

[16]

6) обзор, обнаружение и сопровождение воздушных целей;

[17]

7) определение факта нарушения границ охраняемой зоны.

[18]

Решение поставленной задачи достигается тем, что предлагаемая РЛС (см. фиг. 1) содержит антенный модуль (1), содержащий волноводно-щелевую антенную решетку (ВЩАР) (2), привод (3) четырехканальный сверхвысокочастотный приемник (СВЧ-приемник) с первым переносом частоты (4) и циркулятор (5), четырехканальный приемник ПЧ со вторым переносом частоты (6), передатчик (7), цифровой синтезатор частот и синхросигналов управления (СЧС) (8), бортовую цифровую вычислительную машину (БЦВМ) (9), и бесплатформенную инерциальную навигационную систему (11), при этом БЦВМ содержит четырехканальный цифровой приемник (ЦПРМ) (10), имеющий четыре аналого-цифровых преобразователя (АЦП), программируемую логическую интегральную схему (ПЛИС) обработки информации, управления и ввода-вывода, при этом первые входы АЦП подключены к соответствующим выходам приемника ПЧ по четырем приемным каналам - суммарному, разностному по наклону, разностному по азимуту и компенсационному - на промежуточной частоте, выходы АЦП подключены к ПЛИС обработки информации, управления и ввода-вывода, которая в свою очередь посредством высокоскоростного интерфейса (PCI-Express 8х) соединена с бортовой цифровой вычислительной машиной (БЦВМ), первый выход СЧС соединен с входом передатчика, второй выход - с входом СВЧ-приемника, третий выход - со вторым входом АЦП, первый выход СЧС соединен с ПЛИС цифрового приемника и с БЦВМ, второй выход - с ЦПРМ, - третий выход - с приемником ПЧ, четвертый выход - с входом СВЧ-приемника, пятый выход - с входом ПС ВЩАР, шестой выход - с входом передатчика, а вход СЧС - с БЦВМ посредством канала информационного обмена RS-485, выход бес платформенной инерциальной системы соединен с БЦВМ через другой порт RS-485.

[19]

Заявляемое изобретение поясняется фигурами.

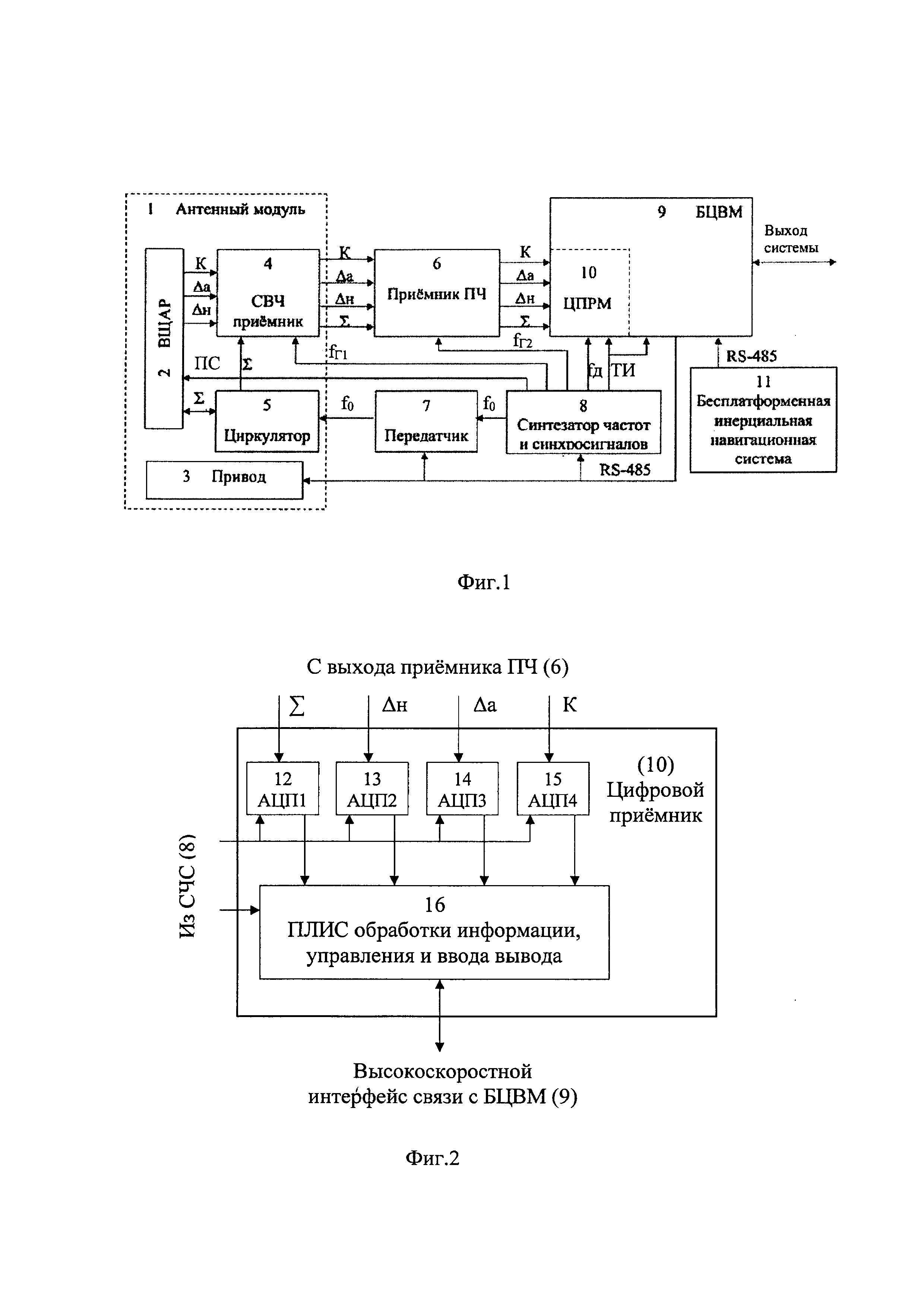
[20]

На фиг. 1 представлена схема предлагаемой РЛС, где обозначены:

[21]

1. Антенный модуль;

[22]

2. Волноводно-щелевая антенная решетка (ВЩАР);

[23]

3. Привод антенны;

[24]

4. СВЧ приемник;

[25]

5. Циркулятор;

[26]

6. Приемник ПЧ;

[27]

7. Передатчик;

[28]

8. Синтезатор частот и синхросигналов (СЧС);

[29]

9. БЦВМ:

[30]

10. Цифровой приемник (ЦПРМ);

[31]

11. Бесплатформенная инерциальная навигационная система (БИНС); RS-485 - канал информационного обмена;

[32]

Выход системы - высокоскоростной интерфейс.

[33]

На фиг. 2 представлена блок-схема цифрового приемника, где обозначены:

[34]

12. АЦП1 суммарного канала ∑;

[35]

13. АЦП2 разностного канала по наклону Δн;

[36]

14. АЦП3 разностного канала по азимуту Δа;

[37]

15. АЦП4 компенсационного канала К;

[38]

16. Программируемая логическая интегральная схема (ПЛИС) обработки информации, управления и ввода-вывода информации;

[39]

На фиг. 3 приведена блок-схема цифрового синтезатора частот и синхросигналов управления, где обозначены:

[40]

17. Программируемая логическая интегральная схема (ПЛИС) управления;

[41]

18. Цифровой гетеродин;

[42]

19. Цифровой квадратурный смеситель;

[43]

20. Цифро-аналоговый преобразователь (ЦАП);

[44]

21. Генератор опорных частот;

[45]

22. Смеситель;

[46]

23. Коммутатор.

[47]

На фиг. 4 изображена схема реализации режима детального разрешения.

[48]

Построение предлагаемой малогабаритной многорежимной бортовой радиолокационной системы основывается на применении современных цифровых методов и устройств обработки, приема и передачи информации и программного обеспечения (ПО) реального времени. Это позволило создать малогабаритные с высокой степенью интеграции электронные модули, которые объединены друг с другом, с БЦВМ и с БИНС в составе РЛС интерфейсами информационного обмена и практически не имеют ограничений по взаимному размещению. При этом в процессе работы РЛС проводится регулярный функциональный контроль работоспособности и настройка изделия с помощью подачи через ВЩАР на входы суммарного и разностных каналов СВЧ-приемника пилот-сигнала (ПС), являющегося имитационной моделью зондирующего сигнала.

[49]

Предлагаемая в соответствии с фиг. 1 радиолокационная система состоит из антенного модуля (1) содержащего ВЩАР (2), привод (3), СВЧ приемник (4) и циркулятор (5), приемника ПЧ (6), передатчика (7), СЧС (8), БЦВМ (9) со встроенным ЦПРМ (10) и БИНС (11), связанных между собой сигнальными и управляющими цепями, а также высокоскоростными интерфейсами (RS-485).

[50]

Излучение зондирующего сигнала производится по суммарному (∑) каналу ВЩАР (2), для чего выход передатчика (7) соединен с входом циркулятора (5), а «вход-выход» циркулятора (5) соединен с суммарным каналом ВЩАР (2).

[51]

Прием отраженных зондирующих сигналов осуществляется с помощью антенного модуля (1) через ВЩАР (2) по суммарному (∑), разностному по наклону (Δн), разностному по азимуту (Δа) и компенсационному (К) каналам. Для передачи принимаемого ВЩАР (2) сигнала по суммарному каналу (∑) выход циркулятора (5) соединен с первым входом СВЧ-приемника (4). Для передачи принимаемого сигнала по каналу разностному по наклону (Δн) второй выход ВЩАР (2) соединен со вторым входом СВЧ-приемника (4). Для передачи принимаемого сигнала по каналу разностному по азимуту (Δа) третий выход ВЩАР (2) соединен с третьим входом СВЧ-приемника (4). Для передачи принимаемого сигнала по каналу компенсационному (К) четвертый выход ВЩАР (2) соединен с четвертым входом СВЧ-приемника (4). Выходы соответствующих каналов СВЧ-приемников (4) на первой промежуточной частоте подключены к соответствующим входам приемника ПЧ. Выходы соответствующих каналов на второй промежуточной частоте приемника ПЧ (6) подключены ко входам АЦП1 (12), АЦП2 (13), АЦП3 (14), АЦП4 (15) цифрового приемника (10), структура которого приведена на фиг.2. В цифровом приемнике (10) «оцифрованные» сигналы каналов приема ∑, Δн, Δa и К с выходов АЦП1 (12), АЦП2 (13), АЦП3 (14), АЦП4 (15) соответственно поступают на первый, второй, третий и четвертый входы ПЛИС обработки информации, управления и ввода-вывода (16), где осуществляется цифровое гетеродинирование, квадратурная демодуляция сигналов с линейно-частотной модуляцией (ЛЧМ), фильтрация и компенсация изменений фазы принятого сигнала, обусловленных движением носителя. Для обмена данными цифрового приемника (10) «вход-выход» ПЛИС (16) подсоединен к системной шине БЦВМ (9).

[52]

Формирование сигналов тактового интервала и частоты выборок, используемых в цифровом приемнике (10) и БЦВМ (9), производится в СЧС (8), представленном на фиг. 3, первый вывод которого подключен к входу ПЛИС обработки информации, управления и ввода вывода (16) цифрового приемника (10) и БЦВМ (9), а второй выход подключен ко вторым управляющим входам АЦП1 (12), АЦП2 (13), АЦП3 (14), АЦП4 (15) цифрового приемника (10).

[53]

Для передачи сигнала частоты гетеродина ПЧ третий вывод СЧС (8) подсоединен к пятому входу приемника ПЧ (6).

[54]

Для передачи сигнала частоты гетеродина четвертый вывод СЧС (8) подсоединен к пятому входу СВЧ-приемника (4).

[55]

Для передачи пилот-сигнала пятый вывод СЧС (8) подсоединен к ВЩАР

[56]

Для передачи зондирующего сигнала на соответствующей несущей частоте шестой вывод СЧС (8) подсоединен к входу передатчика (7).

[57]

Управление СЧС (8) производится от БЦВМ (9) по каналу RS-485 посредством ПЛИС управления (17), выходные сигналы которой поступают на цифровой квадратурный смеситель (19) и генератор опорных частот (21).

[58]

Для первого частотного преобразования формируемого сигнала несущей частоты со второго выхода генератора опорных частот (21) сигнал первого гетеродина через вход и последующий выход цифрового гетеродина (18) подается на первый вход цифрового квадратурного смесителя (19).

[59]

Для формирования сигнала несущей частоты со сложными законами модуляции и оперативной «перестройкой от импульса к импульсу» «модуляционная» составляющая этого сигнала по внутренней шине с первого выхода ПЛИС (17) подается на второй вход цифрового квадратурного смесителя (19), с выхода которого формируемый сигнал в цифровой форме подается на вход цифро-аналогового преобразователя (ЦАП) (20), где преобразуется в аналоговый сигнал и поступает на смеситель (22). На второй вход смесителя (22) с генератора опорных частот (21) поступает сигнал частоты гетеродина. В смесителе (22) формируется сигнал несущей частоты, который подается на вход передатчика (7).

[60]

Для повышения разрешающей способности РЛС в различных режимах при синтезировании апертуры, расчете точной траектории движения летательного аппарата, производится вычисление параметров, необходимых для выполнения обработки принимаемых сигналов по информации, получаемой из БИНС (11) по интерфейсу RS-485 на отдельный вход БЦВМ (9).

[61]

Предлагаемая архитектура РЛС и построение описанных устройств обеспечивают получение широких информационных возможностей, высоких разрешения и точности за счет формирования сложных широкополосных зондирующих сигналов и последующей предварительной, первичной и вторичной обработки принимаемых сигналов с учетом дестабилизирующих факторов движения носителя.

[62]

Ниже приведен пример обработки сигналов, реализующий режим детального разрешения (ДР), и показаны возможности РЛС по использованию новых высокоэффективных методов обработки сигналов.

[63]

На фиг. 4 изображена схема реализации режима ДР.

[64]

Обработка радиолокационных сигналов осуществляется в три этапа. На первом этапе выполняется предварительная обработка в цифровом приемнике (10). При этом производится:

[65]

- измерение максимального уровня сигнала;

[66]

- удаление постоянной составляющей в сигнале;

[67]

цифровое гетеродинирование (компенсация изменений фазы принимаемого сигнала от отсчета к отсчету и от импульса к импульсу из-за движения носителя);

[68]

- демодуляция ЛЧМ-сигналов.

[69]

На этапе два выполняется первичная обработка сигналов на БЦВМ (9). При этом осуществляется преобразование частотно-манипулированного сигнала, включающее в себя:

[70]

- БПФ (быстрое преобразование Фурье) по дальности;

[71]

- фазовую коррекцию, компенсирующую зависимость задержки принимаемого сигнала от расстояния;

[72]

- обратное БПФ по дальности;

[73]

- формирование выборки (коррекцию фазы сигнала для устранения зависимости доплеровской частоты от расстояния и изменения расстояния от импульса к импульсу внутри такта работы РЛС, стыковка фрагментов выборки во временной области);

[74]

- запись выборок (радиоголограмм) в память.

[75]

На этапе три выполняется вторичная обработка сигналов БЦВМ (9). При этом осуществляются:

[76]

- автофокусировка сигналов;

[77]

- сжатие сигналов по азимуту с помощью БПФ;

[78]

- фазовая коррекция миграции сигналов по элементам дальности;

[79]

- межпериодное расширение спектра сигнала на основе принятой реализации пачки на разных несущих частотах;

[80]

- сжатие сигналов по дальности с помощью БПФ;

[81]

- некогерентное суммирование сигналов по нескольким несущим частотам для уменьшения спекл-эффекта;

[82]

- формирование радиолокационного изображения (РЛИ) (компенсация амплитудной модуляции, вызванной действием автоматической регулировки усиления сигнала (АРУС), влиянием диаграммы направленности антенны (ДНА) по азимуту и наклону, а также изменением уровня сигнала от расстояния, вычисление экранных координат точек РЛИ, формирование массива амплитуд в формате индикатора, преобразование динамического диапазона амплитуд сигналов к динамическому диапазону РЛИ, выдача информации по высокоскоростному интерфейсу.

[83]

Синхронизация работы РЛС и информационного обмена процессоров обработки сигналов осуществляется под управлением операционной системы реального времени (ОС РВ) БЦВМ (9), который также выполняет:

[84]

- формирование зоны обзора;

[85]

- управление модулями;

[86]

- прием информации от навигационной системы по RS-485;

[87]

- расчет траектории движения летательного аппарата;

[88]

- вычисление параметров, необходимых для выполнения обработки принимаемых сигналов.

Как компенсировать расходы
на инновационную разработку
Похожие патенты