Изобретение относится к радиотехнике и может использоваться для частотной селекции сигналов в приемных и передающих устройствах.Технический результат – возможность регулирования ширины полосы пропускания и избирательности фильтра путем изменения коэффициента связи между звеньями за счет изменения величины индуктивности дополнительно введенных катушек индуктивности. Для этого в полосовом фильтре в каждое звено дополнительно введена выходная катушка индуктивности (L), одним выводом подключенная к выходу звена, а другим – к общей шине, при этом выходная катушка индуктивности предыдущего звена является входной для последующего звена, кроме того, между входом первого звена и общей шиной подключена входная катушка индуктивности (L). 5 ил.
Перестраиваемый полосовой фильтр на переключаемых конденсаторах, содержащий коммутатор, магазин конденсаторов и N каскадно включенных звеньев полосового фильтра, каждое звено которого состоит из двух последовательно соединенных катушек индуктивности, к точке соединения которых подключены соответствующие конденсатор и катушка индуктивности, вторые выводы которых соединены с общей шиной, кроме того, точки соединения соседних последовательно соединенных катушек индуктивности каждого звена образуют N промежуточных выхода полосового фильтра и подключены к соответствующим N входам коммутатора, М выходов которого соединены с соответствующими входами магазина конденсаторов, отличающийся тем, что в каждое звено полосового фильтра введены дополнительная выходная катушка индуктивности, одним выводом подключенная к выходу звена, а другим – к общей шине, при этом дополнительная выходная катушка индуктивности предыдущего звена является дополнительной входной для последующего звена; вход первого звена и выход последнего звена являются соответственно входом и выходом полосового фильтра, кроме того, к входу первого звена подключена дополнительная входная катушка индуктивности, другой вывод которой соединен с общей шиной.
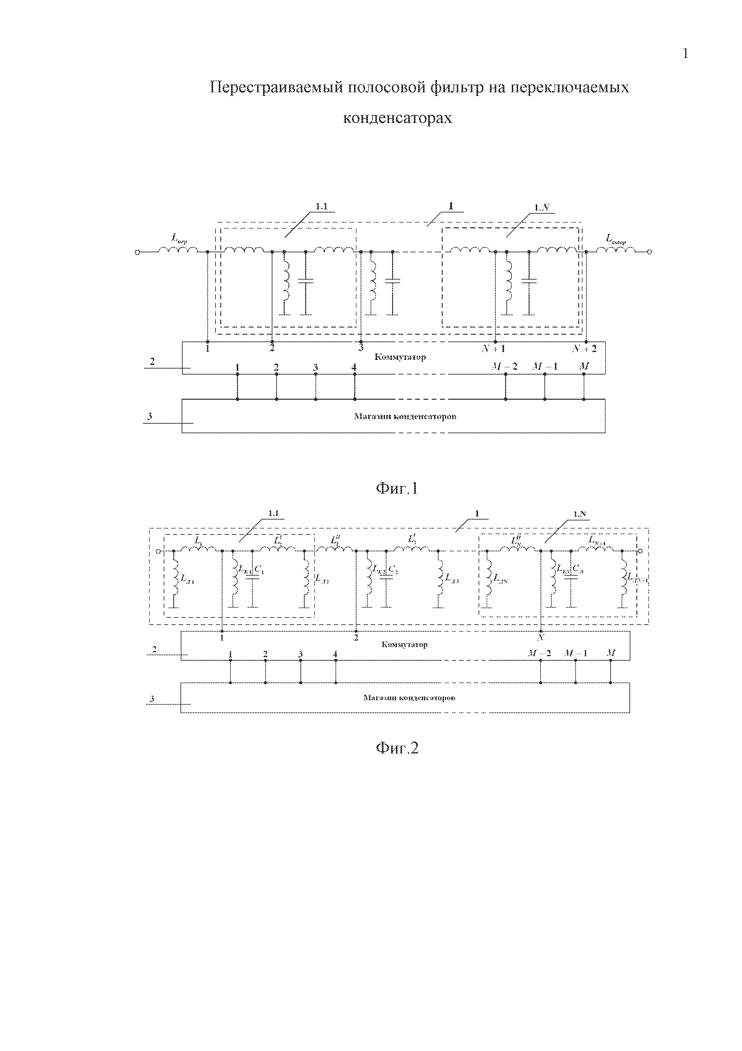
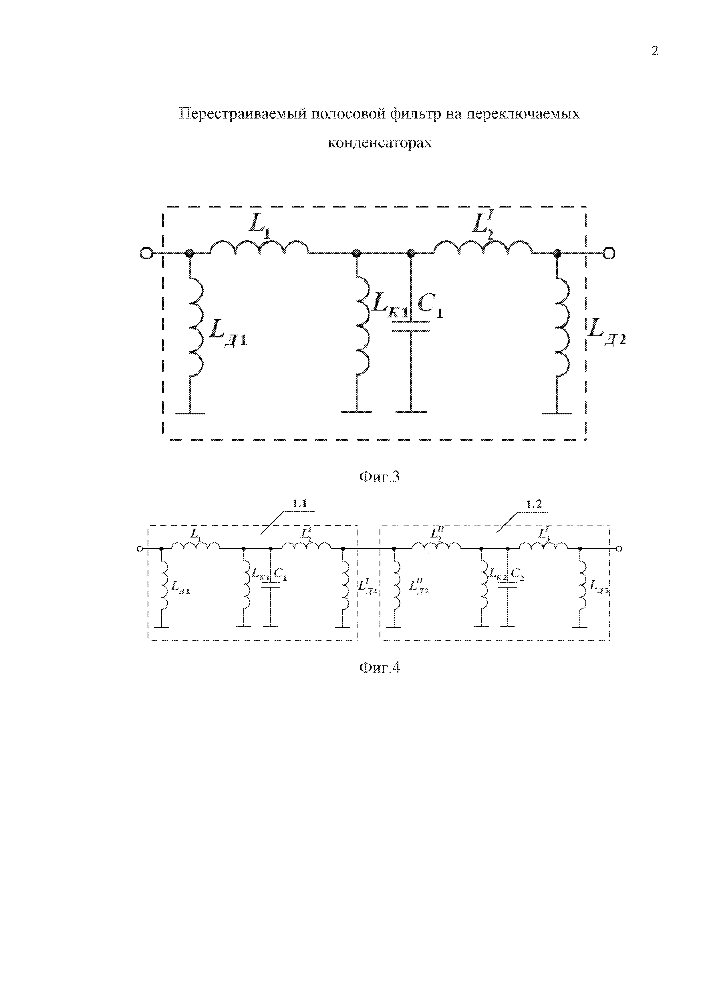
Устройство относится к радиотехнике и может использоваться для частотной селекции сигналов в приемных и передающих устройствах. Для предварительной и дополнительной частотной селекции сигналов приемопередающих устройств KB и УКВ радиосвязи используются перестраиваемые полосовые фильтры, выполненные на сосредоточенных LC-элементах. Одними из важнейших характеристик данных фильтров являются полоса пропускания фильтра, характеризующая интервал частот, в котором коэффициент передачи фильтра сохраняется в заданных пределах, а также избирательность, характеризующая ослабление сигнала при заданной отстройке от центральной частоты полосы пропускания фильтра. Известен полосовой фильтр, представляющий собой последовательно соединенные катушки индуктивности. Между точками соединения входящих в состав данного фильтра катушек индуктивности и общей шиной подключены параллельные контуры, состоящие из параллельно включенных катушки индуктивности и конденсатора (Босый Н.Д. Электрические фильтры. – Киев, 1960, стр.169, рис.3,28). Недостатком данного полосового фильтра является то, что он выполнен на заданную центральную частоту и не имеет возможности перестройки по частоте. Известен также полосовой перестраиваемый LC-фильтр (патент RU 2 516 707, H03H 7/12), представляющий собой каскадное соединение двух звеньев полосовых фильтров. Данный фильтр имеет возможность перестройки по частоте, что реализовано путем изменения величин емкостей конденсаторов, входящих в состав фильтра. В качестве конденсаторов переменной емкости использованы варикапы. Однако варикап является нелинейным элементом, поэтому при прохождении через него сигнала, особенно большой мощности, на выходе фильтра появляются паразитные составляющие, отсутствовавшие в исходном сигнале. Таким образом, применение варикапов приводит к нежелательному ограничению возможности фильтрации мощных сигналов. Однако данный фильтр обладает недостатком, заключающимся в использовании варикапов в качестве конденсаторов переменной емкости. Кроме того, в описании устройства отсутствует информация о возможности улучшения характеристик фильтра путем увеличения количества звеньев для увеличения избирательности. Наиболее близким аналогом по технической сущности к предлагаемому является перестраиваемый полосовой фильтр по патенту RU 2 380 825, H03H 7/12, принятый за прототип. На фиг.1 представлена схема устройства-прототипа, где обозначено: 1 – полосовой фильтр; 1.1…1.N – звенья полосового фильтра; 2 – коммутатор; 3 – магазин конденсаторов; Lперв., Lвтор. – первая и вторая. Устройство-прототип содержит цепи последовательно соединенных катушек индуктивности, число которых равно N+1, к каждой точке соединения соседних катушек индуктивностей этой цепи подключены соответствующий конденсатор и соответствующая катушка индуктивности, вторые выводы которых соединены с общей шиной. Такое соединение указанных элементов образует N-звенный (1.1…1.N) полосовой фильтр 1. Первая Lперв и вторая Lвтор.катушки индуктивности включены соответственно на входе и выходе полосового фильтра 1. Коммутатор 2 содержит N+2 входа, соединенные соответственно с N+2 промежуточными выходами устройства, а его М выходов соединены с М входами магазина конденсаторов 3, содержащего группу конденсаторов, разбитых на N+2 группы, подключаемые к промежуточным входам устройства через коммутатор 2. Устройство-прототип работает следующим образом. При определенном положении ключей коммутатора 2 отдельные конденсаторы, находящиеся в магазине конденсаторов 3, или их группы подключаются к промежуточным входам устройства. В этом случае устройство представляет собой N каскадно включенных полосовых фильтров, на входе и выходе этой цепи включены полузвенья фильтров нижних частот (ФНЧ). При уменьшении величин емкостей конденсаторов, подключаемых параллельно поперечным ветвям полосового фильтра 1, частота настройки фильтра увеличится. Однако устройство-прототип обладает существенным недостатком, который заключается в том, что сложно обеспечить регулировку полосы пропускания с широкой на более узкую, а это приводит к ограничению получения более высокого значения избирательности. Задача, на решение которой направлено заявляемое техническое решение, заключается в уменьшении ширины полосы пропускания и улучшении избирательности фильтра. Для решения поставленной задачи в перестраиваемый полосовой фильтр, содержащий коммутатор, магазин конденсаторов и N каскадно включенных звеньев полосового фильтра, каждое звено которого состоит из двух последовательно соединенных катушек индуктивности, к точке соединения которых подключены соответствующие конденсатор и катушка индуктивности, вторые выводы которых соединены с общей шиной, кроме того, точки соединения соседних последовательно соединенных катушек индуктивности каждого звена образуют N промежуточных выхода полосового фильтра и подключены к соответствующим N входам коммутатора, М выходов которого соединены с соответствующими входами магазина конденсаторов, согласно изобретению, в каждое звено полосового фильтра введены дополнительная выходная катушка индуктивности, одним выводом подключенная к выходу звена, а другим – к общей шине, при этом дополнительная выходная катушка индуктивности предыдущего звена является дополнительной входной для последующего звена; вход первого звена и выход последнего звена являются соответственно входом и выходом полосового фильтра, кроме того, к входу первого звена подключена дополнительная входная катушка индуктивности, другой вывод которой соединен с общей шиной. На фиг.2 изображена электрическая схема предлагаемого устройства, где обозначено: 1 – полосовой фильтр; 1.1…1.N – звенья полосового фильтра; 2 – коммутатор; 3 – магазин конденсаторов; L1…LN – последовательно соединенные катушки индуктивности; LК1…LKN – катушки индуктивности контура звеньев полосового фильтра; С1… CN – конденсаторы контура звеньев полосового фильтра; LД1…LДN+1 – дополнительные катушки индуктивности. Предлагаемое устройство содержит N каскадно включенных звеньев 1.1…1.N полосового фильтра 1, коммутатор 2 и магазин конденсаторов 3. Каждое звено 1.1…1.N полосового фильтра 1 состоит из двух последовательно соединенных катушек индуктивности Li, к точке соединения которых подключены соответствующие конденсатор СKi и индуктивность LКi, вторые выводы которых соединены с общей шиной, кроме того, точки соединения соседних катушек индуктивности L1- Схема отдельного (в частности, первого) звена 1.1 полосового фильтра изображена на фиг. 3. Каждое звено стоит из первой катушки индуктивности L1 и последовательно соединенной с ней второй катушки индуктивности L2I. К точке соединения первой L1 и второй L2I катушек индуктивности подключены параллельно соединенные катушка индуктивности LK1 и конденсатор переменной емкости C1,образующие LC-контур. В предлагаемом устройстве конденсатор переменной емкости реализован в виде магазина конденсаторов и коммутатора. Предлагаемое устройство работает следующим образом. Для введения дополнительной индуктивной связи между звеньями осуществим следующие преобразования. Для этого воспользуемся теоремой Нортона [1]. В схему звена введены идеальные трансформаторы с коэффициентами трансформации 1:n и n:1 между каждой из двух последовательно включенных катушек индуктивности и параллельно включенным контуром, состоящим из катушки индуктивности и конденсатора, подключенных к общей шине. Идеальный трансформатор может быть заменен его эквивалентной схемой [2], после чего схема звена полосового фильтра приобретает вид, изображенный на фиг.3. Для пояснения работы предлагаемого устройства введем следующие обозначения для номиналов элементов, входящих в состав схемы: 1) полосового фильтра-прототипа: L1 - для входной и выходной катушки индуктивности; 2L1 - для остальных последовательно включенных катушек индуктивности; L2 - для катушек индуктивности LK1 … LKN параллельного контура; C1 - для каждого конденсатора параллельного контура; 2) предлагаемого полосового фильтра: L3 - для LД1… LДN+1; L4 - для L1 …LN+1последовательно соединенных катушек индуктивности; L5 - для катушек индуктивности LK1 … LKN параллельного контура; C2 - для каждого конденсатора CK параллельного контура. Каждая из последовательно включенных катушек индуктивности полосового фильтра преобразуется в две последовательно соединенные катушки индуктивности Для такой замены является необходимым соблюдение условия Благодаря наличию дополнительно введенной индуктивной связи между звеньями, имеется возможность регулировать ширину полосы пропускания такого фильтра. Рассмотрим работу фильтра, состоящего из двух последовательно соединенных звеньев, на примере двух первых звеньев предлагаемого устройства, представленных на фиг. 4. Индуктивная связь между звеньями формируется за счет катушек индуктивности L4 и L3. Параллельно включенные катушки индуктивности L3 ( Коэффициент связи k между контурами: в данном случае будет иметь значение [2]. Полоса пропускания фильтра располагается в пределах где ω0 – центральная частота фильтра, На фиг.5 представлены амплитудно-частотные характеристики полосового фильтра-прототипа (пунктирная линия) и предлагаемого перестраиваемого полосового фильтра (сплошная линия), где Предлагаемое техническое решение позволяет получить более узкую полосу пропускания фильтра на всем диапазоне перестройки, а также большую избирательность фильтра. Список литературы. 1. Черне Х.И. Индуктивные связи и трансформаторы в электрических фильтрах. – Москва, 1962, стр.191. 2. Атабеков Г.И. Москва – Ленинград, 1966, стр.167, стр.168.




















,








