патент
№ RU 2639069
МПК G08B17/00

Волоконно-оптический сигнализатор для систем оповещения о возгорании

Авторы:
Голубятников Виктор Николаевич Чекирда Павел Александрович Чабан Алексей Николаевич
Все (4)
Номер заявки
2016111084
Дата подачи заявки
25.03.2016
Опубликовано
19.12.2017
Страна
RU
Как управлять
интеллектуальной собственностью
Чертежи 
1
Реферат

Изобретение относится к противопожарной технике, а именно к сигнализаторам повышения температуры, и может быть использовано для обнаружения возгораний, в том числе и в двигательных отсеках летательных аппаратов. Предложено устройство волоконно-оптического сигнализатора для систем оповещения о возгорании, причем устройство включает в себя чувствительный элемент из кварцевого оптоволокна, заключенного в капилляр из нержавеющей стали, являющийся одновременно и источником ИК-излучения, многомодовое соединительное оптоволокно, оптические разветвители, оптические разъемы, источник излучения, двухспектральный фотодетектор или детектор спектрального отношения, исполнительный блок, формирующий необходимые сигналы для системы пожаротушения. В случае использования многоточечного способа контроля, двухспектральный детектор может быть выполнен как в виде матрицы со многими элементами, так и в виде матрицы из двух элементов. Устройство обеспечивает снижение инерционности, а также увеличение помехозащищенности. 2 з.п. ф-лы, 3 ил.

Формула изобретения

1. Волоконно-оптический сигнализатор для систем оповещения о возгорании, характеризующийся тем, что включает в себя один или несколько чувствительных элементов из кварцевого оптоволокна, заключенных в капилляры из нержавеющей стали, являющихся одновременно и источниками ИК-излучения, многомодовое соединительное оптоволокно, оптические разветвители, оптические разъемы, источник излучения, двухспектральный фотодетектор или детектор спектрального отношения, который может быть выполнен как в виде матрицы со многими элементами, так и в виде матрицы из двух элементов, а также исполнительный блок, формирующий необходимые сигналы для системы пожаротушения.

2. Волоконно-оптический сигнализатор для систем оповещения о возгорании по п. 1, отличающийся тем, что в качестве чувствительного элемента сигнализатора применяется кварцевое волокно большого диаметра (100-1000 мкм), помещенное в защитный капилляр из нержавеющей стали, являющийся источником ИК-излучения, и градиентную линзу, используемую для оптического согласования различных апертур применяемого оптоволокна.

3. Волоконно-оптический сигнализатор для систем оповещения о возгорании по пп. 1 и 2, отличающийся тем, что для повышения механической прочности в качестве чувствительного элемента сигнализатора может быть использовано дополнительно металлизированное оптоволокно, заключенное в защитный капилляр из нержавеющей стали.

Описание

[1]

Изобретение относится к противопожарной технике, а именно к сигнализаторам повышения температуры, и может быть использовано для обнаружения возгораний, в том числе и в двигательных отсеках летательных аппаратов.

[2]

Известно устройство датчика температуры, основанного на регистрации ИК-излучения нагретого тела (US 5364186А), возможно использование такого датчика в качестве сигнализатора возгорания. В качестве чувствительного элемента используется световод из кварца или сапфира с нанесенным на один конец керамическим материалом с большим коэффициентом излучения. Чувствительный элемент обладает малой инерционностью, высокой температурной и химической стойкостью. В качестве детектора используется односпектральный фотодетектор.

[3]

Недостатком этого устройства является невысокая механическая прочность, чувствительность к изгибам и изменению качества оптоволокна (например, в результате старения), соединяющего датчик и детектор. Также к недостаткам относится пропорциональное увеличение сложности системы при многоточечном замере температуры.

[4]

Наиболее близким по схеме работы к предлагаемому устройству является сигнализатор возгорания, использующий термопарные датчики. Чувствительным элементом сигнализатора является термобатарея, обеспечивающая подачу сигнала о пожаре при резком нарастании температуры. Достоинством его является возможность использования нескольких термопарных датчиков на одном канале измерения. Недостатком системы является относительно большая инерционность, срабатывание только по резкому изменению температуры, малая коррозионная стойкость используемых термоэлектрических сплавов, подверженность ЭМ помехам (АС 137422, 1962 г.).

[5]

Наиболее близким по исполнению к предлагаемому устройству является устройство для измерения температуры расплава, состоящее из пирометра, сапфирового световода с защитным колпачком из керамики, являющимся также и источником ИК-излучения (РФ 113836). Недостатком такого датчика, в случае использования его в качестве сигнализатора возгорания, будет большое время срабатывания из-за высокой тепловой инерционности защитного керамического колпачка и пропорциональное усложнение конструкции в случае многоточечного замера.

[6]

Задачей изобретения является снижение инерционности, увеличение помехозащищенности, повышение коррозионностойкости, упрощение конструкции в случае многоточечных замеров.

[7]

Поставленная задача достигается тем, что в качестве чувствительного элемента сигнализатора используется (диаметром 100-1000 мкм) кварцевое оптическое волокно, помещенное в защитный капилляр из нержавеющей стали, являющийся одновременно и источником ИК-излучения. Излучение из кварцевого волокна большого диаметра (100-1000 мкм) с помощью градиентной линзы вводится с небольшими потерями в стандартное многомодовое волокно (например, MMF (62.5)/125), по которому достигает двухспектрального детектора. В случае высоких рабочих температур в качестве чувствительного элемента сигнализатора может использоваться и обычное тонкое многомодовое волокно (MMF (62.5)/125), предварительно очищенное от защитной полимерной оболочки, помещенное в защитный капилляр из нержавеющей стали. Для повышения механической прочности в качестве чувствительного элемента сигнализатора может быть использовано дополнительно металлизированное оптоволокно, заключенное в защитный капилляр из нержавеющей стали. Двухспектральный фотодетектор или детектор спектрального отношения используется для повышения точности определения температуры и для минимизации ошибок при определении температуры, связанных с изгибами соединительного ММ волокна, с потерями в оптических соединителях и старении материала оптоволокна и не вызывающих изменение его спектральной пропускной способности. В случае использования многоточечного способа контроля двухспектральный детектор может быть выполнен как в виде матрицы со многими элементами, так и в виде матрицы из двух элементов.

[8]

Техническим результатом, обеспечиваемым приведенной совокупностью признаков, является уменьшение времени срабатывания, снижение зависимости результатов измерения от качества соединительного оптоволокна за счет применения двухспектрального метода детектирования, повышение помехозащищенности, упрощение конструкции в случае использования многоточечного способа контроля защищаемого объема.

[9]

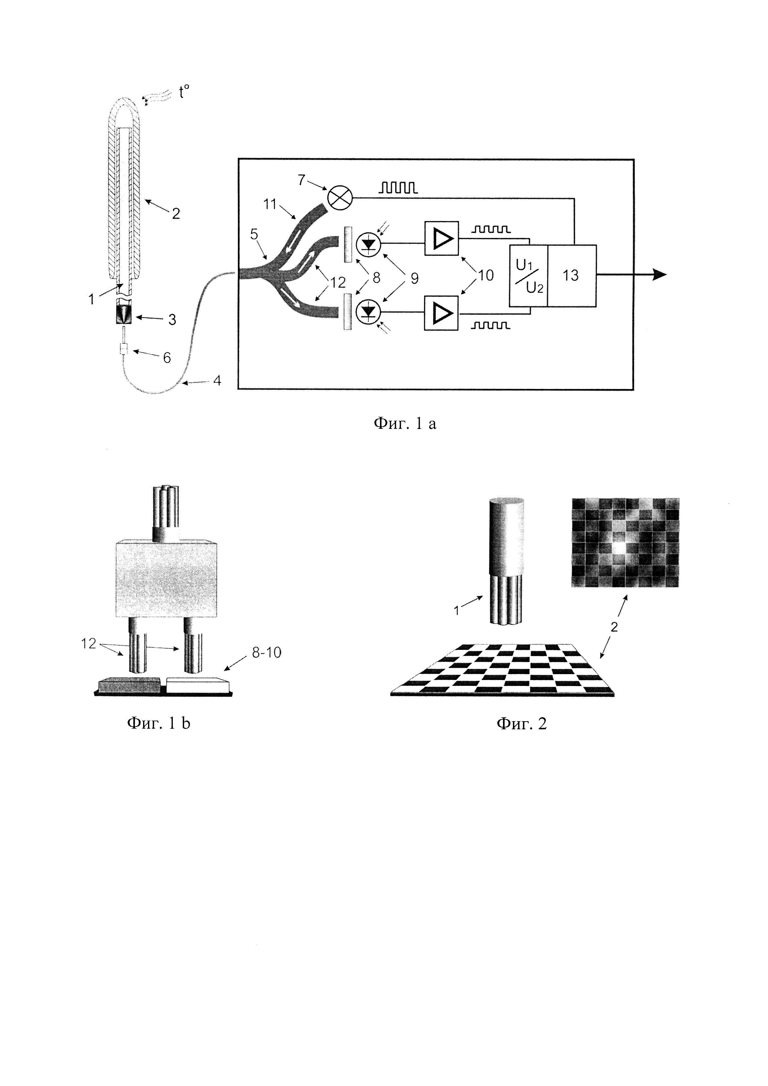
На фиг. 1а представлена конструкция предлагаемого устройства, содержащая кварцевое оптоволокно большого диаметра (1), заключенное в капилляр из нержавеющей стали (2), градиентную линзу (3), многомодовое оптоволокно (4), оптические разветвители (5), оптические разъемы (6), источник излучения (7), двухспектральный фотодетектор или детектор спектрального отношения (8-10), исполнительный блок (13), формирующий необходимые сигналы для системы пожаротушения.

[10]

Предлагаемое устройство работает следующим образом.

[11]

Оптоволокно, защищенное капилляром из нержавеющей стали, являющимся одновременно и источником ИК-излучения (далее точечный датчик, т.е. предназначенный для замера в определенной области пространства, не существенно превышающей размер чувствительного элемента), соединено с помощью оптического разъема со стандартным многомодовым оптоволокном, по которому ИК-излучение попадает через оптический разветвитель на двухспектральный фотодетектор или детектор спектрального отношения. В качестве полезного сигнала служит отношение сигналов с двух фотодетекторов, чувствительных к разным областям спектра. Таким образом, устраняется зависимость от абсолютной величины сигнала, которая может изменяться в результате изгибов и старения волокна, применения оптических разъемов, и т.д. Для контроля целостности оптоволокна и датчика используются короткие импульсы света от источника излучения, которые, проходя через разветвитель, соединительное волокно, попадают в датчик, отражаются от поверхности защитного капилляра из нержавеющей стали и возвращаются обратно на фотодетектор, где и регистрируются. Для повышения чувствительности точечного датчика диаметр оптоволокна в капилляре может быть увеличен (т.к. количество ИК-излучения, попадающего в оптоволокно, изменяется вместе с площадью поперечного сечения оптической сердцевины волокна). Длина такого волокна большого диаметра определяется размерами защищаемой зоны, за ее пределами осуществляется оптический переход к тонкому многомодовому волокну с помощью обычной или градиентной линзы, которое используется для дальнейшей прокладки вплоть до фотодетектора. Для создания «многоточечного» сигнализатора температуры можно применить следующую схему (фиг. 2).

[12]

В качестве фотодетектора выступает фотодиодная матрица (2) с количеством элементов, в несколько раз превышающим количество оптических волокон (1), соединенных с источниками ИК-излучения. Фотодиоды чувствительны к двум разным областям спектра. Попадающая на матрицу картина из пятен разного спектрального состава полностью описывает распределение температуры на чувствительных к ИК-излучению элементах.

[13]

В случае если нет необходимости определения температуры в каждой конкретной точке пространства защищаемого отсека, т.е. если температура в нем повысилась выше допустимой рабочей температуры в одном или сразу в нескольких местах, а обрабатывается огнетушащим составом весь отсек, возможно следующее упрощение конструкции (фиг. 1a, 1b).

[14]

Волокна (12) от оптических разветвителей сводятся в два жгута и направляются на двухспектральный фотодетектор или детектор спектрального отношения (8-10). Таким образом, при превышении рабочей температуры на одном или на нескольких чувствительных элементах изменяется суммарный спектр излучения, попадающий на фотодетекторы, и соответственно изменяется соотношение сигналов от фотодетекторов, чувствительных к разным областям спектра. Волокна (11) служат для проверки целостности соединительного оптоволокна и чувствительных элементов.

[15]

В результате применения защитных колпачков из нержавеющей стали достигается необходимая механическая прочность и химическая стойкость чувствительных элементов сигнализатора. Чувствительные элементы датчика имеют малый размер, и, следовательно, достигается уменьшение инерционности. Если нет необходимости следить за каждым датчиком отдельно, то схема детектирования существенно упрощается и логика ее работы максимально приближается к логике работы систем, использующих нескольких последовательно соединенных термопарных датчиков на каждом канале измерения.

Как компенсировать расходы
на инновационную разработку
Похожие патенты