патент
№ RU 2660393
МПК G01L7/08

Устройство для замера давления

Авторы:
Домнин Кирилл Геннадьевич Лобанов Олег Александрович Тумановская Валентина Павловна
Все (4)
Номер заявки
2017130978
Дата подачи заявки
01.09.2017
Опубликовано
06.07.2018
Страна
RU
Как управлять
интеллектуальной собственностью
Чертежи 
1
Реферат

Изобретение относится к технике измерения давления, а именно к устройствам, служащим для измерения циклически меняющегося давления высокотемпературного газа, например, в газовых трактах. Устройство состоит из полого контейнера с газоподводящим каналом. Внутри контейнера со стороны газоподводящего канала установлены демпфирующая вставка и датчик давления с мембраной. Демпфирующая вставка выполнена из теплозащитного эластичного материала и установлена на свободном торце мембраны датчика. Между газоподводящим каналом и демпфирующей вставкой соосно последней и с зазором установлен пакет из сеток, ячейки которых смещены относительно друг друга во всех слоях. Ось газоподводящего канала перпендикулярна оси симметрии датчика давления, а на смежном с пакетом сеток торце экрана выполнен крестообразный паз. Технический результат - повышение точности замера циклически меняющегося давления высокотемпературного газа. 1 з.п. ф-лы, 2 ил.

Формула изобретения

1. Устройство для замера давления, содержащее полый контейнер с газоподводящим каналом, внутри которого со стороны газоподводящего канала последовательно установлены демпфирующая вставка и датчик давления с мембраной, отличающееся тем, что демпфирующая вставка выполнена в виде экрана из теплозащитного эластичного материала и установлена на свободном торце мембраны датчика, а между газоподводящим каналом и демпфирующей вставкой соосно последней и с зазором установлен пакет из сеток, ячейки которых смещены относительно друг друга во всех слоях, при этом ось газоподводящего канала перпендикулярна оси симметрии датчика давления.

2. Устройство по п. 1, отличающееся тем, что в нем на смежном с пакетом сеток торце экрана выполнен крестообразный паз.

Описание

[1]

Предлагаемое изобретение относится к технике измерения давления, а именно, к устройствам, служащим для измерения давления высокотемпературного газа, например, в газовых трактах.

[2]

В литературе описаны устройства для замера давления в газовых трактах, в которых используется датчик давления, установленный в контейнер, выполненный с газоподводящим каналом (А.Н. Петунин. «Методы и техника измерений параметров газового потока». М.: «Машиностроение», 1972, стр. 168, рис. 2.18).

[3]

В таких устройствах в качестве чувствительного элемента используется плоская мембрана. Недостатками таких устройств является то, что мембрана датчика непосредственно контактирует с измеряемой средой. При измерении давления высокотемпературного газа происходит перегрев мембраны датчика и, как следствие, искажение выходного сигнала (отклонение нулевого уровня и уровней калибровок датчика от их начальных значений). Для устранения этих недостатков принимаются различные конструктивные меры.

[4]

В этой же книге на стр. 171, рис. 2.20, приведена конструкция устройства для замера давления, в которой для устранения искажений измерения давления и зашиты мембраны в газоподводящий канал установлена демпфирующая вставка. Данная конструкция принята за прототип.

[5]

К недостаткам данной конструкции можно отнести то, что соосное расположение мембраны датчика и газоподводящего канала приводит к локальному воздействию струи горячего газа на материал демпфирующей вставки, что усугубляет процесс разогрева последней, и кроме того, она не защищена от воздействия взвешенных частиц, находящихся в измеряемой среде.

[6]

Задачей предлагаемого изобретения является повышение точности замера давления высокотемпературного газа.

[7]

Указанная задача решается тем, что в устройстве для замера давления, содержащем полый контейнер с газоподводящим каналом, внутри которого со стороны газоподводящего канала установлены демпфирующая вставка и датчик давления с мембраной, демпфирующая вставка выполнена в виде экрана из теплозащитного эластичного материала и установлена на свободном торце мембраны датчика, а между газоподводящим каналом и демпфирующей вставкой соосно последней и с зазором установлен пакет из сеток, ячейки которых смещены относительно друг друга во всех слоях, при этом ось газоподводящего канала перпендикулярна оси симметрии датчика давления, а на смежном с пакетом сеток торце экрана выполнен крестообразный паз.

[8]

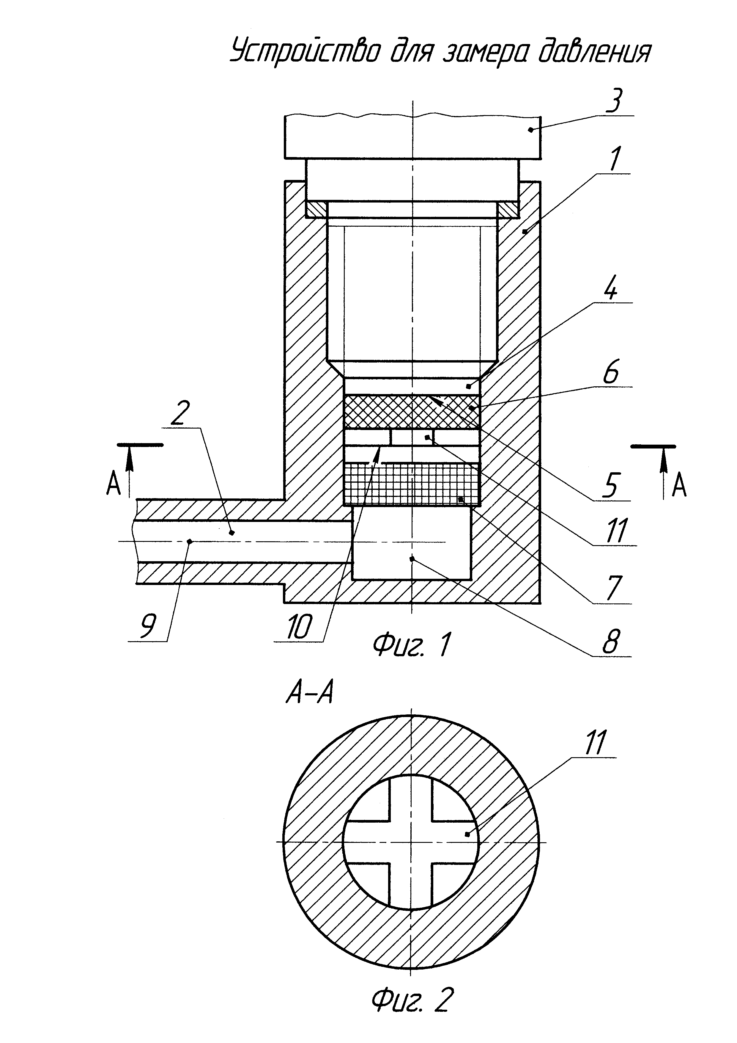
На фиг. 1 приведен общий вид устройства для замера давления. На фиг. 2 приведено сечение А-А.

[9]

Устройство содержит полый контейнер 1 с газоподводящим каналом 2, датчик давления 3 с мембраной 4, закрепленный на свободном торце 5 мембраны 4 экран 6, установленный в корпус 1 пакет из сеток 7. Ось симметрии 8 датчика давления 3 перпендикулярна оси 9 газоподводящего канала 2. На смежном с пакетом сеток 7 торце 10 экрана 6 выполнен крестообразный паз 11.

[10]

Устройство работает следующим образом. Газоподводящий канал 2 соединяют с полостью объекта, в которой требуется замерить давление высокотемпературного газа. При нагружении устройства давлением замеряемой среды газ по газоподводящему каналу 2 поступает в полость перед пакетом сеток.

[11]

Сформированная на выходе из газоподводящего канала газовая струя, взаимодействуя со стенками корпуса, теряет скорость и, разворачиваясь на угол 90°, входит в пакет из сеток 7, где окончательно рассеивается. Выходящий из пакета сеток 7 равномерный газовый поток нагружает давлением эластичный экран 6, который передает давление на мембрану 4 датчика давления 3, при этом вырабатывается соответствующий выходной сигнал, поступающий на аппаратуру регистрации.

[12]

Наличие на свободном торце 5 мембраны 4 датчика 3 экрана 6, выполненного из теплозащитного материала, позволяет существенно снизить прогрев мембраны.

[13]

Выполненный из эластичного материала экран 6 без заметных искажений передает давление мембране 4 датчика 6.

[14]

Установленный в контейнере 1 между газоподводящим каналом 2 и экраном 6 пакет из сеток 7 со смещенными относительно друг друга ячейками во всех слоях играет роль рассекателя газового потока и улавливателя взвешенных частиц. Благодаря этому усредняются параметры газа на выходе (локальное эрозионно-механическое воздействие струй горячего газа на торец экрана 6 может вызвать его преждевременное разрушение из-за низких физико-механических свойств теплозащитного эластичного материала экрана).

[15]

Благодаря наличию зазора между упомянутыми экраном 6 и пакетом из сеток 7 газ беспрепятственно и равномерно нагружает экран 6, а через него мембрану 4 датчика 3. Взаимно перпендикулярное расположение оси 9 газоподводящего канала 2 и оси симметрии 8 датчика давления 3 позволяет снизить локальное эрозионно-механическое воздействие газовой струи на материал сеток 7. Также и газовая струя, взаимодействуя со стенками контейнера 1, гасит свою скорость.

[16]

Все вышеперечисленные преимущества рассматриваемого устройства для замера давления позволяют существенно снизить нагрев мембраны 4 датчика 3, погрешность измерения которого увеличивается при перегреве его чувствительного элемента.

[17]

В результате использования предлагаемого устройства для замера давления высокотемпературного газа повышается точность измерения (стабильность нулевого уровня выходного сигнала и уровней калибровок) и надежность работы устройства.

[18]

Многократное нагружение эластичного теплозащитного экрана 6 давлением газа может привести к раскреплению его с мембраной 4 датчика 3. При спаде давления экран 6 перекрывает дренаж газа из околомембранной полости и датчик 3 регистрирует искаженную динамику спада давления в объекте измерения. Для повышения надежности работы устройства в нем на смежном с пакетом из сеток 7 торце экрана 6 выполнен крестообразный паз 11, по которому газ может беспрепятственно истекать из околомембранной полости.

[19]

Остальные требования к устройству выполняются в соответствии с действующими ГОСТ.

[20]

Таким образом, с учетом вышеизложенного, предлагаемая конструкция позволяет повысить точность замера давления высокотемпературного газа.

Как компенсировать расходы
на инновационную разработку
Похожие патенты