патент
№ RU 2476949
МПК H01F27/30

БЛОК КАТУШЕК ДЛЯ ЭЛЕКТРОМАГНИТНО-АКУСТИЧЕСКИХ ПРЕОБРАЗОВАТЕЛЕЙ

Авторы:
Кашин Алексей Михайлович
Номер заявки
2011126032/28
Дата подачи заявки
27.06.2011
Опубликовано
27.02.2013
Страна
RU
Как управлять
интеллектуальной собственностью
Чертежи 
7
Реферат

Использование: для неразрушающего ультразвукового контроля. Сущность: заключается в том, что блок катушек для электромагнитно-акустических преобразователей содержит группу катушек индуктивности, расположенных одна под другой с перекрытием и автономно подключенных к своему приемнику, при этом группа катушек имеет сколь угодно большую общую длину рабочей зоны, а катушки в группе расположены в нескольких слоях по направлению прямолинейно, криволинейно, по окружности в зависимости от назначения ультразвукового контроля, формы и направления перемещения объекта контроля, при этом блок снабжен второй группой катушек индуктивности, подключенных к своим генераторам, расположенной над первой группой катушек с полным или частичным перекрытием катушек первой группы, катушки второй группы размещены со смещением относительно друг друга в направлении поперечной оси, причем катушки обеих групп выполнены с различным количеством витков, различной шириной рабочей зоны и различной геометрической конфигурацией на плоскости, а длина рабочей зоны L катушек первой группы выбрана из условия L=(N×Z)-(N-1)×C, где Z - длина рабочей зоны катушки, N - число катушек, С - величина перекрытия для каждых соседних катушек. Технический результат: обеспечение электромагнитно-независимой друг от друга работы катушек на разных режимах от разных генераторов, разных приемников и создание равномерного акустического поля по всей ширине блока в большом диапазоне толщин контроля изделий. 4 з.п. ф-лы, 8 ил.

Формула изобретения

1. Блок катушек для электромагнитно-акустических преобразователей, содержащий группу катушек индуктивности, расположенных одна под другой с перекрытием и автономно подключенных к своему приемнику, при этом группа катушек имеет сколь угодно большую общую длину рабочей зоны, а катушки в группе расположены в нескольких слоях по направлению прямолинейно, криволинейно, по окружности в зависимости от назначения ультразвукового контроля, формы и направления перемещения объекта контроля, отличающийся тем, что блок снабжен второй группой катушек индуктивности, подключенных к своим генераторам, расположенной над первой группой катушек с полным или частичным перекрытием катушек первой группы, катушки второй группы размещены со смещением относительно друг друга в направлении поперечной оси, причем катушки обеих групп выполнены с различным количеством витков, различной шириной рабочей зоны и различной геометрической конфигурацией на плоскости, а длина рабочей зоны L катушек первой группы выбрана из условия L=(N·Z)-(N-1)·C, где Z - длина рабочей зоны катушки, N - число катушек, С - величина перекрытия для каждых соседних катушек.

2. Блок катушек по п.1, отличающийся тем, что катушки первой группы могут быть расположены относительно друг друга без перекрытия.

3. Блок катушек по п.1, отличающийся тем, что при полном перекрытии катушек первой группы катушками второй группы вторая группа катушек выполнена в виде одной катушки, а перекрытие составляет 100-150% от общей длины катушек первой группы.

4. Блок катушек по п.3, отличающийся тем, что вторая группа катушек выполнена в виде, по крайней мере, двух катушек, размещенных со смещением относительно другу друга в направлении поперечной оси.

5. Блок катушек по п.1, отличающийся тем, что при частичном перекрытии вторая группа катушек выполнена, по крайней мере, из одной катушки, перекрывающей все катушки первой группы, кроме крайних, перекрытие которых составляет 50-80% от длины их рабочей зоны.

Описание

[1]

Предлагаемое изобретение относится к области неразрушающего ультразвукового контроля и может быть использовано для выявления внутренних и поверхностных дефектов листов, полос, сортового проката и труб из токопроводящих материалов.

[2]

В настоящее время отмечается бурное развитие методов и средств неразрушающего контроля материалов и изделий. Преимущественно это приборы, реализующие метод контроля с использованием контактной жидкости. В то же время были определены области, в которых применение контактных методов контроля недостаточно эффективно. Это контроль изделий с загрязненной поверхностью без специальной зачистки, дефектоскопия горячих и холодных изделий, высокоскоростной контроль, дефектоскопия с низкими эксплуатационными затратами и т.д. Поэтому в последние годы наблюдается интенсификация исследований и разработок в направлении создания средств оценки качества изделий бесконтактными способами. Наибольшие технические успехи в отмеченном направлении достигнуты за счет применения электромагнитно-акустического (ЭМА) способа возбуждения и приема ультразвуковых колебаний. Для увеличения чувствительности контроля с применением ЭМА преобразователей существуют различные конструкции катушек индуктивности, являющихся основным элементом преобразователей.

[3]

Задачей, на решение которой направлено данное изобретение, является создание блока (сборки) катушек индуктивности для ЭМА преобразователя с таким расположением и соединением в нем, при котором бы обеспечивалась их электромагнитно независимая друг от друга работа на разных режимах от разных генераторов, разных приемников и создание равномерного акустического поля по всей ширине блока в большом диапазоне толщин контроля изделий.

[4]

Известен электромагнитно-акустический преобразователь (ЭМАП), содержащий корпус, крышку, разъем и, по меньшей мере, две катушки индуктивности, сформированные на защитной подложке из диэлектрика, расположенные послойно путем наложения одна на другую со сдвигом в направлении намотки и выполненные в виде отдельных секций, намотанных одним проводом и уложенных вплотную друг к другу (патент RU №2206888, Кл. G01N 29/24, 2002 г.).

[5]

Недостатком известного технического решения является сложность изготовления катушек из-за их расположения и неоднородность создаваемого акустического поля.

[6]

Известна катушка индуктивности электромагнитно-акустического преобразователя, изготовленная на плате из диэлектрика, однослойная или многослойная, содержащая одну или несколько секций различной формы, при этом в многослойной катушке витки одного слоя располагаются между витками другого слоя без перекрытия, на одной или на противоположной сторонах катушки и соединены между собой (патент RU №2268517, Кл. H01F 27/30, 2004 г.).

[7]

Недостатком известной многослойной катушки является невозможность использования этих секций в автономном режиме путем подключения их к разным генераторам и приемникам, что снижает чувствительность электромагнитно-акустического преобразователя.

[8]

Наиболее близким по технической сущности и достигаемому при использовании результату к заявляемому изобретению является блок катушек для электромагнитно-акустических преобразователей, содержащий группу катушек индуктивности, расположенных одна под другой с перекрытием и автономно подключенных к своему приемнику, при этом группа катушек имеет сколь угодно большую общую длину рабочей зоны, а катушки в группе расположены в нескольких слоях по направлению прямолинейно, криволинейно, по окружности в зависимости от назначения ультразвукового контроля, формы и направления перемещения объекта контроля (патент RU №2325638, Кл. G01N 29/22, 2006 г.).

[9]

К недостатку известной конструкции блока катушек, и как следствие ЭМАП, относится невозможность создания однородного (без флуктуации амплитуды сигнала) акустического поля в пределах ширины преобразователя на разной глубине толщины изделия, а также к недостатку данной конструкции блока катушек индуктивности необходимо отнести наличие взаимного перекрытия соседних катушек и как следствие наличие их электромагнитной связи, которая может ухудшать помехозащищенность и селекцию ультразвуковых сигналов среди помех.

[10]

Сущность изобретения заключается в том, что предложенная конструкция блока катушек позволяет обеспечить электромагнитно независимую друг от друга работу на разных режимах от разных генераторов, разных приемников и создание равномерного акустического поля по всей ширине блока в большом диапазоне толщин контроля изделий.

[11]

Указанный технический результат достигается тем, что в заявляемый блок катушек индуктивности для электромагнитно-акустического преобразователя дополнительно введена вторая группа катушек, перекрывающая первую группу катушек, что повышает помехозащищенность и достоверность ультразвукового контроля.

[12]

Это достигается тем, что блок катушек для электромагнитно-акустических преобразователей, содержащий группу катушек индуктивности, расположенных одна под другой с перекрытием и автономно подключенных к своему приемнику, при этом группа катушек имеет сколь угодно большую общую длину рабочей зоны, а катушки в группе расположены в нескольких слоях по направлению прямолинейно, криволинейно, по окружности в зависимости от назначения ультразвукового контроля, формы и направления перемещения объекта контроля, блок снабжен второй группой катушек индуктивности, подключенных к своим генераторам, расположенной над первой группой катушек с полным или частичным перекрытием катушек первой группы, катушки второй группы размещены со смещением относительно друг друга в направлении поперечной оси, причем катушки обеих групп выполнены с различным количеством витков, различной шириной рабочей зоны и различной геометрической конфигурацией на плоскости, а длина рабочей зоны L катушек первой группы выбрана из условия L=(N×Z)-(N-1)×C, где Z-длина рабочей зоны катушки, М-число катушек, С-величина перекрытия для каждых соседних катушек.

[13]

Кроме того, в блоке катушек катушки первой группы могут быть расположены друг относительно друга без перекрытия. При полном перекрытии катушек первой группы катушками второй группы вторая группа катушек выполнена в виде одной или нескольких катушек с перекрытием 100-150% от общей длины катушек первой группы. В случае выполнения второй группы из нескольких катушек последние размещены со смещением относительно друг друга в направлении поперечной оси. При частичном перекрытии вторая группа катушек выполнена, по крайней мере, из одной катушки, перекрывающей все катушки первой группы, кроме крайних, перекрытие которых составляет 50-80% от длины их рабочей зоны.

[14]

Таким образом, предложенная конструкция блока катушек для электромагнитно-акустического преобразователя дает возможность повысить надежность и достоверность контроля качества металлопроката и труб за счет работы катушек индуктивности независимо друг от друга и создания равномерного акустического поля по всей ширине блока в большом диапазоне толщин контроля изделий.

[15]

Проведенный заявителем анализ уровня техники, включающий поиск по патентным и научно-техническим источникам информации, содержащим сведения об аналогах заявляемого изобретения, позволил установить, что аналоги, характеризующиеся признаками заявляемого изобретения, не обнаружены, а из перечня выявленных аналогов подобран прототип, как наиболее близкий по совокупности признаков, что позволило определить отличительные признаки заявляемого технического решения. По мнению заявителя, заявляемое изобретение соответствует критерию «новизна» по действующему законодательству.

[16]

Предлагаемое техническое решение не следует явным образом из известного уровня техники, поэтому оно соответствует критерию «изобретательский уровень».

[17]

Для подтверждения промышленной применимости изобретения приводятся чертежи выполнения блока катушек ЭМАП и описание его работы.

[18]

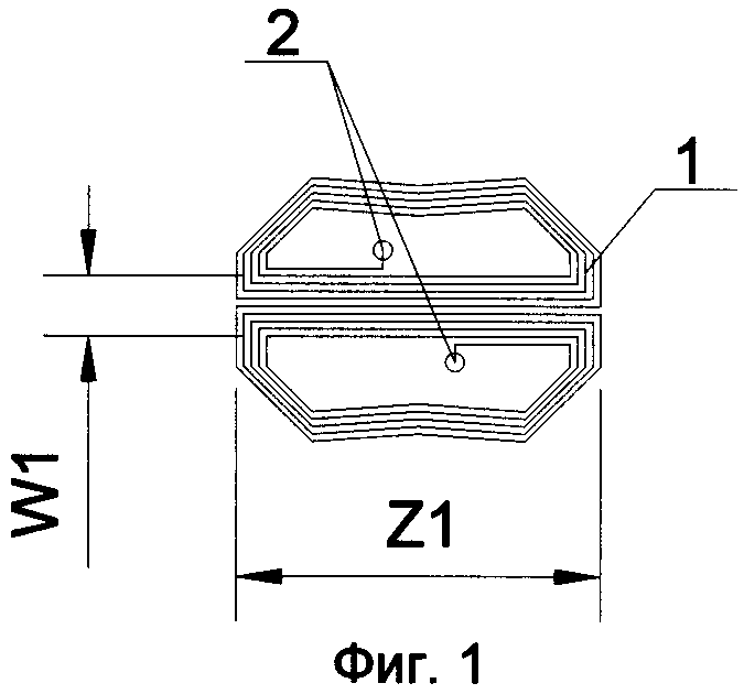
На фиг.1 показан пример катушки первой группы.

[19]

На фиг.2 показан пример расположения катушек первой группы с перекрытием.

[20]

На фиг.2а показан пример расположения катушек первой группы без перекрытия.

[21]

На фиг.3 показан пример катушки второй группы.

[22]

На фиг.3а показан пример двух катушек второй группы.

[23]

На фиг.4 и 4а показаны возможные варианты сборки катушек первой группы и катушек второй группы.

[24]

На фиг.5 показано расположение катушек относительно друг друга в соседних слоях.

[25]

На фиг.1 показаны катушки 1 первой группы с длиной и шириной рабочей зоны Z1 и W1 соответственно. Катушки 1 имеют контакты 2 подключения к независимым приемникам.

[26]

На фиг.2 показано расположение катушек 1 первой группы (N=6) с перекрытием С1, длиной L и шириной W1 рабочей зоны соответственно, где N количество катушек в группе. При этом L=(N×Z1)-(N-1)×C1.

[27]

На фиг.2а показано расположение катушек 1 первой группы (N=5) без перекрытия, длиной L и шириной W1 рабочей зоны соответственно.

[28]

На фиг.3 показаны катушки 3 второй группы с длиной и шириной рабочей зоны Z2 и W2 соответственно. Катушки 3 имеют контакты 4 подключения к независимым генераторам.

[29]

На фиг.3а показаны катушки 3 второй группы (N=2) с длиной и шириной рабочей зоны Z2 и 2×W2+C2 соответственно, где С2 - смещение катушек второй группы.

[30]

На фиг.4 и 4а показаны возможные варианты сборки катушек 1 первой группы и катушек 3 второй группы.

[31]

На фиг.5 показано расположение катушек относительно друг друга в соседних слоях, Н1 и Н2 - расстояние между слоями.

[32]

Блок катушек для электромагнитно-акустических преобразователей работает следующим образом.

[33]

Собирают блок, состоящий, например, из шести катушек 1 индуктивности первой группы (Фиг.2), имеющих длину Z1 и ширину W1 рабочей зоны, и катушки 3 второй группы (Фиг.3), имеющей длину Z2 и ширину W2 рабочей зоны. Катушки 1 первой группы собраны с перекрытием, равным С1. При этом общая длина L рабочей зоны катушек 1 составляет L=(N×Z1)-(N-1)×C1. Каждая катушка 1 из первой группы катушек подсоединена через контакты 2 к своему приемнику. Катушка 3 второй группы через контакты 4 подключена к своему генератору. Катушку 3 устанавливают над катушками 1 первой группы с полным перекрытием последних (Фиг.4). Генератор (не показан) возбуждает высокочастотный электрический сигнал на катушке 3, вследствие чего в объекте контроля индуцируются вихревые токи, которые под действием магнитного поля (не показано) возбуждают ультразвуковую волну. Ультразвуковая волна, отразившаяся от возможного дефекта, принимается одной из катушек 1 и усиливается в приемнике, к которому подключена данная катушка.

[34]

Независимая работа катушек первой и второй групп позволяет создать равномерное акустическое поле по всей ширине блока в большом диапазоне толщин контроля изделий.

[35]

Перекрытие катушек первой группы катушками второй группы обеспечивает равномерное акустическое поле по всей ширине блока катушек и повышает чувствительность контроля.

[36]

В случае полного перекрытия (100-150% от всей длины катушек первой группы) гарантированно увеличивается ширина равномерного акустического поля. При частичном перекрытии должно выполняться условие Z2=L-(50…80%)×Z1.

[37]

При всех прочих условиях катушки второй группы должны располагаться симметрично относительно блока из катушек первой группы.

[38]

Применение единых катушек второй группы для последовательно расположенных катушек первой группы позволяет обеспечить однородность акустического поля ЭМАП с величиной неравномерности для каждого канала ЭМАП не более 0,5 дБ, а также обеспечить оптимальное согласование катушек с генератором и приемником независимо друг от друга и тем самым повысить чувствительность блока ЭМАП, и как следствие, общую помехозащищенность и надежность ультразвукового контроля.

Как компенсировать расходы
на инновационную разработку
Похожие патенты