патент
№ RU 2703673
МПК H04W4/70

Компьютерно-реализуемый способ для передачи данных в сети LPWAN между абонентской станцией и базовой станцией

Авторы:
Эйнтроп Антон Александрович
Номер заявки
2018145463
Дата подачи заявки
21.12.2018
Опубликовано
21.10.2019
Страна
RU
Как управлять
интеллектуальной собственностью
Чертежи 
2
Реферат

Изобретение относится к передаче данных в сетях LPWAN. Технический результат – обеспечение передачи информации без потери пакетов аутентифицированной абонентской станцией. Компьютерно-реализуемый способ для передачи данных в сети LPWAN между абонентской станцией (АС) и базовой станцией (БС), содержит этапы на которых передают информацию от базовой станции, представленную в виде пакета данных от прикладного уровня в сеть на физический уровень, обрабатывают передаваемую информацию путем разбиения передаваемых данных на отдельные блоки и каждому отдельному блоку добавляют поля FragNum и LF, где значение поля FragNum отслеживает номер блока для получения в дальнейшем самого пакета, состоящего из блоков, расположенных в верном порядке, а значение поля LF указывает, является ли этот блок последним из всех блоков, образующих пакет, кроме того, в один из блоков добавляют криптографическую подпись пакета Auth, используемую для аутентификации абонентской станции, преобразовывают форму представления или кодировки данных в блоке и добавляют к каждому блоку заголовки соответствующего уровня, инкапсулируют в каждый передаваемый по физическому уровню информационный блок сведения, характеризующие выбор последовательности протоколов для осуществления обратных преобразований на принимающей информацию абонентскую станцию, аутентифицируют абонентскую станцию, и принимают аутентифицированной абонентской станцией переданную информацию. 2 з.п. ф-лы, 4 ил.

Формула изобретения

1. Компьютерно-реализуемый способ для передачи данных в сети LPWAN между абонентской станцией (АС) и базовой станцией (БС), заключающийся в выполнении этапов, на которых:

- передают информацию от базовой станции, представленную в виде пакета данных от прикладного уровня в сеть на физический уровень, при этом пакет состоит из нескольких типов данных: управляющей информации, которая содержится в начале и конце пакета и полезной нагрузки, а между ними размещаются пользовательские данные, при этом управляющая информация содержит данные, необходимые для доставки полезной нагрузки;

- обрабатывают передаваемую информацию путем разбиения передаваемых данных на отдельные блоки и каждому отдельному блоку добавляют поля FragNum и LF, где значение поля FragNum отслеживает номер блока для получения в дальнейшем самого пакета, состоящего из блоков, расположенных в верном порядке, а значение поля LF указывает, является ли этот блок последним из всех блоков, образующих пакет, кроме того, в один из блоков добавляют криптографическую подпись пакета Auth, используемую для аутентификации абонентской станции;

- преобразовывают форму представления или кодировки данных в блоке и добавляют к каждому блоку заголовки (header) соответствующего уровня, при этом каждый заголовок характеризует используемый протокол обработки данных, а каждый уровень воспринимает в качестве данных весь блок, полученный от предыдущего уровня, включая присоединенный заголовок;

- инкапсулируют в каждый передаваемый по физическому уровню информационный блок сведения, характеризующие выбор последовательности протоколов для осуществления обратных преобразований на принимающей информацию абонентскую станцию;

- аутентифицируют абонентскую станцию;

- и принимают аутентифицированной абонентской станцией переданную информацию.

2. Способ по п.1, характеризующийся тем, что данными, которые необходимы для доставки полезной нагрузки являются: адреса отправителя и получателя, коды обнаружения ошибок (типа контрольных сумм) и информацию об очерёдности.

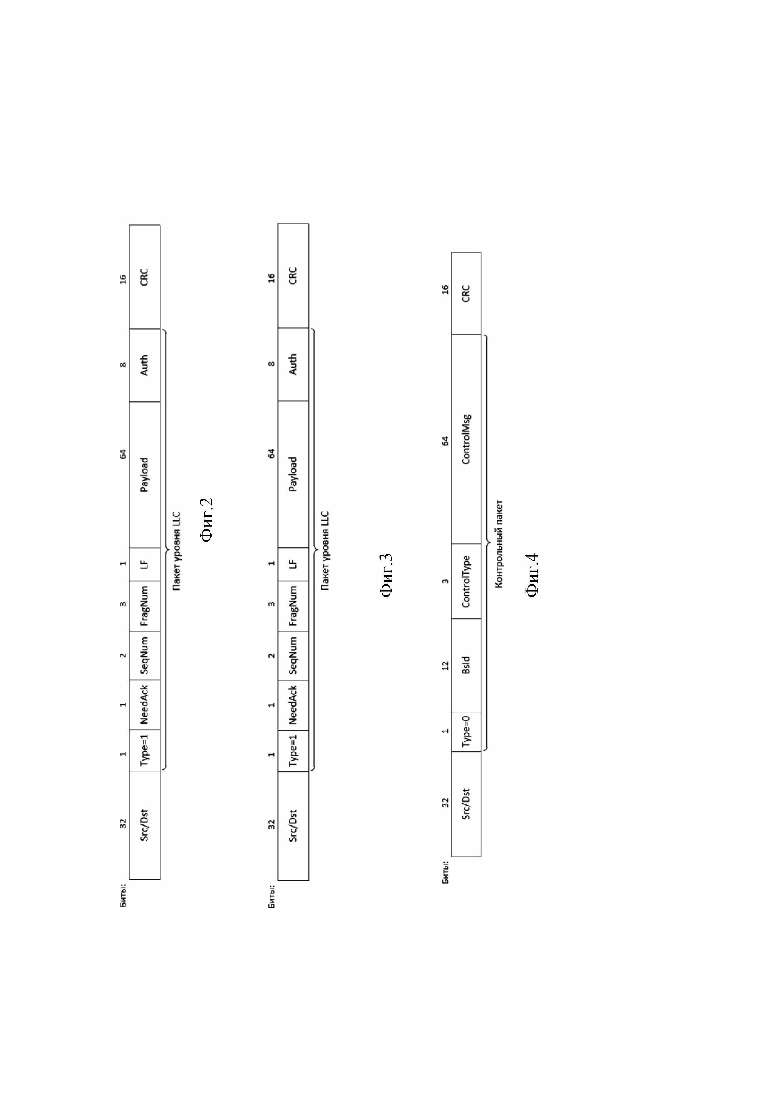
3. Способ по п.1, характеризующийся тем, что криптографическая подпись пакета Auth может быть выполнена в виде кода аутентификации сообщения (имитовставки) или электронной цифровой подписи.

Описание

[1]

Настоящее изобретение относится в целом к способам передачи данных в сетях LPWAN и, более конкретно, к форматам пакета данных в разработанном протоколе сети LPWAN.

[2]

УРОВЕНЬ ТЕХНИКИ

[3]

Сеть LPWAN (англ. Low-power Wide-area Network — «энергоэффективная сеть дальнего радиуса действия») — беспроводная технология передачи небольших по объёму данных на дальние расстояния, разработанная для распределённых сетей телеметрии, межмашинного взаимодействия и интернета вещей. LPWAN является одной из беспроводных технологий, обеспечивающих среду сбора данных с различного оборудования: датчиков, счётчиков и сенсоров.

[4]

Технология LPWAN ориентирована на приложения, требующие гарантированной передачи небольшого объёма данных, возможности длительной работы сетевых устройств от автономных источников питания, большого территориального охвата беспроводной сетью. Основными областями применения технологии LPWAN являются беспроводные сенсорные сети, автоматизация сбора показаний приборов учета, системы промышленного мониторинга и управления.

[5]

Примеры использования LPWAN

[6]

Сейчас LPWAN-технологии широко используются в отслеживании активов, управлении зданиями, реализации концепции «умный город», умном учете ресурсов и т.д. Аналитики Berg Insight отмечают, что LPWAN будут активно использоваться в сельском хозяйстве, особенно в местностях, не охваченной мобильной связью.

[7]

Например, сеть IoT с использованием наземных каналов – базовых станций LPWAN от Actility и спутникового канала (для передачи информации от базовой станции в интернет) в феврале 2017 года запустил глобальный провайдер спутниковой связи компания Inmarsat.

[8]

Реализация такого проекта позволит более эффективно выращивать масленичную пальму в Малайзии. Плантации, как правило, находятся вдали от цивилизации. Датчики соберут информацию о влажности почвы на угодьях, у корней растений, проанализируют количество пресной воды в резервуарах, позволят экономно расходовать ресурсы и увеличить урожайность этой агрокультуры.

[9]

Фермерам на удаленных фермах в Австралии отныне не придется тратить много времени на определение местонахождения, параметров здоровья и других важных показателей крупного рогатого скота. Как правило, добраться до некоторых ранчо можно только авиацией, поэтому услуги ветеринара не всегда доступны. Использование LPWAN и спутниковой связи решит эту проблему.

[10]

Пригодится такое решение и на нефтяных платформах в море. С помощью датчиков и предиктивной аналитики можно будет оперативно определить потенциальные точки сбоя и вовремя провести профилактику. Это убережет компании от простоев, ежедневные убытки от которых исчисляются миллионами долларов.

[11]

Из уровня техники известна сеть беспроводной связи LPWAN (US 20180132293 A1 (Qualcomm Inc), опубл. 10.05.2018) в которой осуществлена возможность базовым станциям обмениваться пакетами данных с большим числом абонентских станций. В данной сети для аутентификации данных применяется код аутентификации сообщения (имитовставку) (message authentication code (MAC)).

[12]

Недостатком данного решения является ограниченность количества адресуемых абонентских станций, отсутствие аутентификации абонентских станций разных классов, отсутствие возможности объединять данные из нескольких пакетов на базовой станции.

[13]

Известны также решения, обеспечивающие передачу данных в сетях LPWAN. Такие решения, например, раскрыты в следующих документах: CN206757355U, CN106899387A, WO2017167721A1.

[14]

Указанные выше решения, известные из уровня техники, также имеют ограниченную функциональность в части ограничения количества адресуемых абонентских станций, а также в них отсутствует возможность объединять данные из нескольких пакетов на базовой станции.

[15]

СУЩНОСТЬ ИЗОБРЕТЕНИЯ

[16]

Технической проблемой, на решение которой направлено заявленное техническое решение, является создание компьютерно-реализуемого способа для передачи данных в сети LPWAN между абонентской станцией (АС) и базовой станцией (БС), позволяющего в режиме реального времени осуществлять автоматизированную передачу информации, представленной в виде пакета данных без потери информации, и позволяющего определенной абонентской станцией принимать аутентифицированную именно ей переданную информацию.

[17]

Технический результат заключается в передаче информации без потери пакетов аутентифицированной АС.

[18]

В предпочтительном варианте реализации заявлен компьютерно-реализуемый способ для передачи данных в сети LPWAN между абонентской станцией (АС) и базовой станцией (БС), заключающийся в выполнении этапов, на которых:

[19]

- передают информацию от БС, представленную в виде пакета данных от прикладного уровня в сеть на физический уровень, при этом пакет состоит из нескольких типов данных: управляющей информации, которая содержится в начале и конце пакета и полезной нагрузки, а между ними размещаются пользовательские данные, при этом управляющая информация содержит данные, необходимые для доставки полезной нагрузки;

[20]

- обрабатывают передаваемую информацию путем разбиения передаваемых данных на отдельные блоки и каждому отдельному блоку добавляют поля FragNum и LF, где значение поля FragNum отслеживает номер блока для получения в дальнейшем самого пакета, состоящего из блоков, расположенных в верном порядке, а значение поля LF указывает является ли этот блок последним из всех блоков, образующих пакет, кроме того в один из блоков добавляют криптографическую подпись пакета Auth, используемую для аутентификации АС;

[21]

- преобразовывают форму представления или кодировки данных в блоке и добавляют к каждому блоку заголовки (header) соответствующего уровня, при этом каждый заголовок характеризует используемый протокол обработки данных, а каждый уровень воспринимает в качестве данных весь блок, полученный от предыдущего уровня, включая присоединенный заголовок;

[22]

- инкапсулируют в каждый передаваемый по физическому уровню информационный блок сведения, характеризующие выбор последовательности протоколов для осуществления обратных преобразований на принимающей информацию АС; аутентифицируют АС; и принимают аутентифицированной АС переданную информацию.

[23]

В частном варианте данные, которые необходимы для доставки полезной нагрузки являются: адреса отправителя и получателя, коды обнаружения ошибок (типа контрольных сумм) и информацию об очерёдности.

[24]

В частном варианте криптографическая подпись пакета Auth может быть выполнена в виде кода аутентификации сообщения (имитовставки) или электронной цифровой подписи.

[25]

ОПИСАНИЕ ЧЕРТЕЖЕЙ

[26]

Реализация изобретения описана в дальнейшем в соответствии с прилагаемыми чертежами, которые представлены для пояснения сути изобретения и никоим образом не ограничивают область изобретения.

[27]

К заявке прилагаются следующие чертежи:

[28]

Фиг. 1 иллюстрирует общую архитектуру стека протоколов на АС и БС;

[29]

Фиг. 2 иллюстрирует формат №1 пакета канального уровня, предназначен для коротких сообщений размером до 8 октетов;

[30]

Фиг. 3 иллюстрирует формат №2 пакета канального уровня для сообщений размером более 8 октетов до 120 октет;

[31]

Фиг. 4 иллюстрирует формат №3 пакета канального уровня, дополнительно содержит поле контрольного пакета - ControlMsg, необходимый для передачи управленческих команд (например, необходимость корректировки времени).

[32]

ДЕТАЛЬНОЕ ОПИСАНИЕ ИЗОБРЕТЕНИЯ

[33]

В приведенном ниже подробном описании реализации изобретения приведены многочисленные детали реализации, призванные обеспечить отчетливое понимание настоящего изобретения. Однако, квалифицированному в предметной области специалисту, очевидно, каким образом можно использовать настоящее изобретение, как с данными деталями реализации, так и без них. В других случаях хорошо известные методы, процедуры и компоненты не описаны подробно, чтобы не затруднять излишне понимание особенностей настоящего изобретения.

[34]

Кроме того, из приведенного изложения ясно, что изобретение не ограничивается приведенной реализацией. Многочисленные возможные модификации, изменения, вариации и замены, сохраняющие суть и форму настоящего изобретения, очевидны для квалифицированных в предметной области специалистов.

[35]

Настоящее изобретение направлено на обеспечение компьютерно-реализуемого способа для передачи данных в сети LPWAN между абонентской станцией (АС) и базовой станцией (БС).

[36]

Как представлено на Фиг. 1, заявленный способ (100) включает абонентские станции (АС) (110) и базовую станцию (БС) (120).

[37]

Абонентские станции (АС) (110) включает архитектуру прикладного уровня (APP), подуровень управления логической связью (LLC), канального уровня (MAC) и физического уровня (PHY).

[38]

Базовая станция (БС) (120) включает архитектуру канального уровня (MAC) и физического уровня (PHY).

[39]

Модель OSI – это модель взаимодействия открытых систем. Модель представляет собой международный стандарт для проектирования сетевых коммуникаций и предполагает уровневый подход к построению сетей.

[40]

Каждый уровень модели обслуживает различные этапы процесса взаимодействия. Посредством деления на уровни сетевая модель OSI упрощает совместную работу оборудования и программного обеспечения.

[41]

Эталонная модель OSI разделяет сетевые функции на семь уровней: прикладной, уровень представления, сессионный, транспортный, сетевой, канальный и физический.

[42]

Набор правил, определяющих порядок взаимодействия средств, относящихся к одному и тому же уровню и функционирующих в разных системах, называется протоколом. При реализации протоколов допускаются отклонения от эталонной модели OSI, стеки протоколов могут предполагать собственную схему деления на уровни, т.е. могут отличаться количеством уровней, форматами передачи пакетов данных и т.п.

[43]

Стек протоколов – это разделенный на уровни набор протоколов, которые работают совместно, реализуя определенную коммуникационную архитектуру. Предлагаемый стек протоколов передачи данных в сети LPWAN включает в себя прикладной, канальный и физический уровни. На фиг. 1 представлена, разработанная общая архитектура стека протоколов на АС и БС, согласно ей, реализуется взаимодействие между передающей станцией и приемной станцией в сетях LPWAN.

[44]

Передающая станция означает стационарный и/или мобильный узел, который передает данные. При этом приемная станция означает стационарный и/или мобильный узел, который принимает данные. Поэтому, мобильная станция может становиться передающей станцией, а базовая станция может становиться принимающей станцией, на восходящей линии связи.

[45]

Подобным образом, мобильная станция может становиться принимающей станцией, а базовая станция может становиться передающей станцией, на нисходящей линии.

[46]

В сети LPWAN АС взаимодействуют с БС по вышеописанному стеку протоколов согласно расписанию (передача информации запланирована заблаговременно) или по ситуации (передача данных на основе конкуренции).

[47]

При передаче информации от прикладного процесса в сеть на физический уровень происходит ее обработка, которая заключается в разбиении передаваемых данных на отдельные блоки, преобразовании формы представления или кодировки данных в блоке и добавлении к каждому блоку заголовка (header) соответствующего уровня. Каждый заголовок характеризует используемый протокол обработки данных, причем каждый уровень воспринимает в качестве данных весь блок, полученный от предыдущего уровня, включая присоединенный заголовок.

[48]

Такое построение формата позволяет заложить (инкапсулировать) в каждый передаваемый по физической среде информационный блок сведения, необходимые для выбора последовательности протоколов для осуществления обратных преобразований на принимающей информацию стороне.

[49]

Формат пакета определяет перечень и последовательность полей. Пакет состоит из двух типов данных: управляющей информации и полезной нагрузки (данные пользователя). Управляющая информация содержит данные, необходимые для доставки полезной нагрузки: адреса отправителя и получателя, коды обнаружения ошибок (типа контрольных сумм) и информацию об очерёдности.

[50]

Управляющая информация содержится в начале и конце пакета, а между ними размещаются пользовательские данные. У разных систем связи (GSM, спутниковые связи) существуют собственные форматы для того, чтобы идентифицировать предназначенный для этой системы связи пакет данных. Эти форматы определяют функциональную часть для соответствующей системы связи.

[51]

Для сети LPWAN были доработаны форматы пакетов в разработанном протоколе канального уровня. Рассмотрим детально каждое поле форматов (фиг. 2, 3 и 4).

[52]

Описание полей форматов протоколов (фиг. 2, 3 и 4):

[53]

• Src/Dst (32 бита) – для пакетов, передаваемых в восходящем канале,

[54]

Src – адрес АС, передающей сообщение.

[55]

Для пакетов, передаваемых нисходящем канале, Dst – адрес АС, которой адресован пакет.

[56]

• Type (1 бит) – тип пакета («0» для контрольного пакета и «1» для пакета с данными);

[57]

• NeedAck (1 бит) – если флаг выставлен, то на данный пакет сообщение ожидается

[58]

• SeqNum (2 бита) – порядковый номер APP-пакета, который содержится в поле Payload;

[59]

• FragNum (3 бита) – номер фрагмента APP-пакета, который содержится в поле Payload

[60]

(нумерация фрагментов осуществляется с 0);

[61]

• LF (1 бит) – флаг, идентифицирующий, что данные, содержащиеся в поле Payload, являются последним фрагментом APP-пакета;

[62]

• Len (4 бита) – длина поля Payload (в 8-байтных словах);

[63]

• Payload (переменной длины) – полезные данные пакета;

[64]

• Unused (переменной длины) – поле заполняется нолями и используется для дополнения размера пакета канального уровня до 128 байт в случае, если размер поля Payload меньше 120 байт;

[65]

• Auth (8 бит) – криптографическая подпись пакета, используемая для аутентификации;

[66]

• BsId (12 бит) – идентификатор БС;

[67]

• ControlType (3 бита) – тип контрольного пакета;

[68]

• ControlMsg (64 бита) – контрольный пакет;

[69]

• CRC (16 бит) – контрольная сумма сообщения.

[70]

Соответственно, настоящее изобретение создано для того, чтобы решить, по меньшей мере, упомянутые выше проблемы, возникающие при передачи данных в сети LPWAN.

[71]

В настоящих материалах заявки представлено предпочтительное раскрытие осуществление заявленного технического решения, которое не должно использоваться как ограничивающее иные, частные воплощения его реализации, которые не выходят за рамки испрашиваемого объема правовой охраны и являются очевидными для специалистов в соответствующей области техники.

Как компенсировать расходы
на инновационную разработку
Похожие патенты