Изобретение относится к области радиопередающих устройств и может быть использовано в составе бортовой аппаратуры космических аппаратов. Технический результат заключается в уменьшении величины интермодуляционных искажений третьего и пятого порядка сигналов радиопередающих устройств. Устройство состоит из семи блоков умножения, трех блоков суммирования, двух блоков масштабирования, блока инвертирования и трех блоков временной задержки. Оптимальные значения коэффициентов масштабирования подбирают при регулировании цифрового устройства с известными нелинейными характеристиками. 1 ил.
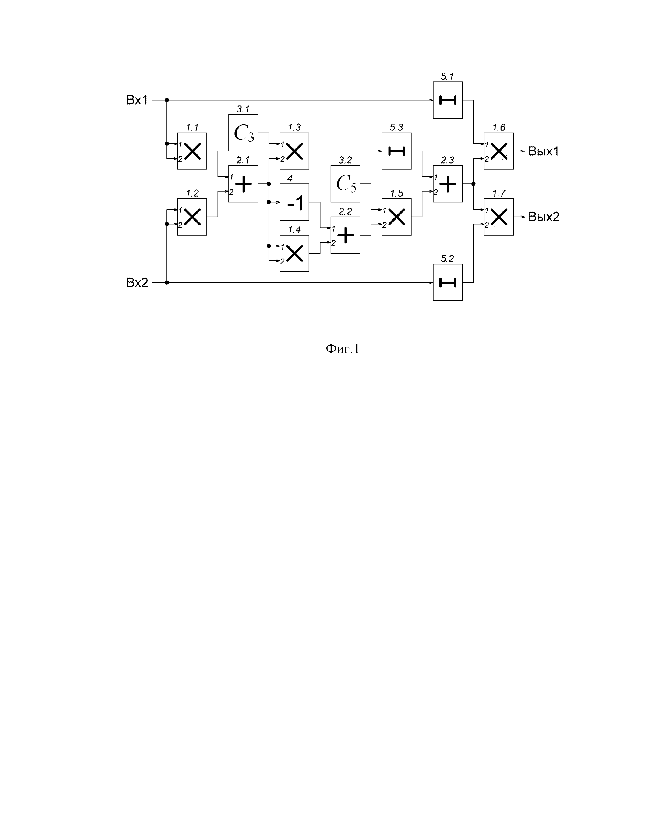
Цифровое устройство предыскажения радиосигналов чётными гармониками включает семь блоков умножения; три блока суммирования; два блока масштабирования; блок инвертирования; три блока временной задержки; первый и второй входы; первый и второй выходы, при этом входной цифровой сигнал с первого входа устройства поступает на первый и второй входы первого блока умножения и вход первого блока временной задержки, входной цифровой сигнал со второго входа устройства поступает на первый и второй входы второго блока умножения и вход второго блока временной задержки, сигналы с выходов первого и второго блоков умножения поступают на первый и второй входы первого блока суммирования соответственно, выходной сигнал первого блока суммирования поступает на второй вход третьего блока умножения, первый вход которого соединен с выходом первого блока масштабирования, кроме того, выходной сигнал первого блока суммирования поступает на первый и второй входы четвертого блока умножения и на вход блока инвертирования, сигнал с выхода четвертого блока умножения поступает на второй вход второго блока суммирования, на первый вход которого поступает сигнал с выхода блока инвертирования, выходной сигнал второго блока суммирования поступает на второй вход пятого блока умножения, первый вход которого соединен с выходом второго блока масштабирования, сигнал с выхода пятого блока умножения поступает на второй вход третьего блока суммирования, на первый вход которого поступает сигнал с выхода третьего блока временной задержки, вход которого соединен с выходом третьего блока умножения, выходной сигнал третьего блока суммирования поступает на второй вход шестого блока умножения, первый вход которого соединен с выходом первого блока временной задержки, кроме того, выходной сигнал третьего блока суммирования поступает на первый вход седьмого блока умножения, второй вход которого соединен с выходом второго блока временной задержки, а выходы шестого и седьмого блоков умножения являются соответственно первым и вторым выходами устройства.
Изобретение относится к области радиопередающих устройств и может быть использовано в составе бортовой аппаратуры космических аппаратов. При усилении радиочастотного сигнала в усилителе мощности в составе радиопередающего устройства неизбежно возникают нелинейные искажения усиливаемого сигнала. Продукты этих искажений – паразитные спектральные компоненты, часть из которых попадает в полосу усиления и существенно нарушает качество канала связи. Наиболее значительными по величине являются спектральные компоненты интермодуляционных искажений третьего и пятого порядка. Из уровня техники известен формирователь радиосигналов с цифровым предыскажением четными гармониками, который содержит цифровой блок вычисления четных гармоник, цифровой блок инвертирования, цифровой блок масштабирования, цифровой блок суммирования, цифровой блок временной задержки, цифроаналоговый преобразователь и модулятор (патент РФ №2538306). Данное техническое решение снижает уровень продуктов интермодуляции за счёт предыскажения чётными гармониками, однако оно не обеспечивает подавления спектральных компонент интермодуляции пятого и более высоких порядков. Наиболее близким к предлагаемому техническому решению является формирователь радиосигналов с цифровым линеаризатором, который состоит из квадратурного модулятора, двух цифроаналоговых преобразователей, блока цифровой обработки сигналов и цифрового линеаризатора, при этом на вход блока цифровой обработки сигналов подается цифровой информационный сигнал, на выходах блока цифровой обработки сигналов формируются две бинарные комбинации, определяющие фазу и амплитуду формируемого формирователем радиосигнала. Данное техническое решение для использования требует предварительного измерения характеристик амплитудных и фазовых преобразований в усилителе мощности, расчета таблиц обратных преобразований и представления их в виде подробных таблиц квадратурных функций предыскажения, что требует для реализации большого объёма вычислительных ресурсов. Технический результат, на достижение которого направлено предлагаемое техническое решение, уменьшение величины продуктов интермодуляционных искажений третьего и пятого порядка. Сущность изобретения поясняется следующим. Для формирования радиосигналов с цифровой модуляцией в составе радиопередающих устройств в основном применяют квадратурный метод, который основан на том, что любое гармоническое колебание с произвольной фазой можно представить линейной комбинацией двух гармонических составляющих: синфазной I(t) и квадратурной Q(t), сдвинутых по фазе на 90°. Если в качестве опорного (синфазного) колебания выбрана синусоидальная функция где амплитуда А(t) и фаза φ(t) формируемого сигнала определяются как В радиопередающих устройствах, когда формирование радиосигналов осуществляется квадратурным методом, используется цифроаналоговое преобразование и сигналы I(t) и Q(t) формируются в цифровой области. Для снижения уровня продуктов интермодуляционных искажений в формирователе радиосигналов в составе радиопередающего устройства на выходах цифрового блока, формирующего в цифровой области сигналы I(t) и Q(t), которые соединяются с входами цифроаналоговых преобразователей, предлагается устанавливать цифровое устройство предыскажения радиосигналов чётными гармониками. Структурная схема предлагаемого цифрового устройства предыскажения радиосигналов четными гармониками представлена на фиг. 1. В его состав входят: – блоки умножения(1.1-1.7); – блоки суммирования(2.1-2.3); – блоки масштабирования(3.1, 3.2); – блок инвертирования (4); – блоки временной задержки (5.1-5.3). В таком устройстве цифровой сигнал, соответствующий сигналу I(t), поступает на первый вход устройства Вх.1, который соединен с первым и вторым входами первого блока умножения (1.1) и входом первого блока временной задержки (5.1). Цифровой сигнал, соответствующий сигналу Q(t), поступает на второй вход устройства Вх.2, который соединен с первым и вторым входами второго блока умножения (1.2) и входом второго блока временной задержки (5.2). Сигналы с выходов первого и второго блоков умножения поступают на первый и второй входы первого блока суммирования (2.1) соответственно. Выходной сигнал первого блока суммирования поступает на второй вход третьего блока умножения (1.3), первый вход которого соединен с выходом первого блока масштабирования (3.1). Кроме того, выходной сигнал первого блока суммирования поступает на первый и второй входы четвертого блока умножения (1.4) и на вход блока инвертирования (4). Сигнал с выхода четвертого блока умножения поступает на второй вход второго блока суммирования (2.2), на первый вход которого поступает сигнал с выхода блока инвертирования. Выходной сигнал второго блока суммирования поступает на второй вход пятого блока умножения (1.5), первый вход которого соединен с выходом второго блока масштабирования (3.2). Сигнал с выхода пятого блока умножения подается на второй вход третьего блока суммирования (2.3), на первый вход которого подается выходной сигнал третьего блока временной задержки (5.3), вход которого соединен с выходом третьего блока умножения. Выходной сигнал третьего блока суммирования поступает на второй вход шестого блока умножения (1.6), первый вход которого соединен с выходом первого блока временной задержки. Также выходной сигнал третьего блока суммирования поступает и на первый вход седьмого блока умножения (1.7), второй вход которого соединен с выходом второго блока временной задержки. Выходы шестого и седьмого блоков умножения являются первым Вых.1 и вторым Вых.2 выходами соответственно предлагаемого цифрового устройства предыскажения радиосигналов четными гармониками в целом. На выходах такого цифрового устройства формируются цифровые сигналы, соответствующие предыскаженным сигналам Iп(t) и Qп(t). В составе радиопередающего устройства формируемые цифровые сигналы поступают на входы цифроаналоговых преобразователей формирователя радиосигналов и в соответствии с (1) формируется радиосигнал с предыскажением, которое компенсирует интермодуляционные искажения третьего и пятого порядка, вызванные нелинейностью усилительного тракта радиопередающего устройства. Функционирование предлагаемого цифрового устройства предыскажения радиосигналов чётными гармониками ниже поясняется на примере формирования и усиления мощности двухчастотного сигнала. Для двухчастотного сигнала в формирователе радиосигналов можно использовать следующие синфазный и квадратурный сигналы: где Ω – частота отстройки гармоник двухчастотного сигнала от несущей частоты. Тогда без предыскажения в соответствии с (1) на выходе формирователя радиосигналов в составе радиопередающего устройства формируется радиосигнал Передаточную характеристику активного элемента усилителя мощности можно аппроксимировать полиномом вида где а1> 0, а3, а5< 0 – коэффициенты аппроксимации. После тригонометрических преобразований при подстановке (6) в (7) видно, что в спектре сигнала на выходе усилителя мощности в полосе усиления возникают интермодуляционные составляющие третьего и пятого порядка: Для внесения предыскажения в формируемый радиосигнал цифровые сигналы, соответствующие (4) и (5), подаются на входы Вх1 и Вх2 цифрового устройства предыскажения радиосигналов соответственно. Тогда на выходе первого блока суммирования формируется цифровой сигнал Третий блок умножения осуществляет операцию умножения второй гармоники огибающей формируемого радиосигнала на масштабный коэффициент C3, значение которого записано в первом блоке масштабирования. Описываемое преобразование можно представить в виде следующей замены: На выходе четвертого блока умножения формируется цифровой сигнал, в спектре которого присутствуют вторая и четвертая гармоники огибающей формируемого радиосигнала В блоке инвертирования происходит смена знака цифрового сигнала (12) и на выходе второго блока суммирования формируется сигнал: Таким образом, на выходе второго блока суммирования присутствует только четвертая гармоника огибающей формируемого радиосигнала. Пятый блок умножения осуществляет операцию умножения четвертой гармоники огибающей формируемого радиосигнала на масштабный коэффициент C5, значение которого записано во втором блоке масштабирования. Описываемое преобразование можно представить в виде следующей замены: Третий блок временной задержки компенсирует задержку выходного сигнала пятого блока умножения относительно выходного сигнала третьего блока умножения и на выходе третьего блока суммирования формируется цифровой сигнал Первый и второй блоки временной задержки компенсируют задержку выходного сигнала третьего блока суммирования относительно входных сигналов с входов Вх.1 и Вх.2 соответственно и на выходах шестого и седьмого блоков умножения, которые являются соответственно выходами Вых.1 и Вых.2 цифрового устройства предыскажения радиосигналов четными гармониками в целом, формируются цифровые предыскаженные сигналы Iп(t)и Qп(t). Для рассматриваемого двухчастотного сигнала В составе радиопередающего устройства формируемые цифровые предыскаженные сигналы Iп(t)и Qп(t) поступают на входы цифроаналоговых преобразователей формирователя радиосигналов и в соответствии с (1) формируется радиосигнал с предыскажением xп(t). При подстановке xп(t) в выражение (7) после тригонометрических преобразований видно, что в спектре сигнала на выходе усилителя мощности в полосе усиления возникают интермодуляционные составляющие третьего и пятого порядка: При этом коэффициенты аппроксимации передаточной характеристики активного элемента а3, а5и масштабные коэффициенты C3 и C5соответственно противоположны по знаку. Таким образом, подбором величин масштабных коэффициентов C3 и C5 достигается уменьшение уровня продуктов интермодуляционных искажений третьего и пятого порядка. При формировании и усилении полосового сигнала процессы взаимодействия будут идентичны описанным выше. Оптимальные значения коэффициентов масштабирования подбираются при регулировании цифрового устройства предыскажения радиосигналов чётными гармониками в составе радиопередающего устройства при известных нелинейных характеристиках используемого усилителя мощности. Результаты модельных и экспериментальных исследований устройства предыскажающей цифровой линеаризации чётными гармониками для радиопередающего устройства показали, что при произвольном полосовом передаваемом сигнале по предлагаемой схеме удаётся значительно снизить уровень интермодуляционных искажений третьего и пятого порядка, что подтверждает возможность достижения технического результата. Таким образом, введение цифрового устройства предыскажения радиосигналов чётными гармониками по предлагаемой схеме в состав радиопередающего устройства обеспечивает достижение технического результата – уменьшение в спектре выходного сигнала величины продуктов интермодуляционных искажений третьего и пятого порядка.
, где ω0 = 2πf0 , а f0– частота несущего колебания, то радиосигнал формируется по закону
, (1)
, (2)
. (3)
, (4)
, (5)
. (6)
, (7)
, (8)
, (9)
, (10)
. (11)
, который в соответствии с (2) равен квадрату огибающей формируемого радиосигнала. В спектре сигнала на выходе первого блока суммирования формируется вторая гармоника огибающей формируемого радиосигнала
(12)
(13)
. (14)
. (15)
. (16)
:
. (17)


, (18)
. (19)
, (20)
, (21)
, (22)
. (23)