патент
№ RU 2600583
МПК E21B43/18

УСТРОЙСТВО ДЛЯ ОБРАБОТКИ ПРИЗАБОЙНОЙ ЗОНЫ СКВАЖИНЫ МЕТОДОМ ИМПЛОЗИИ

Авторы:
Исламова Чачка Салиховна Гараев Ахат Абдуллович Аухадеев Рашит Равилович
Все (5)
Номер заявки
2015139660/03
Дата подачи заявки
17.09.2015
Опубликовано
27.10.2016
Страна
RU
Как управлять
интеллектуальной собственностью
Чертежи 
2
Реферат

Изобретение относится к нефтегазодобывающей промышленности, в частности к устройствам для обработки призабойных зон скважин. Устройство для обработки призабойной зоны скважины методом имплозии содержит корпус с верхним и нижним рядами радиальных каналов, размещенные в корпусе нижний ступенчатый поршень с осевым каналом и верхний подпружиненный поршень с осевым каналом, шаровой клапан с седлами, установленный между нижним ступенчатым и верхним подпружиненным поршнями и имеющий возможность перекрытия осевого канала верхнего поршня. В шаровом клапане выполнен центральный канал, в котором жестко установлен шток. Нижний конец штока размещен в осевом канале нижнего ступенчатого поршня и пропущен сквозь нижний центратор, жестко закрепленный в осевом канале нижнего ступенчатого поршня. Верхний конец штока размещен в осевом канале верхнего подпружиненного поршня и пропущен сквозь верхний центратор, жестко закрепленный в осевом канале верхнего подпружиненного поршня. Верхний подпружиненный поршень и нижний ступенчатый поршень имеют возможность ограниченного осевого перемещения в корпусе с центрированием относительно шарового клапана со штоком. На верхнем торце нижнего ступенчатого поршня и на нижнем торце верхнего подпружиненного поршня выполнены седла шарового клапана в виде цилиндрических выборок. Предлагаемое устройство для обработки призабойной зоны скважины методом имплозии позволяет: повысить качество имплозионной обработки призабойной зоны скважины; повысить надежность работы в наклонных и горизонтальных скважинах. 2 ил.

Формула изобретения

Устройство для обработки призабойной зоны скважины методом имплозии, содержащее корпус с верхним и нижним рядами радиальных каналов, размещенные в корпусе нижний ступенчатый поршень с осевым каналом и верхний подпружиненный поршень с осевым каналом, шаровой клапан с седлами, установленный между нижним ступенчатым и верхним подпружиненным поршнями и имеющий возможность перекрытия осевого канала верхнего поршня, отличающееся тем, что в шаровом клапане выполнен центральный канал, в котором жестко установлен шток, при этом нижний конец штока размещен в осевом канале нижнего ступенчатого поршня и пропущен сквозь нижний центратор, жестко закрепленный в осевом канале нижнего ступенчатого поршня, причем верхний конец штока размещен в осевом канале верхнего подпружиненного поршня и пропущен сквозь верхний центратор, жестко закрепленный в осевом канале верхнего подпружиненного поршня, при этом верхний подпружиненный поршень и нижний ступенчатый поршень имеют возможность ограниченного осевого перемещения в корпусе с центрированием относительно шарового клапана со штоком, при этом на верхнем торце нижнего ступенчатого поршня и на нижнем торце верхнего подпружиненного поршня выполнены седла шарового клапана в виде цилиндрических выборок.

Описание

[1]

Изобретение относится к нефтегазодобывающей промышленности, в частности к устройствам для обработки призабойных зон скважин.

[2]

Известно устройство для обработки призабойной зоны методом имплозии (авторское свидетельство SU №721524, МПК E21B 43/26, опуб. 15.03.1980 в бюл. №10), содержащее корпус с радиальными каналами, размещенный в корпусе подпружиненный дифференциальный поршень, цилиндр и обратный клапан, при этом с целью обеспечения автоматического многократного проведения процесса с использованием энергии пласта, внутри цилиндра установлен ступенчатый поршень с осевым каналом и шаровым клапаном, причем дифференциальный поршень выполнен полым с радиальными отверстиями, а шаровой клапан размещен между ступенчатым и дифференциальным поршнями.

[3]

Недостатками данного устройства являются:

[4]

- во-первых, сложность конструкции, обусловленная большим количеством узлов и деталей (цилиндр, дифференциальный поршень, обратный клапан и т.д.);

[5]

- во-вторых, низкое качество имплозионной обработки призабойной зоны скважины вследствие потери герметичности, обусловленной конусными поверхностями седел шарового клапана, на которых в процессе работы откладываются продукты имплозионной очистки пласта, что вскоре приводит к негерметичной работе шарового клапана;

[6]

- в-третьих, необходим наземный привод для работы устройства.

[7]

Наиболее близким по технической сущности и достигаемому результату является устройство для обработки призабойной зоны методом имплозии (авторское свидетельство SU №1004624, МПК E21B 43/26, опуб. 15.03.1983 г. в бюл. №10), содержащее корпус с верхним и нижним рядами радиальных каналов, размещенные в корпусе нижний ступенчатый поршень с осевым каналом, верхний подпружиненный поршень с осевым каналом и установленный между поршнями шаровой клапан с седлами, имеющий возможность перекрытия осевого канала верхнего поршня.

[8]

Недостатками данного устройства являются:

[9]

- во-первых, низкое качество имплозионной обработки призабойной зоны скважины вследствие потери герметичности, обусловленной конусными поверхностями седел шарового клапана, на которых в процессе работы откладываются продукты имплозионной очистки пласта, что вскоре приводит к негерметичной работе шарового клапана;

[10]

-во-вторых, низкая надежность работы в наклонных и горизонтальных скважинах, обусловленная тем, что шаровой клапан расположен между двумя поршнями свободно, т.е. не имеет ограничения радиального перемещения и не будет перекрывать осевые каналы соответствующих поршней в таких скважинах, так как будет располагаться на периферии между поршнями у корпуса устройства, что вызывает отказ устройства в работе.

[11]

Технической задачей изобретения является повышение качества имплозионной обработки призабойной зоны скважины, а также повышение надежности работы устройства в наклонных и горизонтальных скважинах.

[12]

Поставленная техническая задача решается устройством для обработки призабойной зоны скважины методом имплозии, содержащим корпус с верхним и нижним рядами радиальных каналов, размещенные в корпусе нижний ступенчатый поршень с осевым каналом и верхний подпружиненный поршень с осевым каналом, шаровой клапан с седлами, установленный между нижним ступенчатым и верхним подпружиненным поршнями и имеющий возможность перекрытия осевого канала верхнего поршня.

[13]

Новым является то, что в шаровом клапане выполнен центральный канал, в котором жестко установлен шток, при этом нижний конец штока размещен в осевом канале нижнего ступенчатого поршня и пропущен сквозь нижний центратор, жестко закрепленный в осевом канале нижнего ступенчатого поршня, причем верхний конец штока размещен в осевом канале верхнего подпружиненного поршня и пропущен сквозь верхний центратор, жестко закрепленный в осевом канале верхнего подпружиненного поршня, при этом верхний подпружиненный поршень и нижний ступенчатый поршень имеют возможность ограниченного осевого перемещения в корпусе с центрированием относительно шарового клапана со штоком, при этом на верхнем торце нижнего ступенчатого поршня и на нижнем торце верхнего подпружиненного поршня выполнены седла шарового клапана в виде цилиндрических выборок.

[14]

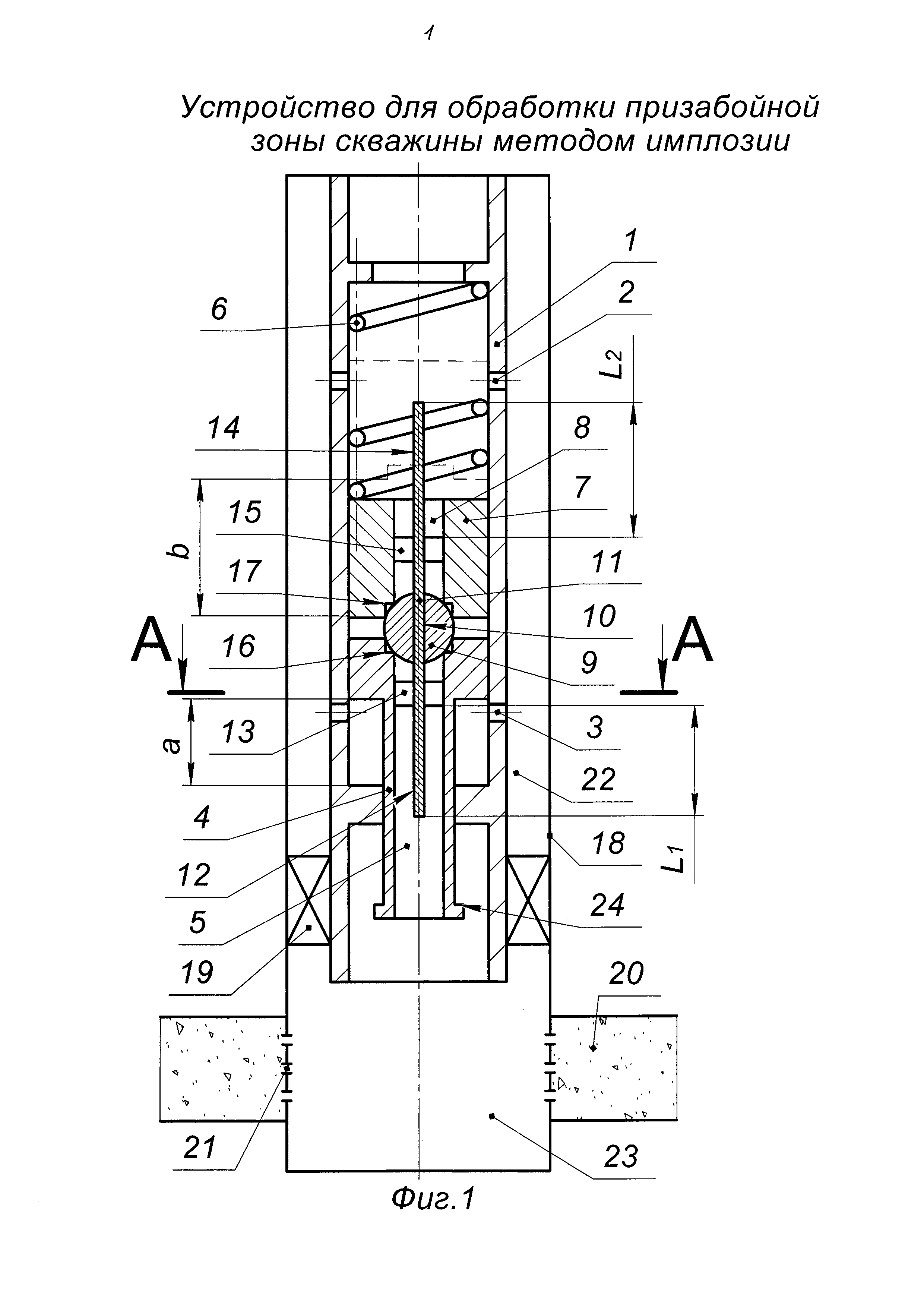
На фиг. 1 схематично изображено предлагаемое устройство для обработки призабойной зоны методом имплозии.

[15]

На фиг. 2 изображено сечение А-А предлагаемого устройства для обработки призабойной зоны методом имплозии.

[16]

Устройство для обработки призабойной зоны методом имплозии содержит корпус 1 (см. фиг. 1 и 2) с верхним 2 и нижним 3 рядами радиальных каналов.

[17]

В корпусе 1 размещен нижний ступенчатый поршень 4 с осевым каналом 5, верхний подпружиненный пружиной 6 поршень 7 с осевым каналом 8 и шаровой клапан 9, установленный между нижним ступенчатым 4 и верхним подпружиненным 7 поршнями и имеющий возможность перекрытия осевого канала 8 верхнего подпружиненного поршня 7. В шаровом клапане 9 выполнен центральный канал 10, в котором жестко установлен шток 11. Нижний конец 12 штока 11 размещен в осевом канале 5 нижнего ступенчатого поршня 4 и пропущен сквозь нижний центратор 13, жестко закрепленный в осевом канале 5 нижнего ступенчатого поршня 4. Верхний конец 14 штока 11 размещен в осевом канале 8 верхнего подпружиненного поршня 7 и пропущен сквозь верхний центратор 15, жестко закрепленный в осевом канале 8 верхнего подпружиненного поршня 7. Верхний подпружиненный поршень 7 и нижний ступенчатый поршень 4 имеют возможность ограниченного осевого перемещения в корпусе 1 с центрированием относительно шарового клапана 9 со штоком 11 при соблюдении следующих конструктивных условий:

[18]

L1>a;

[19]

L2>b,

[20]

где L1 - расстояние от нижнего торца нижнего центратора 13 до окончания нижнего конца 12 штока 11, м;

[21]

L2 - расстояние от верхнего торца верхнего центратора 15 до окончания верхнего конца 14 штока 11, м;

[22]

a - максимальная длина хода нижнего ступенчатого поршня 4 в корпусе 1 относительно шарового клапана 9 со штоком 11, м;

[23]

b - максимальная длина хода верхнего подпружиненного поршня 7 в корпусе 1 относительно шарового клапана 9 со штоком 11, м.

[24]

На верхнем торце нижнего ступенчатого поршня 4 и на нижнем торце верхнего подпружиненного поршня 7 выполнены соответствующие седла шарового клапана 9 в виде цилиндрических выборок 16 и 17. Сопрягаемые поверхности нижнего ступенчатого поршня 4 с корпусом 1 и верхнего подпружиненного поршня 7 с корпусом 1 снабжены уплотнительными кольцами, на фиг. 1 и 2 не показано.

[25]

Устройство работает следующим образом.

[26]

Предлагаемое устройство спускают в скважину 18 (см. фиг. 1) на конце колонны труб, оснащенной глубинным насосом (на фиг. 1 и 2 не показано) любой известной конструкции, например центробежным.

[27]

После спуска устройства в скважину 18 (см. фиг. 1 и 2) производят посадку пакера 19, например, на 5 м выше пласта 20. Периодически, например в течение суток, с помощью глубинного насоса по колонне труб откачивают на поверхность пластовую жидкость, которая поступает на прием глубинного насоса из пласта 20 через перфорированные отверстия 21 пласта 20 и далее через осевые каналы 5 и 8 соответственно нижнего ступенчатого поршня 4 и верхнего подпружиненного поршня 7 при открывшемся шаровом клапане 9 с отжатой вверх пружиной 6 верхнего подпружиненного поршня 7, при этом пластовая жидкость свободно перетекает через нижний 13 и верхний 15 центраторы (см. фиг. 1 и 2), например, жесткие выполненные в виде трех пластин (на фиг. 2 показано условно) и установленные в соответствующие осевые каналы 5 и 8 соответственно нижнего ступенчатого поршня 4 и верхнего подпружиненного поршня 7.

[28]

По истечению суток насос отключают и откачку пластовой жидкости прекращают, при этом устройство возвращается в положение, показанное на фиг. 1, и начинает работать под действием энергии пласта 20. Поступающая в устройство пластовая жидкость под действием своего давления перемещает вверх нижний ступенчатый поршень 4 и верхний подпружиненный поршень 7, так как шаровым клапаном 9 затрубное пространство 22 изолировано от пластового пространства 23 (верхний 2 и нижний 3 ряды радиальных каналов герметично отсечены). Ограничитель 24 останавливает нижний ступенчатый поршень 4 от перемещения вверх относительно корпуса 1. Давление сверху действует на верхний подпружиненный поршень 7 и шаровой клапан 9, так как глубинный насос остановлен, при этом снизу через нижний ряд радиальных каналов 3 корпуса 1 давление действует на нижний ступенчатый поршень 4. Возникает перепад давления, под действием которого нижний ступенчатый поршень 4 перемещается вниз, а верхний подпружиненный поршень 7, сжимая пружину 6 с шаровым клапаном 9, перемещается вверх. В определенный момент открывается нижний ряд радиальных каналов 3 корпуса 1, а клапан 9 отходит от осевого канала 8 верхнего подпружиненного поршня 7. В результате пластовая жидкость за счет давления пласта через перфорированные отверстия 21 пласта 20 и пластовое пространство 23 через осевой канал 5 нижнего ступенчатого поршня 4 сквозь верхний 2 и нижний 3 ряды радиальных каналов 3 корпуса 1 поступает в затрубное пространство 22. Верхний подпружиненный поршень 7 под действием возвратной силы пружины 6 перемещается вниз и занимает свое нижнее положение (см. фиг. 1), заново закрывая шаровым клапаном 9 осевые каналы 5 и 8 соответственно нижнего ступенчатого поршня 4 и верхнего подпружиненного поршня 7, при этом шаровой клапан 9 герметично садится в оба седла, выполненные в виде цилиндрических выборок 16 и 17.

[29]

В процессе работы устройства шток 11, жестко установленный в центральном отверстии 10 шарового клапана 9, благодаря наличию верхнего 10 и нижнего 14 и верхнего 15 центраторов позволяет ограничить радиальное перемещение и центрировать шаровой клапан 9 относительно седел, выполненных в виде цилиндрических выборок 16 и 17 соответственно нижнего ступенчатого поршня 4 и верхнего подпружиненного поршня 7.

[30]

В процессе ограниченных осевых перемещений:

[31]

- нижнего ступенчатого поршня 4 соблюдается условие L1>a;

[32]

- верхнего подпружиненного поршня 7 с соблюдением условия: L2>b, что позволяет центрировать шаровой клапан 9, также исключая негерметичную посадку на седла, выполненные в виде цилиндрических выборок 16 и 17,

[33]

Поэтому независимо от траектории скважины (вертикальная, наклонная, горизонтальная) исключается расположение шарового клапана 9 на периферии между поршнями 4 и 7 у корпуса 1 устройства. Кроме того, шаровой клапан 9 в процессе работы центрируется относительно седел, выполненных в виде цилиндрических выборок 16 и 17 соответственно нижнего ступенчатого поршня 4 и верхнего подпружиненного поршня 7.

[34]

Таким образом, повышается надежность работы устройства в наклонных и горизонтальных скважинах и обеспечивается безотказная работа устройства в таких скважинах.

[35]

Выполнение седел шарового клапана 9 в виде цилиндрических выборок 16 и 17 соответственно на нижнем ступенчатом поршне 4 и верхнем подпружиненном поршне 7 позволяет шаровой поверхности герметично расположиться между кромкам цилиндрических выборок 16 и 17, при этом в отличие от прототипа, где седла выполнены конусными, в предлагаемом устройстве наличие кромок на цилиндрических выборках 16 и 17 исключает отложения на них продуктов имплозионной очистки пласта. Таким образом, исключается потеря герметичности и повышается качество имплозионной обработки призабойной зоны скважины.

[36]

Шаровой клапан 9 изолирует пластовое пространство 23 от затрубного пространства 22. Так происходит один цикл работы устройства.

[37]

В дальнейшем вышеописанный цикл работы устройства повторяется и на пласт 20 передаются периодические импульсы давления, и происходит обработка призабойной зоны скважины, вследствие чего увеличивается ее проницаемость.

[38]

По истечению одних суток включают глубинный насос и с помощью насоса по колонне труб откачивают на поверхность пластовую жидкость, как описано выше.

[39]

Предлагаемое устройство для обработки призабойной зоны скважины методом имплозии позволяет:

[40]

- повысить качество имплозионной обработки призабойной зоны скважины;

[41]

- повысить надежность работы в наклонных и горизонтальных скважинах.

Как компенсировать расходы
на инновационную разработку
Похожие патенты