Использование: для ультразвуковой толщинометрии. Сущность изобретения заключается в том, что на поверхности объекта контроля в основной точке контроля устанавливают с возможностью акустического контакта излучающий и приемный преобразователи, возбуждают излучающий преобразователь линейно-частотно-модулированными колебаниями с большой базой. Принимают и регистрируют приемным преобразователем возбужденный в этой точке объекта контроля основной эхо-сигнал. Далее N раз изменяют положение излучающего или приемного преобразователей на поверхности объекта контроля, в каждом дополнительном положении регистрируют дополнительный эхо-сигнал, который используют в качестве зондирующего в следующем положении преобразователей для возбуждения акустических колебаний, в N положении по регистрируемому сигналу определяют амплитудно-частотную характеристику объекта контроля, измеряют значение частоты, соответствующей максимуму амплитудно-частотной резонансной характеристики объекта контроля, а толщину объекта определяют по значению частоты максимума резонанса амплитудно-частотной характеристики. Технический результат: обеспечение возможности повышения точности и достоверности ультразвуковой толщинометрии. 4 ил.
Резонансный способ ультразвуковой толщинометрии, заключающийся в том, что в основной точке излучения на поверхности объекта контроля располагают излучающий преобразователь, а в основной точке приема на поверхности объекта контроля располагают приемный преобразователь, зондирующий сигнал с непрерывно меняющейся несущей частотой подают на излучающий преобразователь, которым в объекте контроля возбуждают акустические колебания, приемным преобразователем принимают и регистрируют основной эхо-сигнал, N раз изменяют положение излучающего или приемного преобразователей на поверхности объекта контроля, в каждом дополнительном положении возбуждают акустические колебания и регистрируют дополнительные эхо-сигналы, определяют амплитудно-частотную характеристику объекта контроля и измеряют значение частоты, соответствующей максимуму амплитудно-частотной резонансной характеристики объекта контроля, а толщину объекта определяют по значению частоты максимума резонанса амплитудно-частотной характеристики, отличающийся тем, что в качестве зондирующего сигнала, возбуждающего вынужденные колебания в основной точке излучения, используют линейно-частотно-модулированный сигнал с большой базой В, в качестве зондирующего сигнала в каждом следующем дополнительном положении излучающего или приемного преобразователей на поверхности объекта контроля используют эхо-сигнал, зарегистрированный в предварительном положении излучающего или приемного преобразователей, значение N выбирают равным или большим 1, а амплитудно-частотную характеристику контролируемого объекта определяют по эхо-сигналу, зарегистрированному в N-й дополнительной точке контроля.
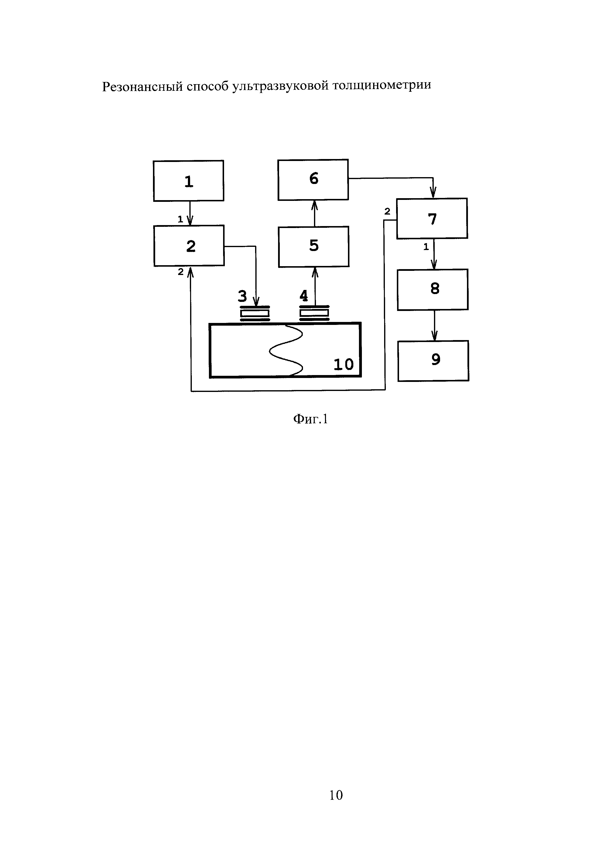
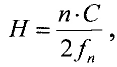
Изобретение относится к области неразрушающих испытаний ультразвуковыми методами и может быть использовано в различных отраслях машиностроения для толщинометрии образцов материалов и изделий, преимущественно крупногабаритных и с большим затуханием ультразвука. Известен способ резонансной ультразвуковой толщинометрии с использованием вынужденных колебаний, принимаемый в качестве прототипа и описанный в [Неразрушающий контроль: Справочник: в 7 т. Под общей ред. В.В. Клюева. Т. 3 Ультразвуковой контроль/И.Н. Еромолов, Ю.В. Ланге. - М.: Машиностроение, 2004, с. 292-293]. Способ заключается в том, что в объекте контроля возбуждают вынужденные колебания непрерывно меняющейся частоты, определяют амплитудно-частотную характеристику объекта контроля, измеряют значения частот, соответствующих максимуму амплитудно-частотной характеристики, на которых по толщине объекта контроля укладывается четное число полуволн, а значение толщины Н объекта контроля вычисляют по следующей формуле: где n - номер гармоники; С - скорость ультразвука; ƒn - резонансная частота, соответствующая гармоники n. По максимуму резонансной частоты определяют толщину объекта контроля. Недостатком такого способа являются низкие точность и достоверность контроля, т.к. при сложной конфигурации контролируемых изделий в них в узком диапазоне частот может возбуждаться несколько частотных резонансов, значения которых определяются геометрическими размерами уступов, выступов, приливов, ступеней, опорных площадок и пр. и которые не позволяют идентифицировать искомый резонанс, связанный с измеряемым размером, и точно измерить значение частоты, соответствующей его максимуму. Известен резонансной способ ультразвуковой толщинометрии с использованием вынужденных колебаний, принимаемый в качестве прототипа и описанный в [патент РФ №2354932, МПК G01В 17/02, опубл. 10.05.2009]. Способ заключается в том, что в объекте контроля в одной точке излучающим электроакустическим преобразователем возбуждают непрерывные гармонические колебания меняющейся частоты. Приемным электроакустическим преобразователем принимают эхо-сигнал, регистрируют возбужденные в этой точке объекта контроля колебания и измеряют основную резонансную амплитудно-частотную характеристику объекта контроля. Далее в другой точке возбуждают, излучая гармонические колебания непрерывно меняющейся частоты, или принимают эхо-сигнал в новом положении. Таким образом, для нескольких точек излучения или приема электроакустического сигнала на поверхности объекта контроля производят измерения N дополнительных амплитудно-частотных характеристик. Все N амплитудно-частотные характеристики взаимно перемножаются, образуя итоговую резонансную амплитудно-частотную характеристику, по максимуму которой на резонансной частоте определяют толщину объекта контроля. Недостатком известного способа является низкая производительность способа ультразвуковой толщинометрии, связанная с необходимость регистрации N+1 основной и дополнительных амплитудно-частотных характеристик, а также N раз выполнения операций взаимного перемножения амплитудно-частотных характеристик. Техническая задача предлагаемого способа заключается в повышении производительности способа ультразвуковой толщинометрии. Технический результат способа заключается в том, что подавляются помеховые резонансы, что значительно повышает достоверность УЗ контроля при одновременном повышении точности. Эта задача достигается тем, что в известном способе ультразвукового контроля, заключающемся в том, что в основной точке излучения на поверхности объекта контроля располагают излучающий преобразователь, а в основной точке приема на поверхности объекта контроля располагают приемный преобразователь, зондирующий сигнал с непрерывно меняющейся несущей частотой подают на излучающий преобразователь, которым в объекте контроля возбуждают акустические колебания, приемным преобразователем принимают и регистрируют основной эхо-сигнал, N раз изменяют положение излучающего и (или) приемного преобразователей на поверхности объекта контроля, в каждом дополнительном положении возбуждают акустические колебания и регистрируют дополнительные эхо-сигналы, определяют амплитудно-частотную характеристику объекта контроля и измеряют значение частоты, соответствующей максимуму амплитудно-частотной резонансной характеристики объекта контроля, а толщину объекта определяют по значению частоты максимума резонанса амплитудно-частотной характеристики, в качестве зондирующего сигнала, возбуждающего вынужденные колебания в основной точке излучения, используют линейно-частотно модулированный сигнал с большой базой В, в качестве зондирующего сигнала в каждом следующем дополнительном положении излучающего и (или) приемного преобразователей на поверхности объекта контроля используют эхо-сигнал, зарегистрированный в предварительном дополнительном положении излучающего и (или) приемного преобразователей, значение N выбирают равным или большим 1, а амплитудно-частотную характеристику контролируемого объекта определяют по эхо-сигналу, зарегистрированному в N-й дополнительной точке контроля. Сущность изобретения поясняется чертежами, где на фиг. 1 изображена структурная схема устройства, реализующего способ ультразвуковой толщинометрии; на фиг. 2.а представлен основной эхо-сигнал и основная амплитудно-частотная характеристика контролируемого объекта (фиг. 2.б.); на фиг. 3.а, фиг. 3.б и фиг. 3.в изображены последовательно зарегистрированные дополнительные эхо-сигналы трех дополнительных циклов измерения, а на фиг. 4 изображена итоговая амплитудно-частотная характеристика контролируемого объекта. Резонансный способ ультразвуковой толщинометрии заключается в том, что на поверхности объекта контроля в основной точке излучения устанавливают излучающий преобразователь, а в основной точке приема устанавливают приемный преобразователь. Далее в объекте контроля возбуждают зондирующий сигнал, излучая гармонические колебания непрерывно меняющейся частоты. Принимают основной эхо-сигнал Uосн(t)=Kок.осн ⋅ Uзонд(t), где Kок.осн=Kок.осн(ƒ) и регистрируют присутствующие в этой точке объекта контроля колебания, амплитуда которых зависит от резонансных свойств объекта контроля и которые, в свою очередь, определяются конфигурацией и свойствами материала изделия (см. фиг. 2). Далее изменяют положение излучающего и (или) приемного преобразователей на поверхности объекта контроля, позиционируя комбинацию преобразователей в первую дополнительную позицию (N=1). Вновь возбуждают механические колебания в объекте контроля, излучая зондирующий сигнал непрерывно меняющейся частоты, и принимают эхо-сигнал U1(t)=Kок.осн ⋅ Kок.осн ⋅ Kок.1 ⋅ Uзонд(t) в новом дополнительной позиции преобразователей. Аналогичным образом процедуру "перепозиционирование преобразователей + регистрация эхо-сигнала" производят N раз. При этом в каждом новом положении излучающего и (или) приемного преобразователей на поверхности объекта контроля, кроме основного положения, зондирующим сигналом служит зарегистрированный на предшествующим этапе эхо-сигнал, а перемещение преобразователей осуществляют вдоль плоскости, ограничивающей измеряемую толщину. Таким образом, в N позиции излучения и приема электроакустического сигнала на поверхности объекта контроля зарегистрированным оказывается сигнал UN(t)=Kок.осн ⋅ Kок.1 ⋅ Kок.2 ⋅ Kок.3 .... ⋅ Kок.N ⋅ Uзонд(t) (см. фиг. 3). В результате все зарегистрированные эхо-сигналы, а значит и амплитудно-частотные характеристики объекта контроля, характерные для выбранных точек контроля, взаимно перемножаются Kок.осн ⋅ Kок.1 ⋅ Kок.2 ⋅ Kок.3 .... ⋅ Kок.N, образуя итоговую резонансную амплитудно-частотную характеристику (см. фиг. 4), на которой практически полностью отсутствуют помеховые резонансы, связанные со сложной формой объекта контроля. Далее по максимуму резонансной частоты определяют толщину объекта контроля. Устройство, реализующее резонансный способ ультразвуковой толщинометрии, содержит электроакустически последовательно соединенные генератор 1 линейно-частотно-модулированного сигнала, коммутатор 2, излучающий электроакустический преобразователь 3, приемный электроакустический преобразователь 4, входной усилитель 5, полосовой фильтр 6, блок 7 памяти, блок 8 амплитудного детектора и индикатор 9. Второй выход блока памяти 7 соединен со вторым входом коммутатора 2. Излучающий электроакустический преобразователь 3 и приемный электроакустический преобразователь 4 располагают и акустически фиксируют их на поверхности объекта 10 контроля в области контролируемого размера. Устройство резонансной ультразвуковой толщинометрии работает следующим образом. Вся процедура измерения состоит из N+1 циклов (основного и N дополнительных), соответствующих N+1 положению электроакустических преобразователей 3 и 4 на поверхности измеряемого объекта 10 (N≥1). В основном цикле измерения излучающий электроакустический преобразователь 3 однократно возбуждают протяженным импульсным линейно- частотно-модулированным (ЛЧМ) сигналом. Характер частотной зависимости модуля спектральной плотности прямоугольного ЛЧМ-импульса полностью зависит от безразмерного числа В, равного произведению девиации частоты Δƒc на длительность Тс импульса и называемого базой ЛЧМ-сигнала. Спектр ЛЧМ-сигналов с базой В>>1 имеет ряд специфических особенностей. Во-первых, модуль спектральной плотности здесь практически постоянен в пределах полосы частот шириной Δƒс. Во-вторых, наблюдается постепенное исчезновение осцилляций модуля спектральной плотности с увеличением базы В сигнала. Это означает, что при больших В (значение В не менее 104) модуль спектральной плотности постоянен в полосе частот Δƒс и обращается в нуль вне этой полосы, т.е. является наилучшим из известных сигналов, пригодным для использования в качестве тестового сигнала при исследовании амплитудно-частотных характеристик. В объекте 10 контроля излучающим преобразователем 3 в основной точке контроля возбуждают основной зондирующий (ЛЧМ)-сигнал. Длительность Тз.с. линейно-частотно-модулированного сигнала, использованного в качестве зондирующего при экспериментальной апробации заявляемого технического решения, составляла Тз.с.=3,4 с, а девиация частоты Δƒс=5,3 кГц, что соответствует значению базы В=1,8⋅104. Приемным электроакустическим преобразователем 4 принимают основной эхо-сигнал (см. фиг. 2.а), представляющий собой возбужденные в объекте 10 контроля колебания, которые после усиления в усилителе 5 и полосой фильтрации в полосовом фильтре 6 поступают в блок 7 памяти. Таким образом, в конце основного цикла измерения в блоке 7 памяти записывается основной эхо-сигнал, несущий информацию об основной резонансной амплитудно-частотной характеристике объекта 10 контроля (см. фиг. 2.б). Далее перемещают излучающий электроакустический 3 или (и) приемный электроакустический преобразователь 4 в другое положение на поверхности объекта 10 контроля и вновь их фиксируют. По команде оператора коммутатор 2 отключает вход излучающего преобразователя 3 от выхода генератора 1 линейно-частотно-модулированного сигнала и подключает его к выходу блока 7 памяти, в котором к данному моменту времени оказывается зарегистрированным основной эхо-сигнал. В объекте 10 контроля во время первого дополнительного цикла измерения на излучающий электроакустический преобразователь 3 подается зондирующий сигнал с 2-го выхода блока 7 памяти и в объекте контроля вновь возбуждают гармонические колебания переменной частоты, амплитуда которых оказывается промодулированной в соответствии с амплитудно-частотной характеристикой объекта 10 контроля в основной точке контроля. Приемным электроакустическим преобразователем 4 регистрируют колебания, усиливают их в усилителе 5, фильтруют в полосовом фильтре 6 и первый дополнительный сигнал, несущий информацию о произведении основной и первой дополнительной амплитудно-частотной характеристик (см. фиг. 3.а), подают на вход блока 7 памяти, в котором он запоминается. В результате реализации первого дополнительного цикла измерения в блоке 7 памяти сохраняется сигнал, соответствующий перемноженным основной и дополнительной амплитудно-частотным характеристикам объекта контроля, измеренным в основной и первой дополнительной точках контроля. Далее аналогично реализуют второй и третий дополнительные циклы измерения, запоминая второй и третий дополнительные сигналы (см. фиг. 3.б и фиг. 3.в). Таким образом, последовательно меняя на поверхности объекта контроля положение излучающего 3 и (или) приемного 4 преобразователей на N-м этапе измерения, фиксируют N-й дополнительный сигнал, несущий информацию об итоговой резонансно-мультипликативной амплитудно-частотной характеристике, на которой практически полностью отсутствуют помеховые резонансы, связанные со сложной формой объекта контроля. Сигнал, зарегистрированный в процессе N-го дополнительного цикла контроля, считывают с выхода блока 7 памяти и после амплитудного детектирования в блоке 6 амплитудного детектора (см. фиг. 4) подают на вход индикатора 9. Использование изобретения позволяет практически полностью подавить помеховые резонансы, что значительно повышает достоверность УЗ контроля при одновременном повышении точности толщинометрии в 3-5 раз.