патент
№ RU 2644360
МПК E21B33/13

Способ установки цементного моста в скважине

Авторы:
Зиятдинов Радик Зяузятович
Номер заявки
2016143908
Дата подачи заявки
08.11.2016
Опубликовано
09.02.2018
Страна
RU
Как управлять
интеллектуальной собственностью
Чертежи 
2
Реферат

Изобретение относится к нефтегазодобывающей промышленности, а именно к установке цементных мостов в эксплуатационных колоннах скважин при временном отключении продуктивной части отдельных пластов или части пласта и ликвидации скважин. Технический результат – повышение эффективности установки цементных мостов. Способ включает закачку по колонне гибких труб (ГТ) в заданный интервал буферной жидкости, тампонажного раствора в необходимом для установки цементного моста объеме с продавкой его в скважину последовательно закачиваемыми буферной жидкостью и продавочным раствором, вымывание излишков тампонажного раствора, проведение ожидания затвердевания цемента (ОЗЦ). Спущенную в скважину колонну насосно-компрессорных труб (НКТ) после извлечения из нее насосного оборудования доспускают или приподнимают так, чтобы расстояние от низа колонны НКТ до верхней границы цементного моста составляло 200 м. Герметизируют интервалы перфорации блокирующим составом. Производят спуск колонны ГТ с помощью колтюбинговой установки в колонну НКТ со скоростью 0,25 м/с до нижней границы цементного моста с постоянной промывкой. На устье добывающей скважины герметизируют пространство между колоннами НКТ и ГТ. На устье скважины готовят тампонажный раствор плотностью 1430 кг/мв необходимом объеме для установки цементного моста от нижней до верхней границ цементного моста. Тампонажный раствор состоит из 84,45% цемента ПЦТ-II-50, 15% пеностекла, 0,5% понизителя водоотдачи, 0,05% пеногасителя. По колонне ГТ в скважину последовательно закачивают 0,1 мбуферной жидкости, тампонажный раствор в приготовленном объеме, 0,1 мбуферной жидкости и продавочную жидкость в объеме, необходимом для выдавливания тампонажного раствора из колонны ГТ. Одновременно поднимают колонну ГТ до верхней границы цементного моста. Выдерживают в течение 5 мин. Приподнимают колонну ГТ на 5 м выше верхней границы цементного моста. Прямой промывкой в полуторакратном объеме скважины выше цементного моста вымывают излишки тампонажного раствора из скважины. Извлекают колонну ГТ из скважины со скоростью 0,28 м/с. 2 ил.

Формула изобретения

Способ установки цементного моста в скважине, включающий закачку по колонне гибких труб (ГТ) в заданный интервал буферной жидкости, тампонажного раствора в необходимом для установки цементного моста объеме с продавкой его в скважину последовательно закачиваемыми буферной жидкостью и продавочным раствором, вымывание излишков тампонажного раствора, проведение ожидания затвердевания цемента (ОЗЦ), отличающийся тем, что спущенную в скважину колонну насосно-компрессорных труб (НКТ после извлечения из нее насосного оборудования доспускают или приподнимают так, чтобы расстояние от низа колонны НКТ до верхней границы цементного моста составляло 200 м, герметизируют интервалы перфорации блокирующим составом, затем производят спуск колонны ГТ с помощью колтюбинговой установки в колонну НКТ со скоростью 0,25 м/с до нижней границы цементного моста с постоянной промывкой, затем на устье добывающей скважины герметизируют пространство между колоннами НКТ и ГТ, далее на устье скважины готовят тампонажный раствор плотностью 1430 кг/м3 в необходимом объеме для установки цементного моста от нижней до верхней границ цементного моста, состоящий из 84,45% цемента ПЦТ-II-50, 15% пеностекла, 0,5% понизителя водоотдачи, 0,05% пеногасителя, после чего по колонне ГТ в скважину последовательно закачивают: 0,1 м3 буферной жидкости, тампонажный раствор в приготовленном объеме, 0,1 м3 буферной жидкости и продавочную жидкость в объеме, необходимом для выдавливания тампонажного раствора из колонны ГТ, при этом одновременно поднимают колонну ГТ до верхней границы цементного моста, выдерживают в течение 5 мин, затем приподнимают колонну ГТ на 5 м выше верхней границы цементного моста, после чего прямой промывкой в полуторакратном объеме скважины выше цементного моста вымывают излишки тампонажного раствора из скважины, извлекают колонну ГТ из скважины со скоростью 0,28 м/с.

Описание

[1]

Изобретение относится к нефтегазодобывающей промышленности, а именно к установке цементных мостов в эксплуатационных колоннах скважин при временном отключении продуктивной части отдельных пластов или части пласта и ликвидации скважин.

[2]

Известен способ установки цементного моста в скважине с открытым интервалом перфорации, включающий спуск в незаглушенную скважину без извлечения скважинного оборудования безмуфтовой длинномерной трубы (БДТ) для прокачки и продавки цементного раствора (Трахтман Г.И. Эффективность ремонта скважин за рубежом, Обзорная информация, Серия "Нефтепромысловое дело", Выпуск 5 (77), ВНИИОЭНГ, 1984, с. 15-28).

[3]

Недостатками способа являются:

[4]

- во-первых, высокое давление продавки цементного раствора, возникающее в БДТ диаметром 38,1 или 45,44 мм, ограничивающее высоту установки цементного моста в скважине;

[5]

- во-вторых, низкая эффективность за счет ухода цементного моста в интервалы перфорации пласта вследствие отсутствия их предварительной герметизации;

[6]

- в-третьих, низкая прочность на сжатие цементного моста, что приводит к его разрушению и потере герметичности при последующей эксплуатации скважины;

[7]

- в-четвертых, высокая вероятность прихвата БДТ при спуске ее в скважину без извлечения скважинного оборудования.

[8]

Также известен способ установки цементного моста в скважине с открытым интервалом перфорации (патент RU №2198998, МПК Е21В 33/13, опубл. 20.02.2003 г., Бюл. №5), включающий спуск в незаглушенную скважину без извлечения скважинного оборудования БДТ для прокачки и продавки цементного раствора. При этом прокачку последних 0,2-0,3 м3 цементного раствора производят при производительности 2-3 л/с с одновременным подъемом БДТ, а окончание продавки цементного раствора из БДТ должно совпасть с подъемом БДТ до верхней отметки цементного моста.

[9]

Недостатками способа являются:

[10]

- во-первых, высокое давление продавки цементного раствора, возникающее в БДТ диаметром 38,1 или 45,44 мм, ограничивающее высоту установки цементного моста в скважине;

[11]

- во-вторых, низкая эффективность за счет ухода цементного моста в интервалы перфорации пласта вследствие отсутствия их предварительной герметизации;

[12]

- в-третьих, низкая прочность на сжатие цементного моста, что приводит к его разрушению и потере герметичности при последующей эксплуатации скважины;

[13]

- в-четвертых, высокая вероятность прихвата БДТ при спуске ее в скважину без извлечения скважинного оборудования.

[14]

Наиболее близким по технической сущности и достигаемому результату является способ установки цементного моста в скважине (патент RU №2235852, МПК Е21В 33/13, опубл. 10.09.2004 г., Бюл. №25), включающий закачку в заданный интервал тампонажного раствора, вымывание излишков тампонажного раствора, проведение ожидания затвердевания цемента (ОЗЦ), испытание цементного моста на прочность и герметичность. При этом в скважину, находящуюся под давлением, с помощью колтюбинговой установки спускают до забоя колонну гибких труб (ГТ). Открывают задвижки на трубном и затрубном пространствах. Ствол скважины заполняют через нее газовым конденсатом. Башмак колонны ГТ поднимают до интервала установки цементного моста, готовят в блоке приготовления тампонажный раствор смешиванием цементного раствора с замедлителем схватывания и реагентом, повышающим текучесть раствора. Закачивают через колонну ГТ вначале буферную жидкость, например метанол, в объеме 0,3-0,6 объема ГТ, затем тампонажный раствор в необходимом для установки цементного моста объеме с продавкой его в скважину последовательно закачиваемыми буферной жидкостью и продавочным раствором, например, закачкой вначале метанола, в объеме 1,0-1,3 объема колонны ГТ и затем газового конденсата в необходимом объеме, но не более внутреннего объема колонны ГТ, до момента освобождения гибкой трубы от тампонажного раствора, после выдавливания из колонны ГТ тампонажного раствора приподнимают башмак ГТ на 1 м выше "расчетной" головы цементного моста. Производят срез головы цементного моста газовым конденсатом, подаваемым через колонну ГТ, вымывание излишков тампонажного раствора в трубное пространство и оставление их там в жидком состоянии. После ОЗЦ спускают колонну ГТ до головы цементного моста и испытывают его на прочность. Прикладывают нагрузку инжектором колтюбинговой установки через колонну ГТ с усилием 4,0-5,0 кН. Затем производят гидравлическую опрессовку цементного моста. После чего колонну ГТ извлекают из скважины.

[15]

Недостатками способа являются:

[16]

- во-первых, высокое давление продавки тампонажного раствора, возникающее в колонне ГТ диаметром 38,1 или 45,44 мм, ограничивающее высоту установки цементного моста в скважине до 30-40 м;

[17]

- во-вторых, низкая эффективность за счет ухода цементного моста в интервалы перфорации пласта вследствие отсутствия их предварительной герметизации;

[18]

- в-третьих, низкая прочность на сжатие цементного моста, что приводит к его разрушению и потере герметичности при последующей эксплуатации скважины;

[19]

- в-четвертых, высокая вероятность прихвата колонны ГТ при ее спуске в скважину.

[20]

Техническими задачами изобретения являются снижение давления продавки тампонажного раствора, повышение эффективности установки цементного моста, а также повышение прочности на сжатие цементного моста и исключение прихвата колонны ГТ при ее спуске в скважину.

[21]

Поставленные технические задачи решаются способом установки цементного моста в скважине, включающим закачку по колонне гибких труб (ГТ) в заданный интервал буферной жидкости, тампонажного раствора в необходимом для установки цементного моста объеме с продавкой его в скважину последовательно закачиваемыми буферной жидкостью и продавочным раствором, вымывание излишков тампонажного раствора, проведение ожидания затвердевания цемента (ОЗЦ).

[22]

Новым является то, что спущенную в скважину колонну насосно-компрессорных труб (НКТ) после извлечения из нее насосного оборудования доспускают или приподнимают так, чтобы расстояние от низа колонны НКТ до верхней границы цементного моста составляло 200 м, герметизируют интервалы перфорации блокирующим составом, затем производят спуск колонны ГТ с помощью колтюбинговой установки в колонну НКТ со скоростью 0,25 м/с до нижней границы цементного моста с постоянной промывкой, затем на устье добывающей скважины герметизируют пространство между колоннами НКТ и ГТ, далее на устье скважины готовят тампонажный раствор плотностью 1430 кг/м3 в необходимом объеме для установки цементного моста от нижней до верхней границ цементного моста, состоящий из 84,45% цемента ПЦТ-II-50, 15% пеностекла, 0,5% понизителя водоотдачи, 0,05% пеногасителя, после чего по колонне ГТ в скважину последовательно закачивают: 0,1 м3 буферной жидкости, тампонажный раствор в приготовленном объеме, 0,1 м3 буферной жидкости и продавочную жидкость в объеме, необходимом для выдавливания тампонажного раствора из колонны ГТ, при этом одновременно поднимают колонну ГТ до верхней границы цементного моста, выдерживают в течение 5 мин, затем приподнимают колонну ГТ на 5 м выше верхней границы цементного моста, после чего прямой промывкой в полуторакратном объеме скважины выше цементного моста вымывают излишки тампонажного раствора из скважины, извлекают колонну ГТ из скважины со скоростью 0,28 м/с.

[23]

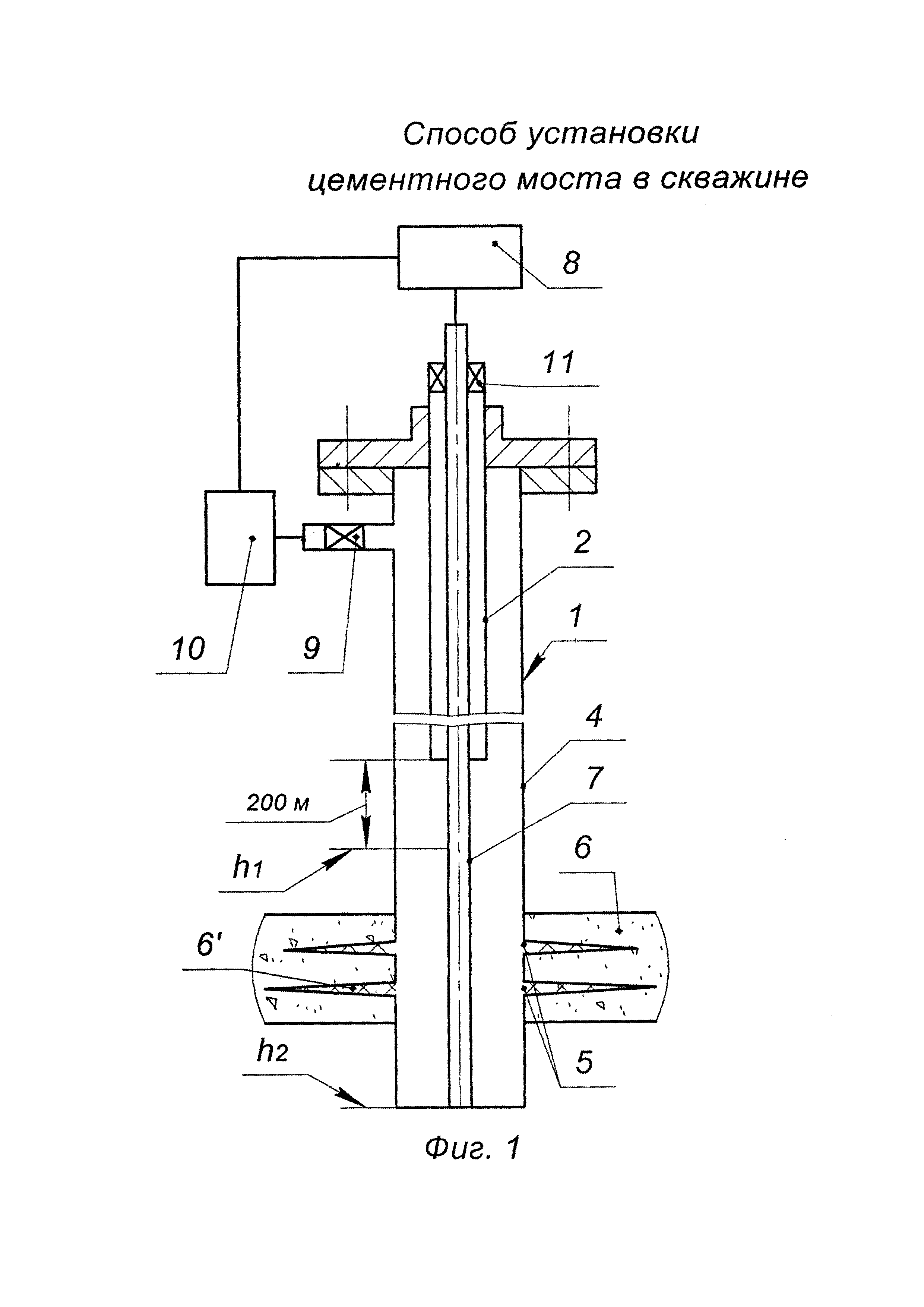
На фиг. 1 и 2 схематично и последовательно изображен предлагаемый способ установки цементного моста в скважине.

[24]

Предлагаемый способ реализуют следующим образом.

[25]

Имеется скважина 1 (см. фиг. 1) со спущенной в нее колонной НКТ 2, например, добывающая скважина 1. Из колонны НКТ 2 извлекают насосное оборудование, например, вставной штанговый насос (не показан). Далее в зависимости от интервала размещения нижнего конца колонны НКТ 2 ее доспускают или приподнимают с условием, чтобы расстояние от низа колонны НКТ до верхней границы цементного моста составляло 200 м. Например, колонна НКТ 2 имеет диаметр 73 мм с толщиной стенки 6,5 мм. Таким образом, внутренний диаметр колонны НКТ 2 составляет: 73 - 2⋅6,5 = 60 мм.

[26]

Расстояние 200 м необходимо для гарантированного исключения попадания тампонажного раствора внутрь НКТ 2 при выполнении цементного моста 3 (см. фиг. 1 и 2) в скважине 1. Кроме того, эксплуатационная колона (ЭК) 4 скважины 1 не должна иметь нарушения от верхней границы h1 цементного моста 3 до устья скважины 1.

[27]

Необходимо нарастить забой скважины и перекрыть интервалы перфорации 5 пласта 6 (отключить нижний пласт) с целью вторичного вскрытия и эксплуатации верхнего пласта (не показано).

[28]

Предварительно герметизируют интервалы перфорации пласта 5 (см. фиг. 1 и 2) закачкой блокирующего состава 6', например, водонабухающего полимера с целью исключения «ухода» цементного моста 3 в интервалы перфорации 5 пласта 6 в процессе его образования. Производят спуск колонны ГТ 7, например, диаметром 44,45 мм с помощью колтюбинговой установки (не показана) в колонну НКТ 2 со скоростью 0,25 м/с до нижней границы h2 цементного моста 3 с одновременной промывкой. Для этого на устье скважины 1 обвязывают насосный агрегат 8 с колонной ГТ 7. В процессе спуска колонны ГТ 7 одновременно закачивают с помощью насосного агрегата 8 в колонну ГТ 7, например, пресную воду плотностью 1000 кг/м3 с выходом жидкости из затрубной задвижки 9 в желобную емкость 10.

[29]

Промывка пресной водой необходима для гарантированного исключения прихвата колонны ГТ 7 в колонне НКТ 2 в процессе спуска шламом, грязью и прочим ввиду малого кольцевого зазора между колоннами ГТ 7 и НКТ 2 (диаметрами соответственно 44,45 и 60 мм). На устье скважины герметизируют пространство между колоннами НКТ и ГТ с помощью устьевого герметизатора 11.

[30]

На устье скважины 1 готовят тампонажный раствор плотностью 1430 кг/м3 в необходимом объеме для установки тампонажного моста от нижней h2 до верхней h1 границ цементного моста, состоящий из 84,45% порталандцемента тампонажного ПЦТ-II-50, 15% пеностекла, 0,5% понизителя водоотдачи, 0,05% пеногасителя.

[31]

Порталандцемент тампонажный ПЦТ-II-50 выпускается по ГОСТ 1581-96. Порталандцемент тампонажный типа II используется для низких и нормальных температур.

[32]

В качестве пеностекла применяют гранулированное пеностекло насыпной плотностью 400-450 кг/м3 и размерами 0,4-1,5 мм. Пеностекло состоит из оксида кремния SiO2, а остаток составляют устойчивые оксиды металлов.

[33]

В качестве понизителя водоотдачи, например, применяют реагент для цементирования BauCem FL - полимерный понизитель водоотдачи, проявляющий свои свойства во время промысловых цементировочных работ за счет структурирования цементного теста и удерживания воды в объеме раствора. Продукт хорошо совместим с любыми классами цемента, не влияет на сроки его застывания, быстро растворяется в разных затворяющих жидкостях и отличается термической стабильностью.

[34]

В качестве пеногасителя, например, применяют реагент Пента-463, эффективный для гашения пены в процессах, сопровождающихся пенообразованием.

[35]

Например, необходимо установить цементный мост 3 высотой L=50 м (см. фиг. 2) (между верхней границей h1 и нижней границей h2) в ЭК 4 диаметром 168 мм с толщиной стенки 9 мм. Внутренний диаметр ЭК4: D=168 - 2⋅9 = 150 мм = 0,15 м.

[36]

Тогда необходимый объем тампонажного раствора для установки цементного моста равен:

[37]

V=(π⋅D2/4)⋅L.

[38]

Подставляя в формулу значения, получим:

[39]

V=(π⋅D2/4)⋅L=3,14⋅(0,15 м)2 /4⋅50 м=0,9 м3.

[40]

На устье скважины готовят расчетный объем тампонажного раствора, состоящий из:

[41]

- цемента ПЦТ-II-50: 0,9 м3 ⋅ (84,45% /100%)=0,76 м3;

[42]

- пеностекла: 0,9 м3 ⋅ (15% /100%)=0,135 м3;

[43]

- BauCem FL: 0,9 м3 ⋅ (0,5% /100%)=0,0045 м3;

[44]

- Пента-463: 0,9 м3 ⋅ (0,05% /100%)=0,00045 м3.

[45]

Таким образом, плотность приготовленного тампонажного раствора составляет 1430 кг/м3, что контролируется ареометром на устье скважины 1.

[46]

После чего с помощью насосного агрегата 8 по колонне ГТ 7 в скважину 1 последовательно закачивают: 0,1 м3 буферной жидкости (пресную воду плотностью 1000 кг/м3), тампонажный раствор в приготовленном объеме (0,9 м3), 0,1 м3 пресной воды и продавочную жидкость в объеме, необходимом для выдавливания тампонажного раствора из колонны ГТ, при этом одновременно поднимают колонну ГТ от нижней h2 до верхней h1 границ цементного моста 3.

[47]

При реализации предлагаемого способа снижается давление продавки тампонажного раствора, так как плотность тампонажного раствора, используемого при реализации данного способа, равна 1430 кг/м3, а плотность тампонажного раствора, описанного в прототипе, равна 1850 кг/м3, что позволяет снизить в 1,5 раза давление продавки тампонажного раствора и увеличить высоту устанавливаемого цементного моста с использованием колонны ГТ (50 м в данном примере). Предварительная герметизация интервалов нарушений и интервалов перфорации скважины блокирующим составом позволяет исключить в процессах продавки и ОЗЦ «ухода» тампонажного раствора в нарушения и в интервалы перфорации, что позволяет повысить эффективность установки цементного моста в скважине.

[48]

Применение гранулированного пеностекла при реализации данного способа в качестве облегчающей добавки в тампонажном раствора позволяет повысить прочность на сжатие цементного моста.

[49]

В качестве продавочной жидкости, например, используют сточную воду плотностью 1180 кг/м3 в объеме колонны ГТ 7, например, 2,5 м3. Выдерживают колонну ГТ 7 в течение 5 мин, затем приподнимают колонну ГТ на 5 м выше верхней границы h1 цементного моста 3 (см. фиг. 2). Далее прямой промывкой в полуторакратном объеме скважины выше цементного моста 3 вымывают излишки тампонажного раствора из скважины. Например, с помощью насосного агрегата 8 в колонну ГТ 7 закачивают 15 м3 пресной воды плотностью 1000 кг/м3 с выходом жидкости из затрубной задвижки 9 в желобную емкость 10. Извлекают колонну ГТ 7 из скважины 1 со скоростью 0,28 м/с. Выдерживают скважину 1 на ОЗЦ с образованием цементного моста 3 в скважине 1. Процесс установки цементного моста окончен.

[50]

Предлагаемый способ установки цементного моста в скважине позволяет:

[51]

- снизить давление продавки в колонне ГТ;

[52]

- повысить эффективность установки цементного моста в скважине;

[53]

- повысить прочность на сжатие цементного моста;

[54]

- исключить прихват колонны ГТ при ее спуске в скважину.

Как компенсировать расходы
на инновационную разработку
Похожие патенты