патент
№ RU 2646020
МПК B64D31/06

СПОСОБ УПРАВЛЕНИЯ АВИАЦИОННЫМ ВОЗДУШНО-РЕАКТИВНЫМ ДВИГАТЕЛЕМ ЛЕТАТЕЛЬНОГО АППАРАТА

Авторы:
Титов Александр Петрович Дергачев Александр Анатольевич Матросов Андрей Викторович
Все (4)
Номер заявки
2016144528
Дата подачи заявки
14.11.2016
Опубликовано
28.02.2018
Страна
RU
Как управлять
интеллектуальной собственностью
Чертежи 
1
Реферат

Изобретение относится к авиационной и ракетной технике. Способ управления авиационным воздушно-реактивным двигателем (ВРД) летательного аппарата (ЛА) включает измерение давления и температуры воздуха на входе в ВРД, преобразование информации с датчиков давлений и температуры и передачу преобразованной информации по каналу (4) обмена информацией к вычислителю (8), обработку полученной информации в вычислителе (8) по заранее установленным алгоритмам поддержания скорости летательного аппарата на различных высотах движения аппарата, выдачу управляющих сигналов на агрегаты ВРД. Способ также включает в себя обеспечение самоконтроля блоков, датчиков и клапанов агрегатов ВРД. При получении сигнала об отказе датчиков (3) давления и/или датчиков (11) температуры выдается команда для выполнения резервного алгоритма управления ВРД, заключающегося в расчете давления и температуры воздуха на входе в ВРД по измеряемым с помощью аппаратуры (5) спутниковой навигации параметрам скорости и высоты летательного аппарата. Изобретение обеспечивает возможность корректировки работы ВРД в штатном режиме и формирования резервной системы для управления ВРД во внештатной ситуации. 1 з.п. ф-лы, 1 ил.

Формула изобретения

1. Способ управления авиационным воздушно-реактивным двигателем (ВРД) летательного аппарата (ЛА), включающий измерение давления и температуры воздуха на входе в ВРД, преобразование информации с датчиков давлений и температуры и передачу преобразованной информации по каналу обмена информацией к вычислителю, обработку полученной информации в вычислителе по заранее установленным алгоритмам поддержания скорости летательного аппарата на различных высотах движения аппарата, выдачу управляющих сигналов на агрегаты ВРД, обеспечение самоконтроля блоков, датчиков и клапанов агрегатов ВРД,

отличающийся тем, что при получении сигнала об отказе датчиков давления и/или температуры выдается команда для выполнения резервного алгоритма управления ВРД, заключающегося в расчете давления и температуры воздуха на входе в ВРД по измеряемым с помощью аппаратуры спутниковой навигации параметрам скорости и высоты летательного аппарата.

2. Способ управления авиационным воздушно-реактивным двигателем летательного аппарата по п. 1, отличающийся тем, что достигается заранее заданная высота ЛА и поддерживается скорость, соответствующая высоте полета ЛА.

Описание

[1]

Изобретение относится к области авиа- и ракетной техники, созданию воздушно-реактивных двигателей (ВРД) для летательных аппаратов (ЛА), в том числе прямоточных ВРД (ПВРД) для крылатых ракет (КР).

[2]

Вопросы управления ВРД изложены в многочисленных источниках. Например, в изобретении по патенту РФ 2394999 изложена система топливопитания ВРД, в изобретении по патенту РФ 2446305 изложен способ работы ПВРД с пульсирующим режимом горения.

[3]

В этих изобретениях (как и во многих других) авторы предлагали ограниченные по широте использования отличительные решения, касающиеся либо определенных типов двигателей, либо их элементов или способов использования элементов.

[4]

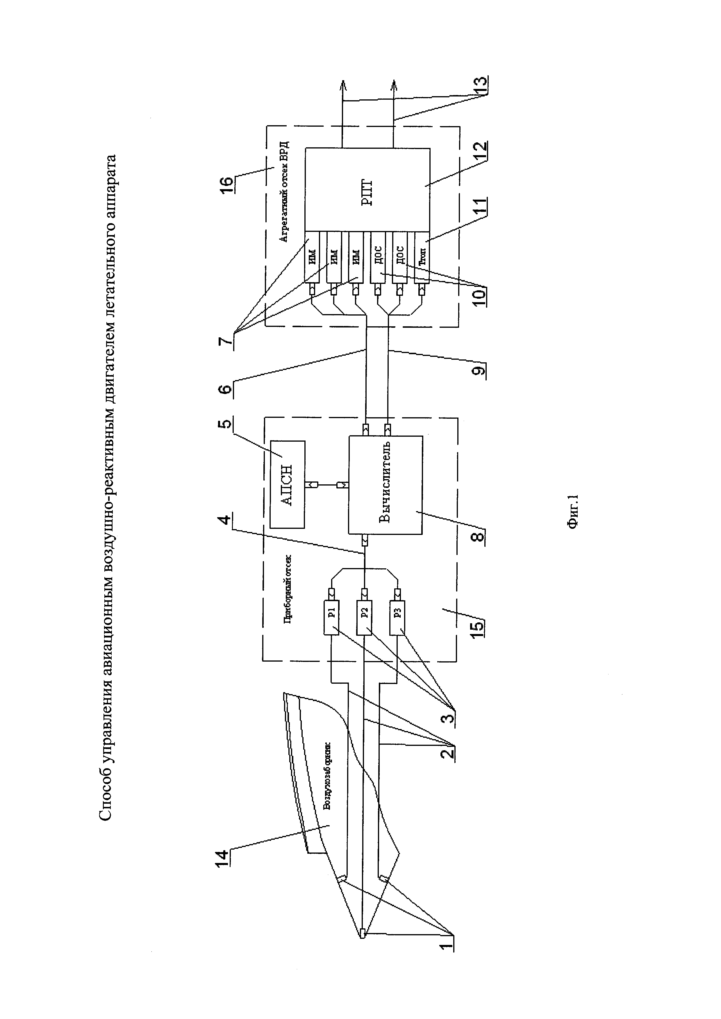
Для раскрытия предлагаемого решения, претендующего на широкое использование в различных ВРД, целесообразно обратиться к литературным источникам, содержащим широко известные сведения для создания системы управления ВРД.

[5]

Одним из таких источников является издание «Обзор №282, ЦИАМ, 1988 год, Системы автоматического регулирования ПВРД», УДК 621.452.22-53:681.52. (далее - Обзор).

[6]

На стр. 88 Обзора приведена типичная блок-схема управления подачей топлива для ракеты. Из данной схемы, а также из ее описания на стр. 86 следует, что «топливо дозируется в зависимости от давления воздуха во входном диффузоре, которое характеризует расход воздуха».

[7]

В изобретении по патенту РФ №2189926 раскрыта топливоизмерительная система с компенсацией по температуре топлива. Одним из существенных признаков изобретения является наличие датчиков температуры топлива, расположенных на топливном баке.

[8]

Информация, получаемая от датчиков (давлений, температуры), обрабатывается в вычислителе, после чего формируется сигнал для регулирования подачи топлива.

[9]

Известен патент США (US 4263781), в котором предложена блок-схема программной системы регулирования, предназначенной для поддержания требуемого состава топливовоздушной смеси. Для расчета подачи топлива учитывается атмосферное давление воздуха. Давление и температура воздуха в воздухозаборнике используются для расчета потребного расхода топлива.

[10]

Известен патент США (US 4277940). В изобретении представлена замкнутая система для обеспечения беспомпажной работы ПВРД и поддержания топливовоздушной смеси в заданном диапазоне в зависимости от условий полета ЛА. В изобретении измеряются параметры воздуха на входе в воздухозаборник, учитывается статическое давление воздуха и дальнейший расчет осуществляется с учетом полного давления воздуха на входе в ПВРД. В данной системе все наиболее существенные источники ошибок связаны с измерением или формированием необходимых параметров регулирования, что является как преимуществом (в целом замкнутые системы регулирования имеют выше точность в сравнении с системами с разомкнутым регулированием, использующими программные средства для расчета), так и недостатком. Ошибки измерений, разброс эксплуатационных характеристик агрегатов ведут к расширению допусков. Кроме того, даже в хорошо отлаженной системе остается высокой вероятность выхода из строя датчиков давления, на основе которых базируются основные вычисления для расхода топлива. Как следствие, ВРД перестает функционировать.

[11]

Известен литературный источник «Автоматическое управление авиационными двигателями» (авторы Сиротин С.А., Соколов В.И., Шаров, А.Д., Москва, Машиностроение, 1991), который может быть взят как ближайший аналог предлагаемого решения.

[12]

В источнике представлены способы управления ВРД на различных установившихся режимах работы ВРД, а также на переходных режимах. Рассмотрены режимы ограничений как для дозвуковых ВРД (в т.ч. пассажирских самолетов), так и сверхзвуковых ВРД.

[13]

Независимо от конструктивной схемы двигателя существует ряд типовых режимов работы, обязательных для любого класса двигателя (стр. 57-58), и соответствие режима работы двигателя учитываемым параметрам, принимаемым для управления двигателем. Например, управление турбореактивным двигателем с форсажной камерой сгорания в зависимости от режима работы обеспечивается всеми регулируемыми элементами и параметрами, в том числе величинами расхода топлива в основную и форсажную камеры сгорания.

[14]

Управление газотурбинными двигателями осуществляется изменением положения регулирующих органов (стр. 64). К их числу относятся органы дозировки топлива в основную (главный параметр) и форсажную камеры сгорания и другие элементы.

[15]

Управление регулирующими органами осуществляется по законам, в которых используется достаточно большое число параметров двигателя и параметров, характеризующих условия полета ЛА. Выбор параметров регулирования играет большую роль в реализации точности выполнения законов регулирования.

[16]

Соответственно, выбор законов управления двигателем на различных режимах работы ВРД (взлетном, установившемся, переходном…) также влияет на ряд дополнительных факторов (запас двигателя по прочности относительно его предельной температуры),

[17]

Однако при одной и той же точности поддержания системой управления выбранного параметра регулирования точность реализации тяги двигателя будет различной, в итоге, реальные значения тяги двигателя будут зависеть от выбранного параметра.

[18]

Поэтому, например, для двигателей, предназначенных для эксплуатации с широким диапазоном изменения температуры воздуха на входе (силовых установок сверхзвуковых самолетов) необходимо применять законы управления на взлетном (чрезвычайном, максимальном) режиме (стр. 70).

[19]

Структурная схема типового замкнутого контура регулирования двигателя приведена на стр. 65, в котором одним из основных параметров показано командное давление, принимаемое пропорционально величине регулируемого параметра.

[20]

Одним из важных параметров регулирования (приведено многократно в указанных источниках) является температура воздуха.

[21]

Сутью теоретических изысканий в прототипе (в том числе) является измерение указанных параметров для дальнейшего расчета регулирования подачи топлива для обеспечения бесперебойной работы ВРД с требуемыми характеристиками.

[22]

Однако практическая реализация теоретических предложений в конкретных образцах техники показывает наличие отказов в работе ВРД по причине выхода из строя датчиков давления и/или температура воздуха.

[23]

С некоторой вероятностью можно предсказать даже для хорошо отлаженных систем время выхода из строя датчиков давления, на основе которых базируются основные вычисления для расхода топлива. Как следствие, ВРД перестает функционировать.

[24]

Известен случай, когда после технического обслуживания пассажирского самолета один из датчиков давления остался закрытым скотчем. После взлета самолет потерпел крушение.

[25]

Целью предлагаемого решения является разработка такого способа управления ВРД, который был бы лишен указанных недостатков. В штатном режиме вычислитель (в качестве вычислителя может быть использован бортовой компьютер ЛА, электронный блок управления ВРД, иная бортовая аппаратура ЛА) имел бы более точные показатели для расчета топливовоздушной смеси и оптимальной работы ВРД по показаниям датчиков, а в случае выхода из строя одного (или всех) датчиков давления ВРД и/или температуры воздуха вычислитель был способен сформировать режим работы ВРД для дальнейшего полета ЛА.

[26]

Суть предлагаемого решения заключается в следующем.

[27]

В способе управления авиационным воздушно-реактивным двигателем летательного аппарата, включающем измерение давления и температуры воздуха на входе в ВРД, преобразование информации с датчиков давлений и температуры и передачу преобразованной информации по каналу обмена информацией к вычислителю, обработку полученной информации в вычислителе по заранее установленным алгоритмам поддержания скорости летательного аппарата на различных высотах движения аппарата, выдачу управляющих сигналов на агрегаты ВРД, обеспечение самоконтроля блоков, датчиков и клапанов агрегатов ВРД, введены следующие отличия.

[28]

При получении сигнала об отказе датчиков давления и/или температуры выдается команда для выполнения резервного алгоритма управления ВРД, заключающегося в расчете давления и температуры воздуха на входе в ВРД по измеряемым с помощью аппаратуры спутниковой навигации параметрам скорости и высоты летательного аппарата

[29]

В предлагаемом решении дополнительно может быть введено следующее:

[30]

- достигается заранее заданная высота ЛА и поддерживается скорость, соответствующая высоте полета ЛА;

[31]

- в способе управления воздушно-реактивным двигателем летательного аппарата обеспечивается помехозащищенность аппаратуры спутниковой навигации путем выделения достоверных спутниковых сигналов.

[32]

Предлагаемое решение может быть реализовано следующим образом.

[33]

На фигуре 1 представлена блок-схема управления ВРД, где позициями обозначены следующие элементы.

[34]

1 - приемники воздушного давления;

[35]

2 – пневмомагистрали;

[36]

3 - датчики командных давлений;

[37]

4 - канал обмена информацией;

[38]

5 - аппаратура спутниковой навигации;

[39]

6 - магистраль управления исполнительными механизмами;

[40]

7 - исполнительные механизмы в составе регулятора подачи топлива (РПТ);

[41]

8 - вычислитель;

[42]

9 - канал обмена информацией с агрегатным отсеком ВРД;

[43]

10 - датчики обратной связи в составе РПТ;

[44]

11 - датчик температуры в составе РПТ;

[45]

12 - регулятор подачи топлива;

[46]

13 - топливные магистрали;

[47]

14 - воздухозаборник;

[48]

15 - приборный отсек;

[49]

16 - агрегатный отсек ВРД.

[50]

Как видно из блок-схемы на фиг. 1, после включения ВРД его работа осуществляется по типичной для данного типа двигателя программе. В штатном варианте работы ВРД информация, поступающая в вычислитель (8) от датчиков давления (3) через канал обмена информацией (4) и от датчиков температуры (11) через канал обмена информацией (9), обрабатывается в вычислителе (8), после чего через магистраль управления (6) подается команда на исполнительные механизмы (электромагнитные клапаны, сервоклапаны и т.п.) (7) регулятора подачи топлива для позиционирования топливных кранов (на фигуре не показаны, так как не являются сутью решения). Точность позиционирования контролируется с помощью датчиков обратной связи (10), информация с которых поступает в вычислитель через магистральный канал обмена информацией (9). Потребный расход топлива, подаваемый в камеру сгорания ВРД, рассчитывается в вычислителе по командным давлениям с поправкой на плотность топлива, определяемую с помощью датчиков температуры по заранее определенным высотно-скоростным характеристикам двигателя.

[51]

При этом по сигналам спутниковой навигации, поступающим от аппаратуры спутниковой навигации (5), могут быть определены меняющиеся координаты ЛА и, соответственно, скорость и высота ЛА относительно поверхности. Но, так как режим работы ВРД по датчикам командных давлений согласуется со скоростью ЛА относительно окружающей среды то, появляется возможность рассчитать поправки для расчета величин командных давлений и количества топлива, потребляемого на данной высоте при данной скорости по параметрам аппаратуры спутниковой навигации. Это необходимо в случаях наличия встречной или попутной составляющей ветра.

[52]

В случае выхода из строя датчиков давления (отсутствия сигнала от датчиков или подачи заведомо ложного сигнала, что может быть проконтролировано аппаратной частью или по значительному отклонению показаний датчиков давления от давлений, рассчитанных по скорости и высоте, определенных, в том числе, с помощью аппаратуры спутниковой навигации) во избежание остановки работы ВРД может быть введен в действие резервный алгоритм работы двигателя.

[53]

Заключается алгоритм в следующем. Как было упомянуто выше, в штатном режиме подача топлива в камеру сгорания производится регулятором подачи топлива (12) через топливные магистрали (13) в соответствии с командными давлениями. Приемники (1) датчиков командных давлений находятся в воздухозаборнике (14) изделия и соединены с датчиками пневномагистралями (2). Так, в общем случае, для поддержания скорости полета расход топлива зависит от расхода воздуха через ВРД, расход воздуха в свою очередь пропорционален полному давлению воздуха, измеряемому на передней части воздухозаборника (посредством приемника воздушного давления). Полное давление воздуха зависит от скорости, высоты полета ЛА и особенностей атмосферы в точке полета (времени года, широты и долготы местности). По сигналам, поступающим от аппаратуры спутниковой навигации, определяются поправки скорости ЛА для расчета величин командных давлений и температуры воздуха. В итоге, с учетом значений иных параметров, принимаемых ограничений и алгоритмов расчета, возможно рассчитать количество топлива, потребное на данной высоте при данной скорости и для требуемой тяги ВРД по параметрам аппаратуры спутниковой навигации.

[54]

С момента перехода на резервный алгоритм управления ВРД производится расчет командных давлений и температуры воздуха по параметрам высоты и скорости ЛА, рассчитываемых по сигналам АПСН, с учетом поправок скорости ЛА (вычисляются на борту ЛА с учетом индивидуальных особенностей ВРД, климата и последних значений датчиков). По командным давлениям производится расчет расхода воздуха, и с учетом температуры воздуха (и других параметров, определяемых вне рамок предлагаемого решения) осуществляется расчет расхода топлива и подача топлива для поддержания заданной скорости полета ЛА на заданной высоте.

[55]

При возможном изменении состояния окружающей среды (изменении высоты полета, изменении скорости ветра и направления ветра при удалении от точки, где были рассчитаны поправки) расчет командных давлений и температуры воздуха может производиться с учетом данных о стандартной атмосфере для данной местности и времени года по исходным данным АПСН с возможной корректировкой по известному разрезу атмосферы, сделанному перед полетом.

[56]

Данное решение может иметь вариации в применении, зависящие от типа ЛА, ВРД или отказа оборудования. Например, может быть выбрана присущая конструктивным особенностям ЛА высотная траектория. Обладая достоверной информацией о тяговых (высотно-скоростных) характеристиках ВРД, граничных значениях перепадов давления, возможных погрешностях состава топливовоздушной смеси и возможных других величинах, а также с учетом требуемого для полета ЛА расстояния, производится расчет полета ЛА, т.е. рассчитывается (корректируется) выбранная высотная траектория для выполнения поставленной перед ЛА задачи.

[57]

Учитывая появление техногенных факторов, негативно влияющих на работоспособность аппаратуры спутниковой навигации, а также предполагая возможную постановку преднамеренных помех запрещенными в ряде стран международными организациями или вероятным противником, аппаратура спутниковой навигации должна быть выполнена в помехоустойчивом варианте. В связи с чем предлагается обеспечить помехоустойчивость аппаратуры путем выделения полезного сигнала из массива принимаемой спутниковой антенной информации.

[58]

Одним из вариантов обеспечения выделения полезного сигнала может быть изготовление антенны из нескольких антенных элементов, разнесенных друг от друга на расчетное расстояние (зависимое от длины волны принимаемого сигнала), с последующей обработкой сигналов, воспринимаемых отдельными антенными элементами.

[59]

Обеспечение помехоустойчивости аппаратуры спутниковой навигации позволяет существенно повысить достоверность получаемой информации и, как следствие, обеспечить расчет параметров скорости и высоты ЛА. С помощью заранее сформированных поправок на основе данных о ВРД и ЛА определить соотношение топливовоздушной смеси и обеспечить полет ЛА, что изложено выше.

[60]

Таким образом, благодаря предложенному решению достигается следующий технический результат. Появляется возможность скорректировать работу ВРД в штатном режиме и сформировать резервную систему для управления ВРД во внештатной (аварийной) ситуации, что существенно повышает надежность работы ВРД и, как следствие, повышает живучесть ЛА и безопасность полета ЛА.

[61]

Технически предлагаемое решение вполне осуществимо. Каждым разработчиком и производителем ВРД накоплена достаточная база о производимых им особенностях ВРД (параметрах работы, конструктивных и технологических особенностях, характеристиках ВРД и др.), что может быть использовано в расчетах по доработке управления ВРД.

[62]

Для реализации решения необходимо провести дополнительную доработку алгоритмов управления ВРД, и, как следствие, ЛА. Также внедрение предлагаемого решения предполагает согласование работы аппаратуры спутниковой навигации, вычислителя и ВРД.

[63]

Учитывая, что в состав бортовой аппаратуры практически любого ЛА включены аппаратура спутниковой навигации и вычислитель, реализация решения не требует установку дополнительной материальной части. Как следствие, не будут изменяться конструктивные особенности ЛА в целом, ВРД в частности. Т.е. будет сокращен перечень испытаний, что снизит стоимость и время работ по доработке.

[64]

Практически не изменится и технологический процесс изготовления ВРД, что также положительно отразится на ускорении внедрения и производства доработанного ВРД.

Как компенсировать расходы
на инновационную разработку
Похожие патенты