Изобретение относится к нефтегазобывающей промышленности, в частности к технологиям промывки проппантовых пробок в скважинах. Способ включает спуск в скважину в интервал пласта колонны труб с пакером, установку пакера над пластом, закачку жидкости гидроразрыва в продуктивный пласт, проведение дренирования пласта с удалением из него жидкости гидроразрыва и незакрепленного в пласте проппанта в скважину, затем спуск колонны гибких труб - ГТ через колонну труб и промывку проппанта из скважины. Нижний конец колонны труб оснащают опрессовочным седлом. Перед проведением гидравлического разрыва пласта (ГРП) колонну труб опрессовывают при давлении, превышающем ожидаемое давление разрыва пласта в 1,5 раза. После проведения ГРП и дренирования из пласта жидкости гидроразрыва и незакрепленного в пласте проппанта в колонну труб производят спуск колонны ГТ с пером на конце и промывают проппант из скважины в два этапа. На первом этапе спускают колонну ГТ до опрессовочного седла колонны труб, затем технологической жидкостью с вязкостью от 1,0 до 2,0 МПа⋅с вымывают проппант из колонны труб, после чего доспускают колонну ГТ до забоя скважины и вымывают проппант из призабойной зоны скважины загущенной технологической жидкостью с вязкостью от 6 до 8 МПа⋅с, после чего приподнимают колонну ГТ на глубину 100 м, выдерживают паузу на технологический отстой частиц, повторным спуском колонны ГТ с пером определяют забой скважины. Повышается надежность и качество промывки, упрощается реализация способа. 2 ил.
Способ промывки проппанта из колонны труб и призабойной зоны скважины после гидроразрыва пласта - ГРП, включающий спуск в скважину в интервал пласта колонны труб с пакером, установку пакера над пластом, закачку жидкости гидроразрыва в продуктивный пласт, проведение дренирования пласта с удалением из него жидкости гидроразрыва и незакрепленного в пласте проппанта в скважину, затем спуск колонны гибких труб - ГТ через колонны труб и промывку проппанта из скважины, отличающийся тем, что нижний конец колонны труб оснащают опрессовочным седлом, а перед проведением ГРП колонну труб опрессовывают при давлении, превышающем ожидаемое давление разрыва пласта в 1,5 раза, после проведения ГРП и дренирования из пласта жидкости гидроразрыва и незакрепленного в пласте проппанта в колонну труб производят спуск колонны ГТ с пером на конце и промывают проппант из скважины в два этапа, причем на первом этапе спускают колонну ГТ до опрессовочного седла колонны труб, затем технологической жидкостью с вязкостью от 1,0 до 2,0 МПа⋅с вымывают проппант из колонны труб, после чего доспускают колонну ГТ до забоя скважины и вымывают проппант из призабойной зоны скважины загущенной технологической жидкостью с вязкостью от 6 до 8 МПа⋅с, после чего приподнимают колонну ГТ на глубину 100 м, выдерживают паузу на технологический отстой частиц, повторным спуском колонны ГТ с пером определяют забой скважины.
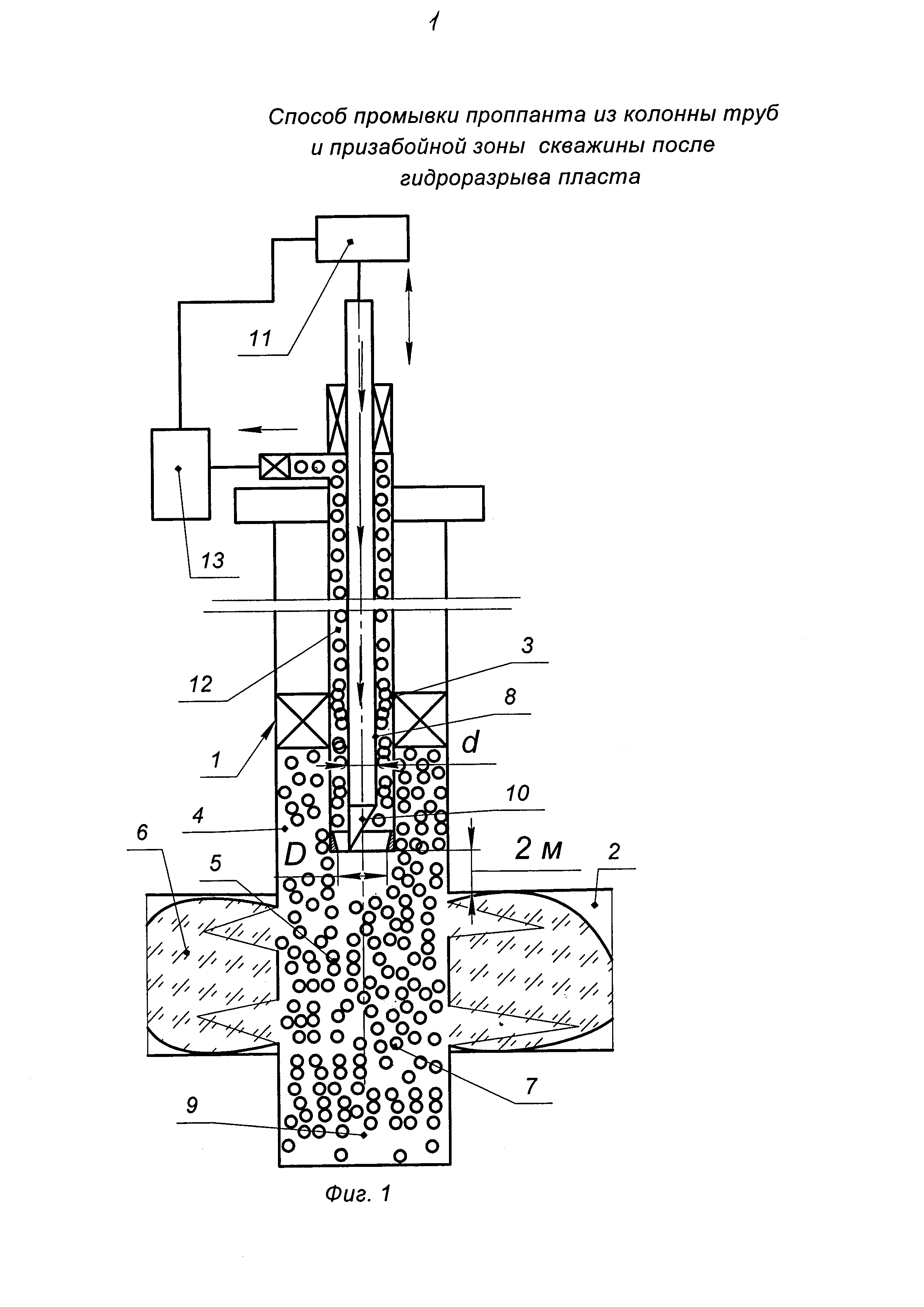
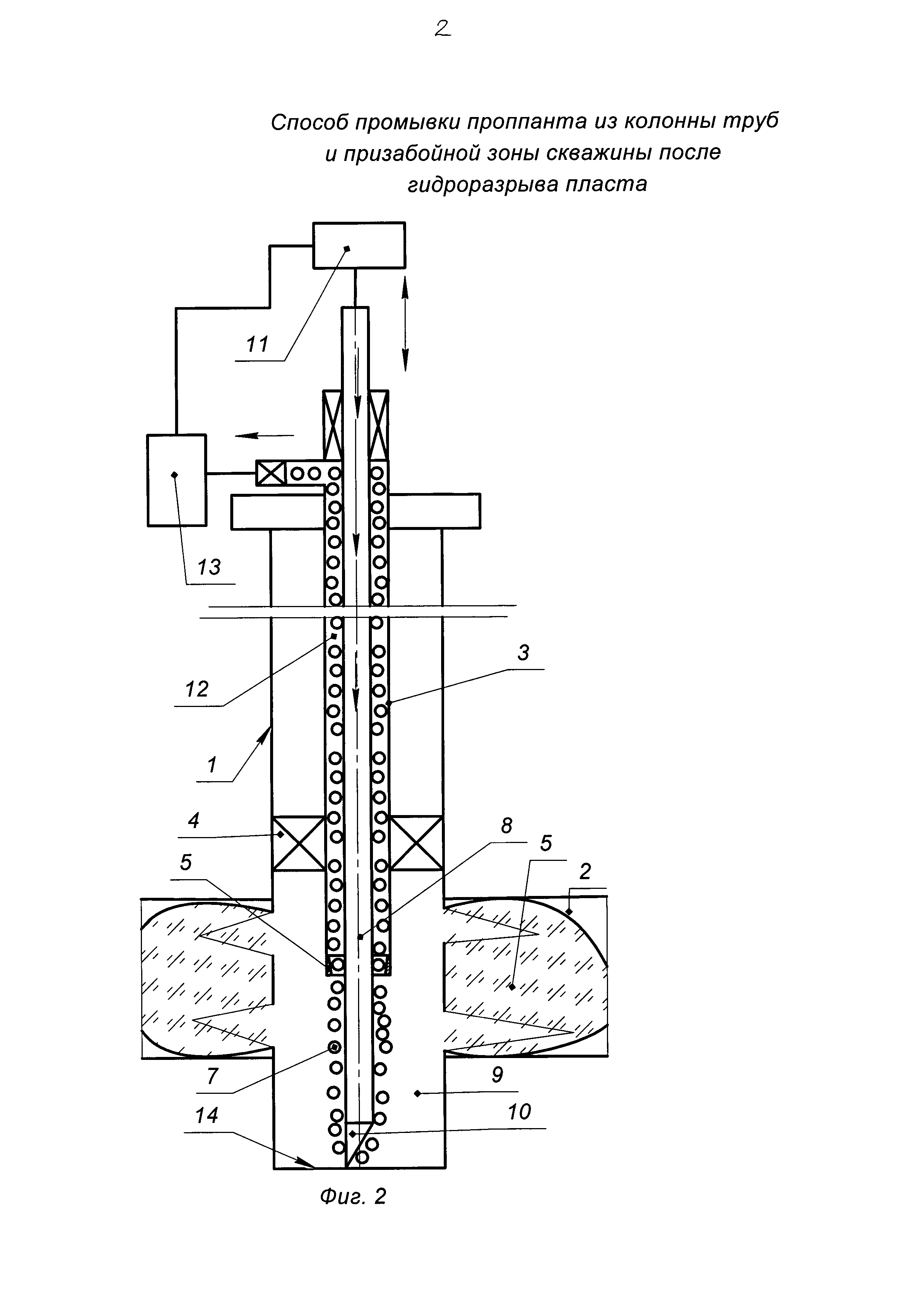
Изобретение относится к нефтегазобывающей промышленности, в частности к технологиям промывки проппантовых пробок в добывающих и нагнетательных скважинах. Известен способ промывки проппантовой пробки в газовой или газоконденсатной скважине после завершения гидравлического разрыва пласта (ГРП) (патент RU №2373379, МПК Е21В 37/00, опубл. 20.11.2009 г., бюл. №32), включающий ступенчатый спуск колонны гибкой трубы (ГТ) по мере промывки и закачивание в скважину промывочной жидкости с поддержанием минимальной разницы между давлением столба промывочной жидкости в кольцевом пространстве и давлением поглощения этой жидкости трещиной гидроразрыва. Причем спуск колонны ГТ до головы проппантовой пробки проводят со скоростью 0,1 м/с. После этого осуществляют промывку ствола скважины и ступенчатое углубление колонны ГТ на глубину 1-3 м со скоростью 0,001 м/с, постоянной подачей аэрированной промывочной жидкости и поддержанием 100% выхода циркуляции из скважины на каждой ступени углубления колонны ГТ. При этом циркуляцию на каждой ступени проводят не менее двух циклов, а поддержание минимальной разницы между давлением столба промывочной жидкости в кольцевом пространстве и давлением поглощения этой жидкости трещиной гидроразрыва осуществляется с помощью внешнего источника газообразного агента в виде компрессора и азотно-бустерной установки в комплексе с остальным оборудованием. Недостатки способа: - во-первых, ограниченность применения, т.е. способ применим только в газовой или газоконденсатной скважине; - во-вторых, низкая надежность промывки проппанта из скважины после проведения ГРП, связанная с высокой вероятностью прихвата колонны ГТ в призабойной зоне пласта вследствие слабой несущей способности аэрированной жидкости из-за ее низкой вязкости, что может привести к поглощению аэрированной жидкости пластом и потере циркуляции аэрированной жидкости в скважине; - в-третьих, низкое качество промывки проппанта из скважины аэрированной жидкостью (проппант остается на забое). Наиболее близким по технической сущности является способ промывки проппантовой пробки в скважине (патент RU №2310103, МПК Е21В 43/14, 43/27, 47/12, опубл. 10.11.2007 г., бюл. №31), включающий спуск в скважину с пластами колонны труб с пакером и струйным насосом. При этом пакер устанавливают между нижним и первым промежуточным пластами. Проводят закачку жидкости гидроразрыва в нижний пласт, после чего производят дренирование этого пласта с удалением из него жидкости гидроразрыва и выносом незакрепленного в пласте проппанта в скважину, регистрируя давление в скважине под пакером с помощью автономного манометра. После чего приводят пакер в транспортное положение. Приподнимают колонну труб с пакером и струйным насосом и проводят распакеровку пакера между следующими промежуточными пластами. Устанавливают проппантовую пробку в интервале от забоя до подошвы промежуточного пласта. Затем повторяют те же операции и так далее в зависимости от количества продуктивных пластов. После чего через колонну труб и струйный насос спускают колонну ГТ и вымывают проппант из скважины технологической жидкостью, в качестве которой используется пластовая вода. Недостатки способа: - во-первых, низкая надежность промывки проппанта из скважины после проведения ГРП, связанная с высокой вероятностью прихвата колонны ГТ в призабойной зоне пласта вследствие слабой несущей способности технологической жидкости, имеющей низкую вязкость 1-2 МПа⋅с, что может привести к поглощению технологической жидкости пластом и потере циркуляции технологической жидкости в скважине; - во-вторых, низкое качество промывки проппанта из скважины, вследствие того что, промывку проппанта осуществляют после того, как проведут ГРП во всех пластах, поэтому не весь проппант удается вымыть с забоя скважины; способ не позволяет проконтролировать весь ли проппант вымыт из скважины; - в-третьих, сложный технологический процесс реализации, связанный с проведением технологических операций в нескольких пластах и с применением струйного насоса. Техническими задачами изобретения являются повышение надежности и качества промывки проппанта с забоя скважины, а также упрощение процесса реализации способа. Поставленные задачи решаются способом промывки проппанта из колонны труб и призабойной зоны скважины после гидроразрыва пласта - ГРП, включающим спуск в скважину в интервал пласта колонны труб с пакером, установку пакера над пластом, закачку жидкости гидроразрыва в продуктивный пласт, проведение дренирования пласта с удалением из него жидкости гидроразрыва и незакрепленного в пласте проппанта в скважину, затем спуск колонны гибких труб - ГТ через колонну труб и промывку проппанта из скважины. Новым является то, что нижний конец колонны труб оснащают опрессовочным седлом, а перед проведением ГРП колонну труб опрессовывают при давлении, превышающем ожидаемое давление разрыва пласта в 1,5 раза, после проведения ГРП и дренирования из пласта жидкости гидроразрыва и незакрепленного в пласте проппанта в колонну труб производят спуск колонны ГТ с пером на конце и промывают проппант из скважины в два этапа, причем на первом этапе спускают колонну ГТ до опрессовочного седла колонны труб, затем технологической жидкостью с вязкостью от 1,0 до 2,0 МПа⋅с вымывают проппант из колонны труб, после чего доспускают колонну ГТ до забоя скважины и вымывают проппант из призабойной зоны скважины загущенной технологической жидкостью с вязкостью от 6 до 8 МПа⋅с, после чего приподнимают колонну ГТ на глубину 100 м, выдерживают паузу на технологический отстой частиц, повторным спуском колонны ГТ с пером определяют забой скважины. На фиг. 1 и 2 схематично и последовательно изображен процесс реализации способа. Предлагаемый способ реализуется следующим образом. В скважину 1 (см. фиг. 1) и интервал пласта 2 спускают колонну труб 3 с пакером 4 и опрессовочным седлом 5, выполненным конусным, сужающимся сверху вниз с проходным диаметром у нижнего основания D, установленным на нижнем конце колонны труб 3. Например, в качестве колоны труб 3 используют колонну насосно-компрессорных труб (НКТ) диаметром 89 мм, на нижнем конце которой установлено опрессовочное седло 5 проходным диаметром D=50 мм. Колонну труб 3 размещают в скважине 1 так, чтобы опрессовочное седло 5 находилось выше кровли пласта 2 на расстоянии 2 м с целью исключения прихвата колонны труб 3 проппантом в случае возникновения резкого скачка давления при продавке проппанта в процессе ГРП. Пакер 4 устанавливают над пластом 2 с целью защиты стенок скважины от воздействия высокого давления, возникающего в процессе ГРП, например, устанавливают пакер 4 на 5 м выше кровли пласта 2. Производят опрессовку колонны труб 3 при давлении, превышающем ожидаемое давление разрыва пласта в 1,5 раза. Например, ожидаемое давление разрыва пласта 2 согласно моделированию процесса в программе Frac-pro составляет 27,0 МПа. Производят опрессовку колонны, например, для этого с устья скважины 1 на канате в колонну труб 3 спускают опрессовочный конус (на фиг. 1 и 2 не показан), который сажают на опрессовочное седло 5 (см. фиг. 1) труб 3, герметизируют колонну труб 3 на устье скважины 1 и опрессовывают колонну труб 3 при давлении 27,0 МПа ⋅ 1,5=40,5 МПа с помощью насосного агрегата (на фиг. 1 и 2 не показан). Выдерживают в течение 30 мин колонну труб 3 под давлением 40,5 МПа. Колонна труб 3 считается герметично при выполнении условия: где Рд - допустимое давление опрессовки, МПа; Ропр - давление опрессовки колонны труб, МПа. Т.е. допустимое давление опрессовки составляет Рд=40,5 МПа - (40,5 МПа⋅5% /100%)=38,5 МПа. Например, в данном случае снижение давления составило 1,0 МПа, то есть давление опрессовки в колонне труб 3 по истечении 30 мин составило Ропр=39,5 МПа. 38,5 МПа<39,5 МПа Как видно неравенство (1) соблюдается, т.е. снижение давления в колонне труб 3 в результате опрессовки не превышает допустимого значения. Производят гидроразрыв пласта 2 с образованием трещины 6 и последующим ее креплением проппантом. По окончании ГРП производят дренирование пласта 2 с удалением из него жидкости гидроразрыва и незакрепленного в пласте проппанта 7. Далее производят промывку проппанта из скважины спуском колонны гибких ГТ 8 с наружным диаметром d, при этом на устье скважины производят герметизацию сальником (на фиг. 1 и 2 показан условно) колонны ГТ в процессе ее перемещения: где d - наружный диаметр ГТ, мм; D - проходной диаметр опрессовочного седла у нижнего основания, мм. Опытным путем установлено, что при таком соотношении проходного диаметра D опрессовочного седла 5 и наружного диаметра d колонны ГТ исключаются гидравлические сопротивления при промывке проппанта 7 из призабойной зоны 9 скважины 1. Исходя из условия (2), подбирают наружный диаметр ГТ 8 из существующего ряда гибких труб, предназначенных для промывки по колонне НКТ, d: 25,4 мм; 31,75 мм; 38,1 мм; 44,45 мм. Подставляя числовые значения в условие (2), получаем: d<D/1,5=50 мм /1,5=33,3 мм Таким образом, под условие (2) подходит ГТ 8 с наружным диаметром 25,4 мм и 31,75 мм. Выберем ГТ 8 с диаметром d=31,75 мм. Промывку проппанта 7 с помощью колонны ГТ 8 из скважины 1 осуществляют в два этапа. На первом этапе спускают колонну ГТ 8 до опрессовочного седла 5 колонны труб 3 и технологической жидкостью, в качестве которой применяют пластовую воду вязкостью от 1,0 до 2,0 МПа⋅с, промывают проппант 7 из колонны труб 3. Для этого на устье скважины 1 оснащают нижний конец ГТ 8 пером 10 наружным диаметром, равным 31,75 мм, т.е. равным наружному диаметру d колонны ГТ 8. Гидравлически обвязывают на устье скважины насосный агрегат 11 для подачи технологической жидкости с ГТ 8, а межколонное пространство 12 между колонной труб 3 и колонной ГТ 8 - с желобной емкостью 13. Спускают колонну ГТ 8 (см. фиг. 1) в колонну труб 3 и циркуляцией пластовой воды, например, вязкостью 1,6 МПа⋅с по колонне ГТ 8 и перу 10 через межколонное пространство 12 вымывают проппант 7 из колонны НКТ 3 в желобную емкость 13, т.е. от устья колонны труб 3 до опрессовочного седла 5 с расходом технологической жидкости 8 л/с=8⋅10-3 м3/с. В процессе спуска колонны ГТ 8 в колонну труб 3, например, со скоростью 1 м/с производят периодические расхаживания подъемом ГТ 8 на 2 м вверх через каждые 100-150 м (для проверки отсутствия прихвата колонны ГТ 8 проппантом 7 внутри колонны труб 3). Таким образом, циркуляцией пластовой воды полностью вымывают проппант 7 из колонны труб 3 (см. фиг. 2), что определяют визуально в желобной емкости 13 по отсутствию проппанта в поступающей в желобную емкость 13 пластовой воде. Далее реализуют второй этап. Доспускают колонну гибких труб 3 (см. фиг. 2) до забоя 14 скважины 1 и вымывают проппант 7 из призабойной зоны 9 скважины загущенной технологической жидкостью, в качестве которой используют 1,0% раствор крахмала в пластовой воде с вязкостью от 6 до 8 МПа⋅с, следующим образом. Опытным путем получено, что для получения загущенной технологической жидкости вязкостью 6-8,0 МПа⋅с необходимо смешать 1,0% крахмала по объему в 99% по объему пластовой воды с минерализацией 220 г/л. Данную загущенную технологическую жидкость готовят на базе, например, химического сервиса или на устье скважины 1 при наличии смесителя (на фиг. 1 и 2 не показан). Например, для приготовления 20 м3 загущенной технологической жидкости необходимо 19,8 м3 пластовой воды (99%) смешать с 0,2 м3 крахмала (1%). Емкость (на фиг. 1 и 2 не показана) с загущенной технологической жидкостью подсоединяют к насосному агрегату 11 (см. фиг. 2). Далее сначала доспуском колонны ГТ 8 на 2 м ниже опрессовочного седла 5 колонны труб 3 проверяют заход пера 10 в опрессовочное седло 5 колонны НКТ 3 со скоростью 2 м/мин (0,033 м/с) с промывкой загущенной технологической жидкостью (подачей насосным агрегатом 11 по колонне ГТ 8 и перу 10, через межколонное пространство 12 в желобную емкость 13). После чего приподнимают колонну ГТ 8 с пером 10 до интервала установки опрессовочного седла 5 колонны НКТ 3, не прекращая циркуляции, переходят на промывку колонны НКТ 3 загущенной технологической жидкостью. Циркулируют загущенную технологическую жидкость в течение 30 мин по ГТ 8, перу 10, через межколонное пространство 12 в желобную емкость 13 с целью вноса проппанта из подпакерной зоны скважины 1 ниже пакера 4, но выше нижнего конца колонны труб 3. Далее создают циркуляцию загущенной технологической жидкости при давлении закачки Ρ=18,0-20,0 МПа и расходе технологической жидкости 4,5 л/с=4,5⋅10-3 м3/с, производят спуск колонны ГТ 8 с пером 10 через опрессовочное седло 5 колонны НКТ 3 до забоя 14 скважины 1 со скоростью 0,25 м/с. Загущенная технологическая жидкость циркулирует по ГТ 8, перу 10, призабойной зоне скважины 9, межколонному пространству 12 и желобной емкости 13 с периодическим расхаживанием ГТ 8 в призабойной зоне скважины (например, подъемом колонны ГТ вверх на 1 м после спуска колонны ГТ вниз на 5 м), пока не закончит выходить проппант, что определяют визуально по отсутствию проппанта на выходе отработанной загущенной жидкости в желобную емкость 13. Повышается надежность реализации способа, так как использование загущенной технологической жидкости при промывке призабойной зоны пласта позволяет повысить несущую (выносящую) способность технологической жидкости при промывке проппанта и исключает прихват колонн ГТ в призабойной зоне скважины. Кроме того, применение вязкой технологической жидкости в способе снижает ее поглощение пластом и вероятность потери циркуляции технологической жидкости в скважине. Не прекращая циркуляцию загущенной технологической жидкости, поднимают колонну ГТ 8 с пером 10 в колонне труб 3 скважины 1 на глубину 100 м. Глубина 100 м исключает прихват колонны ГТ 8 в колонне труб 3 при наличии остаточного проппанта 7 или при условии, что проппант 7 продолжает выходить из закрепленной трещины 6 пласта 2. Производят паузу в течение 2 ч на технологический отстой с целью оседания твердых частиц (песка, шлама), поднятых с забоя вместе с проппантом 7. По окончании технологического отстоя доспуском колонны ГТ 8 с пером 10 нащупывают забой 14 скважины 1 с целью проверки качества промывки проппанта 7 из скважины 1 и сверяют его с забоем 14, который был до проведения ГРП. Например, забой 14 скважины 1 до проведения ГРП составлял 1675 м, а после вымыва проппанта 7, т.е. после реализации предлагаемого способа, забой 14 скважины 1 составил 1675 м. Это означает, что проппант 7 полностью вымыт из скважины 1. Повышается качество промывки проппанта из скважины вследствие того, что промывку проппанта осуществляют после каждого проведенного ГРП, а не после того, как проведут ГРП во всех пластах, как описано в прототипе. При этом после промывки производится контрольный спуск ГТ с определением текущего забоя скважины с целью определения качества промывки проппанта из скважины. После чего извлекают из скважины 1 колонну ГТ 8 с пером 10. При наличии нескольких пластов, подлежащих ГРП, колонну труб распакеровывают и переводят в другой интервал пласта скважины, после чего после опрессовки и проведения ГРП все вышеописанные операции по промывке проппанта повторяются. Упрощается технологический процесс вследствие реализации способа без привлечения струйного насоса и отдельно по каждому пласту, подлежащему ГРП. Предлагаемый способ промывки проппанта из колонны труб и призабойной зоны скважины после ГРП позволяет: - повысить надежность промывки проппанта из скважины; - повысить качество промывки проппанта с забоя скважины; - упростить процесс реализации способа.
