патент
№ RU 2656243
МПК H02G3/22

КОМПРЕССИОННЫЙ БЛОК КАБЕЛЬНОГО ВВОДА

Авторы:
Шустров Вячеслав Михайлович
Номер заявки
2017130536
Дата подачи заявки
29.08.2017
Опубликовано
04.06.2018
Страна
RU
Как управлять
интеллектуальной собственностью
Чертежи 
12
Реферат

Изобретение относится к области строительства и электротехники и может быть использовано для герметизации кабелей, труб, тросов и им подобных изделий, проходящих через любые разделительные стенки. Предлагается компрессионный блок кабельного ввода, содержащий клиновой механизм с передним и задним распорными клиньями, выполненными с возможностью перемещения друг к другу и друг от друга с помощью винтового привода, расположенные с двух сторон распорных клиньев рабочие клинья и устройства для соединения друг с другом смежных рабочих клиньев и распорных клиньев, обеспечивающие возможность перемещения рабочего клина относительно смежного распорного клина. Устройство включает в себя консольную гибкую полосу, одна кромка которой соединена с кромкой рабочего клина, обращенной к прилегающему к нему смежному распорному клину, а вторая свободная кромка этой консольной гибкой полосы закреплена на этом смежном распорном клине с использованием разъемного фиксирующего устройства. Изобретение позволяет устранить заклинивание клинового механизма. 18 з.п. ф-лы, 19 ил.

Формула изобретения

1. Компрессионный блок кабельного ввода, содержащий клиновой механизм с двумя перемещаемыми передним и задним распорными клиньями, расположенными оппозитно друг другу и выполненными с возможностью перемещения друг к другу и друг от друга с помощью винтового привода, соединяющего эти перемещаемые распорные клинья, рабочие клинья, расположенные оппозитно друг другу с двух сторон распорных клиньев и взаимодействующие своими наклонными поверхностями с наклонными поверхностями распорных клиньев, и устройства для соединения друг с другом смежных рабочих клиньев и распорных клиньев, обеспечивающие возможность перемещения рабочего клина относительно смежного распорного клина, отличающийся тем, что каждое устройство для соединения рабочего клина и смежного распорного клина включает в себя консольную гибкую полосу, одна кромка которой соединена с кромкой рабочего клина, обращенной к прилегающему к нему смежному распорному клину, а вторая свободная кромка этой консольной гибкой полосы закреплена на этом смежном распорном клине с использованием разъемного фиксирующего устройства.

2. Компрессионный блок по п. 1, отличающийся тем, что каждый рабочий клин оснащен двумя консольными гибкими полосами, присоединенными к кромкам этого рабочего клина с противоположных сторон этого рабочего клина с образованием монолитного элемента.

3. Компрессионный блок по п. 1, отличающийся тем, что задний распорный клин имеет меньшую толщину, чем передний распорный клин.

4. Компрессионный блок по п. 1, отличающийся тем, что разъемное фиксирующее устройство включает в себя выемку, выполненную в поверхности корпуса распорного клина для размещения в ней консольной гибкой полосы, сквозные отверстия в боковых стенках выемки, фиксирующий стержень, пропущенный через эти отверстия и взаимодействующий с гибкой консольной полосой.

5. Компрессионный блок по п. 4, отличающийся тем, что выемка имеет глубину, большую толщины консольной гибкой полосы, при этом свободная кромка гибкой консольной полосы оснащена удерживающим буртиком, взаимодействующим с фиксирующим стержнем.

6. Компрессионный блок по п. 4, отличающийся тем, что разъемное фиксирующее устройство выполнено в виде шарнирной петли, при этом одни элементы петли расположены на распорном клине, ответные элементы петли расположены на свободной кромке консольной гибкой полосы, а фиксирующий стержень является осью петли.

7. Компрессионный блок по п. 4, отличающийся тем, что каждый распорный клин оснащен двумя фиксирующими устройствами, расположенными с противоположных боковых сторон корпуса этого распорного клина, при этом фиксирующие стержни этих фиксирующих устройств соединены друг с другом перемычкой, образуя фиксирующую скобу.

8. Компрессионный блок по п. 7, отличающийся тем, что перемычки фиксирующих скоб утоплены в выемках, выполненных в боковых поверхностях распорных клиньев.

9. Компрессионный блок по п. 7, отличающийся тем, что перемычки фиксирующих скоб на переднем распорном клине выступают за пределы боковых поверхностей переднего распорного клина.

10. Компрессионный блок по п. 2, отличающийся тем, что в гибкой консольной полосе выполнена, по меньшей мере, одна прорезь, разделяющая ее на отдельные языки.

11. Компрессионный блок по п. 4, отличающийся тем, что выемка дополнительно оснащена перегородкой, расположенной в прорези гибкой консольной полосы, при этом в перегородке выполнены отверстия, в которые входит фиксирующий стержень.

12. Компрессионный блок по п. 1, отличающийся тем, что винтовой привод включает в себя рабочий винт с двумя резьбовыми участками с противоположной резьбой, первую резьбовую втулку, закрепленную в заднем распорном клине и взаимодействующую с одним резьбовым участком, и вторую резьбовую втулку, закрепленную в сквозном отверстии переднего распорного клина и взаимодействующую со вторым резьбовым участком, рабочий винт выступает за пределы компрессионного блока со стороны переднего рабочего клина, при этом выступающий хвостовик рабочего винта оснащен элементом для приведения рабочего винта во вращение.

13. Компрессионный блок по п. 12, отличающийся тем, что рабочие клинья выполнены с контактными площадками, размещенными оппозитно друг другу, ограничивающими поперечное перемещение рабочих клиньев в направлении толщины композиционного блока, при этом в контактных площадках рабочих клиньев выполнены продольные пазы, расположенные параллельно рабочему винту с двух сторон относительно рабочего винта, для размещения в них рабочего винта при смыкании контактных площадок.

14. Компрессионный блок по п. 11, отличающийся тем, что он оснащен одним винтовым приводом, размещенным вдоль центральной продольной оси компрессионного блока.

15. Компрессионный блок по п. 11, отличающийся тем, что он оснащен двумя винтовыми приводами, размещенными в продольной плоскости компрессионного блока симметрично относительно его центральной продольной оси.

16. Компрессионный блок по п. 15, отличающийся тем, что задний распорный клин разделен на отдельные части, при этом каждая из этих отдельных частей соединена со своим винтовым приводом и взаимодействует со своим языком гибкой консольной полосы.

17. Компрессионный блок по п. 15, отличающийся тем, что распорные и рабочие клинья выполнены из упругого эластичного материала.

18. Компрессионный блок по п. 17, отличающийся тем, что распорные и рабочие клинья выполнены из резины.

19. Компрессионный блок по п. 17, отличающийся тем, что распорные и рабочие клинья выполнены из упругих полимерных материалов.

Описание

[1]

ОБЛАСТЬ ТЕХНИКИ

[2]

Изобретение относится к области строительства и электротехники и могут быть использованы для, как правило, полной герметизации кабелей, труб, тросов и им подобных изделий, проходящих через стены, переборки отсеков и кабельных или иных каналов, стенки коммутационных шкафов.

[3]

Следует отметить, что под термином «кабельный ввод» здесь и далее следует понимать как эквиваленты любой вводимый, фиксируемый, уплотняемый и герметизируемый элемент: собственно, кабель, провод, труба, стержень, трос, шток и другие подобные конструктивные элементы. Это необходимо для того, чтобы избежать множественности искусственных формулировок типа «кабельно-проводо-трубчато-стержне-тросо-линейный и т.д. ввод» и любого их сочетания, поскольку изначально и преимущественно функциональным назначением подобного ввода является ввод кабельный, с поправкой на возможные его дополнения проводным, трубным и/или прочими элементами.

[4]

УРОВЕНЬ ТЕХНИКИ

[5]

Известны разнообразные конструкции кабельных вводов, использующие компрессионный блок для поджатия уплотнительных модулей. Основная проблема решаемая при проектировании и эксплуатации компрессионных блоков - обеспечение компоновки компрессионного блока как единого модуля, готового к использованию.

[6]

Известен компрессионный блок кабельного ввода, содержащий клиновой механизм с двумя распорными клиньями, выполненными с возможностью перемещения друг к другу и друг от друга с помощью винтового механизма, и один нажимной клин с двумя, расположенными симметрично рабочими поверхностями и одной нажимной поверхностью, при этом две рабочие поверхности сжимаемых клиньев расположены в одной плоскости, а две другие рабочие поверхности взаимодействуют (соответственно) с рабочими поверхностями нажимного клина. В этом компрессионном блоке формирование единого модуля обеспечивается тем, что нажимной клин клинового механизма со стороны рабочих поверхностей снабжен продольным пазом для размещения винта в разведенном состоянии сжимаемых клиньев, при этом стенки паза выполнены с возможностью упругого взаимодействия со стержнем винта (см. патент РФ на изобретение №2551891; МПК H02G 3/22, F16L 5/02; 10.06.2015).

[7]

Известен компрессионный блок кабельного ввода, содержащий клиновой механизм с двумя перемещаемыми распорными клиньями, расположенными оппозитно друг другу и выполненными с возможностью перемещения друг к другу и друг от друга с помощью винтового привода, соединяющего эти перемещаемые распорные клинья, и двумя поджимающими клиньями, расположенными с двух сторон распорных клиньев и взаимодействующими своими наклонными поверхностями с наклонными поверхностями распорных клиньев. и конструктивные элементы для соединения друг с другом поджимающих клиньев В этом компрессионном блоке формирование единого модуля обеспечивается тем, что нажимные клинья клинового механизма соединены друг с другом двумя упругими элементами, обеспечивающими их постоянное поджатие в распорным клиньям (см. опубликованную заявку Швеции SE 1550561 А1, МПК F16L 5/02 H02G 3/22; 2016-12-06). Использование упругих элементов существенно усложняет сборку компрессионного блока.

[8]

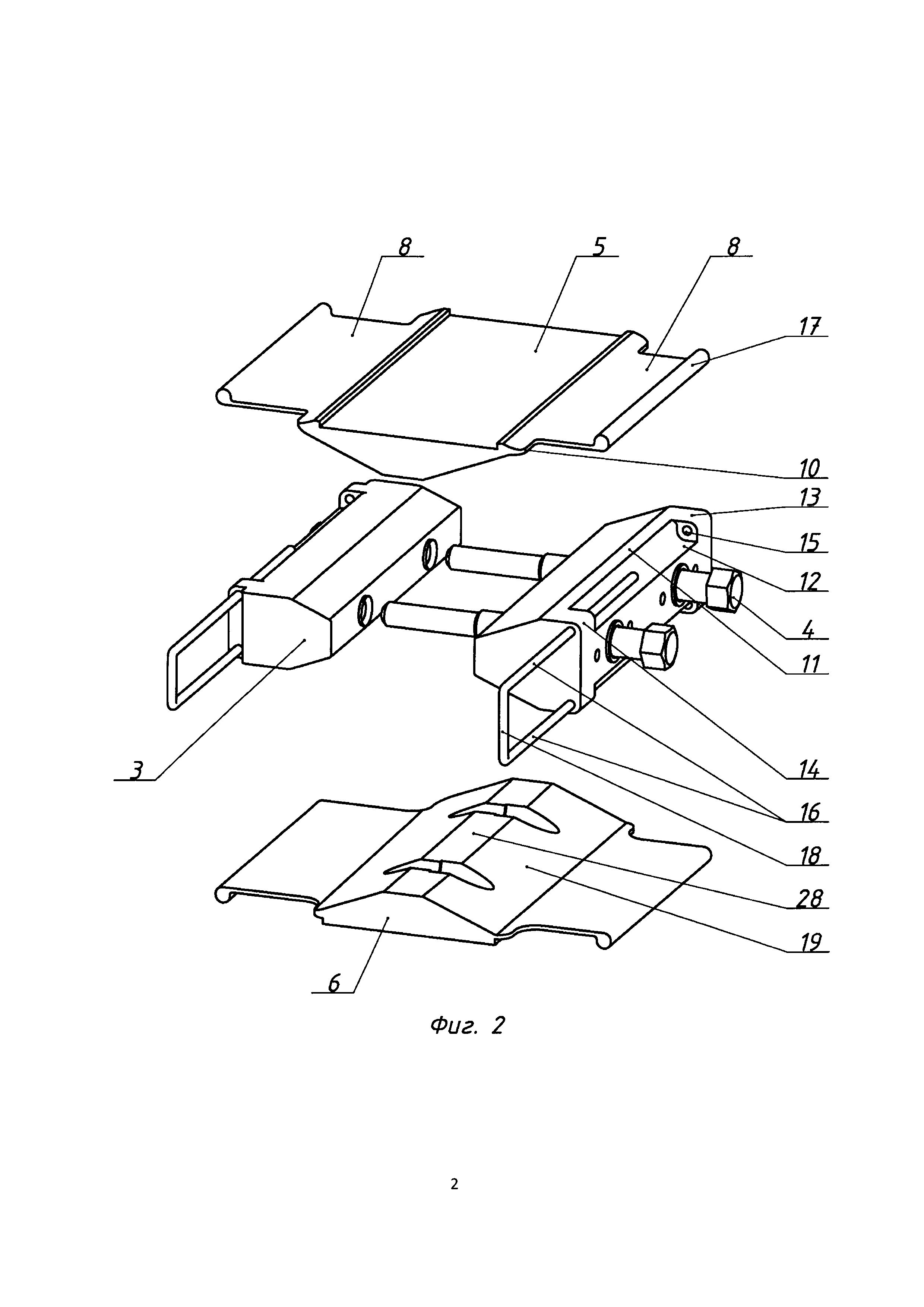
Наиболее близким аналогом заявленного компрессионного блока является компрессионный блок, описанный в патенте РФ №2137009; МПК F16L 5/02; 10.09.1999. Компрессионный блок содержит клиновой механизм, включающий в себя два перемещаемых распорных клина, расположенные оппозитно друг другу и выполненные с возможностью перемещения друг к другу и друг от друга с помощью винтового привода, соединяющего эти перемещаемые распорные клинья, поджимающие клинья, расположенные с двух сторон распорных клиньев и взаимодействующие своими наклонными поверхностями с наклонными поверхностями распорных клиньев, и конструктивные элементы для соединения друг с другом смежных поджимающих клиньев и распорных клиньев, обеспечивающие возможность перемещения поджимающего клина относительно смежного распорного клина, В этом компрессионном блоке формирование единого модуля обеспечивается тем, что распорные и поджимающие клинья удерживаются совместно посредством гибкой полосы, соединяющей все клинья с образованием неразъемной конструкции с замкнутым контуром. Такая конструкция обеспечивает в собранном состоянии надежный единый модуль, но исключает возможность разборки собранного модуля для замены поврежденных элементов и усложняет эксплуатацию кабельного ввода, так как при монтаже компрессионного блока необходимо приклеивание свободного конца гибкой полосы к концевому распорному клину.

[9]

СУЩНОСТЬ ИЗОБРЕТЕНИЯ

[10]

Техническая проблема, решаемая заявленным изобретением, заключается в создании нового компрессионного блока кабельного ввода с улучшенными эксплуатационными характеристиками, который обеспечит предельную простоту конструкции, минимальные габаритные размеры в исходном состоянии, увеличенный рабочий ход нажимного клина, эксплуатационную надежность и возможность многократного монтажа-демонтажа с максимально возможной для винтового соединения скоростью.

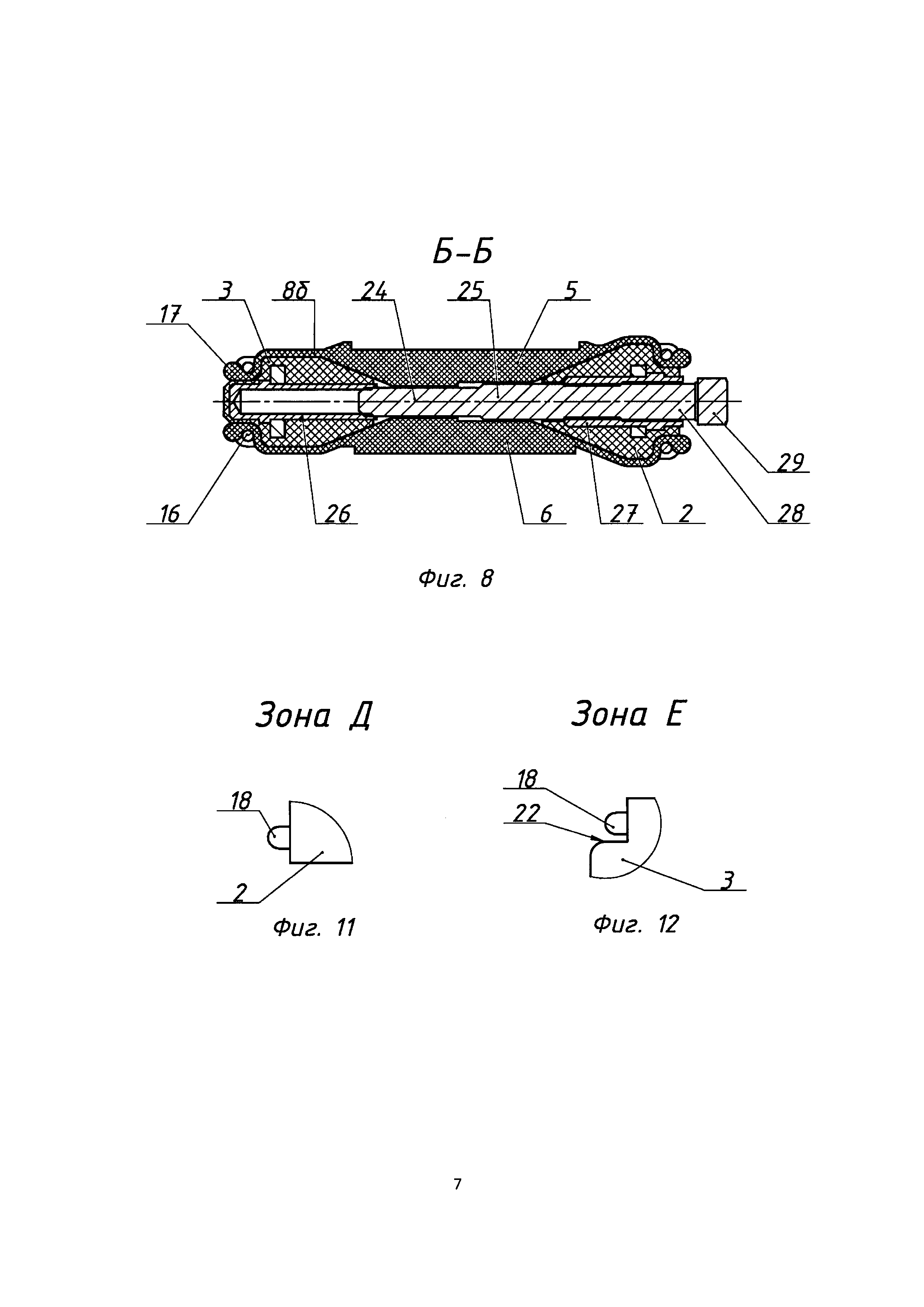
[11]

Для решения поставленной задачи и достижения заявленного технического результата предлагается компрессионный блок кабельного ввода, содержащий клиновой механизм с двумя перемещаемыми передним и задним распорными клиньями, расположенными оппозитно друг другу и выполненными с возможностью перемещения друг к другу и друг от друга с помощью винтового привода, соединяющего эти перемещаемые распорные клинья, рабочие клинья, расположенные оппозитно друг другу с двух сторон распорных клиньев и взаимодействующие своими наклонными поверхностями с наклонными поверхностями распорных клиньев, и устройства для соединения друг с другом смежных рабочих клиньев и распорных клиньев, обеспечивающие возможность перемещения рабочего клина относительно смежного распорного клина, в котором каждое устройство для соединения рабочего клина и смежного распорного клина включает в себя консольную гибкую полосу, одна кромка которой соединена с кромкой рабочего клина, обращенной к прилегающему к нему смежному распорному клину, а вторая свободная кромка этой консольной гибкой полосы закреплена на этом смежном распорном клине с использованием разъемного фиксирующего устройства.

[12]

При этом, в предлагаемом компрессионном блоке каждый рабочий клин оснащен двумя консольными гибкими полосами, присоединенными к кромкам этого рабочего клина с противоположных сторон этого рабочего клина с образованием монолитного элемента.

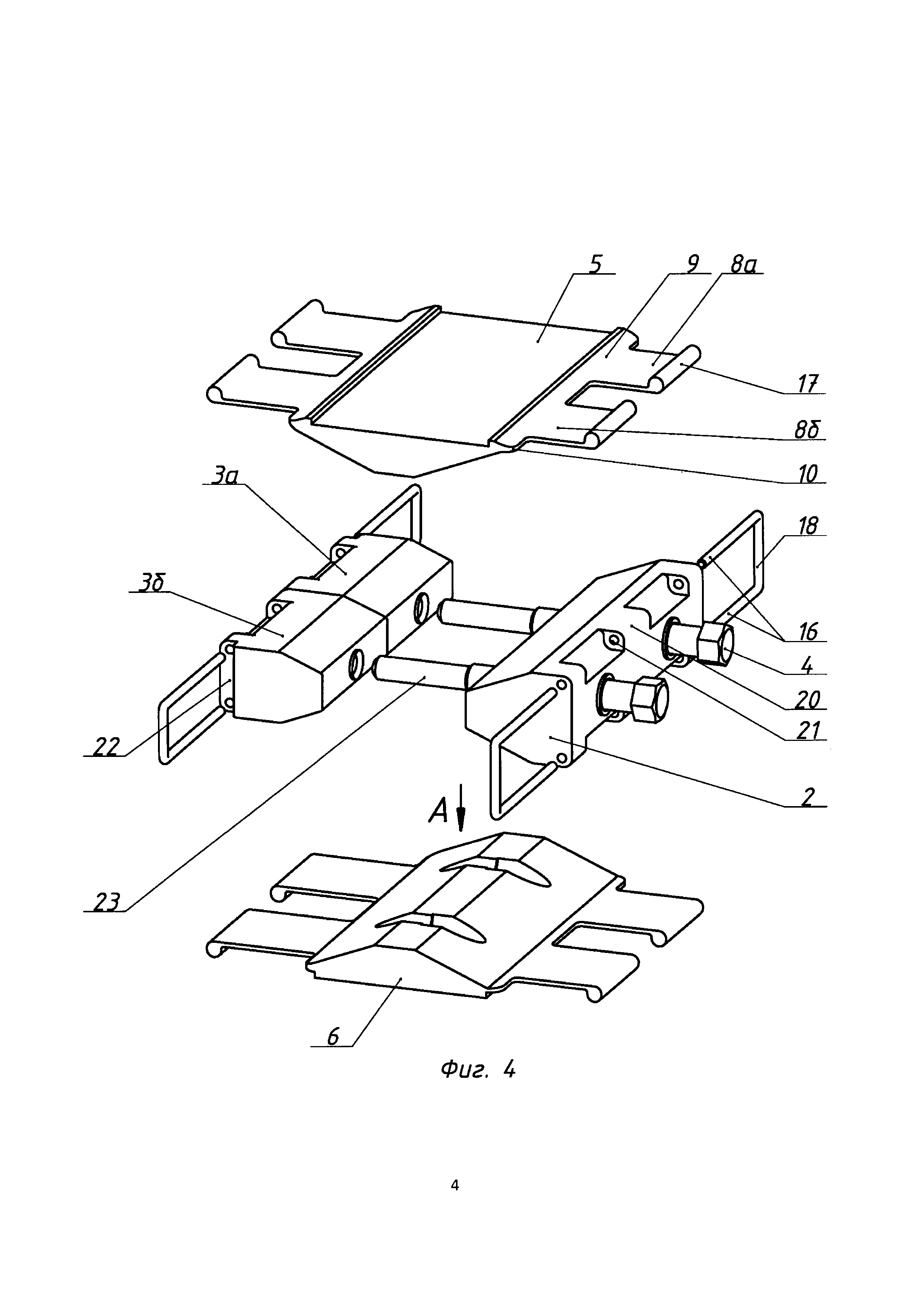
[13]

При этом, в предлагаемом компрессионном блоке задний распорный клин имеет меньшую толщину, чем передний распорный клин.

[14]

Кроме того, в предлагаемом компрессионном блоке разъемное фиксирующее устройство включает в себя выемку, выполненную в поверхности корпуса распорного клина для размещения в ней консольной гибкой полосы, сквозные отверстия в боковых стенках выемки, фиксирующий стержень, пропущенный через эти отверстия и взаимодействующий с гибкой консольной полосой.

[15]

Кроме того, в предлагаемом компрессионном блоке выемка имеет глубину, большую толщины консольной гибкой полосы, при этом свободная кромка гибкой консольной полосы оснащена удерживающим буртиком, взаимодействующим с фиксирующим стержнем.

[16]

При этом, в предлагаемом компрессионном блоке разъемное фиксирующее устройство может быть выполнено в виде шарнирной петли, при этом одни элементы петли расположены на распорном клине, ответные элементы петли расположены на свободной кромке консольной гибкой полосы, а фиксирующий стержень является осью петли.

[17]

Кроме того, в предлагаемом компрессионном блоке каждый распорный клин может быть оснащен двумя фиксирующими устройствами, расположенными с противоположных боковых сторон корпуса этого распорного клина при этом фиксирующие стержни этих фиксирующих устройств соединены друг с другом перемычкой, образуя фиксирующую скобу.

[18]

При этом, в предлагаемом компрессионном блоке перемычки фиксирующих скоб могут быть утоплены в выемках, выполненных в боковых поверхностях распорных клиньев.

[19]

Кроме того, в предлагаемом компрессионном блоке перемычки фиксирующих скоб на переднем распорном клине могут выступать за пределы боковых поверхностей переднего распорного клина.

[20]

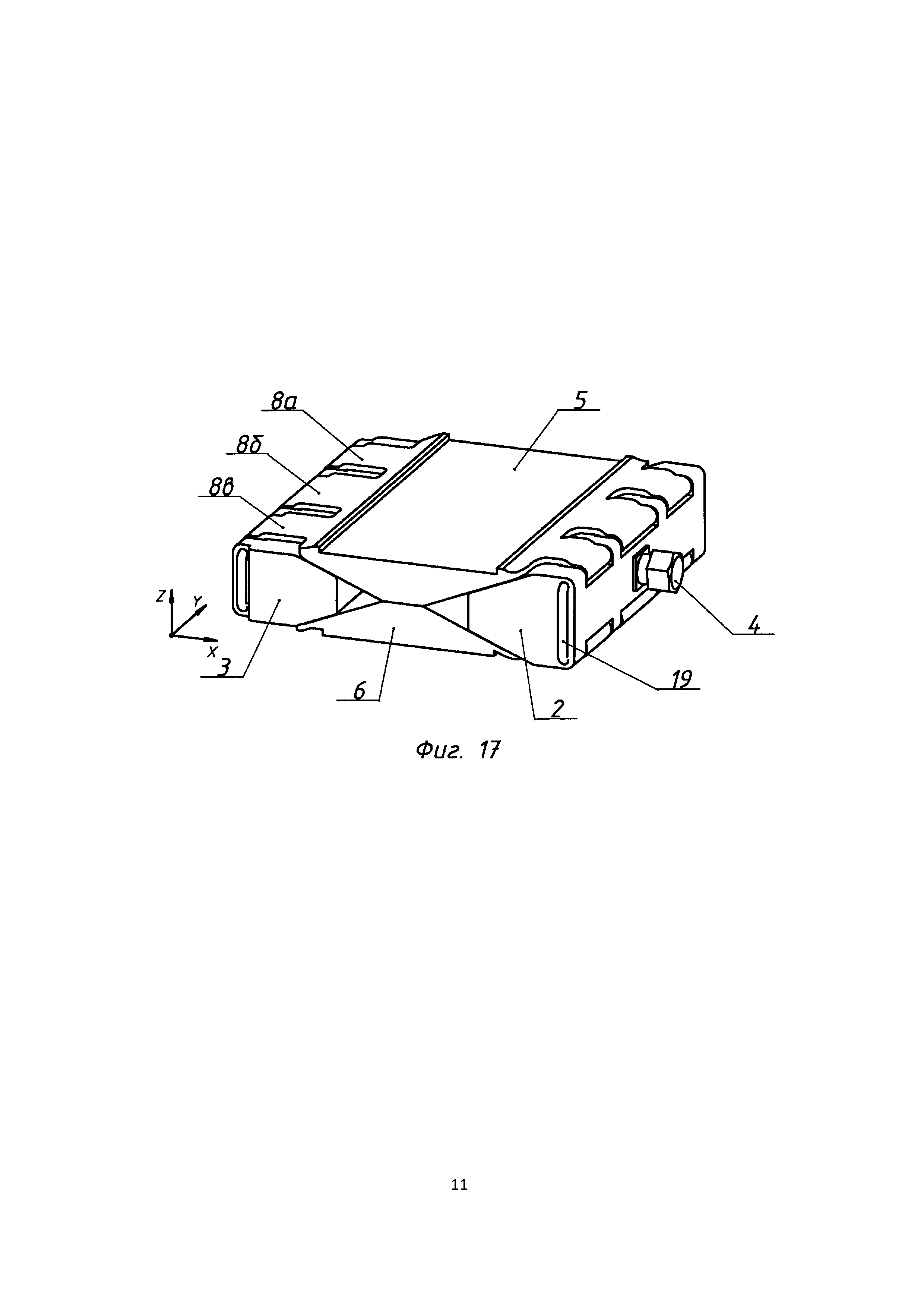
Кроме того, в предлагаемом компрессионном блоке в гибкой консольной полосе может быть выполнена, по меньшей мере, одна прорезь, разделяющая ее на отдельные языки.

[21]

Кроме того, в предлагаемом компрессионном блоке паз может быть дополнительно оснащен, перегородкой, расположенной в прорези, при этом в перегородке выполнены отверстия, в которые входит фиксирующий стержень.

[22]

Предпочтительно, в предлагаемом компрессионном блоке винтовой привод включает в себя, рабочий винт с двумя резьбовыми участками с противоположной резьбой, первую резьбовую втулку, закрепленную в заднем распорном клине и взаимодействующую с одним резьбовым участком, и вторую резьбовую втулку, закрепленную в сквозном отверстии переднего распорного клина и взаимодействующую со вторым резьбовым участком, рабочий винт выступает за пределы компрессионного блока со стороны переднего рабочего клина, при этом выступающий хвостовик рабочего винта оснащен элементом для приведения рабочего винта во вращение.

[23]

Кроме того, в предлагаемом компрессионном блоке рабочие клинья могут быть выполнены с контактными площадками, размещенными оппозитно друг другу, ограничивающими поперечное перемещение рабочих клиньев в направлении толщины композиционного блока, при этом в контактных площадках рабочих клиньев выполнены продольные пазы, расположенные параллельно рабочему винту с двух сторон относительно рабочего винта для размещения в них рабочего винта при смыкании контактных площадок.

[24]

Кроме того, предлагаемый компрессионный блок может быть оснащен одним винтовым приводом, размещенным вдоль центральной продольной оси компрессионного блока, либо предлагаемый компрессионный блок может быть оснащен двумя винтовыми приводами, размещенными в продольной плоскости компрессионного блока симметрично относительно его центральной продольной оси.

[25]

Кроме того, в предлагаемом компрессионном блоке задний распорный клин может быть разделен на отдельные части, при этом каждая из этих отдельных частей соединена со своим винтовым приводом и взаимодействует со своим языком гибкой консольной полосы.

[26]

В предлагаемом компрессионном блоке распорные и рабочие клинья могут быть выполнены из упругого эластичного материала, при этом могут быть использованы резины или упругие полимерные материалы.

[27]

Технический результат, достигаемый при использовании изобретения, заключается в том, что основные элементы компрессионного блока: передний распорный клин, задний распорный клин и рабочие клинья могут изготавливаться независимо друг от друга и комплектация компрессионного блока может быть осуществлена непосредственно на месте установки компрессионного блока в соответствии с конкретными обстоятельствами, при этом оснащение кромки рабочего клина консольной гибкой полосой, входящей в состав устройства для соединения друг с другом смежных рабочего и распорного клиньев, упрощает сборку компрессионного блока непосредственно на месте монтажа компрессионного блока как единого модуля для монтажа компрессионного блока в проеме кабельного ввода, так как имеется возможность зафиксировать свободную кромку консольной гибкой полосы на смежном распорном клине с помощью разъемного фиксирующего соединения. В собранном состоянии размеры компрессионного блока подгоняются под условия монтажа с помощью винтового привода, перемещающего распорные клинья и, соответственно, перемещаются рабочие клинья.

[28]

Оснащение каждого рабочего клина двумя консольными гибкими полосами, присоединенными к кромкам этого рабочего клина с противоположных сторон этого рабочего клина с образованием монолитного элемента упрощает сборку клиньев в единый модуль.

[29]

Выполнение заднего распорного клина меньшей толщины, чем передний распорный клин, облегчает установку компрессионного блока в монтажный проем кабельного ввода.

[30]

Предлагаемая конструкция разъемного фиксирующего устройства дает возможность разместить все элементы устройства в выемке на распорном клине в пределах габаритов компрессионного блока и надежно зафиксировать свободную кромку консольной гибкой полосы в выемке на распорном клине при сборке единого модуля компрессионного блока.

[31]

Объединение двух фиксирующих стержней в скобу упрощает сборку и обслуживание компрессионного блока при монтаже его в кабельном вводе.

[32]

Разделение консольной гибкой полосы на отдельные языки дает упрощает монтаж компрессионного блока при большой ширине проема кабельного ввода. При этом наличие в выемке перегородки упрощает сборку компрессионного блока.

[33]

Предлагаемая конструкция винтового привода облегчает сборку компрессионного блока в единый модуль и упрощает регулирование размеров компрессионного блока при монтаже его в проеме кабельного ввода.

[34]

Наличие на рабочих клиньях контактных площадок упрощает контроль за монтажом компрессионного блока в проеме кабельного ввода, при этом выполнение в контактных площадках рабочих клиньев продольных пазов под рабочий винт привода дает возможность выполнить компрессионный блок с большим диапазоном регулирования толщины компрессионного блока, что упрощает его монтаж в проеме кабельного ввода и увеличивает в проеме кабельного ввода зону для монтажа непосредственно кабелей.

[35]

Предлагаемая конструкция компрессионного блока дает возможность изменять количество винтовых приводов в зависимости от размеров проема кабельного ввода. При этом разделение заднего распорного клина на отдельные части при наличии самостоятельного винтового привода для перемещения каждой этой части упрощает монтаж компрессионного блока в проеме кабельного ввода и позволяет устранить перекосы клиньев при монтаже компрессионного блока в проеме кабельного ввода, и заклинивание механизма, что характерно для компрессионных блоков других производителей, применяющих для устранения этого эффекта специальный уникальный инструмент. Например, такой инструмент используется в компрессионных блоках компании Рокстек.

[36]

Выполнение распорных и рабочих клиньев из упругого эластичного материала, например, из резины или из упругих полимерных материалов обеспечивает необходимую податливость рабочих и распорных клиньев при сборке и монтаже, а также обеспечивает удержание фиксирующих стержней в отверстиях стенок и перегородок и в петле.

[37]

КРАТКОЕ ОПИСАНИЕ ЧЕРТЕЖЕЙ

[38]

Изобретение поясняется чертежами. Чертежи представлены в объеме, достаточном для понимания изобретения специалистами, и ни в какой мере не ограничивают объема изобретения. На чертежах одинаковые элементы обозначены одинаковыми позициями.

[39]

На фиг. 1 показано объемное изображение общего вида компрессионного блока кабельного ввода в собранном виде в соответствии с первым примером осуществления изобретения;

[40]

на фиг. 2 показано в расстыкованном состоянии взаимное расположение основных элементов кабельного блока в соответствии с первым примером осуществления изобретения;

[41]

на фиг. 3 показано объемное изображение компрессионного блока в собранном виде в соответствии со вторым примером осуществления изобретения;

[42]

на фиг. 4 показано в расстыкованном состоянии взаимное расположение основных элементов кабельного блока в соответствии со вторым примером осуществления изобретения;

[43]

на фиг 5 показан вид спереди компрессионного блока в соответствии со вторым примером осуществления изобретения;

[44]

на фиг. 6 показан вид сверху компрессионного блока в соответствии со вторым примером осуществления изобретения;

[45]

на фиг. 7 показан вид по стрелке А на фиг. 4 на нижний рабочий клин;

[46]

на фиг. 8 показано сечение Б-Б на фиг. 5;

[47]

на фиг. 9 показано сечение В-В на фиг. 6;

[48]

на фиг. 10 показано сечение Г-Г на фиг. 6;

[49]

на фиг. 11 показана в увеличенном масштабе зона Д на фиг. 6;

[50]

на фиг. 12 показана в увеличенном масштабе зона Е на фиг. 6;

[51]

на фиг. 13 показано сечение И-И на фиг. 7;

[52]

на фиг. 14А-14Е показаны возможные исполнения зоны К на фиг. 13;

[53]

на фиг. 15 и 16 показаны объемные изображения компрессионного блока в соответствии с третьим примером осуществления изобретения;

[54]

на фиг. 17 и 18 показаны объемные изображения компрессионного блока в соответствии с четвертым примером осуществления изобретения.

[55]

ОПИСАНИЕ ПРИМЕРОВ ОСУЩЕСТВЛЕНИЯ ИЗОБРЕТЕНИЯ

[56]

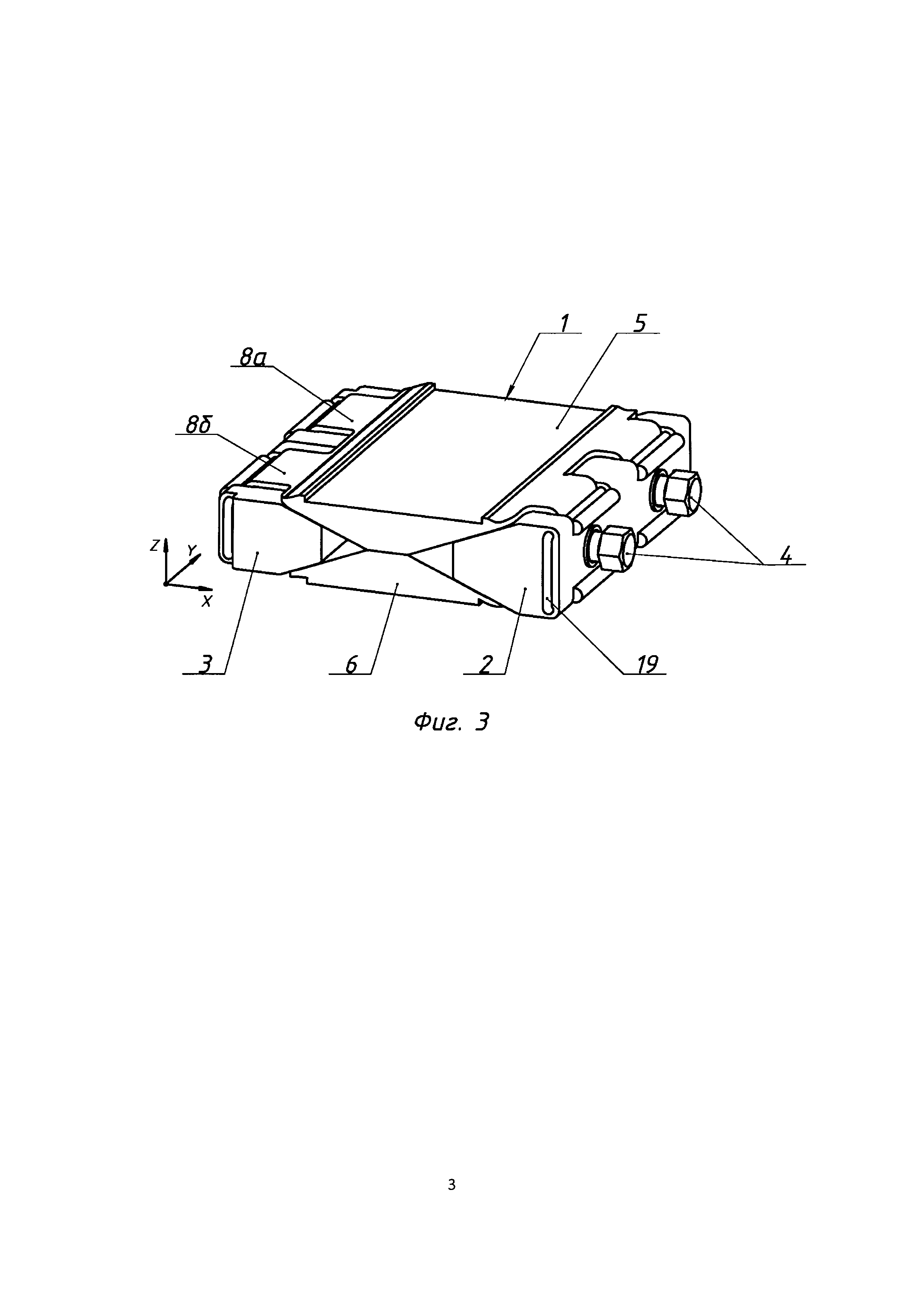
Как показано на фиг. 1, в общем случае компрессионный блок 1 кабельного ввода содержит клиновой механизм, включающий в себя: два перемещаемых распорных клина 2 и 3, расположенных оппозитно друг другу и выполненных с возможностью перемещения друг к другу и друг от друга с помощью винтового привода 4, соединяющего эти перемещаемые распорные клинья; два рабочих клина 5 и 6, расположенные с двух сторон относительно распорных клиньев 2 и 3; и устройства 7, соединяющие попарно друг с другом смежные рабочие и распорные клинья.

[57]

Далее в описании компрессионного блока использованы следующие понятия. Передний распорный клин - распорный клин 2, выходящий на лицевую поверхность компрессионного блока 1, из которого выступают винтовые приводы 4. Фактически лицевая поверхность переднего распорного клина 2 является лицевой поверхностью компрессионного блока 1. Задний распорный клин - распорный клин 3, расположенный оппозитно распорному клину 2. Фактически, внешняя поверхность заднего распорного клина 3, расположенная на противоположной стороне компрессионного блока относительно лицевой поверхности переднего распорного клина 2, является задней поверхностью компрессионного блока 1 Ось X на фиг. 1 указывает продольное направление для компрессионного блока 1 - направление от лицевой поверхности переднего распорного клина 2 к внешней поверхности заднего распорного клина 3, перпендикулярное этим поверхностям. Ось Y на фиг. 1 указывает поперечное направление для компрессионного блока 1 - направление вдоль ширины компрессионного блока 1. Ось Z на фиг. 1 указывает направление по толщине компрессионного блока 1, перпендикулярное плоскости X-Y. Следует понимать, что используемые далее в описании термины «верхний», «нижний», «правый» и «левый» соответствуют изображению компрессионного блока на рисунках, прилагаемых к заявке, характеризуют компрессионный блок как изделие и не должны трактоваться, как характеризующие ориентацию элементов блока на практике.

[58]

Как показано на фиг. 1 и 2 компрессионный блок содержит четыре устройства 7 для соединения между собой распорного и рабочего клиньев. Каждое устройство 7 включает в себя консольную гибкую полосу 8, соединяющую два смежных клина, например, передний распорный клин 2 и рабочий клин 5, и разъемное фиксирующее устройство 9, удерживающее консольную гибкую полосу 8 на соответствующем распорном клине, например на переднем распорном клине 2.

[59]

Каждый рабочий клин оснащен двумя консольными гибкими полосами 8, присоединенными к кромкам этого рабочего клина с противоположных сторон этого рабочего клина с образованием монолитного элемента. Задний распорный клин 3 имеет меньшую толщину, чем передний распорный клин 2

[60]

Кромка 9 консольной гибкой полосы 8 соединена с кромкой 10 рабочего клина 5, обращенной к прилегающему к нему смежному распорному клину 2, при этом консольная гибкая полоса 8 расположена над внешней поверхностью 11 корпуса этого смежного распорного клина 2 и закреплена на нем с использованием разъемного фиксирующего устройства.

[61]

Разъемное фиксирующее устройство включает в себя выемку 12, выполненную в поверхности 11 корпуса распорного клина 2 со стороны, противоположной клиновой поверхности распорного клина 3 под консольной гибкой полосой 8 для размещения в нем этой консольной гибкой полосы. Выемка 12 имеет глубину, большую толщины консольной гибкой полосы 8. В боковых стенках 13 и 14 выемки выполнены отверстия 15, расположенные выше гибкой консольной полосы 8, через которые пропущен фиксирующий стержень 16, проходящий над гибкой консольной полосой, при этом свободный конец гибкой консольной полосы 8 оснащен удерживающим буртиком 17, взаимодействующим с фиксирующим стержнем 16.

[62]

Аналогичным образом устроены остальные три фиксирующих устройства, соединяющие между собой распорный клин 3 и рабочий клин 5, распорный клин 3 и рабочий клин 6, распорный клин 2 и рабочий клин 6.

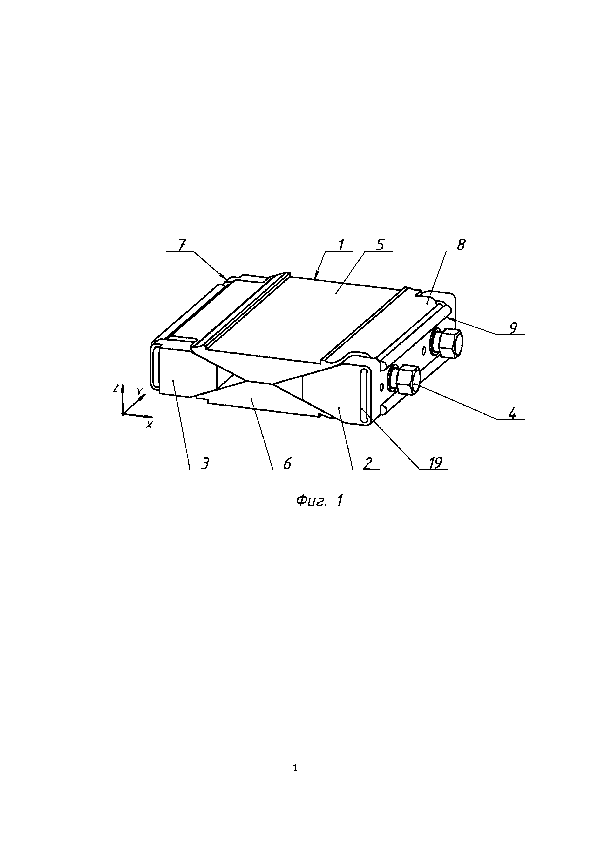
[63]

Для удобства работы с компрессионным блоком два фиксирующих стержня 16 верхнего и нижнего фиксирующих устройств 7 переднего распорного клина 2 и заднего распорного клина 2 соединены между собой перемычкой 18, образуя фиксирующую скобу 19.

[64]

При сборке блока, используя винтовой привод 4, соединяют между собой передний распорный клин 2 и задний распорный клин 3 и приближают их друг к другу на достаточное расстояние, чтобы присоединить рабочие клинья 5 и 6. Гибкие консольные полосы 8 помещают в выемки 12 и вставляют фиксирующие стержни 16 фиксирующей скобы 18 в отверстия 15 в стенке 14 выемки и перемещают их над поверхностью гибкой консольной полосы 8 до противоположной стенки 13 выемки и вставляют в отверстия 15 стенки 13 выемки, фиксируя гибкую консольную полосу 8 на распорном клине 2. Аналогично присоединяют гибкие консольные полосы 8 к распорному клину 3, формируя единый модуль компрессионного блока, который монтируют в проеме кабельного ввода. Единый модуль компрессионного блока можно сформировать, используя не только фиксирующие скобы 19, но и отдельные фиксирующие стержни 16.

[65]

Далее со ссылкой на фиг. 3-14, на которых показан второй пример осуществления изобретения, будут подробно описаны основные элементы компрессионного блока 1. При описании второго варианта осуществления изобретения будет опущено подробное описание элементов компрессионного блока по первому примеру осуществления изобретения.

[66]

Компрессионный блок 1 содержит передний распорный клин 2 и задний распорный клин 3, два рабочих клина 5 и 6, два винтовых привода 4, соединяющие распорные клинья 2 и 3, и устройства 7 для попарного соединения между собой двух смежных распорного и рабочего клиньев.

[67]

В отличие от первого примера осуществления изобретения устройство 7 для попарного соединения смежных клиньев, например, перемещаемого распорного клина 3 и рабочего клина 5 включает в себя консольную гибкую полосу, разделенную на два языка 8а и 8б, кромки 9 языков 8а и 8б консольной гибкой полосы соединены с кромкой 10 рабочего клина 5, при этом языки 8а и 8б расположены над внешней поверхностью 11 корпуса смежного распорного клина 3. и закреплены на нем с использованием разъемного фиксирующего устройства.

[68]

В рассматриваемом примере осуществления разъемное фиксирующее устройство включает в себя выемки 12а и 12б, разделенные перегородкой 20. Выемки 12а и 12б выполнены в поверхности 11 корпуса распорного клина 3 со стороны, противоположной клиновой поверхности распорного клина 3, под каждым из языков 8а и 8б консольной гибкой полосы 8 для размещения в них языков 8а и 8б. Выемки 12а и 12б имеют глубину большую толщины консольной гибкой полосы. В боковых стенках 13 и 14 выемок выполнены отверстия 15, а в перегородке 20 выполнено отверстие 21. Отверстия 15 и 21 расположены выше языков 8а и 8б и в них с двух сторон введены фиксирующие стержни 16, проходящие над языками 8а и 8б гибкой консольной полосы, при этом свободные концы языков 8а и 8б гибкой консольной полосы оснащены удерживающими буртиками 17, взаимодействующими с фиксирующими стержнями 16.

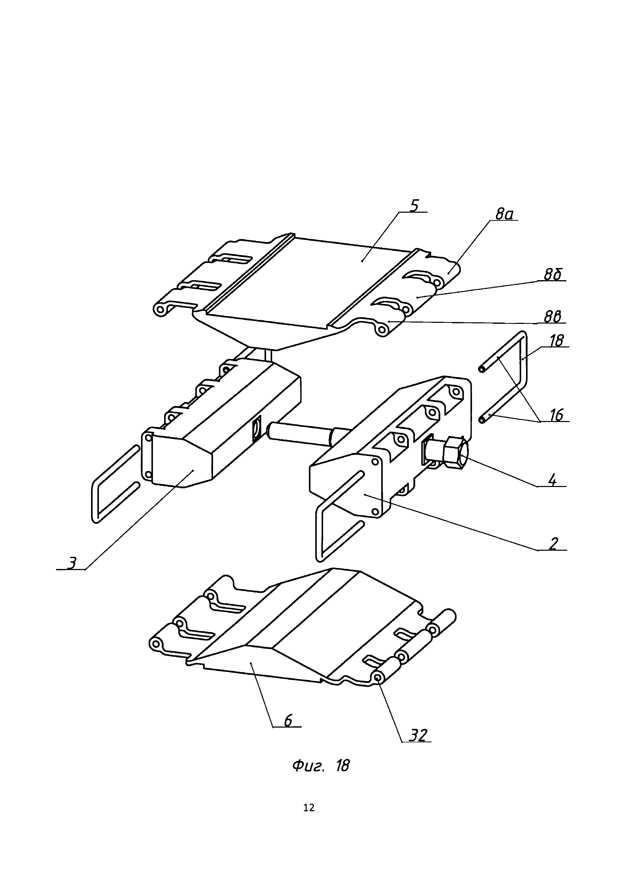
[69]

В данном примере осуществления изобретения каждый распорный клин оснащен фиксирующими устройствами, расположенными с противоположных боковых сторон корпуса этого распорного клина, при этом фиксирующие стержни 16 этих фиксирующих устройств соединены друг с другом перемычкой 18, образуя фиксирующую скобу 19. Таким образом, в данном примере осуществления каждый распорный клин 2 и 3 оснащен двумя фиксирующими скобами 19.

[70]

В данном примере осуществления изобретения предложены два варианта размещения фиксирующих скоб 19 на распорных клиньях 2 и 3. В первом варианте, реализованном на заднем распорном клине 3, на боковой поверхности заднего распорного клина 3 выполнены выемки 22, расположенные в зоне, прилегающей к внешней поверхности распорного клина 3 (задняя поверхность компрессионного блока 1). Фиксирующие скобы 19 фиксирующих устройств 9 заднего распорного клина 3 расположены в этих выемках так, что их перемычки 18 не выступают над боковой поверхностью заднего распорного клина 3, что упрощает монтаж компрессионного блока в проеме кабельного ввода. Во втором варианте, реализованном на переднем распорном клине 2, перемычки 18 фиксирующих скоб 19 выступают над боковой поверхностью переднего распорного клина 2 и могут служить базой при ориентации компрессионного блока 1 в проеме кабельного ввода, например выступающие перемычки 18 могут использоваться, чтобы координировать компрессионный блок 1 относительно передней поверхности проема кабельного ввода. Следует понимать, что выемка 22 может быть выполнена на любом из распорных клиньев 2 или 3, или оба клина 2 и 3 иогут быть выполнены без выемок 22.

[71]

Винтовой привод 4 содержит ходовой винт 23 с двумя резьбовыми участками 24 и 25 с противоположной резьбой, первую резьбовую втулку 26, закрепленную в заднем распорном клине 3 и взаимодействующую с одним резьбовым участком, например, с участком 24, и вторую резьбовую втулку 27, закрепленную в сквозном отверстии переднего распорного клина 2 и взаимодействующую со вторым резьбовым участком, например, с участком 25. Ходовой винт 23 выступает за пределы компрессионного блока 1 со стороны переднего рабочего клина 2, при этом выступающий хвостовик 28 рабочего винта оснащен элементом 29 для приведения ходового винта во вращение. В рассматриваемом примере осуществления изобретения первый резьбовой участок выполнен с меньшим диаметром резьбы чем второй резьбовой участок, что упрощает сборку компрессионного блока, так как ходовой винт 23 можно пропустить через отверстие во второй резьбовой втулке 27 с лицевой поверхности переднего распорного клина. В рассматриваемом примере осуществления изобретения первая резьбовая втулка 26 выполнена с глухим резьбовым отверстием, но это не исключает выполнение первой резьбовой втулки 26 со сквозным резьбовым отверстием. Первая и вторая резьбовые втулки закрепляются в переднем и заднем распорных клиньях любым известным способом: вклеивание, совместное формование втулки и соответствующего распорного клина, фиксация штифтом и т.п. В качестве элемента для приведения ходового винта во вращение можно использовать любое известное решение: шестигранная головка, как на приложенных фигурах, головка с прорезью, как на обычных винтах, прорезь на торце ходового винта, фигурная гайка, вороток, рукоятка, маховичок и пр.

[72]

Винтовой привод 4 обеспечивает пространственную жесткость механизма. Фактически металлический ходовой винт 23, являясь жесткой и прочной осью, совершает относительное движение в двух направляющих продольных пазах 31, и распорные клинья 2 и 3, обладая этими направляющими, вынуждены совершать поступательное движение без перекосов и заклиниваний - при условии достаточной прочности и жесткости материала клиньев 2 и 3 и/или их соответствующего армирования металлом, если для их изготовления применялся не металл, а полимеры с недостаточными прочностными характеристиками. Это позволило увеличить физический угол клина и, соответственно, увеличить рабочий ход рабочих клиньев 5 и 6. Однако главным достижением такой конструкции является невозможность относительной фиксации смежных поверхностей клиньев при разборке кабельных вводов - т.н. заклинивания механизма.

[73]

Компрессионный блок 1 может быть оснащен одним винтовым приводом, размещенным вдоль центральной продольной оси компрессионного блока или нескольким битовыми приводами, например, двумя винтовыми приводами, размещенными в продольной плоскости компрессионного блока симметрично относительно его центральной продольной оси.

[74]

Целесообразно задний распорный клин 3 разделить на отдельные части, например на две отдельные части 3а и 3б, как показано на фиг. 2 и 4 при этом каждая из этих двух отдельных частей соединена со своим винтовым приводом. При наличии перемычки 20 плоскость раздела заднего распорного клина 3 разделяет на две части и перемычку 20 так, что каждая из частей 3а и 3б взаимодействует со своим языком 8а или 8б гибкой консольной полосы 8.

[75]

Рабочие клинья 5 и 6 выполнены с контактными площадками 30, размещенными оппозитно друг другу, ограничивающими поперечное перемещение рабочих клиньев в направлении толщины композиционного блока, при этом в контактных площадках рабочих клиньев выполнены продольные пазы 31, расположенные параллельно ходовому винту 4 с двух сторон относительно ходового винта для размещения в них ходового винта при смыкании контактных площадок. Стенки продольного паза 31 выполнены с возможностью упругого взаимодействия с ходовым винтом 23 - с его резьбовыми участками 24 и 25.

[76]

Кроме описанного выше фиксирующего устройства с удерживающим буртиком, взаимодействующим с фиксирующим стержнем можно использовать фиксирующее устройство в виде шарнирной петли. На фиг. 14А-14Е показаны варианты исполнения свободной концевой кромки гибкой консольной пластины 8. На свободной концевой кромке можно выполнить ограничивающий буртик 17, выступающий над внешней поверхностью языка гибкой консольной пластины 8 (фиг. 14А), симметричный относительно языка гибкой консольной пластины 8 (фиг. 14Б), выступающий над нижней поверхностью гибкой консольной полосы 8 (фиг. 14В). При использовании в компрессионном блоке фиксирующего в виде шарнирной петли в удерживающем буртике 8 выполняется продольное отверстие 32 (см. фиг. 14Г-14Е), в которое вставляется фиксирующий стержень 16, являющийся осью шарнирной петли.

[77]

На фиг. 15 и 16 представлен третий пример осуществления изобретения.

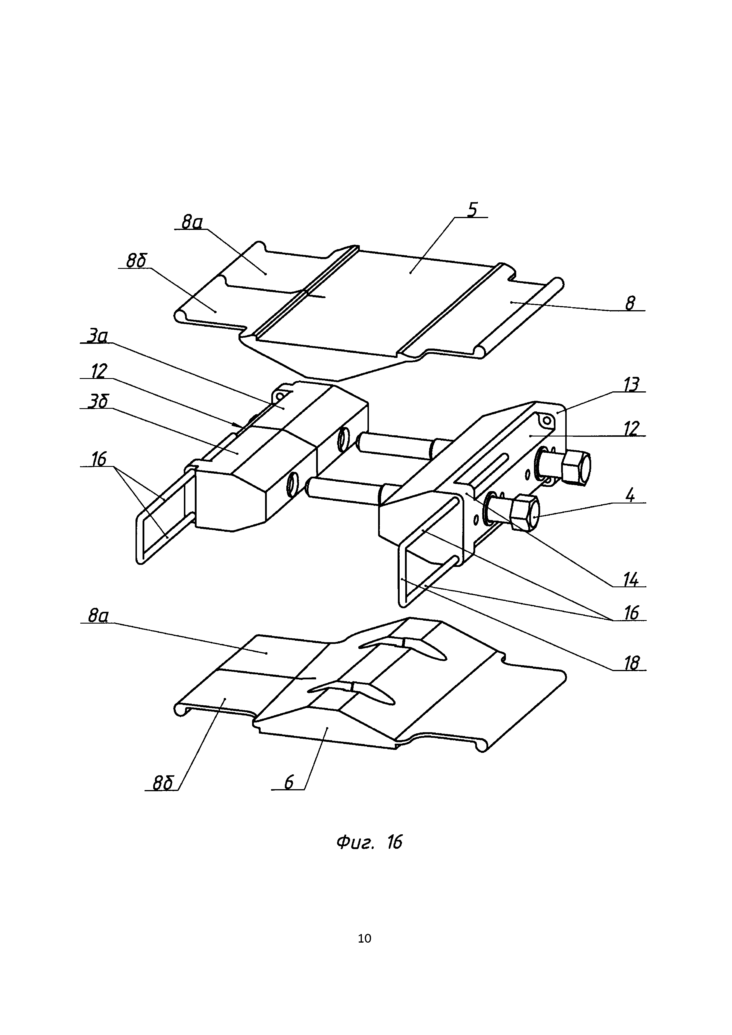
[78]

Этот пример осуществления отличается тем, что гибкие консольные полосы 8, соединяющие передний распорный клин 2 с рабочими клиньями 5 и 6 выполнены сплошными, как в первом примере осуществления, в то время как гибкие консольные полосы 8, соединяющие задний распорный клин 3 с рабочими клиньями 5 и 6 разрезаны узкой прорезью на два языка 8а и 8б. Такая же узкая прорезь разделяет задний распорный клин 3 на две части 3а и 3б. Прорезь, разделяющая задний распорный клин 3 на две части, совпадает с прорезью, разделяющей гибкую консольную полосу 8 на два языка 8а и 8б. Фиксирующее устройство на переднем распорном клине 2 использует одну фиксирующую скобу, два фиксирующих стержня 16 которой простираются на всю длину выемки 12 переднего распорного клина 2, удерживая в выемке 12 гибкую консольную полосу 8. Фиксирующее устройство на заднем распорном клине 3 также использует одну фиксирующую скобу, два фиксирующих стержня 16 которой простираются на всю длину выемки 12 заднего распорного клина 3, удерживая в выемке 12 оба языка 8а и 8б гибкой консольной полосы 8.

[79]

Компрессионный блок 1 оснащен двумя винтовыми приводами 4, размещенными в продольной плоскости компрессионного блока симметрично относительно его центральной продольной оси. В этом примере осуществления каждая часть заднего распорного клина перемещается самостоятельно своим приводом 4.

[80]

На фиг. 17 и 18 представлен четвертый пример осуществления изобретения.

[81]

Этот пример осуществления отличается тем, что гибкие консольные полосы 8, соединяющие передний распорные клинья 2 и 3 с рабочими клиньями 5 и 6 разрезаны широкими прорезями на три языка 8а, 8б и 8в. Передний и задний распорные клинья 2 и 3 выполнены сплошными, как в первом примере осуществления. Распорные клинья соединены между собой одним винтовым приводом 4, размещенным вдоль центральной продольной оси компрессионного блока. В каждой выемке 12 расположены две перегородки 20, разделяющие выемку 12 на три секции 12а. 12б и 12в. Языки 8а, 8б и 8в размещаются в этих секциях так, что перегородки 22 размещаются в широких прорезях гибкой полосы 8 между языками 8а, 8б и 8в.

[82]

В этом примере осуществления использованы фиксирующие устройства типа шарнирной петли. В удерживающих буртиках на кромке языков 8а, 8б и 8в выполнены продольные отверстия 32. На каждом распорном блоке 2 и 3 в фиксирующем устройстве использовано по две фиксирующие скобы, размещенные с двух боковых сторон распорного блока. Фиксирующие стержни 16 фиксирующих скоб вставляются в отверстия 15 в боковых стенках выемки, в отверстия 21 в перегородках 20 и в отверстия 32 в удерживающих буртиках 17 языках 8а, 8б и 8в, формируя соединение языков консольной гибкой полосы с распорным клином типа шарнирной петли. Концы фиксирующих стержней 16 размещаются в отверстии 32 в среднем языке 8б

[83]

В качестве материалов для изготовления клиньев компрессионного блока, в зависимости от технологических требований к нему, используют - различные упругие эластичные материалы: резины, кремнийорганические полимеры (силиконы) и эластомеры, как правило, негорючие, - и типовые технологические процессы штамповку, формовку, литье и пр. В частности, для изготовления распорных и рабочих клиньев предпочтительно использовать силиконовые резиновые смеси с высокими прочностными характеристиками типа зарекомендовавшей себя смеси ПЕНТАСИЛ 3303 ТУ 2512-043-40245042-2013 (www.penta-91.com) и ей подобных.

[84]

Использование изобретения рассмотрим на следующем примере.

[85]

Компрессионный блок 1 может быть собран на месте монтажа в виде единого модуля с максимально разведенными распорными клиньями 2 и 3 и рабочими клиньями 5 и 6, надетыми с некоторым натягом своим продольным пазом 31 на резьбовые участки 24 и 25 ходового винта 23, образуя компактную призму минимально возможной высоты. При необходимости на соответствующие поверхности блока, включая поверхности ходового винта 23, наносят герметизирующий состав, который также будет выполнять функцию смазки при работе клинового механизма. При необходимости компрессионный блок 1 может поставляться в собранном состоянии в виде моноблока с максимально разведенными сжимаемыми клиньями 8 и 9 и нажимным клином 24, надетым с некоторым натягом своим продольным пазом 33 на резьбовую часть 34 винта 32, образуя компактную призму минимально возможной высоты.

[86]

Компрессионный блок 1 устанавливают в проем кабельного ввода. Вращая ходовой винт 23, сдвигают распорные клинья 2 и 3 друг к другу - вначале с небольшим усилием, достаточным для «холостого» хода клиньев 2 и 3 и выхода резьбовых участков 24 и 25 ходового винта 23 из продольного паза 31, и затем с возрастающим усилием, обеспечивающим дальнейшее сближение распорных клиньев 2 и 3. Рабочий клин, например рабочий клин 6, начинает воздействовать на пакет сжимаемых модулей в проеме кабельного ввода и это продолжается до тех пор, пока не выберутся все зазоры между контактирующими деталями пакета сжимаемых модулей, а затем начинается сжатие сжимаемых модулей. После приведения всех элементов кабельного ввода в рабочее состояние удаляются излишки герметизирующего состава.

[87]

Благодаря своей конструкции и используемым материалам кабельный ввод обеспечивает надежную фиксацию, уплотнение и герметизацию уплотняемых элементов. Препятствует проникновению влаги, газа, огня, грызунов, муравьев и прочих нежелательных факторов окружающей природной среды. Испытания показали, что прочность полученных соединений элементов кабельного ввода с уплотняемыми кабелями, проводами и пр. обеспечивается на уровне не ниже прочностных свойств последних, т.е. их невозможно вытянуть, вдавить или провернуть без нарушения их механической целостности или разрушения.

[88]

Аналогичным образом реализуют кабельный ввод на коммутационных шкафах и других им подобных сооружениях.

[89]

В результате использования изобретений создан компрессионный блок, в котором обеспечивается предельная простота конструкции, минимальное количество деталей, минимальные габаритные размеры в исходном состоянии, увеличенный рабочий ход распорного клина, эксплуатационная надежность и возможность многократного монтажа-демонтажа с максимально возможной для винтового привода скоростью.

[90]

В результате реализации этого решения компрессионный блок приобрел минимально возможные габариты при хранении, транспортировке и монтаже, компактность и зафиксированную целостность конструкции. В целом, компрессионный блок стал представлять собой совокупность всего лишь четырех оригинальных деталей (клиньев 2, 3, 5 и 6), две из которых - распорные клинья 2 и 3 - максимально унифицированы.

[91]

Перечень позиций:

[92]

1 - компрессионный блок;

[93]

2 и 3 - перемещаемые распорные клинья;

[94]

4 - винтовой привод;

[95]

5 и 6 - рабочие клинья;

[96]

7 - устройство, соединяющее друг с другом смежные рабочие и распорные клинья;

[97]

8 - консольная гибкая полоса;

[98]

9 - кромка консольной гибкой полосы;

[99]

10 - кромка рабочего клина;

[100]

11 - внешняя поверхность корпуса распорного клина;

[101]

12 - выемка;

[102]

13 и 14 - боковые стенки выемки;

[103]

15 - отверстие;

[104]

16 - фиксирующий стержень;

[105]

17 - удерживающий буртик;

[106]

18 - перемычка;

[107]

19 - фиксирующая скоба;

[108]

20 - перегородка:

[109]

21 - отверстие в перегородке;

[110]

22 - выемка:

[111]

23 - ходовой винт;

[112]

24 и 25 - резьбовые участки;

[113]

26 и 27 - резьбовые втулки;

[114]

28 – хвостовик;

[115]

29 - элемент для вращения ходового винта;

[116]

30 - контактная площадка;

[117]

31 - продольный паз;

[118]

32 - отверстие для шарнирной петли.

Как компенсировать расходы
на инновационную разработку
Похожие патенты