патент
№ RU 2666453
МПК B65D39/00

УСТРОЙСТВО ДЛЯ ГЕРМЕТИЧНОГО ЗАКРЫВАНИЯ БУТЫЛКИ

Номер заявки
2017108181
Дата подачи заявки
13.03.2017
Опубликовано
07.09.2018
Страна
RU
Как управлять
интеллектуальной собственностью
Чертежи 
5
Реферат

[20]

Устройство для герметичного закрывания бутылки относится к средствам укупоривания бутылок, заполненных содержимым, например, напитков, в том числе алкогольных для сохранения их первоначального количества и качества на пути от изготовителя (расфасовщика) до потребителя. Устройство содержит пробку 12, средство ее фиксации на горлышке бутылки 11, включающее в себя отрывной поясок 13 и запорное кольцо 2 с фиксирующим выступом 3. Для повышения надежности устройство снабжено фиксируемой на запорном кольце 2 гильзой 1, выполненной из материала более жесткого, чем материал запорного кольца 2, боковая стенка 10 которого выполнена с выемкой в зоне расположения фиксирующего выступа 3. 2 з.п. ф-лы, 5 ил.

Формула изобретения

1. Устройство для герметичного закрывания бутылки, содержащее пробку, средство ее фиксации на горлышке бутылки, включающее в себя отрывной поясок и запорное кольцо с фиксирующим выступом, отличающееся тем, что снабжено фиксируемой на запорном кольце гильзой, выполненной из материала более жесткого, чем материал запорного кольца, боковая стенка которого выполнена с выемкой в зоне расположения фиксирующего выступа.

2. Устройство по п. 1, отличающееся тем, что гильза выполнена с кольцевым упором, контактирующим с нижним торцом запорного кольца, и кольцевым буртиком, размещенным между нижним торцом отрывного пояска и кольцевым выступом, выполненным на запорном кольце.

3. Устройство по п. 1 или 2, отличающееся тем, что запорное кольцо, пробка и отрывной поясок выполнены с выступами, зацепленными с выступами, выполненными на венчике бутылки.

Описание

[1]

Изобретение относится к средствам укупоривания бутылок, заполненных содержимым, например, напитков, в том числе алкогольных для сохранения их первоначального количества и качества на пути от изготовителя (расфасовщика) до потребителя.

[2]

Известно устройство для герметичного закрывания бутылки, содержащее пробку, средство ее фиксации на горлышке бутылки, включающее в себя отрывной поясок и запорное кольцо с фиксирующим выступом (см. патент РФ на полезную модель №102208 от 20.02.2011).

[3]

Известное устройство имеет следующие недостатки.

[4]

При нагревании устройства, например опусканием в кипящую воду, пластик становится достаточно мягким, для того чтобы, не разрушив, снять устройство с горлышка бутылки. Для того чтобы снять устройство с горлышка бутылки достаточно приложить усилие вверх на нижнюю кромку запорного кольца. При этом запорное кольцо увеличивает свой диаметр, зазор между горлышком бутылки и запорным кольцом увеличивается до размера, достаточного для поворота фиксирующего выступа, который перестает быть препятствием для устройства с горлышка бутылки.

[5]

При укупорке бутылки устройство напрессовывают на горло бутылки, фиксирующий выступ проходит через кольцеобразное ребро горла бутылки, при этом запорное кольцо значительно деформируется и увеличивает свой диаметр. При увеличении диаметра запорного кольца перемычки, связывающие запорное кольцо с отрывным пояском могут разрушиться, что особенно часто проявляется при пониженной температуре, когда пластики становятся хрупкими.

[6]

При приложении усилия к язычку отрывного пояска создается крутящий момент относительно горла бутылки, и запорное кольцо вращается вокруг горла бутылки и перемычки, связывающие запорное кольцо с отрывным пояском не разрушаются. Этот недостаток проявляется в конце удаления отрывного пояска, когда выступы выходят из взаимного зацепления. Так такой же недостаток проявляется при вращении крышки относительно венчика при передаче крутящего момента крышке от отрывного пояска через перемычки.

[7]

Технический результат, на достижение которого направлено изобретение, заключается в повышении надежности устройства за счет исключения недостатков известного технического решения.

[8]

Технический результат достигается тем, что устройство для герметичного закрывания бутылки, содержащее пробку, средство ее фиксации на горлышке бутылки, включающее в себя отрывной поясок и запорное кольцо с фиксирующим выступом, снабжено фиксируемой на запорном кольце гильзой, выполненной из материала более жесткого, чем материал запорного кольца, боковая стенка которого выполнена с выемкой в зоне расположения фиксирующего выступа.

[9]

Гильза может быть выполнена с кольцевым упором, контактирующим с нижним торцом запорного кольца, и кольцевым буртиком, размещенным между нижним торцом отрывного пояска и кольцевым выступом, выполненным на запорном кольце.

[10]

Запорное кольцо, пробка и отрывной поясок выполнены с выступами, зацепленными с выступами, выполненными на венчике бутылки.

[11]

Сущность изобретения поясняется чертежами.

[12]

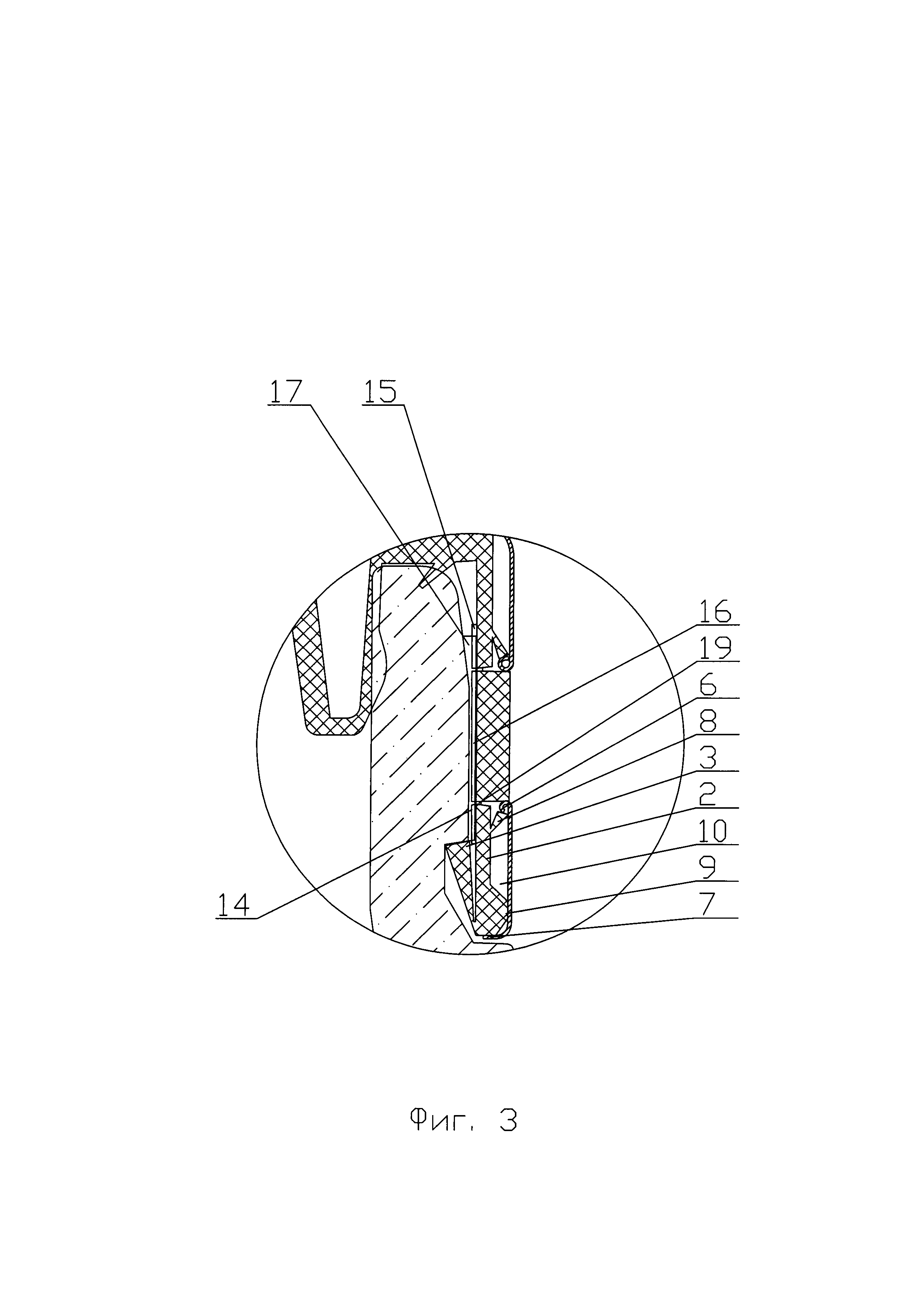
На фиг. 1 показан нешний вид устройства на горле бутылки; на фиг. 2 - сечение устройства и горла бутылки по их центральной оси; на фиг. 3 - узел А на фиг. 2; на фиг. 4 - узел А на фиг. 2 в момент прохождения устройств а при укупорке бутылки; на фиг. 5 - сечение С-С, на фиг 2.

[13]

Усовершенствованная технология укупорки заключается в следующем.

[14]

Наличие гильзы 1 на запорном кольце 2 в виде цилиндрической обечайки, изготовленной из металла или пластика более жесткого, чем материал запорного кольца 2, позволяет ограничить расширение запорного кольца 2 на уровне расположения фиксирующего выступа 3 во время его деформации при прохождении замковой утолщенной части фиксирующего выступа 3 кольцеобразного выступа 4 венчика 5.

[15]

Гильза 1 имеет кольцевой буртик 6 с одной стороны и кольцевой упор 7 с другой стороны. Кольцевой буртик 6 упирается в выступ 8, кольцевой упор 7 упирается в выступ 9, что обеспечивает фиксацию гильзы 1 относительно запорного кольца 2.

[16]

Боковая стенка 10 запорного кольца 2 выполнена с выемкой в зоне расположения фиксирующего выступа 3, что обеспечивает ее упругую деформацию при напрессовке устройства на горло бутылки 11 и в конце напрессовки перемещение фиксирующего выступа 3 в положение фиксации.

[17]

Запорное кольцо 2, пробка 12 и отрывной поясок 13 выполнены с выступами соответственно 14, 15 и 16, зацепленными с выступами 17, выполненными на венчике 5 бутылки 11.

[18]

При приложении усилия к лапке 18 отрывного пояска 13 при вскрытии бутылки потребитель создает крутящий момент на отрывном пояске 13, который через перемычки 19 передается на запорное кольцо 2.

[19]

Выступы 14 и 15 предотвращают вращение запорного кольцо 2 и пробки 12 относительно горла бутылки 11.

Как компенсировать расходы
на инновационную разработку
Похожие патенты