патент
№ RU 2648560
МПК F41A9/79

Магазин автоматического оружия с ленточным питанием

Авторы:
Целоусов Олег Юрьевич
Номер заявки
2017114437
Дата подачи заявки
26.04.2017
Опубликовано
26.03.2018
Страна
RU
Как управлять
интеллектуальной собственностью
Чертежи 
2
Реферат

Изобретение относится к области вооружения, а именно к магазинам автоматического оружия с ленточным питанием. Магазин содержит корпус для укладывания ленты, крышку, направляющую и демпфер. Демпфер выполнен в виде упругого элемента с возможностью деформации, при этом один конец упругого элемента закреплен в нижней части корпуса, а второй выполнен с возможностью перемещения, дополнительно на осях, выполненных в боковых стенках корпуса, с возможностью поворота установлена шторка прямоугольного профиля, в верхней части шторки выполнен прижим, на задней стенке корпуса в верхней части расположена опора для конца ленты. Достигается повышение надежности работы магазина. 4 з.п. ф-лы, 3 ил.

Формула изобретения

1. Магазин автоматического оружия с ленточным питанием, содержащий корпус для укладывания ленты, крышку, направляющую, демпфер, отличающийся тем, что демпфер выполнен в виде упругого элемента с возможностью деформации, при этом один конец упругого элемента закреплен в нижней части корпуса, а второй выполнен с возможностью перемещения, дополнительно на осях, выполненных в боковых стенках корпуса, с возможностью поворота установлена шторка прямоугольного профиля, в верхней части шторки выполнен прижим, на задней стенке корпуса в верхней части расположена опора для конца ленты.

2. Магазин по п.1, отличающийся тем, что демпфер выполнен S-образной формы.

3. Магазин по п.1, отличающийся тем, что прижим выполнен в виде упругого элемента.

4. Магазин по п.1, отличающийся тем, что прижим выполнен подпружиненным.

5. Магазин по п.1, отличающийся тем, что нижняя часть шторки выполнена с наружной отбортовкой в виде петли.

Описание

[1]

Изобретение относится к автоматическому оружию с ленточным питанием и может быть использовано в автоматическом стрелковом оружии.

[2]

Известен магазин 30 мм автоматического гранатомета на станке АГС17 (см. Руководство по 30-мм автоматическому гранатомету на станке АГС-17, Министерство обороны СССР, Москва, 1982 г., http://forum.guns.ru/forummessage/18/140174.html), состоящий из коробки, в которую укладывается патронная лента. Лента помещается в коробку через горловину, продвигается через открытую створку по улитке, выполненной в коробке. После укладки ленты первое пустое звено надевается на выступ, и крышка и створка закрываются на защелки.

[3]

Недостатками данной конструкции являются:

[4]

- повышенное усилие подачи ленты из магазина и, как следствие, низкая надежность работы;

[5]

- сложность снаряжения магазина;

[6]

- длительное время снаряжения магазина.

[7]

Известен магазин автоматического оружия (см. патент US 7,500,421 от 28.04.2005, F41A 9/61), выбранный в качестве ближайшего аналога, содержащий коробку для укладывания патронной ленты, направляющую патронной ленты. Коробка состоит из двух отсеков, соединенных закрытым рукавом. Направляющая патронной ленты подпружинена и при вытягивании ленты из первого отсека следит за свободной петлей ленты и поддерживает её под действием пружины. В коробке на оси расположена вращающаяся перегородка. При полностью снаряженном магазине перегородка предотвращает зацепление патронов в ленте друг за друга. При освобождении первого отсека перегородка под действием ленты поворачивается и прижимается к стенке корпуса.

[8]

Недостатком данной конструкции является низкая надежность работы из-за большого количества деталей, осуществляющих подачу патронной ленты.

[9]

Технической задачей заявляемого изобретения является повышение надежности работы.

[10]

Технический результат заключается в обеспечении направления и демпфирования патронной ленты и стабилизации «хвоста» ленты в конце стрельбы для исключения самопроизвольного инерционного выпадения патрона из звена внутри магазина при стрельбе.

[11]

Поставленная задача достигается тем, что магазин автоматического оружия с ленточным питанием содержит корпус для укладывания ленты, крышку, направляющую, демпфер. Демпфер выполнен в виде упругого элемента с возможностью деформации, при этом один конец упругого элемента закреплен в нижней части корпуса, а второй выполнен с возможностью перемещения, дополнительно на осях, выполненных в боковых стенках корпуса, с возможностью поворота установлена шторка прямоугольного профиля, в верхней части которой выполнен прижим, на задней стенке корпуса в верхней части расположена опора для конца ленты. Демпфер выполнен S-образной формы. Прижим может быть выполнен в виде упругого элемента или подпружиненным. Нижняя часть шторки выполнена с наружной отбортовкой в виде петли.

[12]

Сущность изобретения поясняется чертежами, на которых изображено:

[13]

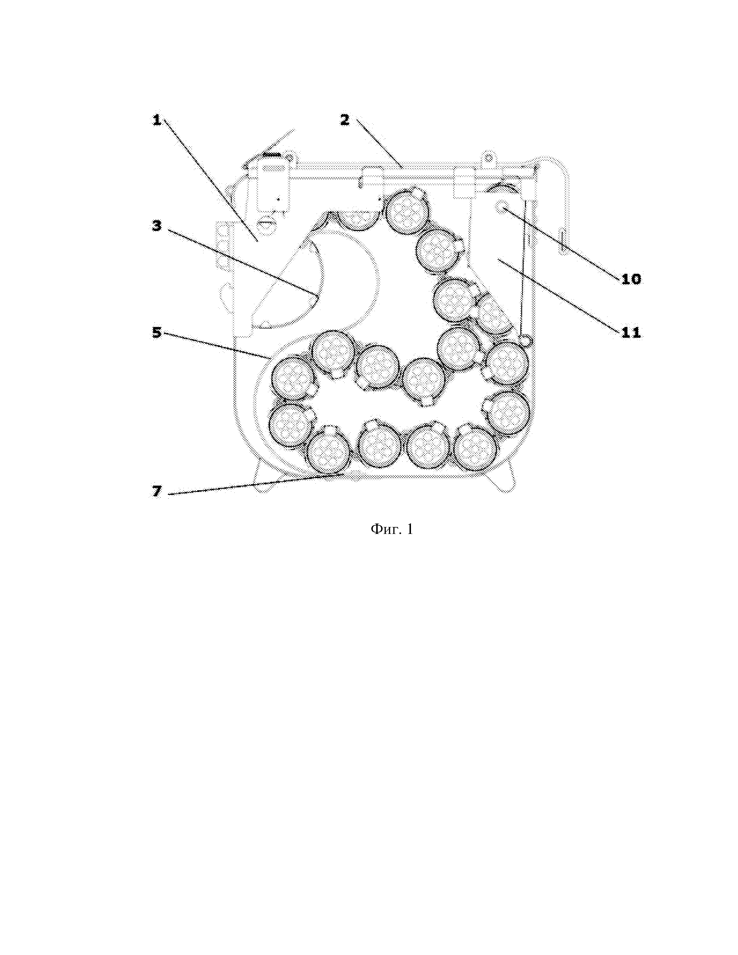
на фиг.1 – общий вид магазина, магазин полностью снаряжен;

[14]

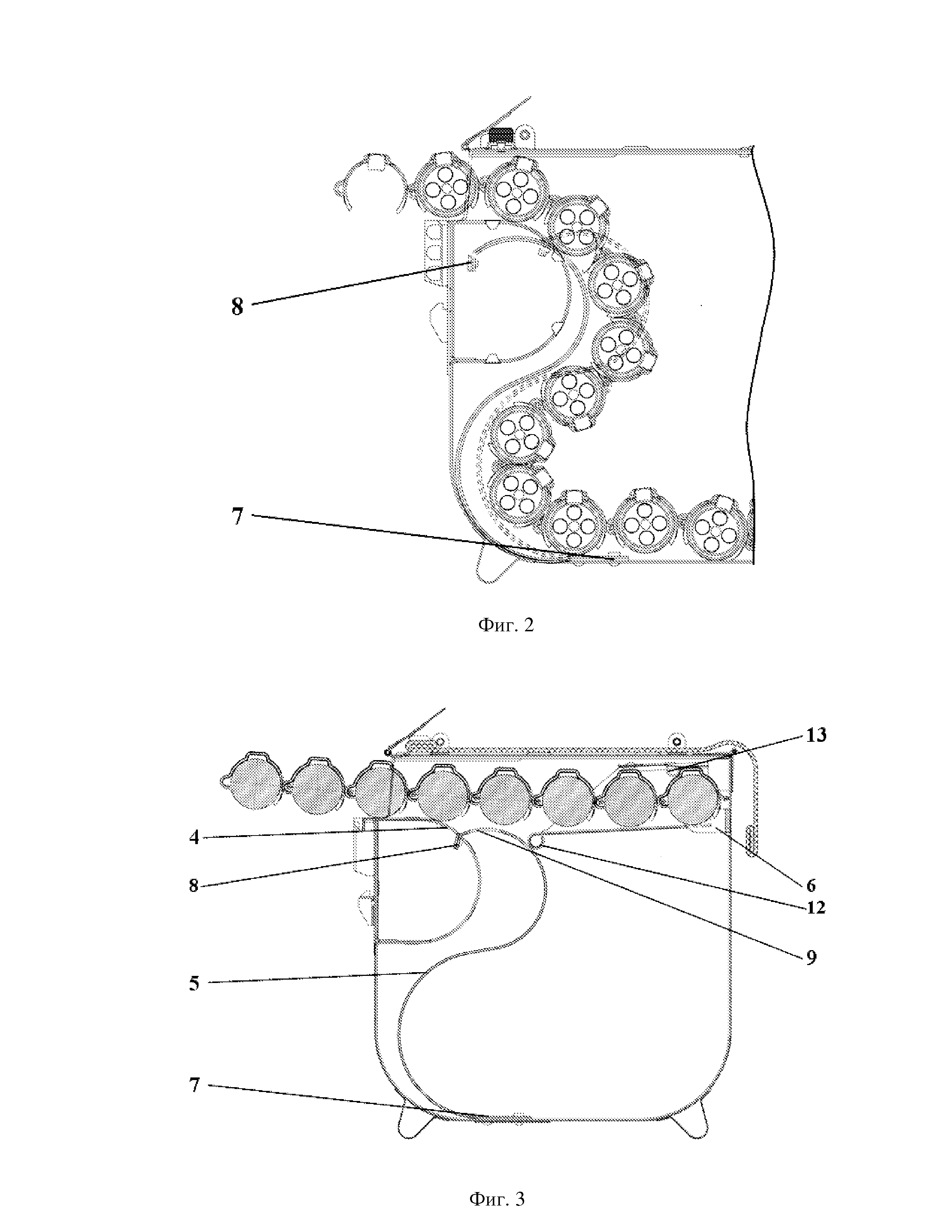
на фиг.2 – общий вид магазина, положение демпфера при стрельбе;

[15]

на фиг.3 – общий вид магазина, положение конца ленты при подаче.

[16]

Магазин автоматического оружия содержит корпус 1 для укладывания патронной ленты. Корпус представляет собой прямоугольный металлический штампосварной ящик, сверху которого расположена крышка 2. Внутри корпуса 1 размещаются полукруглая направляющая 3 с окном 4, демпфер 5, опора 6 для конца ленты. Демпфер 5 выполнен в виде упругого элемента S-образной формы. Один конец 7 упругого элемента неподвижно закреплен в нижней части корпуса 1, другой конец 8 свободно введен в окно 4 направляющей 3 и имеет возможность перемещаться по мере расходования патронов в ленте. В верхней части демпфера 5 выполнено окно 9 для удобства снаряжения магазина. Опора 6 неподвижно закреплена на задней стенке корпуса 1. В корпусе 1 на осях 10 в боковых стенках установлена шторка 11 прямоугольного профиля. На нижней части шторки 11 выполнена наружная отбортовка 12 в виде петли. Боковые стенки шторки 11 выполнены с уклоном под углом, причем на нижней части размещаются три звена ленты с патронами, а верхняя часть шторки закрывает два звена ленты. В верхней части шторки 11 установлен прижим 13 для фиксации последнего патрона в ленте. Прижим 13 может быть выполнен в виде упругого элемента или может быть выполненным подпружиненным.

[17]

Для снаряжения магазина надо откинуть крышку 2, повернуть шторку 11 на осях 10 до горизонтального положения. При этом шторка отбортовкой 12 зафиксируется на демпфере 5. Завести конец ленты внутрь шторки 11 и продвинуть его до упора в заднюю стенку корпуса 1. При этом последний в ленте патрон ляжет на опору 6 и будет зафиксирован прижимом 13. После этого откинуть передний конец ленты, оттянуть вперед демпфер 5 через окно 9, освободив шторку 11, и опустить ленту внутрь корпуса 1. Шторка 11 опустится под весом ленты. Закрыть крышку 2. При стрельбе демпфер 5 под действием усилия подачи ленты отклоняется в направлении подачи. По мере расходования патронов демпфер 5 возвращается в исходное положение под действием собственной силы упругости, а шторка 11 поворачивается на осях 10 вверх и фиксируется петлей отбортовки 12 на демпфере 5 в горизонтальном положении, тем самым делая движение ленты в магазине более плавным и предотвращая инерционное выпадение патрона из незамкнутого звена. В процессе стрельбы лента натягивается, и последний патрон с усилием извлекается из-под прижима 13.

[18]

Предложенная конструкция магазина автоматического оружия с ленточным питанием позволяет повысить надежность работы за счет обеспечения плавного движения ленты и предотвращения инерционного выпадения патрона из звена внутри магазина при стрельбе.

Как компенсировать расходы
на инновационную разработку
Похожие патенты