патент
№ RU 2534131
МПК G08G1/00

СИСТЕМА И СПОСОБ ОПРЕДЕЛЕНИЯ НАРУШЕНИЙ ПРАВИЛ ДОРОЖНОГО ДВИЖЕНИЯ ПРИ ПРОЕЗДЕ ПЕРЕКРЕСТКА

Авторы:
Нетребский Леонид Сергеевич Петричкович Ярослав Ярославович Миллер Станислав Юрьевич
Все (6)
Номер заявки
2013143066/11
Дата подачи заявки
24.09.2013
Опубликовано
27.11.2014
Страна
RU
Как управлять
интеллектуальной собственностью
Чертежи 
5
Реферат

Изобретение относится к области регулирования движения дорожного транспорта, а именно к определению нарушений правил дорожного движения при проезде перекрестка. Задействованы светофорная и обзорная камеры, средство передачи данных и электронно-вычислительное устройство. Обзорная камера выполнена с возможностью формирования зоны стоп-линии, а также изображения зоны за воображаемой линией перекрестка. Светофорная камера выполнена с возможностью формирования изображения сигналов светофора, а также зоны стоп-линии и зоны за воображаемой линией перекрестка. Электронно-вычислительное устройство выполнено с возможностью получения и записи в память изображения со светофорной и обзорной камер, с возможностью распознавания государственного регистрационного знака транспортного средства. Кроме того, ЭВМ выполнено с возможностью определения нарушения и формирования информации для транспортного средства о нарушении правил дорожного движения "об остановке перед стоп-линией при запрещающем сигнале светофора" и "проезд на запрещающий сигнал светофора". Средство передачи данных передает информацию о факте нарушения в удаленный центр обработки информации. Достигается улучшение функциональности, а также увеличение эффективности определения нарушений правил дорожного движения при проезде перекрестка. 2 н. и 34 з.п. ф-лы, 6 ил.

Формула изобретения

1. Система определения нарушений правил дорожного движения при проезде перекрестка, содержащая, по меньшей мере, одну светофорную камеру, по меньшей мере, одну обзорную камеру и средство передачи данных, соединенные с электронно-вычислительным устройством, которое содержит память с управляющей программой, отличающаяся тем, что обзорная камера выполнена с возможностью формирования изображения зоны стоп-линии, включающей в себя полосы движения проезжей части встречного направления и расположенной между стоп-линией и ближайшей к ней воображаемой линией перекрестка, соединяющей противоположные начала закруглений проезжих частей, а также изображения зоны, расположенной за воображаемой линией перекрестка, соединяющей противоположные начала закруглений проезжих частей; светофорная камера выполнена с возможностью формирования изображения сигналов светофора, регулирующего движение транспортных средств, и одновременно изображения зоны стоп-линии и зоны, расположенной за воображаемой линией перекрестка; электронно-вычислительное устройство с помощью управляющей программы выполнено с возможностью получения и записи в память изображения с обзорной и светофорной камер, с возможностью распознавания на изображении со светофорной камеры индикации сигналов светофора, при этом определения времени начала и времени окончания индикации красного сигнала светофора одной фазы и времени наличия зеленого сигнала в дополнительной секции светофора, с возможностью распознавания государственного регистрационного знака транспортного средства (ГРЗ ТС) и государственного регистрационного номера транспортного средства на изображении с обзорной камеры и определения момента времени распознавания ГРЗ ТС, с возможностью определения нарушения транспортным средством правила дорожного движения «об остановке перед стоп-линией при запрещающем сигнале светофора», при распознавании ГРЗ ТС в зоне стоп-линии на изображении с обзорной камеры в момент времени между временем начала и временем окончания индикации красного сигнала светофора одной фазы, при одновременном отсутствии зеленого сигнала в дополнительной секции светофора для полосы движения, в которой находится транспортное средство; а также с возможностью определения нарушения транспортным средством правила дорожного движения «проезд на запрещающий сигнал светофора», при определении перемещения ГРЗ ТС в зоне стоп-линии на изображении с обзорной камеры во время индикации красного сигнала светофора, при одновременном отсутствии зеленого сигнала в дополнительной секции светофора для полосы движения, в которой находится транспортное средство, и последующего исчезновения ГРЗ ТС за воображаемой линией перекрестка, соединяющей противоположные начала закруглений проезжих частей, во время индикации красного сигнала светофора одной фазы, при одновременном отсутствии зеленого сигнала в дополнительной секции светофора для полосы движения, в которой находится транспортное средство; а также с возможностью формирования для транспортного средства нарушителя информации о факте нарушения правил дорожного движения «об остановке перед стоп-линией при запрещающем сигнале светофора» и «проезд на запрещающий сигнал светофора», при этом средство передачи данных выполнено с возможностью передачи информации о факте нарушения правил дорожного движения в удаленный центр обработки информации.

2. Система по п.1, отличающаяся тем, что стоп-линия является реальной, нанесенной на проезжую часть, или воображаемой, проходящей через светофор и проезжую часть.

3. Система по п.1, отличающаяся тем, что обзорная камера установлена во встречном потоку транспортных средств направлении.

4. Система по п.1, отличающаяся тем, что светофорная камера установлена в попутном потоку транспортных средств направлении.

5. Система по п.1, отличающаяся тем, что содержит, по меньшей мере, одну светофорную камеру, по меньшей мере, одну обзорную камеру и средство передачи данных, соединенные с электронно-вычислительным устройством через коммутатор.

6. Система по п.1, отличающаяся тем, что содержит инфракрасный прожектор, выполненный с возможностью подсвечивания в инфракрасном диапазоне ГРЗ транспортных средств, находящихся в поле зрения обзорной камеры.

7. Система по п.6, отличающаяся тем, что содержит инфракрасный прожектор, установленный во встречном потоку транспортных средств направлении.

8. Система по п.1, отличающаяся тем, что светофорная камера и обзорная камера синхронизированы по времени.

9. Система по п.1, отличающаяся тем, что электронно-вычислительное устройство посредством управляющей программы выполнено с возможностью распознавания государственного регистрационного знака транспортного средства (ГРЗ ТС) и государственного регистрационного номера транспортного средства на изображении с обзорной камеры и определения момента времени распознавания ГРЗ ТС, при этом формирования базы статистических данных о проезжающих транспортных средствах по распознанным ГРЗ ТС.

10. Система по п.1, отличающаяся тем, что средство передачи данных выполнено с возможностью передачи информации о факте нарушения правил парковки в удаленный Центр автоматизированной фиксации административных правонарушений в области дорожного движения (ЦАФАП ОДД) ГИБДД ГУ МВД России.

11. Система по п.1, отличающаяся тем, что средство передачи данных выполнено с возможностью передачи информации о факте нарушения правил парковки по беспроводному или проводному каналу передачи данных.

12. Система по п.1, отличающаяся тем, что она содержит, по меньшей мере, одну светофорную камеру, по меньшей мере, одну обзорную камеру и средство передачи данных, соединенные с электронно-вычислительным устройством по беспроводному или проводному каналу передачи данных.

13. Система по п.1, отличающаяся тем, что электронно-вычислительное устройство с помощью управляющей программы выполнено с возможностью распознавания ГРЗ ТС на изображении с обзорной камеры, записи государственного регистрационного номера в память, при этом формирования базы статистических данных о проезжающих транспортных средствах.

14. Система по п.1, отличающаяся тем, что электронно-вычислительное устройство посредством управляющей программы выполнено с возможностью записи в память видеоинформации с камер, начиная с момента определения нарушения транспортным средством правила дорожного движения и кончая моментом выхода транспортного средства за пределы зон обзора камер.

15. Система по п.1, отличающаяся тем, что электронно-вычислительное устройство с помощью управляющей программы выполнено с возможностью записи в память информации о факте нарушения правил дорожного движения «об остановке перед стоп-линией при запрещающем сигнале светофора» и «проезд на запрещающий сигнал светофора».

16. Система по п.1, отличающаяся тем, что электронно-вычислительное устройство соединено с контроллером светофора и выполнено с возможностью считывания с него времени начала и времени окончания индикации красного сигнала светофора одной фазы и времени наличия зеленого сигнала в дополнительной секции светофора, при этом электронно-вычислительное устройство не учитывает распознанную на изображении со светофорной камеры индикацию сигналов светофора при определении времени индикации сигналов светофора.

17. Система по п.1, отличающаяся тем, что информация о факте нарушения правила дорожного движения «об остановке перед стоп-линией при запрещающем сигнале светофора» для каждого транспортного средства нарушителя содержит: данные о времени, дате и месте нарушения правил дорожного движения; данные о времени начала и времени окончания индикации красного сигнала светофора одной фазы по пути следования транспортного средства нарушителя; снимок полностью читаемого государственного регистрационного знака транспортного средства нарушителя; снимок полностью читаемого государственного регистрационного знака и части транспортного средства нарушителя, находящегося в зоне стоп-линии в момент времени между временем начала и временем окончания индикации красного сигнала светофора одной фазы; снимок общего положения на проезжей части транспортного средства нарушителя, находящегося в зоне стоп-линии в момент времени между временем начала и временем окончания индикации красного сигнала светофора одной фазы; снимок светофора с видимым красным сигналом и сигналом дополнительной секции светофора и положения на проезжей части транспортного средства нарушителя, при появлении в зоне стоп-линии в момент времени между временем начала и временем окончания индикации красного сигнала светофора одной фазы; а также снимок светофора с видимым красным сигналом и сигналом дополнительной секции светофора и положения на проезжей части транспортного средства нарушителя, в зоне стоп-линии в месте, наиболее близком к ее середине, в момент времени между временем начала и временем окончания индикации красного сигнала светофора одной фазы, причем на всех снимках присутствует дата и время снимка.

18. Система по п.1, отличающаяся тем, что информация о факте нарушения правила дорожного движения «проезд на запрещающий сигнал светофора» для каждого транспортного средства нарушителя содержит: данные о времени, дате и месте нарушения правил дорожного движения; данные о времени начала и времени окончания индикации красного сигнала светофора одной фазы по пути следования транспортного средства нарушителя; снимок полностью читаемого государственного регистрационного знака транспортного средства нарушителя; снимок полностью читаемого государственного регистрационного знака и части транспортного средства нарушителя, находящегося за воображаемой линией, проходящей через светофор и проезжую часть, во время индикации красного сигнала светофора одной фазы; снимок общего положения на проезжей части транспортного средства нарушителя, находящегося за воображаемой линией, проходящей через светофор и проезжую часть, во время индикации красного сигнала светофора одной фазы; снимок светофора с видимым красным сигналом и сигналом дополнительной секции светофора и положения на проезжей части транспортного средства нарушителя, при появлении в зоне стоп-линии в момент времени между временем начала и временем окончания индикации красного сигнала светофора одной фазы; а также снимок светофора с видимым красным сигналом и сигналом дополнительной секции светофора и положения на проезжей части транспортного средства нарушителя, находящегося за воображаемой линией, соединяющей противоположные начала закруглений проезжих частей, во время индикации красного сигнала светофора одной фазы, в момент времени между временем начала и временем окончания индикации красного сигнала светофора одной фазы, причем на всех снимках присутствует дата и время снимка.

19. Способ определения нарушений правил дорожного движения при проезде перекрестка, отличающийся тем, что формируют посредством обзорной камеры изображение зоны стоп-линии, включающей в себя полосы движения проезжей части встречного направления и расположенной между стоп-линией и ближайшей к ней воображаемой линией перекрестка, соединяющей противоположные начала закруглений проезжих частей, а также изображение зоны, расположенной за воображаемой линией перекрестка, соединяющей противоположные начала закруглений проезжих частей; формируют посредством светофорной камеры изображение сигналов светофора, регулирующего движение транспортных средств, и одновременно изображение зоны стоп-линии и зоны, расположенной за воображаемой линией перекрестка; посредством электронно-вычислительного устройства с помощью управляющей программы получают и записывают в память изображения с обзорной и светофорной камер, распознают на изображении со светофорной камеры индикацию сигналов светофора, при этом определяют время начала и время окончания индикации красного сигнала светофора одной фазы и время наличия зеленого сигнала в дополнительной секции светофора, распознают государственный регистрационный знак транспортного средства (ГРЗ ТС) и государственный регистрационный номер транспортного средства на изображении с обзорной камеры и определяют момент времени распознавания ГРЗ ТС, определяют нарушение транспортным средством правила дорожного движения «об остановке перед стоп-линией при запрещающем сигнале светофора», при распознавании ГРЗ ТС в зоне стоп-линии на изображении с обзорной камеры в момент времени между временем начала и временем окончания индикации красного сигнала светофора одной фазы, при одновременном отсутствии зеленого сигнала в дополнительной секции светофора для полосы движения, в которой находится транспортное средство, а также определяют нарушение транспортным средством правила дорожного движения «проезд на запрещающий сигнал светофора», при определении перемещения ГРЗ ТС в зоне стоп-линии на изображении с обзорной камеры во время индикации красного сигнала светофора, при одновременном отсутствии зеленого сигнала в дополнительной секции светофора для полосы движения, в которой находится транспортное средство, и последующего исчезновения ГРЗ ТС за воображаемой линией перекрестка, соединяющей противоположные начала закруглений проезжих частей, во время индикации красного сигнала светофора одной фазы, при одновременном отсутствии зеленого сигнала в дополнительной секции светофора для полосы движения, в которой находится транспортное средство, а также формируют для транспортного средства нарушителя информацию о факте нарушения правил дорожного движения «об остановке перед стоп-линией при запрещающем сигнале светофора» и «проезд на запрещающий сигнал светофора», при этом посредством средства передачи данных передают информацию о факте нарушения правил дорожного движения в удаленный центр обработки информации.

20. Способ по п.19, отличающийся тем, что стоп-линия является реальной, нанесенной на проезжую часть, или воображаемой, проходящей через светофор и проезжую часть.

21. Способ по п.19, отличающийся тем, что обзорная камера установлена во встречном потоку транспортных средств направлении.

22. Способ по п.19, отличающийся тем, что светофорная камера установлена в попутном потоку транспортных средств направлении.

23. Способ по п.19, отличающийся тем, что содержит, по меньшей мере, одну светофорную камеру, по меньшей мере, одну обзорную камеру и средство передачи данных, соединенные с электронно-вычислительным устройством через коммутатор.

24. Способ по п.19, отличающийся тем, что посредством инфракрасного прожектора подсвечивают в инфракрасном диапазоне ГРЗ транспортных средств, находящихся в поле зрения обзорной камеры.

25. Способ по п.24, отличающийся тем, что инфракрасный прожектор установлен во встречном потоку транспортных средств направлении.

26. Способ по п.19, отличающийся тем, что светофорная камера и обзорная камера синхронизированы по времени.

27. Способ по п.19, отличающийся тем, что посредством электронно-вычислительного устройства с помощью управляющей программы распознают государственный регистрационный знак транспортного средства (ГРЗ ТС) и государственный регистрационный номер транспортного средства на изображении с обзорной камеры и определяют момент времени распознавания ГРЗ ТС, при этом формируют базу статистических данных о проезжающих транспортных средствах по распознанным ГРЗ ТС.

28. Способ по п.19, отличающийся тем, что посредством средства передачи данных передают информацию о факте нарушения правил парковки в удаленный Центр автоматизированной фиксации административных правонарушений в области дорожного движения (ЦАФАП ОДД) ГИБДД ГУ МВД России.

29. Способ по п.19, отличающийся тем, что посредством средства передачи данных передают информацию о факте нарушения правил парковки по беспроводному или проводному каналу передачи данных.

30. Способ по п.19, отличающийся тем, что содержит, по меньшей мере, одну светофорную камеру, по меньшей мере, одну обзорную камеру и средство передачи данных, соединенные с электронно-вычислительным устройством по беспроводному или проводному каналу передачи данных.

31. Способ по п.19, отличающийся тем, что посредством электронно-вычислительного устройства с помощью управляющей программы распознают ГРЗ ТС на изображении с обзорной камеры, записывают государственный регистрационный номер в память, при этом формируют базу статистических данных о проезжающих транспортных средствах.

32. Способ по п.19, отличающийся тем, что посредством электронно-вычислительного устройства с помощью управляющей программы записывают в память видеоинформацию с камер, начиная с момента определения нарушения транспортным средством правила дорожного движения и кончая моментом выхода транспортного средства за пределы зон обзора камер.

33. Способ по п.19, отличающийся тем, что посредством электронно-вычислительного устройства с помощью управляющей программы записывают в память информацию о факте нарушения правил дорожного движения «об остановке перед стоп-линией при запрещающем сигнале светофора» и «проезд на запрещающий сигнал светофора».

34. Способ по п.19, отличающийся тем, что посредством электронно-вычислительного устройства с помощью управляющей программы считывают с контроллера светофора время начала и время окончания индикации красного сигнала светофора одной фазы и время наличия зеленого сигнала в дополнительной секции светофора, при этом посредством электронно-вычислительного устройства не учитывают распознанную на изображении со светофорной камеры индикацию сигналов светофора при определении времени индикации сигналов светофора.

35. Способ по п.19, отличающийся тем, что информация о факте нарушения правила дорожного движения «об остановке перед стоп-линией при запрещающем сигнале светофора» для каждого транспортного средства нарушителя содержит: данные о времени, дате и месте нарушения правил дорожного движения; данные о времени начала и времени окончания индикации красного сигнала светофора одной фазы по пути следования транспортного средства нарушителя; снимок полностью читаемого государственного регистрационного знака транспортного средства нарушителя; снимок полностью читаемого государственного регистрационного знака и части транспортного средства нарушителя, находящегося в зоне стоп-линии в момент времени между временем начала и временем окончания индикации красного сигнала светофора одной фазы; снимок общего положения на проезжей части транспортного средства нарушителя, находящегося в зоне стоп-линии в момент времени между временем начала и временем окончания индикации красного сигнала светофора одной фазы; снимок светофора с видимым красным сигналом и сигналом дополнительной секции светофора и положения на проезжей части транспортного средства нарушителя, при появлении в зоне стоп-линии в момент времени между временем начала и временем окончания индикации красного сигнала светофора одной фазы; а также снимок светофора с видимым красным сигналом и сигналом дополнительной секции светофора и положения на проезжей части транспортного средства нарушителя, в зоне стоп-линии в месте, наиболее близком к ее середине, в момент времени между временем начала и временем окончания индикации красного сигнала светофора одной фазы, причем на всех снимках присутствует дата и время снимка.

36. Способ по п.19, отличающийся тем, что информация о факте нарушения правила дорожного движения «проезд на запрещающий сигнал светофора» для каждого транспортного средства нарушителя содержит: данные о времени, дате и месте нарушения правил дорожного движения; данные о времени начала и времени окончания индикации красного сигнала светофора одной фазы по пути следования транспортного средства нарушителя; снимок полностью читаемого государственного регистрационного знака транспортного средства нарушителя; снимок полностью читаемого государственного регистрационного знака и части транспортного средства нарушителя, находящегося за воображаемой линией, соединяющей противоположные начала закруглений проезжих частей, во время индикации красного сигнала светофора одной фазы; снимок общего положения на проезжей части транспортного средства нарушителя, находящегося за воображаемой линией, проходящей через светофор и проезжую часть, во время индикации красного сигнала светофора одной фазы; снимок светофора с видимым красным сигналом и сигналом дополнительной секции светофора и положения на проезжей части транспортного средства нарушителя, при появлении в зоне стоп-линии в момент времени между временем начала и временем окончания индикации красного сигнала светофора одной фазы; а также снимок светофора с видимым красным сигналом и сигналом дополнительной секции светофора и положения на проезжей части транспортного средства нарушителя, находящегося за воображаемой линией, соединяющей противоположные начала закруглений проезжих частей, во время индикации красного сигнала светофора одной фазы, в момент времени между временем начала и временем окончания индикации красного сигнала светофора одной фазы, причем на всех снимках присутствует дата и время снимка.

Описание

[1]

Изобретение относится к области регулирования движения дорожного транспорта, а именно к системам и способам определения нарушений правил дорожного движения при проезде перекрестка, и может быть использовано для определения нарушений правил дорожного движения «об остановке перед стоп-линией при запрещающем сигнале светофора» и «проезд на запрещающий сигнал светофора» на перекрестках со светофорным регулированием.

[2]

Известны системы и способы определения нарушений ПДД (правил дорожного движения), в которых сначала средствами видеофиксации производят захват изображения заданного участка дороги с ТС (транспортным средством) и передают данные в электронно-вычислительное устройство по имеющимся каналам связи. Обработку данных выполняют посредством электронно-вычислительного устройства с помощью программных средств, при этом распознают номер государственного регистрационного знака транспортного средства (ГРЗ ТС) и определяют параметры движения ТС, например скорость движения ТС, и сравнивают параметры движения ТС с допустимыми по ПДД на данном участке дороги, на основании чего определяют наличие факта нарушения ПДД и формируют для транспортного средства нарушителя информации о факте нарушения ПДД в виде данных о параметрах движения ТС и фотоснимков, фиксирующих положение ТС на проезжей части и ГРЗ ТС. В качестве средств видеофиксации используют видеокамеры высокого разрешения, которые располагают на заданном расстоянии относительно возможного объекта наблюдения.

[3]

Наиболее близкой к заявленному изобретению является система определения нарушения ПДД «проезд на запрещающий сигнал светофора» при проезде перекрестка, описанная в заявке на полезную модель CN 201247530 (Y), которая содержит соединенные между собой обзорную камеру, выполненную с возможностью формирования изображения ТС нарушителя в момент пересечения стоп-линий, светофорную камеру, выполненную с возможностью формирования изображения сигналов светофора в момент пересечения стоп-линий ТС нарушителя, а также электронно-вычислительное устройство, выполненное с возможностью обработки информации с обеих камер, при этом определения нарушения транспортным средством правила дорожного движения «проезд на запрещающий сигнал светофора». Данная система выбрана в качестве прототипа заявленного изобретения.

[4]

Недостатком системы прототипа является недостаточная функциональность вследствие отсутствия возможности определения нарушения ПДД «об остановке перед стоп-линией при запрещающем сигнале светофора», а также недостаточная эффективность в смысле полноты визуальной доказательной базы факта нарушения ПДД вследствие отсутствия у светофорной камеры возможности формирования снимка ТС нарушителя и одновременно сигнала светофора в момент нарушения ПДД.

[5]

Задачей заявленного изобретения является создание системы и способа определения нарушений правил дорожного движения при проезде перекрестка «об остановке перед стоп-линией при запрещающем сигнале светофора» и «проезд на запрещающий сигнал светофора» с улучшенной функциональностью за счет наличия возможности определения нарушения правила дорожного движения «об остановке перед стоп-линией при запрещающем сигнале светофора», а также с большей эффективностью в смысле полноты визуальной доказательной базы факта нарушения правил дорожного движения вследствие наличия у светофорной камеры возможности формирования снимка транспортного средства нарушителя и одновременно сигнала светофора в момент нарушения правила дорожного движения.

[6]

Поставленная задача решена путем создания системы определения нарушений правил дорожного движения при проезде перекрестка, содержащей, по меньшей мере, одну светофорную камеру, по меньшей мере, одну обзорную камеру и средство передачи данных, соединенные с электронно-вычислительным устройством, которое содержит память с управляющей программой, отличающейся тем, что обзорная камера выполнена с возможностью формирования изображения зоны стоп-линий, включающей в себя полосы движения проезжей части встречного направления и расположенной между стоп-линией и ближайшей к ней воображаемой линией перекрестка, соединяющей противоположные начала закруглений проезжих частей, а также изображения зоны, расположенной за воображаемой линией перекрестка, соединяющей противоположные начала закруглений проезжих частей; светофорная камера выполнена с возможностью формирования изображения сигналов светофора, регулирующего движение транспортных средств, и одновременно изображения зоны стоп-линий и зоны, расположенной за воображаемой линией перекрестка; электронно-вычислительное устройство с помощью управляющей программы выполнено с возможностью получения и записи в память изображения с обзорной и светофорной камер, с возможностью распознавания на изображении со светофорной камеры индикации сигналов светофора, при этом определения времени начала и времени окончания индикации красного сигнала светофора одной фазы и времени наличия зеленого сигнала в дополнительной секции светофора, с возможностью распознавания государственного регистрационного знака транспортного средства (ГРЗ ТС) и государственного регистрационного номера транспортного средства на изображении с обзорной камеры и определения момента времени распознавания ГРЗ ТС, с возможностью определения нарушения транспортным средством правила дорожного движения «об остановке перед стоп-линией при запрещающем сигнале светофора», при распознавании ГРЗ ТС в зоне стоп-линий на изображении с обзорной камеры в момент времени между временем начала и временем окончания индикации красного сигнала светофора одной фазы, при одновременном отсутствии зеленого сигнала в дополнительной секции светофора для полосы движения, в которой находится транспортное средство; а также с возможностью определения нарушения транспортным средством правила дорожного движения «проезд на запрещающий сигнал светофора», при определении перемещения ГРЗ ТС в зоне стоп-линий на изображении с обзорной камеры во время индикации красного сигнала светофора, при одновременном отсутствии зеленого сигнала в дополнительной секции светофора для полосы движения, в которой находится транспортное средство, и последующего исчезновения ГРЗ ТС за воображаемой линией перекрестка, соединяющей противоположные начала закруглений проезжих частей, во время индикации красного сигнала светофора одной фазы, при одновременном отсутствии зеленого сигнала в дополнительной секции светофора для полосы движения, в которой находится транспортное средство; а также с возможностью формирования для транспортного средства нарушителя информации о факте нарушения правил дорожного движения «об остановке перед стоп-линией при запрещающем сигнале светофора» и «проезд на запрещающий сигнал светофора», при этом средство передачи данных выполнено с возможностью передачи информации о факте нарушения правил дорожного движения в удаленный центр обработки информации.

[7]

В предпочтительном варианте осуществления системы стоп-линия является реальной, нанесенной на проезжую часть, или воображаемой, проходящей через светофор и проезжую часть.

[8]

В предпочтительном варианте осуществления системы обзорная камера установлена во встречном потоку транспортных средств направлении.

[9]

В предпочтительном варианте осуществления системы светофорная камера установлена в попутном потоку транспортных средств направлении.

[10]

В предпочтительном варианте осуществления системы она содержит, по меньшей мере, одну светофорную камеру, по меньшей мере, одну обзорную камеру и средство передачи данных, соединенные с электронно-вычислительным устройством через коммутатор.

[11]

В предпочтительном варианте осуществления системы она содержит инфракрасный прожектор, выполненный с возможностью подсвечивания в инфракрасном диапазоне ГРЗ транспортных средств, находящихся в поле зрения обзорной камеры.

[12]

В предпочтительном варианте осуществления системы она содержит инфракрасный прожектор, установленный во встречном потоку транспортных средств направлении.

[13]

В предпочтительном варианте осуществления системы светофорная камера и обзорная камера синхронизированы по времени.

[14]

В предпочтительном варианте осуществления системы электронно-вычислительное устройство посредством управляющей программы выполнено с возможностью распознавания государственного регистрационного знака транспортного средства (ГРЗ ТС) и государственного регистрационного номера транспортного средства на изображении с обзорной камеры и определения момента времени распознавания ГРЗ ТС, при этом формирования базы статистических данных о проезжающих транспортных средствах по распознанным ГРЗ ТС.

[15]

В предпочтительном варианте осуществления системы средство передачи данных выполнено с возможностью передачи информации о факте нарушения правил парковки в удаленный Центр автоматизированной фиксации административных правонарушений в области дорожного движения (ЦАФАП ОДД) ГИБДД ГУ МВД России.

[16]

В предпочтительном варианте осуществления системы средство передачи данных, выполнено с возможностью передачи информации о факте нарушения правил парковки по беспроводному или проводному каналу передачи данных.

[17]

В предпочтительном варианте осуществления системы она содержит, по меньшей мере, одну светофорную камеру, по меньшей мере, одну обзорную камеру и средство передачи данных, соединенные с электронно-вычислительным устройством по беспроводному или проводному каналу передачи данных.

[18]

В предпочтительном варианте осуществления системы электронно-вычислительное устройство с помощью управляющей программы выполнено с возможностью распознавания ГРЗ ТС на изображении с обзорной камеры, записи государственного регистрационного номера в память, при этом формирования базы статистических данных о проезжающих транспортных средствах.

[19]

В предпочтительном варианте осуществления системы электронно-вычислительное устройство посредством управляющей программы выполнено с возможностью записи в память видеоинформации с камер, начиная с момента определения нарушения транспортным средством правила дорожного движения и кончая моментом выхода транспортного средства за пределы зон обзора камер.

[20]

В предпочтительном варианте осуществления системы электронно-вычислительное устройство с помощью управляющей программы выполнено с возможностью записи в память информации о факте нарушения правил дорожного движения «об остановке перед стоп-линией при запрещающем сигнале светофора» и «проезд на запрещающий сигнал светофора».

[21]

В предпочтительном варианте осуществления системы электронно-вычислительное устройство соединено с контроллером светофора и выполнено с возможностью считывания с него времени начала и времени окончания индикации красного сигнала светофора одной фазы и времени наличия зеленого сигнала в дополнительной секции светофора, при этом электронно-вычислительное устройство не учитывает распознанную на изображении со светофорной камеры индикацию сигналов светофора при определении времени индикации сигналов светофора.

[22]

В предпочтительном варианте осуществления системы информация о факте нарушения правила дорожного движения «об остановке перед стоп-линией при запрещающем сигнале светофора» для каждого транспортного средства нарушителя содержит: данные о времени, дате и месте нарушения правил дорожного движения; данные о времени начала и времени окончания индикации красного сигнала светофора одной фазы по пути следования транспортного средства нарушителя; снимок полностью читаемого государственного регистрационного знака транспортного средства нарушителя; снимок полностью читаемого государственного регистрационного знака и части транспортного средства нарушителя, находящегося в зоне стоп-линий в момент времени между временем начала и временем окончания индикации красного сигнала светофора одной фазы; снимок общего положения на проезжей части транспортного средства нарушителя, находящегося в зоне стоп-линий в момент времени между временем начала и временем окончания индикации красного сигнала светофора одной фазы; снимок светофора с видимым красным сигналом и сигналом дополнительной секции светофора и положения на проезжей части транспортного средства нарушителя, при появлении в зоне стоп-линий в момент времени между временем начала и временем окончания индикации красного сигнала светофора одной фазы; а также снимок светофора с видимым красным сигналом и сигналом дополнительной секции светофора и положения на проезжей части транспортного средства нарушителя, в зоне стоп-линий в месте, наиболее близком к ее середине, в момент времени между временем начала и временем окончания индикации красного сигнала светофора одной фазы, причем на всех снимках присутствует дата и время снимка.

[23]

В предпочтительном варианте осуществления системы информация о факте нарушения правила дорожного движения «проезд на запрещающий сигнал светофора» для каждого транспортного средства нарушителя содержит: данные о времени, дате и месте нарушения правил дорожного движения; данные о времени начала и времени окончания индикации красного сигнала светофора одной фазы по пути следования транспортного средства нарушителя; снимок полностью читаемого государственного регистрационного знака транспортного средства нарушителя; снимок полностью читаемого государственного регистрационного знака и части транспортного средства нарушителя, находящегося за воображаемой линией, проходящей через светофор и проезжую часть, во время индикации красного сигнала светофора одной фазы; снимок общего положения на проезжей части транспортного средства нарушителя, находящегося за воображаемой линией, проходящей через светофор и проезжую часть, во время индикации красного сигнала светофора одной фазы; снимок светофора с видимым красным сигналом и сигналом дополнительной секции светофора и положения на проезжей части транспортного средства нарушителя, при появлении в зоне стоп-линий в момент времени между временем начала и временем окончания индикации красного сигнала светофора одной фазы; а также снимок светофора с видимым красным сигналом и сигналом дополнительной секции светофора и положения на проезжей части транспортного средства нарушителя, находящегося за воображаемой линией, соединяющей противоположные начала закруглений проезжих частей, во время индикации красного сигнала светофора одной фазы, в момент времени между временем начала и временем окончания индикации красного сигнала светофора одной фазы, причем на всех снимках присутствует дата и время снимка.

[24]

Поставленная задача решена также путем создания способа определения нарушений правил дорожного движения при проезде перекрестка, отличающегося тем, что формируют посредством обзорной камеры изображения зоны стоп-линий, включающей в себя полосы движения проезжей части встречного направления и расположенной между стоп-линией и ближайшей к ней воображаемой линией перекрестка, соединяющей противоположные начала закруглений проезжих частей, а также изображение зоны, расположенной за воображаемой линией перекрестка, соединяющей противоположные начала закруглений проезжих частей; формируют посредством светофорной камеры изображение сигналов светофора, регулирующего движение транспортных средств, и одновременно изображение зоны стоп-линий и зоны, расположенной за воображаемой линией перекрестка; посредством электронно-вычислительного устройства с помощью управляющей программы получают и записывают в память изображения с обзорной и светофорной камер, распознают на изображении со светофорной камеры индикацию сигналов светофора, при этом определяют время начала и время окончания индикации красного сигнала светофора одной фазы и время наличия зеленого сигнала в дополнительной секции светофора, распознают государственный регистрационный знак транспортного средства (ГРЗ ТС) и государственный регистрационный номер транспортного средства на изображении с обзорной камеры и определяют момент времени распознавания ГРЗ ТС, определяют нарушение транспортным средством правила дорожного движения «об остановке перед стоп-линией при запрещающем сигнале светофора», при распознавании ГРЗ ТС в зоне стоп-линий на изображении с обзорной камеры в момент времени между временем начала и временем окончания индикации красного сигнала светофора одной фазы, при одновременном отсутствии зеленого сигнала в дополнительной секции светофора для полосы движения, в которой находится транспортное средство, а также определяют нарушение транспортным средством правила дорожного движения «проезд на запрещающий сигнал светофора», при определении перемещения ГРЗ ТС в зоне стоп-линий на изображении с обзорной камеры во время индикации красного сигнала светофора, при одновременном отсутствии зеленого сигнала в дополнительной секции светофора для полосы движения, в которой находится транспортное средство, и последующего исчезновения ГРЗ ТС за воображаемой линией перекрестка, соединяющей противоположные начала закруглений проезжих частей, во время индикации красного сигнала светофора одной фазы, при одновременном отсутствии зеленого сигнала в дополнительной секции светофора для полосы движения, в которой находится транспортное средство, а также формируют для транспортного средства нарушителя информацию о факте нарушения правил дорожного движения «об остановке перед стоп-линией при запрещающем сигнале светофора» и «проезд на запрещающий сигнал светофора», при этом посредством средства передачи данных передают информацию о факте нарушения правил дорожного движения в удаленный центр обработки информации.

[25]

В предпочтительном варианте осуществления способа стоп-линия является реальной, нанесенной на проезжую часть, или воображаемой, проходящей через светофор и проезжую часть.

[26]

В предпочтительном варианте осуществления способа обзорная камера установлена во встречном потоку транспортных средств направлении.

[27]

В предпочтительном варианте осуществления способа светофорная камера установлена в попутном потоку транспортных средств направлении.

[28]

В предпочтительном варианте осуществления способа он содержит, по меньшей мере, одну светофорную камеру, по меньшей мере, одну обзорную камеру и средство передачи данных, соединенные с электронно-вычислительным устройством через коммутатор.

[29]

В предпочтительном варианте осуществления способа посредством инфракрасного прожектора подсвечивают в инфракрасном диапазоне ГРЗ транспортных средств, находящихся в поле зрения обзорной камеры.

[30]

В предпочтительном варианте осуществления способа инфракрасный прожектор, установлен во встречном потоку транспортных средств направлении.

[31]

В предпочтительном варианте осуществления способа светофорная камера и обзорная камера синхронизированы по времени.

[32]

В предпочтительном варианте осуществления способа посредством электронно-вычислительного устройства с помощью управляющей программы распознают государственный регистрационный знак транспортного средства (ГРЗ ТС) и государственный регистрационный номер транспортного средства на изображении с обзорной камеры и определяют момент времени распознавания ГРЗ ТС, при этом формируют базу статистических данных о проезжающих транспортных средствах по распознанным ГРЗ ТС.

[33]

В предпочтительном варианте осуществления способа посредством средства передачи данных передают информацию о факте нарушения правил парковки в удаленный Центр автоматизированной фиксации административных правонарушений в области дорожного движения (ЦАФАП ОДД) ГИБДД ГУ МВД России.

[34]

В предпочтительном варианте осуществления способа посредством средства передачи данных передают информацию о факте нарушения правил парковки по беспроводному или проводному каналу передачи данных.

[35]

В предпочтительном варианте осуществления способа он содержит, по меньшей мере, одну светофорную камеру, по меньшей мере, одну обзорную камеру и средство передачи данных, соединенные с электронно-вычислительным устройством по беспроводному или проводному каналу передачи данных.

[36]

В предпочтительном варианте осуществления способа посредством электронно-вычислительного устройства с помощью управляющей программы распознают ГРЗ ТС на изображении с обзорной камеры, записывают государственный регистрационный номер в память, при этом формируют базу статистических данных о проезжающих транспортных средствах.

[37]

В предпочтительном варианте осуществления способа посредством электронно-вычислительного устройства с помощью управляющей программы записывают в память видеоинформацию с камер, начиная с момента определения нарушения транспортным средством правила дорожного движения и кончая моментом выхода транспортного средства за пределы зон обзора камер.

[38]

В предпочтительном варианте осуществления способа посредством электронно-вычислительного устройства с помощью управляющей программы записывают в память информацию о факте нарушения правил дорожного движения «об остановке перед стоп-линией при запрещающем сигнале светофора» и «проезд на запрещающий сигнал светофора».

[39]

В предпочтительном варианте осуществления способа посредством электронно-вычислительного устройства с помощью управляющей программы считывают с контроллера светофора время начала и время окончания индикации красного сигнала светофора одной фазы и время наличия зеленого сигнала в дополнительной секции светофора, при этом посредством электронно-вычислительного устройства не учитывают распознанную на изображении со светофорной камеры индикацию сигналов светофора при определении времени индикации сигналов светофора.

[40]

В предпочтительном варианте осуществления способа информация о факте нарушения правила дорожного движения «об остановке перед стоп-линией при запрещающем сигнале светофора» для каждого транспортного средства нарушителя содержит: данные о времени, дате и месте нарушения правил дорожного движения; данные о времени начала и времени окончания индикации красного сигнала светофора одной фазы по пути следования транспортного средства нарушителя; снимок полностью читаемого государственного регистрационного знака транспортного средства нарушителя; снимок полностью читаемого государственного регистрационного знака и части транспортного средства нарушителя, находящегося в зоне стоп-линий в момент времени между временем начала и временем окончания индикации красного сигнала светофора одной фазы; снимок общего положения на проезжей части транспортного средства нарушителя, находящегося в зоне стоп-линий в момент времени между временем начала и временем окончания индикации красного сигнала светофора одной фазы; снимок светофора с видимым красным сигналом и сигналом дополнительной секции светофора и положения на проезжей части транспортного средства нарушителя, при появлении в зоне стоп-линий в момент времени между временем начала и временем окончания индикации красного сигнала светофора одной фазы; а также снимок светофора с видимым красным сигналом и сигналом дополнительной секции светофора и положения на проезжей части транспортного средства нарушителя, в зоне стоп-линий в месте, наиболее близком к ее середине, в момент времени между временем начала и временем окончания индикации красного сигнала светофора одной фазы, причем на всех снимках присутствует дата и время снимка.

[41]

В предпочтительном варианте осуществления способа информация о факте нарушения правила дорожного движения «проезд на запрещающий сигнал светофора» для каждого транспортного средства нарушителя содержит: данные о времени, дате и месте нарушения правил дорожного движения; данные о времени начала и времени окончания индикации красного сигнала светофора одной фазы по пути следования транспортного средства нарушителя; снимок полностью читаемого государственного регистрационного знака транспортного средства нарушителя; снимок полностью читаемого государственного регистрационного знака и части транспортного средства нарушителя, находящегося за воображаемой линией, соединяющей противоположные начала закруглений проезжих частей, во время индикации красного сигнала светофора одной фазы; снимок общего положения на проезжей части транспортного средства нарушителя, находящегося за воображаемой линией, проходящей через светофор и проезжую часть, во время индикации красного сигнала светофора одной фазы; снимок светофора с видимым красным сигналом и сигналом дополнительной секции светофора и положения на проезжей части транспортного средства нарушителя, при появлении в зоне стоп-линий в момент времени между временем начала и временем окончания индикации красного сигнала светофора одной фазы; а также снимок светофора с видимым красным сигналом и сигналом дополнительной секции светофора и положения на проезжей части транспортного средства нарушителя, находящегося за воображаемой линией, соединяющей противоположные начала закруглений проезжих частей, во время индикации красного сигнала светофора одной фазы, в момент времени между временем начала и временем окончания индикации красного сигнала светофора одной фазы, причем на всех снимках присутствует дата и время снимка.

[42]

Для лучшего понимания заявленного изобретения далее приводится его подробное описание с соответствующими графическими материалами.

[43]

Фиг.1. Общая блок-схема варианта выполнения заявленной системы согласно изобретению.

[44]

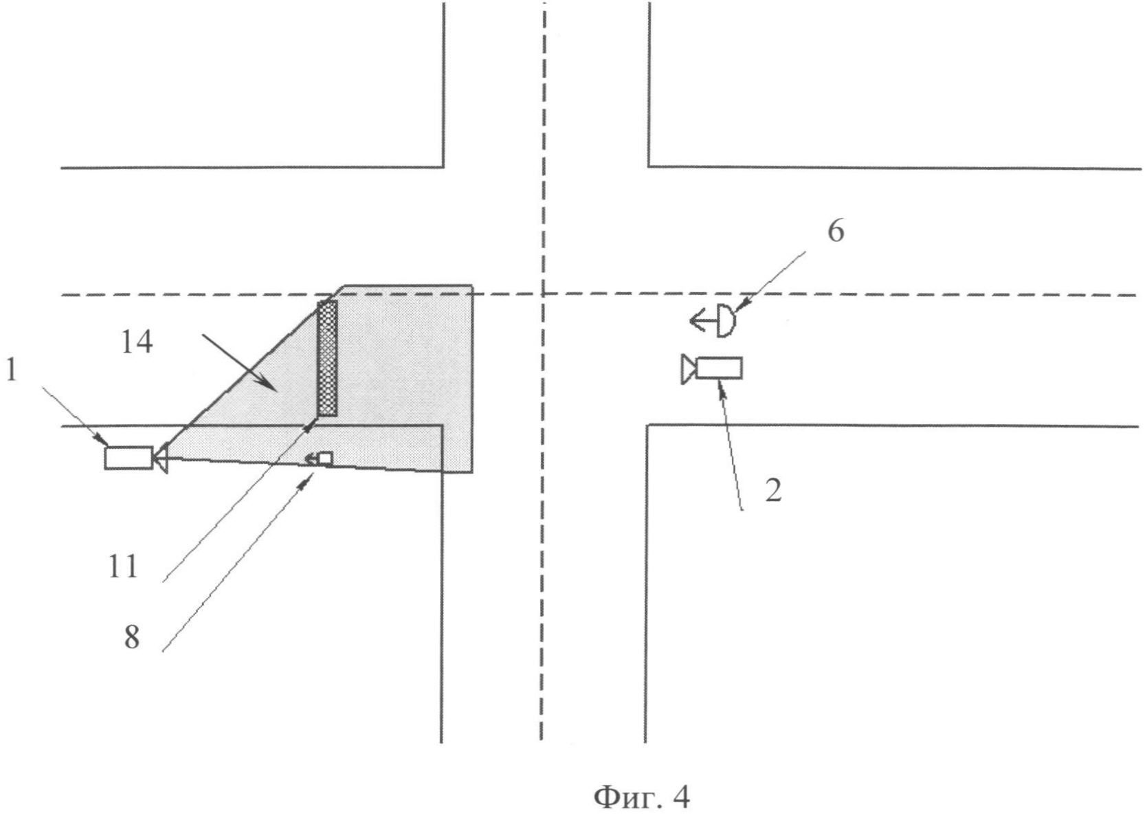
Фиг.2. Общая схема расположения элементов заявленной системы, зоны обзора светофорной камеры и зоны обзора обзорной камеры на перекрестке на дороге с односторонним движением и тремя полосами движения согласно изобретению.

[45]

Фиг.3. Схема варианта расположения элементов заявленной системы и зоны стоп-линий на перекрестке на дороге с двухсторонним движением и одной полосой движения в каждом направлении согласно изобретению.

[46]

Фиг.4. Схема варианта расположения элементов заявленной системы и зоны обзора светофорной камеры на перекрестке на дороге с двухсторонним движением и одной полосой движения в каждом направлении согласно изобретению.

[47]

Фиг.5. Схема варианта расположения элементов заявленной системы и зоны обзора обзорной камеры на перекрестке на дороге с двухсторонним движением и одной полосой движения в каждом направлении согласно изобретению.

[48]

Фиг.6. Пример снимков и данных, формируемых заявленной системой в качестве информации о факте нарушения правила дорожного движения «об остановке перед стоп-линией при запрещающем сигнале светофора» для транспортного средства нарушителя согласно изобретению.

[49]

Рассмотрим вариант выполнения заявленных системы и способа определения нарушений правил дорожного движения при проезде перекрестка (Фиг.1-5).

[50]

Заявленная система содержит одну светофорную камеру 1, обзорную камеру 2 и электронно-вычислительное устройство 3 (выполненное в виде сервера), которое содержит память с управляющей программой, соединенные между собой через коммутатор 4, содержащий средство передачи данных 5. Кроме того, заявленная система содержит инфракрасный прожектор 6, соединенный с линией городского освещения и получающий от нее электропитание. Электронно-вычислительное устройство соединено также с контроллером 7 светофора 8.

[51]

Обзорная камера 2 установлена во встречном потоку транспортных средств направлении и формирует изображение своей зоны обзора 9, а именно изображение зоны 10 стоп-линий, включающей в себя полосы движения проезжей части встречного направления и расположенная между стоп-линией 11 и ближайшей к ней воображаемой линией 12 перекрестка, соединяющей противоположные начала закруглений проезжих частей, а также изображение зоны 13, расположенной за воображаемой линией 12 перекрестка, соединяющей противоположные начала закруглений проезжих частей.

[52]

Светофорная камера 1 установлена в попутном потоку транспортных средств направлении и формирует изображение своей зоны 14 обзора, а именно изображение сигналов светофора 8, и одновременно изображение зоны 10 стоп-линий 11 и зоны, расположенной за воображаемой линией 12 перекрестка.

[53]

Электронно-вычислительное устройство 3 посредством управляющей программы выполняет следующие функции. Получает и записывает в память изображения с обзорной и светофорной камер 2, 1. Распознает на изображении со светофорной камеры 1 индикацию сигналов светофора 8 или получает данные об индикации сигналов светофора 8 от контроллера 7 светофора 8, при этом определяет время начала и время окончания индикации красного сигнала светофора 8 одной фазы и время наличия зеленого сигнала в дополнительной секции светофора 8. Распознает государственный регистрационный знак транспортного средства (ГРЗ ТС) и государственный регистрационный номер транспортного средства на изображении с обзорной камеры, при этом формирует в памяти базу статистических данных о проезжающих транспортных средствах по распознанным ГРЗ ТС, и определяет момент времени распознавания ГРЗ ТС. Определяет нарушение транспортным средством правила дорожного движения «об остановке перед стоп-линией при запрещающем сигнале светофора», при распознавании ГРЗ ТС в зоне 10 стоп-линий 11 на изображении с обзорной камеры 2 в момент времени между временем начала и временем окончания индикации красного сигнала светофора 8 одной фазы, при одновременном отсутствии зеленого сигнала в дополнительной секции светофора 8 для полосы движения, в которой находится транспортное средство. Определяет нарушение транспортным средством правила дорожного движения «проезд на запрещающий сигнал светофора», при определении перемещения ГРЗ ТС в зоне 10 стоп-линий 11 на изображении с обзорной камеры 2 во время индикации красного сигнала светофора 8, при одновременном отсутствии зеленого сигнала в дополнительной секции светофора 8 для полосы движения, в которой находится транспортное средство, и последующего исчезновения ГРЗ ТС за воображаемой линией 12 перекрестка, соединяющей противоположные начала закруглений проезжих частей, во время индикации красного сигнала светофора 8 одной фазы, при одновременном отсутствии зеленого сигнала в дополнительной секции светофора 8 для полосы движения, в которой находится транспортное средство. Формирует для транспортного средства нарушителя и записывает в память информацию о факте нарушения правил дорожного движения «об остановке перед стоп-линией при запрещающем сигнале светофора» и «проезд на запрещающий сигнал светофора».

[54]

Средство 5 передачи данных передает информацию о факте нарушения правил дорожного движения в удаленный Центр автоматизированной фиксации административных правонарушений в области дорожного движения (ЦАФАП ОДД) ГИБДД ГУ МВД России.

[55]

Информация о факте нарушения правила дорожного движения «об остановке перед стоп-линией при запрещающем сигнале светофора» для каждого транспортного средства нарушителя содержит: данные о времени, дате и месте нарушения правил дорожного движения; данные о времени начала и времени окончания индикации красного сигнала светофора одной фазы по пути следования транспортного средства нарушителя; снимок 15 (Фиг.6) полностью читаемого государственного регистрационного знака транспортного средства нарушителя; снимок 16 полностью читаемого государственного регистрационного знака и части транспортного средства нарушителя, находящегося в зоне стоп-линий в момент времени между временем начала и временем окончания индикации красного сигнала светофора одной фазы; снимок 17 общего положения на проезжей части транспортного средства нарушителя, находящегося в зоне стоп-линий в момент времени между временем начала и временем окончания индикации красного сигнала светофора одной фазы; снимок 18 светофора с видимым красным сигналом и сигналом дополнительной секции светофора и положения на проезжей части транспортного средства нарушителя, при появлении в зоне стоп-линий в момент времени между временем начала и временем окончания индикации красного сигнала светофора одной фазы; а также снимок 19 светофора с видимым красным сигналом и сигналом дополнительной секции светофора и положения на проезжей части транспортного средства нарушителя, в зоне стоп-линий в месте, наиболее близком к ее середине, в момент времени между временем начала и временем окончания индикации красного сигнала светофора одной фазы, причем на всех снимках присутствует дата и время снимка.

[56]

Информация о факте нарушения правила дорожного движения «проезд на запрещающий сигнал светофора» для каждого транспортного средства нарушителя содержит: данные о времени, дате и месте нарушения правил дорожного движения; данные о времени начала и времени окончания индикации красного сигнала светофора одной фазы по пути следования транспортного средства нарушителя; снимок полностью читаемого государственного регистрационного знака транспортного средства нарушителя; снимок полностью читаемого государственного регистрационного знака и части транспортного средства нарушителя, находящегося за воображаемой линией, проходящей через светофор и проезжую часть, во время индикации красного сигнала светофора одной фазы; снимок общего положения на проезжей части транспортного средства нарушителя, находящегося за воображаемой линией, проходящей через светофор и проезжую часть, во время индикации красного сигнала светофора одной фазы; снимок светофора с видимым красным сигналом и сигналом дополнительной секции светофора и положения на проезжей части транспортного средства нарушителя, при появлении в зоне стоп-линий в момент времени между временем начала и временем окончания индикации красного сигнала светофора одной фазы; а также снимок светофора с видимым красным сигналом и сигналом дополнительной секции светофора и положения на проезжей части транспортного средства нарушителя, находящегося за воображаемой линией, соединяющей противоположные начала закруглений проезжих частей, во время индикации красного сигнала светофора одной фазы, в момент времени между временем начала и временем окончания индикации красного сигнала светофора одной фазы, причем на всех снимках присутствует дата и время снимка.

[57]

Хотя описанный выше вариант выполнения изобретения был изложен с целью иллюстрации настоящего изобретения, специалистам ясно, что возможны разные модификации, добавления и замены, не выходящие из объема и смысла настоящего изобретения, раскрытого в прилагаемой формуле изобретения.

Как компенсировать расходы
на инновационную разработку
Похожие патенты