патент
№ RU 2541306
МПК G07F11/26

УСТРОЙСТВО ДЛЯ ВЫДАЧИ ПАЧЕК ТАБАЧНЫХ ИЗДЕЛИЙ НА ТРАНСПОРТЁРНУЮ ЛЕНТУ КАССОВОГО УЗЛА СУПЕРМАРКЕТА

Авторы:
Завьялов Евгений Николаевич
Правообладатель:
Все (2)
Номер заявки
2013154723/12
Дата подачи заявки
11.12.2013
Опубликовано
10.02.2015
Страна
RU
Как управлять
интеллектуальной собственностью
Реферат

Изобретение относится к автоматам для выдачи отдельных изделий, снабженным хранилищами с транспортерами и индикаторными устройствами, и может быть использовано в кассовых узлах торговых супермаркетах и направлено на увеличение ассортимента отпускаемых товаров и повышение надежности работы. Устройство включает блок хранения пачек табачных изделий, панель выбора, узел транспортирования пачек и связанный с ними блок автоматического управления. Блок хранения пачек табачных изделий имеет корпус с группами кассет, расположенных в корпусе и на его распашных дверцах в два или более этажа. В каждой группе кассет имеются вертикальные каналы с выталкивателями пачек. Каждая из групп кассет имеет возможность поворота относительно горизонтальной оси, находящейся в ее нижней части, и снабжена установленным на этой оси фрикционным узлом. Ленты с внутренней стороны также имеют зубцы, соответствующие зубцам роликов, а с наружной стороны снабжены двумя лопатками, которые расположены на лентах так, что делят длину этих лент на две равные части. Один из роликов каждого из выталкивателей имеет электропривод, при этом каждый из выталкивателей снабжен оптическим датчиком для возможности остановки ленточного транспортера в положении ожидания сигнала о выдаче очередной пачки. 8 з.п. ф-лы, 29 ил.

Формула изобретения

1. Устройство для выдачи пачек табачных изделий на транспортерную ленту кассового узла супермаркета, включающее блок хранения пачек табачных изделий, панель выбора товара, которая расположена над транспортерной лентой кассового узла, узел транспортирования пачек табачных изделий и связанный с ними блок автоматического управления, при этом блок хранения пачек табачных изделий имеет расположенный под транспортерной лентой кассового узла корпус с группами кассет, расположенных в корпусе и на распашных дверцах корпуса, в каждой из групп кассет имеются вертикальные каналы с выталкивателями пачек табачных изделий, группы кассет имеют возможность выдвигаться из корпуса, узел транспортирования пачек табачных изделий состоит из продольного транспортера, в концевой части которого находятся поперечный и вертикальный транспортеры, причем вертикальный транспортер заканчивается каналом выдачи пачек табачных изделий на транспортерную ленту кассового узла, отличающееся тем, что группы кассет расположены в корпусе и на распашных дверцах блока хранения изделий в два или более этажа, каждая из групп кассет имеет возможность поворота относительно горизонтальной оси, находящейся в ее нижней части, для чего она снабжена установленным на этой оси фрикционным узлом, который содержит корпус цилиндрической формы с выполненным в его средней части цилиндрическим отверстием, установленную в этом отверстии обойму с роликами, образующую с поверхностью цилиндрического отверстия сужающиеся каналы для роликов, с боковых сторон к обойме прикреплены фторопластовые кольца, цилиндрическое отверстие корпуса по торцам закрыто крышками, у каждой из которых на стороне, обращенной к корпусу, выполнена кольцевая канавка, а на краях цилиндрического отверстия выполнены ответные этим канавкам кольцевые выступы, при этом на внутренней поверхности одной из крышек выполнены выступы, а на внутренней поверхности другой крышки выполнены ответные этим выступам углубления, крышки притянуты друг к другу с помощью стяжного регулировочного винта, который проходит через центральное отверстие, выполненное в одной из крышек, через отверстия в установленных в этой крышке тарельчатых пружинах и ввинчен в центральное отверстие, выполненное в другой крышке, причем на наружной поверхности корпуса фрикционного узла имеется средство для его крепления к стенке группы кассет и, по меньшей мере, на одной из крышек имеется средство для крепления к корпусу блока хранения пачек табачных изделий.

2. Устройство по п.1, отличающееся тем, что выталкиватели пачек табачных изделий из вертикальных каналов кассет выполнены в виде ленточных транспортеров, ролики этих транспортеров имеют на рабочей поверхности зубцы, ленты с внутренней стороны также имеют зубцы, соответствующие зубцам роликов, а с наружной стороны снабжены двумя лопатками, которые расположены на лентах так, что делят длину лент на две равные части, один из роликов каждого из выталкивателей имеет электропривод, при этом каждый из выталкивателей снабжен оптическим датчиком, связанным через блок автоматического управления с его электроприводом для возможности остановки ленточного транспортера в положении ожидания сигнала о выдаче очередной пачки.

3. Устройство по п.2, отличающееся тем, что каждый из выталкивателей оснащен фиксатором для возможности его закрепления на горизонтальных рейках в любом месте группы кассет.

4. Устройство по п.3, отличающееся тем, что фиксаторы для закрепления выталкивателей имеют оппозитно расположенные пружинящие пластины с крюковыми захватами на концах.

5. Устройство по любому из пп.1 или 2, отличающееся тем, что каждый из каналов кассеты имеет ультразвуковой датчик для определения количества пачек табачных изделий в канале, связанный через блок автоматического управления с панелью выбора товара.

6. Устройство по любому из пп.1 или 2, отличающееся тем, что канал выдачи изделий дополнительно имеет окно, предназначенное для подачи пачек табачных изделий на наклонный лоток, расположенный со стороны оператора, для направления пачек табачных изделий в этот наклонный лоток, упомянутое окно снабжено фигурной заслонкой, одна из сторон которой выполнена изогнутой для обеспечения подачи пачек табачных изделий на транспортерную ленту кассового узла.

7. Устройство по п.1 или 2, отличающееся тем, что продольный и поперечный транспортеры узла транспортирования пачек табачных изделий снабжены дополнительными натяжными роликами для возможности изменения длины этих транспортеров.

8. Устройство по п.1 или 2, отличающееся тем, что к блоку хранения пачек табачных изделий присоединен, по меньшей мере, один дополнительный блок хранения пачек табачных изделий.

9. Устройство по п.1 или 2, отличающееся тем, что канал выдачи пачек табачных изделий имеет дополнительное окно для выдачи пачек табачных изделий на транспортерную ленту кассового узла при зеркально симметричном расположении места оператора.

Описание

[1]

Изобретение относится к автоматам для выдачи отдельных изделий, снабженным хранилищами с бесконечными конвейерными лентами, а также сигнальными или индикаторными устройствами, и может быть использовано в кассовых узлах торговых помещений типа супермаркетов с целью расширения ассортимента отпускаемых товаров и повышения надежности работы.

[2]

Предлагаемое устройство может входить в комплект кассового узла или может быть встроено в уже существующий кассовый узел.

[3]

Уровень техники

[4]

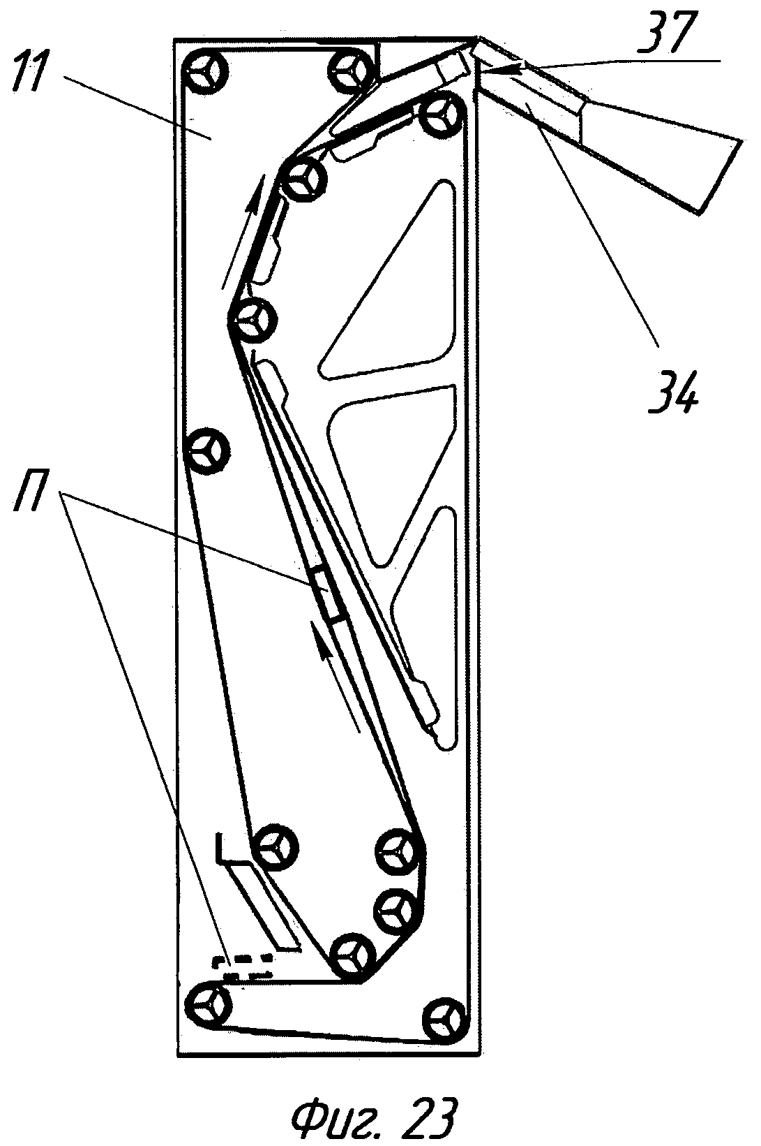
Из описания изобретения к заявке Европейского патентного ведомства, EP 2490188 А1, кл. G07F 11/10, G07F 11/26, опубл. 14.04.2012 г. [1], известно устройство для выдачи пачек табачных изделий на прилавок кассового узла супермаркета, содержащее блок хранения пачек табачных изделий, панель выбора, которая расположена над кассовым узлом, узел транспортирования пачек табачных изделий и связанный с ними блок автоматического управления. Блок хранения пачек табачных изделий имеет корпус с группами кассет, имеющих вертикальные каналы, из которых пачки табачных изделий продольным и вертикальным транспортерами передаются через канал выдачи на прилавок кассового узла. Возможность передачи из блока хранения на прилавок кассового узла изделий достигается в устройстве [1] за счет вертикального транспортера, корпус которого располагается в торце прилавка кассового узла, что значительно затрудняет выкладку товара покупателем на прилавок. Следует заметить также, что, несмотря на предлагаемое реверсирование потока и отбрасывание изделий (поз.2) в сборный резервуар (поз.16), на практике трудно будет избежать нежелательных остановок в подаче изделий.

[5]

Из описания изобретения к патенту Европейского патентного ведомства, EP 1860621 В1, кл. G07F 11/26, G07F 11/10, G47F 9/04, опубл. 22.05.2007 г. [2], известно устройство для выдачи пачек табачных изделий на транспортерную ленту кассового узла супермаркета, включающее блок хранения пачек табачных изделий, панель выбора товара, которая расположена над транспортерной лентой кассового узла, узел транспортирования пачек табачных изделий и связанный с ними блок автоматического управления, при этом блок хранения пачек табачных изделий имеет расположенный под транспортерной лентой кассового узла корпус с группами кассет, расположенных в корпусе и на распашных дверцах корпуса, в каждой из групп кассет имеются вертикальные каналы с выталкивателями пачек табачных изделий, группы кассет имеют возможность выдвигаться из корпуса, узел транспортирования пачек табачных изделий состоит из продольного транспортера, в концевой части которого находятся поперечный и вертикальный транспортеры, причем вертикальный транспортер заканчивается каналом выдачи пачек табачных изделий на транспортерную ленту кассового узла, имеющим окно для подключения к этому каналу транспортера, который обслуживает другой параллельно расположенный кассовый узел.

[6]

Изобретение [2] имеет недостатки в части конструкции блока хранения пачек табачных изделий. Во-первых, большая длина вертикальных каналов, предназначенных для размещения пачек табачных изделий, не позволяет расширить ассортимент выдаваемой продукции в процессе эксплуатации устройства. Во-вторых, возникает сомнение относительно возможности бесперебойной работы выталкивателя конструкции, предлагаемой авторами изобретения [2] (см. фиг.20). Очевидно, что даже при незначительном отклонении от номинального значения геометрических размеров или массы пачек (что вполне вероятно, учитывая, что речь идет о пачках табачных изделий) четкое функционирование кантующих элементов 29 и 30 будет затруднено, особенно когда над выталкиваемой пачкой останется всего две или три пачки, т.е. усилие, действующее на пачку сверху, уменьшится.

[7]

Технический результат предлагаемого изобретения - расширение ассортимента отпускаемой продукции, повышение надежности работы и удобство эксплуатации устройства.

[8]

Указанный технический результат достигается в устройстве для выдачи пачек табачных изделий на транспортерную ленту кассового узла супермаркета, включающем блок хранения пачек табачных изделий, панель выбора товара, которая расположена над транспортерной лентой кассового узла, узел транспортирования пачек табачных изделий и связанный с ними блок автоматического управления, при этом блок хранения пачек табачных изделий имеет расположенный под транспортерной лентой кассового узла корпус с группами кассет, расположенных в корпусе и на распашных дверцах корпуса, в каждой из групп кассет имеются вертикальные каналы с выталкивателями пачек табачных изделий, группы кассет имеют возможность выдвигаться из корпуса, узел транспортирования пачек табачных изделий состоит из продольного транспортера, в концевой части которого находятся поперечный и вертикальный транспортеры, причем вертикальный транспортер заканчивается каналом выдачи пачек табачных изделий на транспортерную ленту кассового узла, при этом группы кассет расположены в корпусе и на распашных дверцах блока хранения изделий в два или более этажа, каждая из групп кассет имеет возможность поворота относительно горизонтальной оси, находящейся в ее нижней части, для чего она снабжена установленным на этой оси фрикционным узлом, который содержит корпус цилиндрической формы с выполненным в его средней части цилиндрическим отверстием, установленную в этом отверстии обойму с роликами, образующую с поверхностью цилиндрического отверстия сужающиеся каналы для роликов, с боковых сторон к обойме прикреплены фторопластовые кольца, цилиндрическое отверстие корпуса по торцам закрыто крышками, у каждой из которых на стороне, обращенной к корпусу, выполнена кольцевая канавка, а на краях цилиндрического отверстия выполнены ответные этим канавкам кольцевые выступы, при этом на внутренней поверхности одной из крышек выполнены выступы, а на внутренней поверхности другой крышки выполнены ответные этим выступам углубления, крышки притянуты друг к другу с помощью стяжного регулировочного винта, который проходит через центральное отверстие, выполненное в одной из крышек, через отверстия в установленных в этой крышке тарельчатых пружинах и ввинчен в центральное отверстие, выполненное в другой крышке, причем на наружной поверхности корпуса фрикционного узла имеется средство для его крепления к стенке группы кассет и, по меньшей мере, на одной из крышек имеется средство для крепления к корпусу блока хранения пачек табачных изделий.

[9]

Предусмотрены следующие частные случаи выполнения изобретения.

[10]

Выталкиватели пачек табачных изделий из вертикальных каналов кассет выполнены в виде ленточных транспортеров, ролики этих транспортеров имеют на рабочей поверхности зубцы, ленты с внутренней стороны также имеют зубцы, соответствующие зубцам роликов, а с наружной стороны снабжены двумя лопатками, которые расположены на лентах так, что делят длину лент на две равные части, один из роликов каждого из выталкивателей имеет электропривод, при этом каждый из выталкивателей снабжен оптическим датчиком, связанным через блок автоматического управления с его электроприводом для возможности остановки ленточного транспортера в положении ожидания сигнала о выдаче очередной пачки.

[11]

Каждый из выталкивателей оснащен фиксатором для возможности его закрепления на горизонтальных рейках в любом месте группы кассет.

[12]

Фиксаторы для закрепления выталкивателей имеют оппозитно расположенные пружинящие пластины с крюковыми захватами на концах.

[13]

Каждый из каналов кассеты имеет ультразвуковой датчик для определения количества пачек табачных изделий в канале, связанный через блок автоматического управления с панелью выбора товара.

[14]

Канал выдачи изделий дополнительно имеет окно, предназначенное для подачи пачек табачных изделий на наклонный лоток, расположенный со стороны оператора, для направления пачек табачных изделий в этот наклонный лоток, упомянутое окно снабжено фигурной заслонкой, одна из сторон которой выполнена изогнутой для обеспечения подачи пачек табачных изделий на транспортерную ленту кассового узла.

[15]

Продольный и поперечный транспортеры узла транспортирования пачек табачных изделий снабжены дополнительными натяжными роликами для возможности изменения длины этих транспортеров.

[16]

К блоку хранения пачек табачных изделий присоединен, по меньшей мере, один дополнительный блок хранения пачек табачных изделий.

[17]

Канал выдачи пачек табачных изделий имеет дополнительное окно для выдачи пачек табачных изделий на транспортерную ленту кассового узла при зеркально симметричном расположении места оператора.

[18]

Далее описывается наиболее предпочтительный вариант выполнения предлагаемого изобретения.

[19]

Изобретение поясняется следующими чертежами.

[20]

Фиг.1. Общий вид устройства для выдачи пачек табачных изделий на транспортерную ленту кассового узла супермаркета в аксонометрии.

[21]

Фиг.2. То же, вид спереди.

[22]

Фиг.3. То же, вид сверху.

[23]

Фиг.4. Разрез по А-А на фиг.3 (увеличено).

[24]

Фиг.5. Общий вид устройства для выдачи пачек табачных изделий на транспортерную ленту кассового узла супермаркета в аксонометрии при от крытых дверцах блока хранения пачек.

[25]

Фиг.6. Дверца с группами кассет в открытом положении, вид Б на фиг.5.

[26]

Фиг.7. Дверца с группами кассет в открытом положении, вид сбоку на фиг.6.

[27]

Фиг.8. Блок хранения пачек табачных изделий, разрез А-А на фиг.3, дверцы открыты, группы кассет выдвинуты.

[28]

Фиг.9. Группа кассет, аксонометрия.

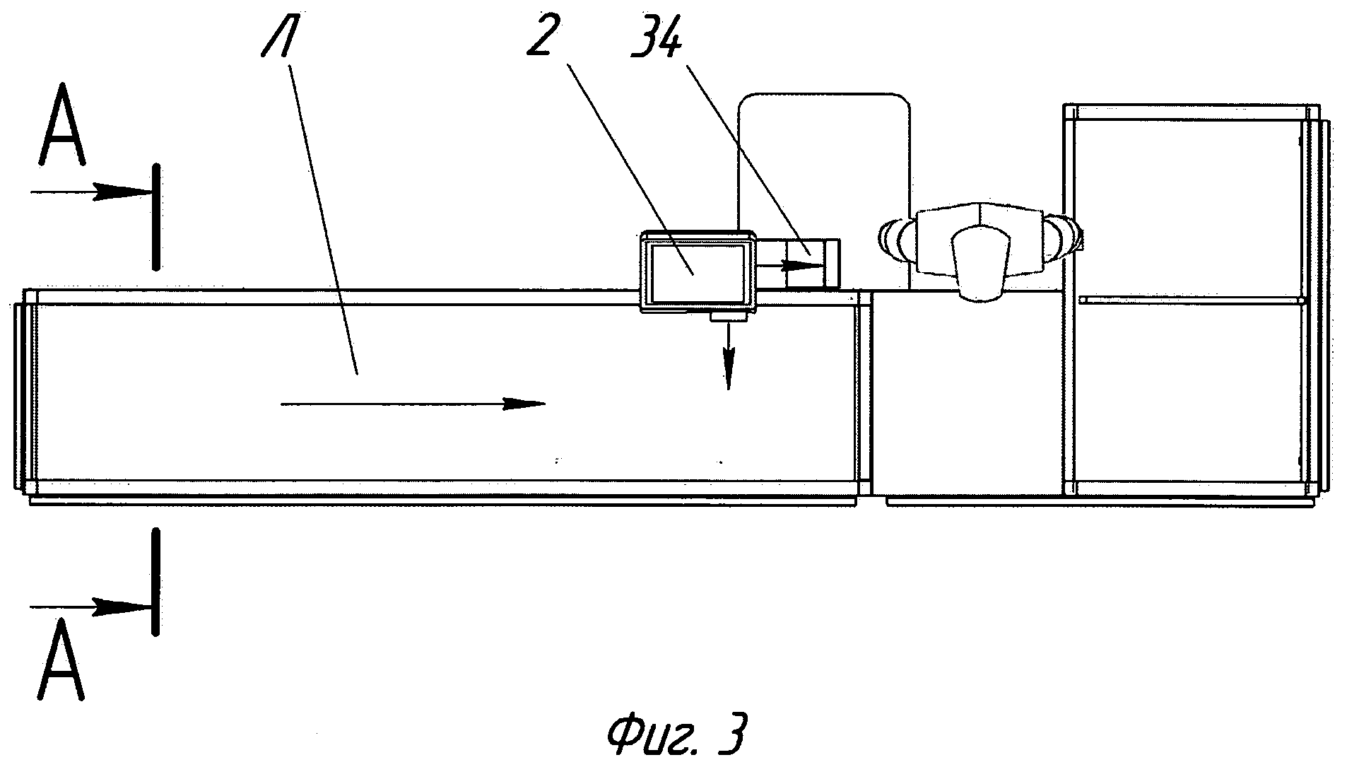
[29]

Фиг.10. Фрикционный узел, аксонометрия.

[30]

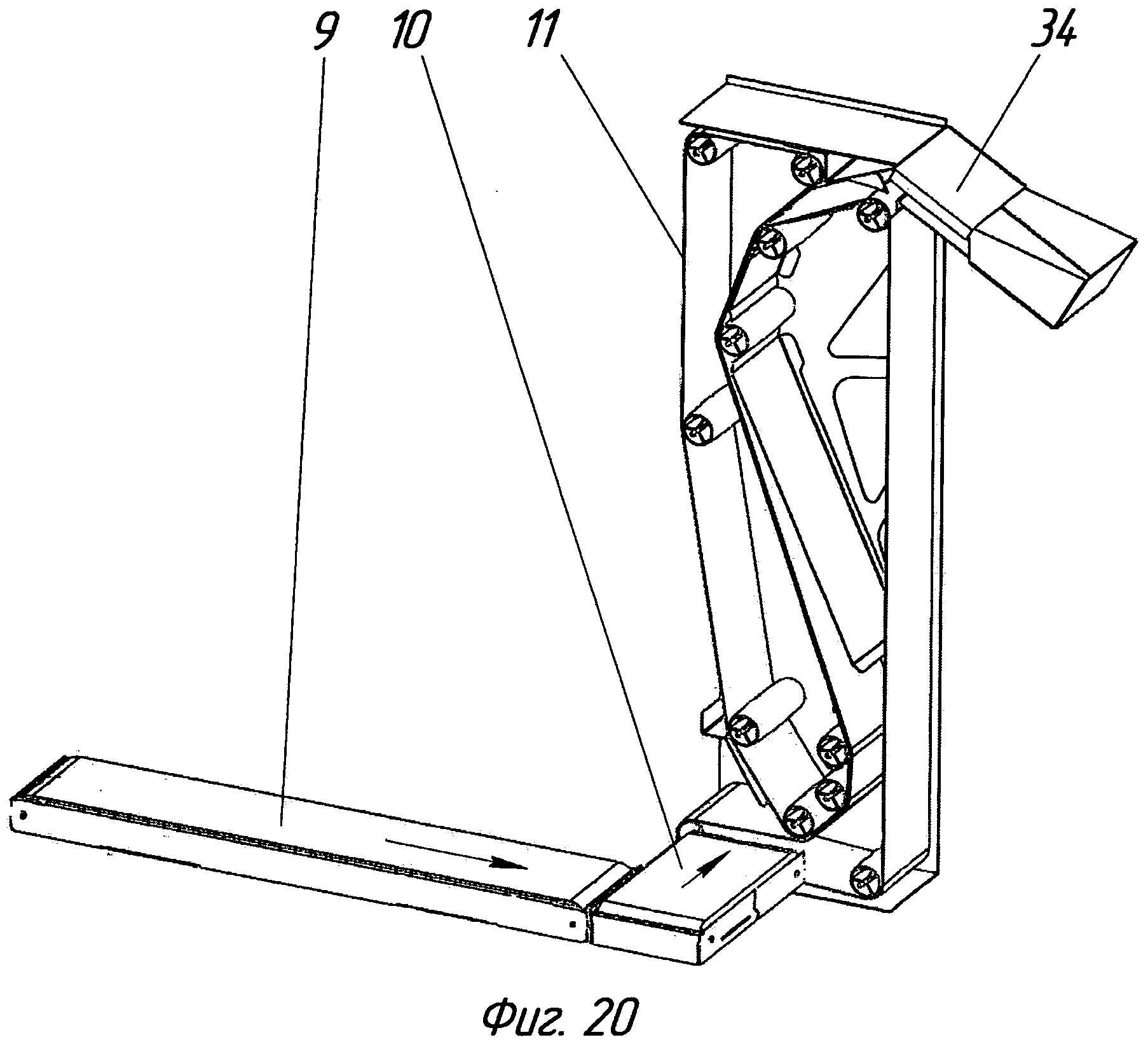
Фиг.11. Фрикционный узел в разрезе, вид спереди.

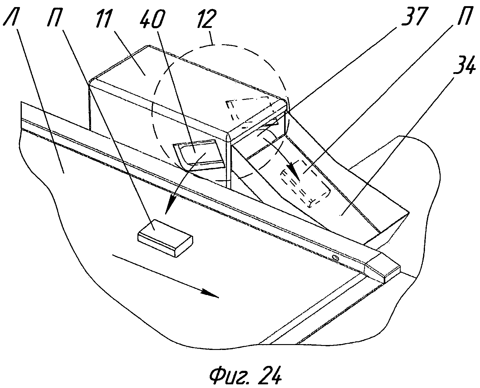
[31]

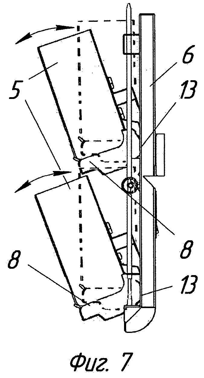
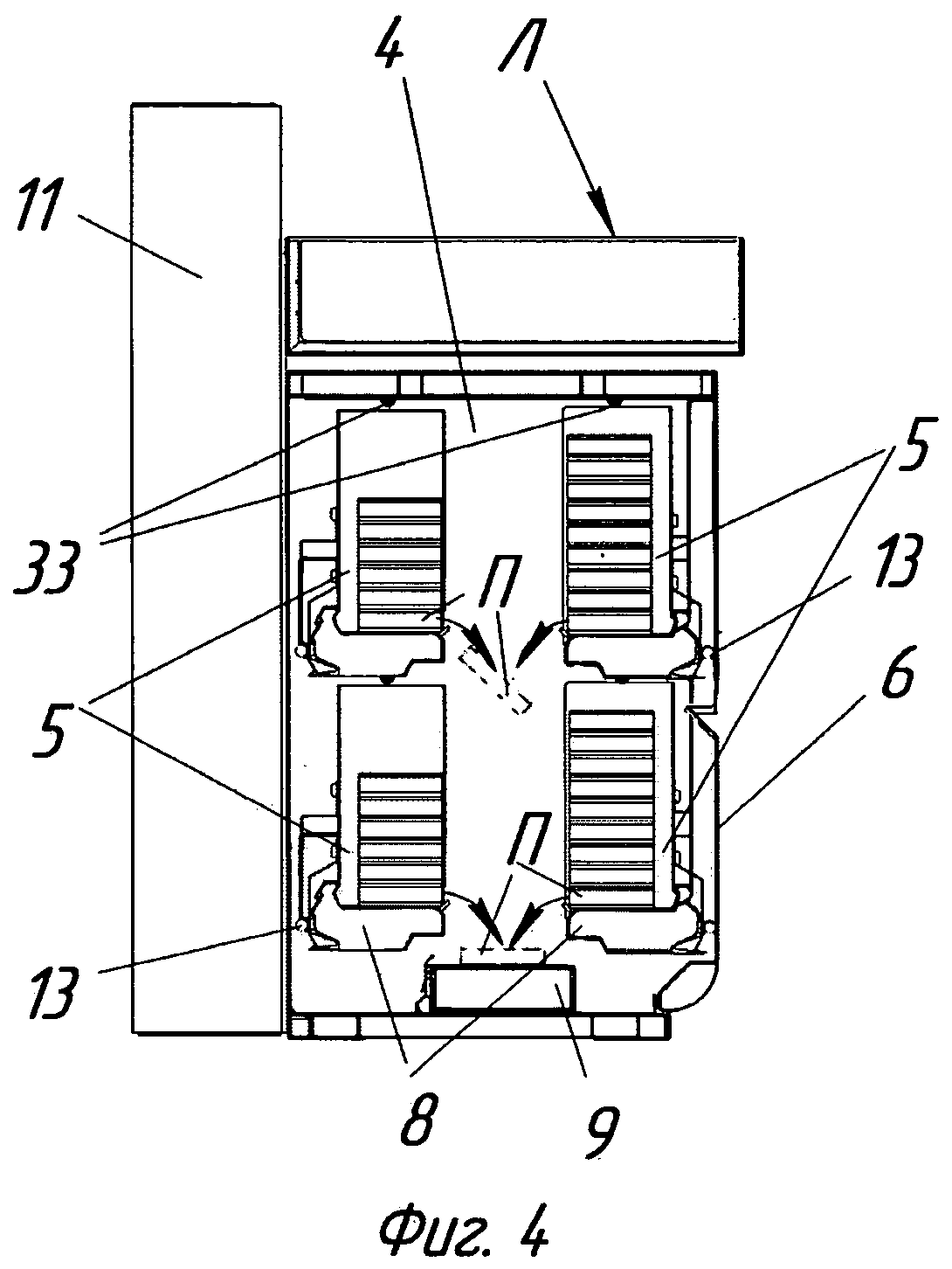
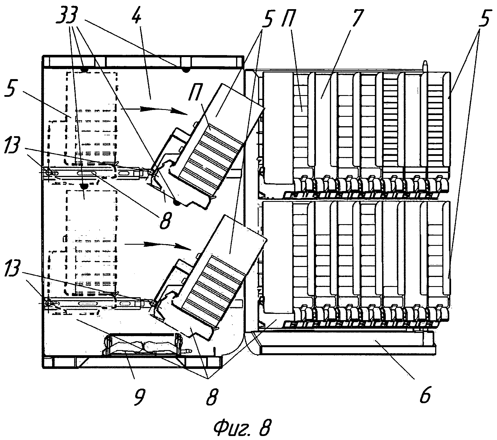
Фиг.12. Фрикционный узел в разрезе, вид сбоку.

[32]

Фиг.13-16. Последовательность работы выталкивателя пачек.

[33]

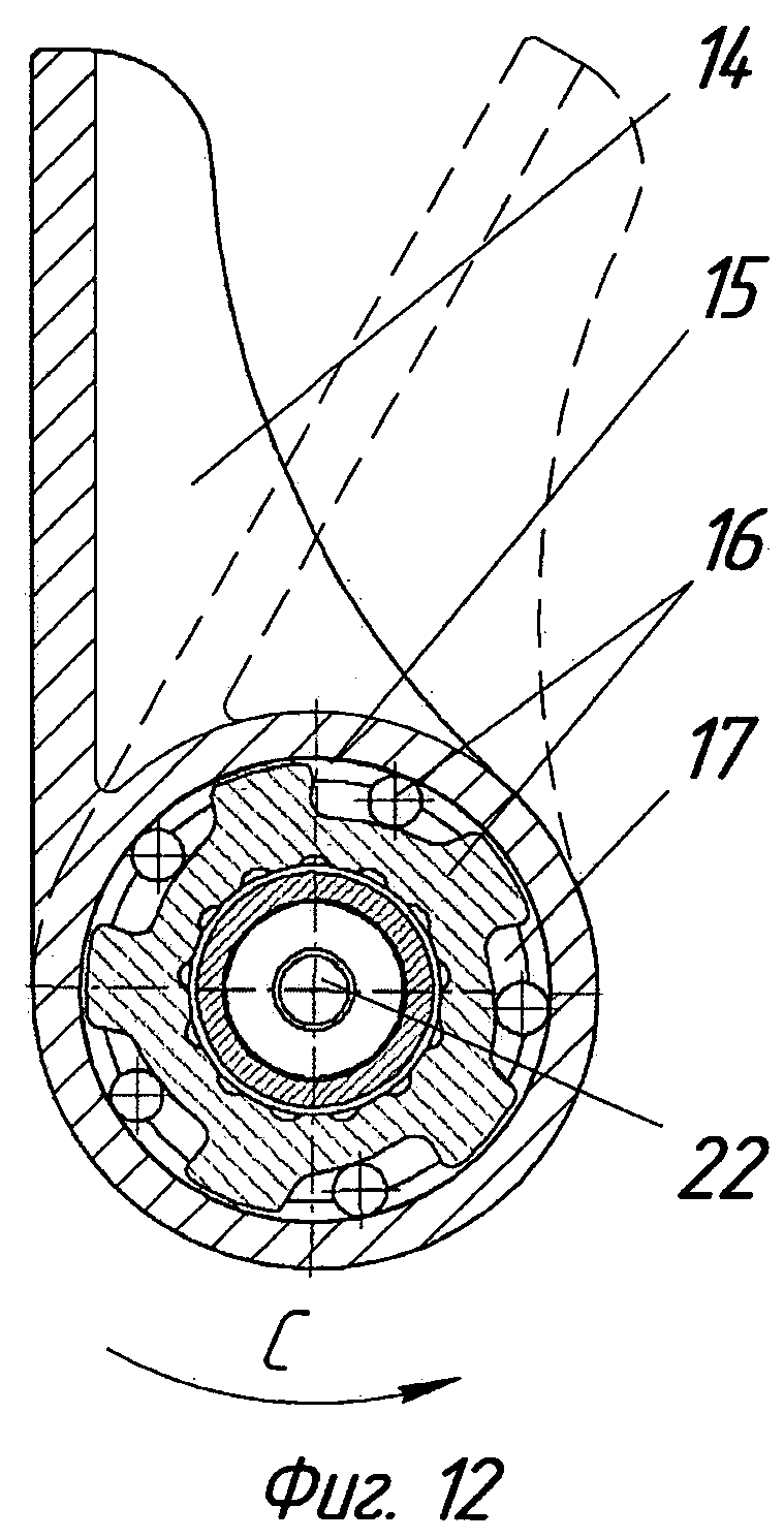
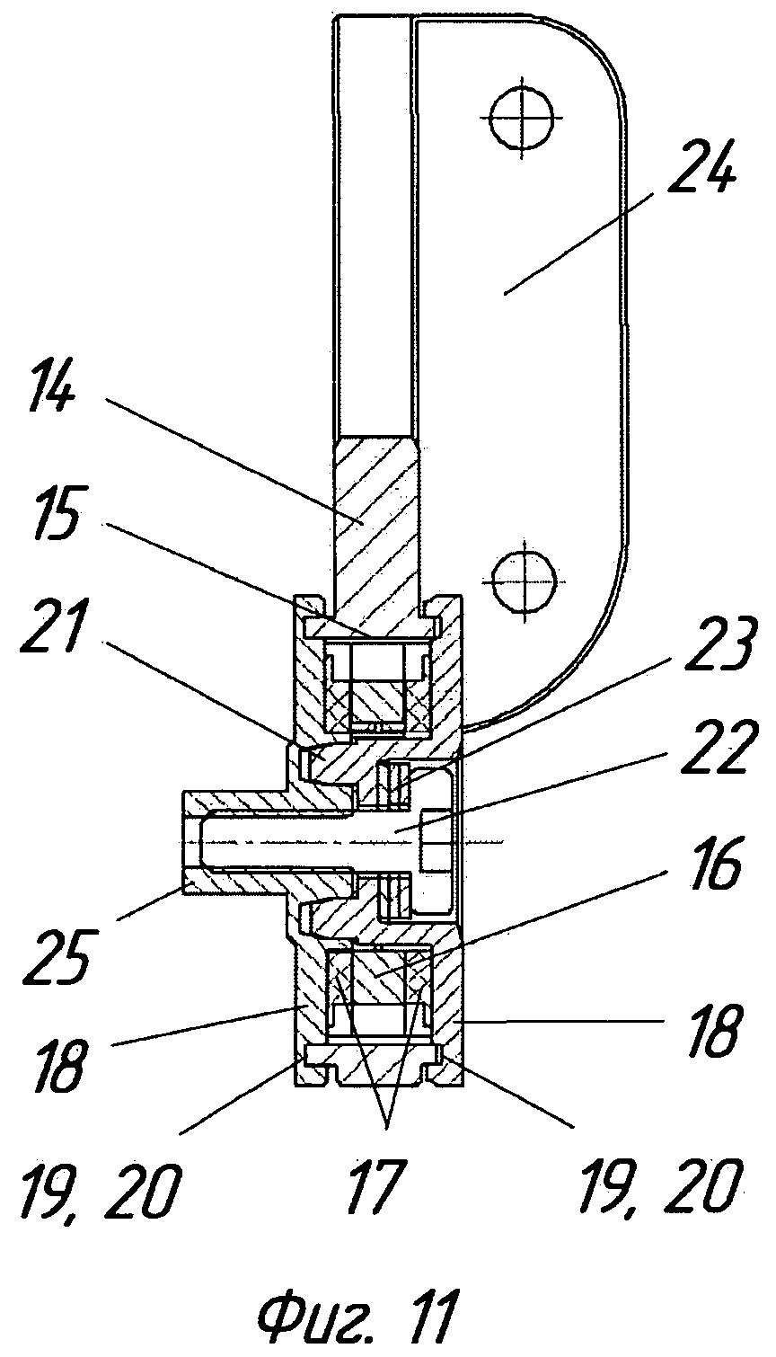
Фиг.17. Крепление выталкивателя пачек к горизонтальной рейке группы кассет, аксонометрия.

[34]

Фиг.18-19. Последовательность операций при закреплении выталкивателя пачек к горизонтальной рейке группы кассет, вид сбоку.

[35]

Фиг.20. Узел транспортирования пачек, аксонометрия.

[36]

Фиг.21. Поперечный транспортер с дополнительными роликами, предназначенными для возможности изменения его длины (аксонометрия).

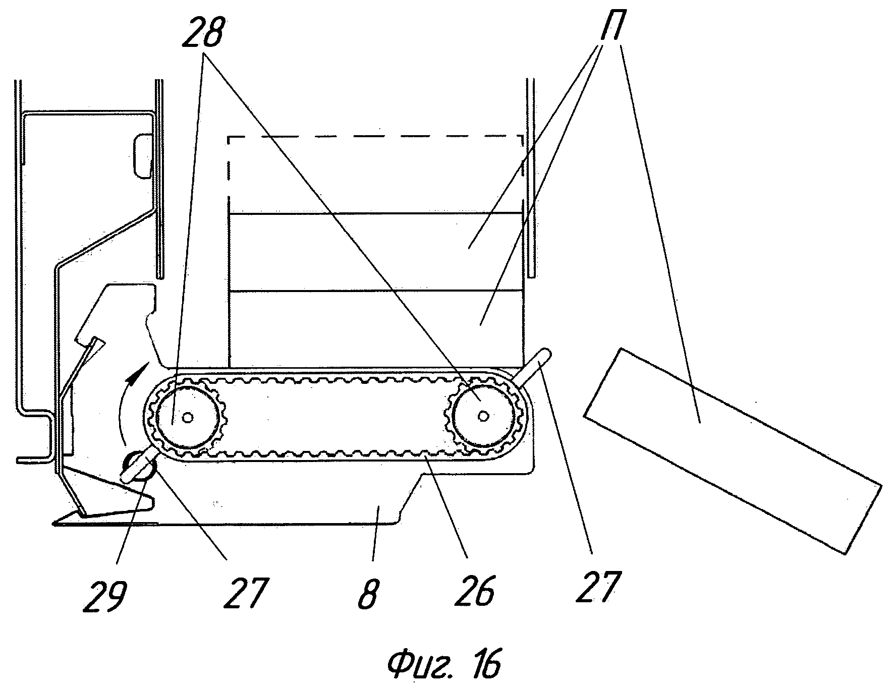
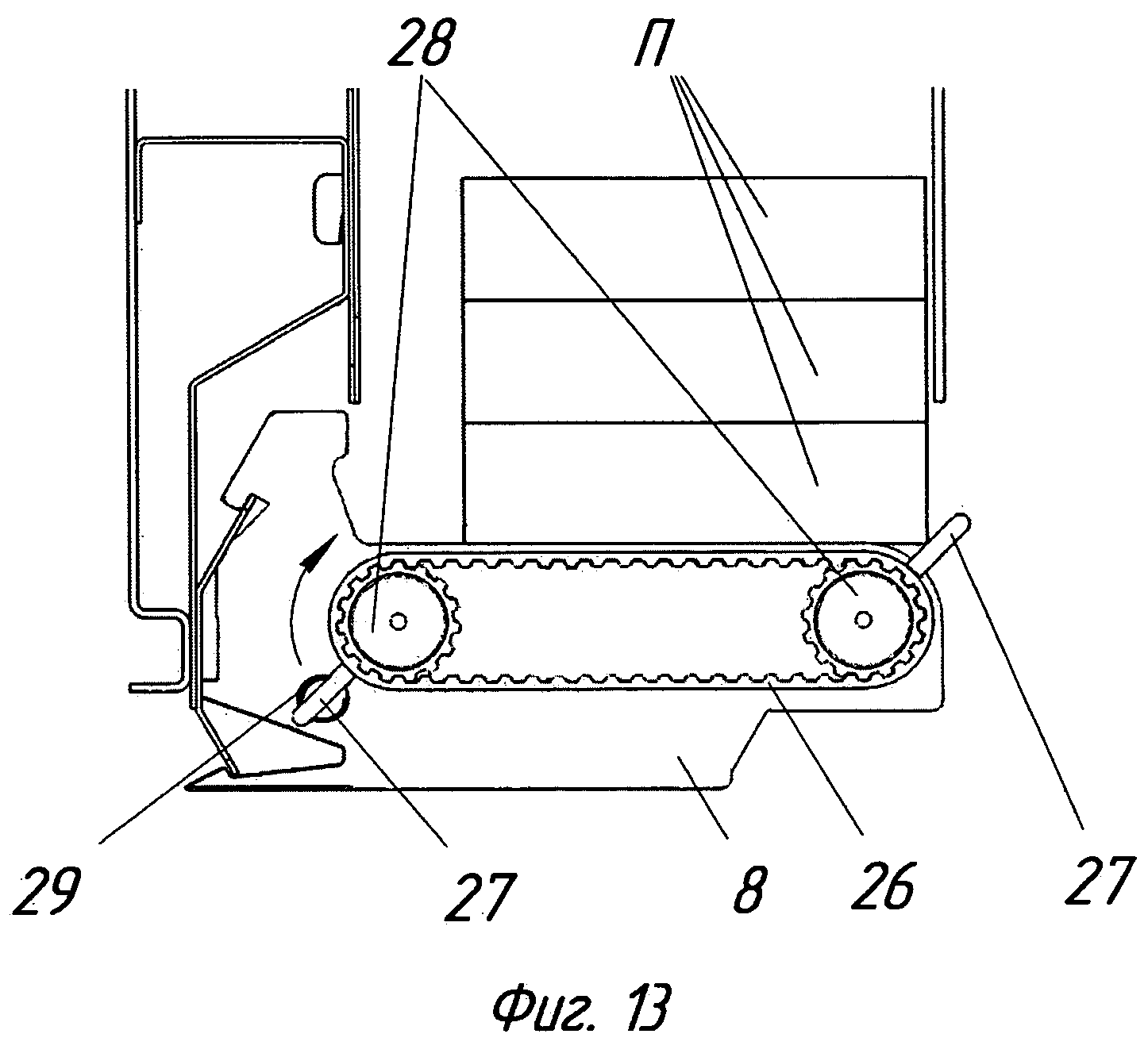
[37]

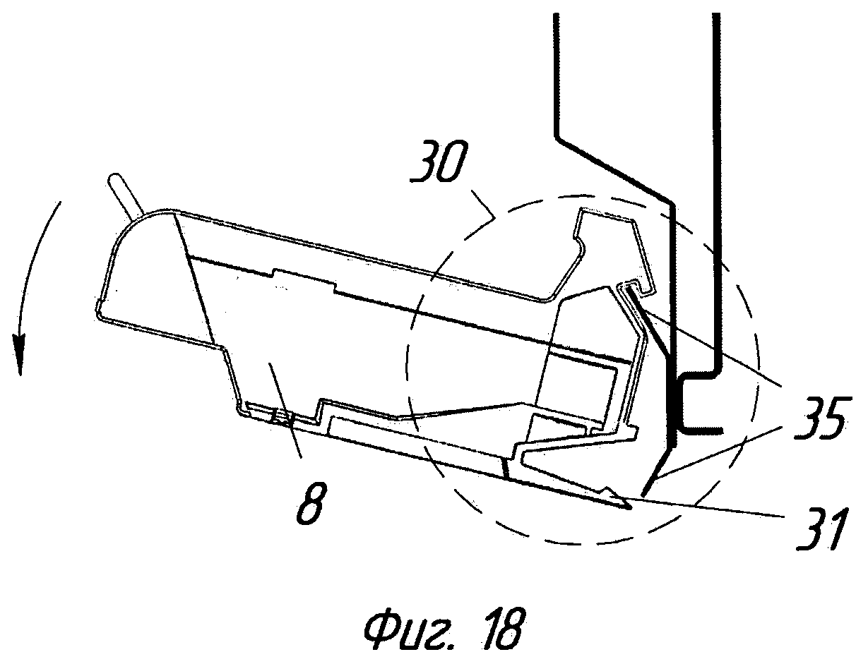
Фиг.22. То же, вид сбоку (увеличено).

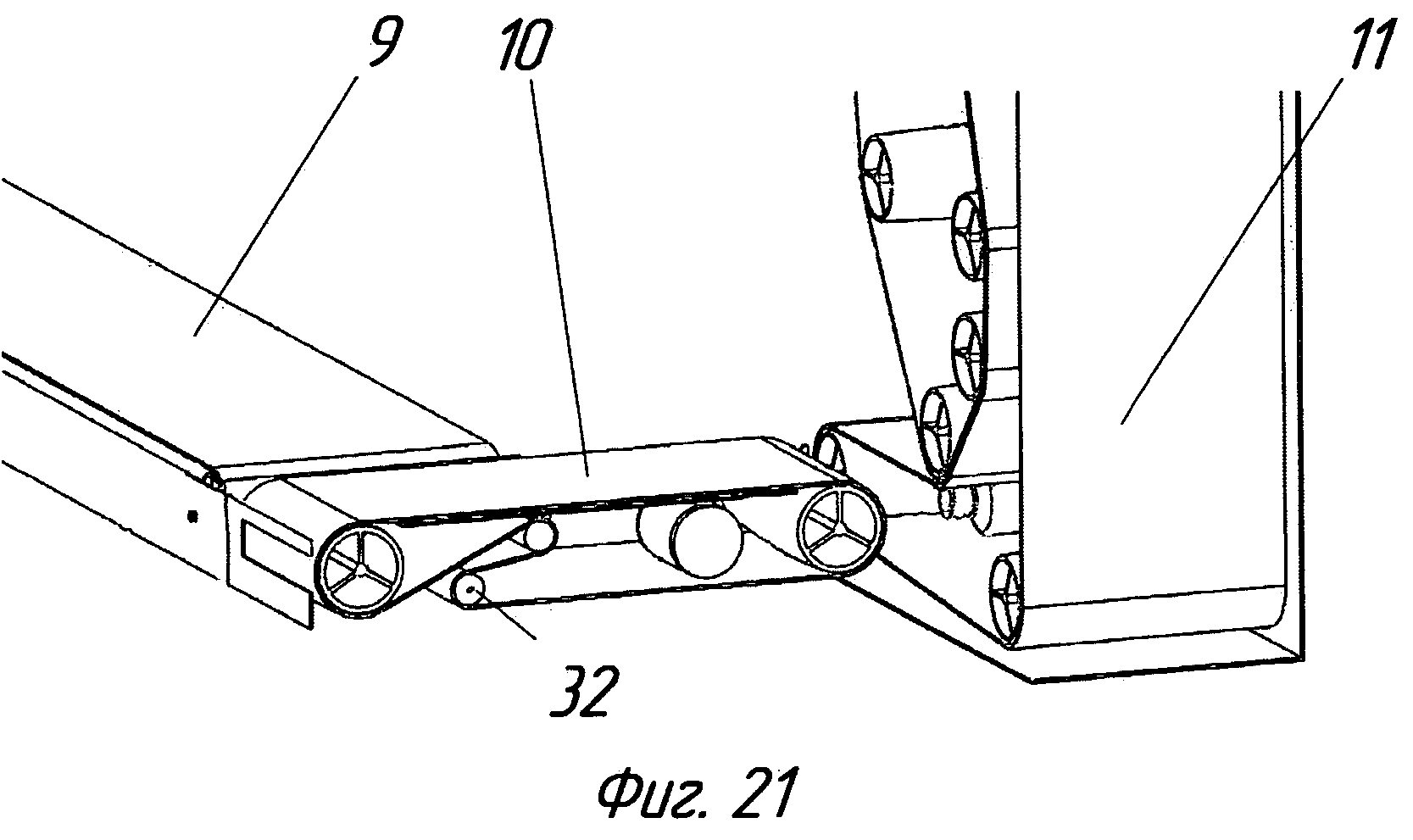
[38]

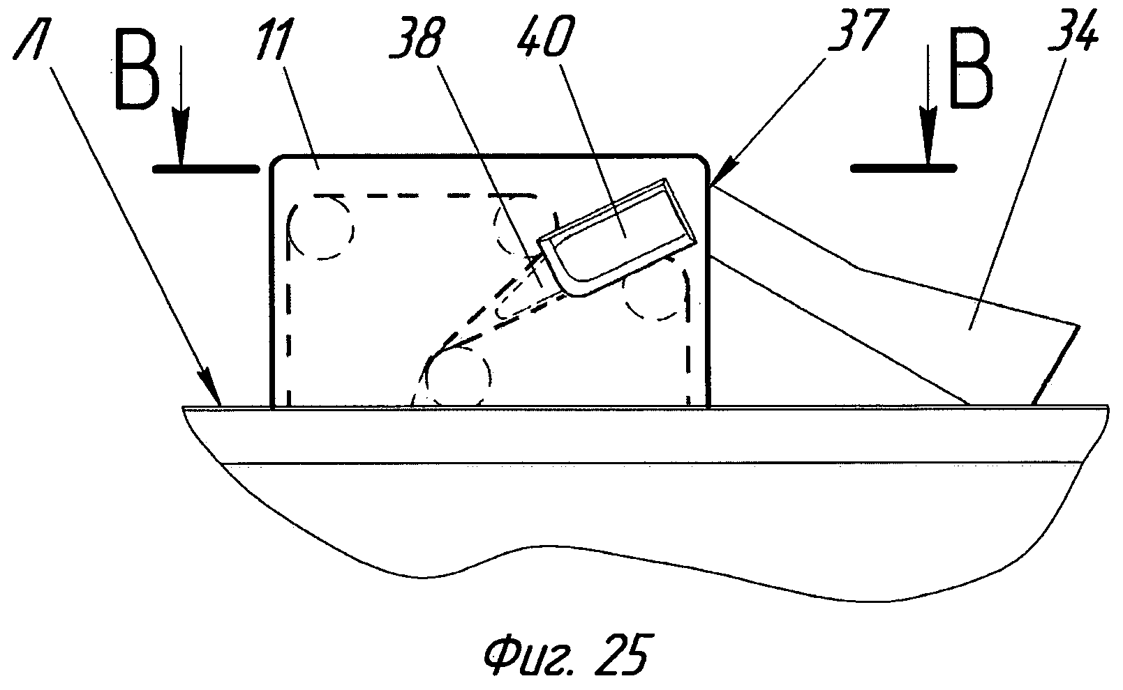
Фиг.23. Вертикальный транспортер в разрезе, вид спереди.

[39]

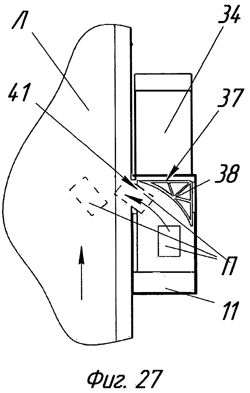
Фиг.24. Канал выдачи пачек табачных изделий на транспортерную ленту кассового узла (аксонометрия).

[40]

Фиг.25. То же, вид сбоку.

[41]

Фиг.26. То же, вид сверху, разрез по В-В.

[42]

Фиг.27. То же, вид сверху, разрез по В-В в случае симметричного расположения оператора относительно транспортера кассового узла.

[43]

Фиг.28. То же, вид сверху при снятой фигурной заслонке.

[44]

Фиг.29. Вариант размещения предлагаемого устройства под прилавками другого типа, аксонометрия.

[45]

Узлы и детали предлагаемого устройства в тексте описания и на чертежах обозначены следующими номерами:

[46]

1. Блок хранения пачек табачных изделий.

[47]

2. Панель выбора товара.

[48]

3. Узел транспортирования пачек табачных изделий.

[49]

4. Корпус блока хранения пачек табачных изделий.

[50]

5. Группы кассет.

[51]

6. Распашные дверцы корпуса блока хранения пачек табачных изделий.

[52]

7. Вертикальные каналы для пачек табачных изделий.

[53]

8. Выталкиватели пачек табачных изделий.

[54]

9. Продольный транспортер.

[55]

10. Поперечный транспортер.

[56]

11. Вертикальный транспортер.

[57]

12. Канал выдачи пачек табачных изделий на транспортерную ленту кассового узла.

[58]

13. Фрикционные узлы.

[59]

14. Корпус фрикционного узла.

[60]

15. Цилиндрическое отверстие в корпусе фрикционного узла.

[61]

16. Обойма с роликами.

[62]

17. Фторопластовые кольца.

[63]

18. Крышки корпуса фрикционного узла.

[64]

19. Кольцевые канавки на крышках корпуса фрикционного узла.

[65]

20. Кольцевые выступы на краях отверстия в корпусе фрикционного узла.

[66]

21. Выступы на внутренней поверхности одной из крышек.

[67]

22. Стяжной регулировочный винт.

[68]

23. Тарельчатые пружины.

[69]

24. Средства для крепления корпуса фрикционного узла к группе кассет.

[70]

25. Средства для крепления крышек корпуса фрикционного узла к элементам корпуса блока хранения пачек табачных изделий.

[71]

26. Ленточные транспортеры выталкивателей пачек табачных изделий.

[72]

27. Лопатки ленточных транспортеров выталкивателей пачек табачных изделий.

[73]

28. Ролики ленточных транспортеров выталкивателей пачек табачных изделий.

[74]

29. Оптические датчики выталкивателей пачек табачных изделий.

[75]

30. Фиксаторы выталкивателей пачек табачных изделий.

[76]

31. Пружинящие пластины фиксаторов выталкивателей пачек табачных изделий, имеющие на концах крюковые захваты.

[77]

32. Дополнительные натяжные ролики продольного и поперечного транспортеров.

[78]

33. Ультразвуковые датчики для определения количества пачек табачных изделий в вертикальных каналах.

[79]

34. Наклонный лоток для направления пачек табачных изделий в сторону оператора.

[80]

35. Горизонтальные рейки для крепления к ним выталкивателей пачек табачных изделий.

[81]

36. Дополнительный блок хранения пачек табачных изделий.

[82]

37. Окно канала выдачи пачек табачных изделий в наклонный лоток.

[83]

38. Направляющая фигурная заслонка окна наклонного лотка.

[84]

39. Торцевые заглушки блоков хранения пачек табачных изделий.

[85]

40. Окно выдачи пачек табачных изделий на транспортерную ленту кассового узла.

[86]

41. Дополнительное окно канала выдачи пачек табачных изделий на транспортерную ленту кассового узла.

[87]

Как показано на фиг.1-3, устройство для выдачи пачек табачных изделий на транспортерную ленту кассового узла супермаркета содержит расположенный под транспортерной лентой Л кассового узла блок 1 хранения пачек табачных изделий П. Над транспортерной лентой расположена панель выбора товара 2, на которой представлен ассортимент предлагаемых изделий. Панель выбора товара 2 может быть выполнена, например, кнопочного типа или выполнена с использованием сенсорного экрана.

[88]

Внутри блока хранения пачек табачных изделий расположен блок автоматического управления (на чертежах не показан), который связан с другими элементами предлагаемого устройства. Эта связь может осуществляться по проводам или быть беспроводной.

[89]

Панель выбора товара 2 выполнена поворотной для возможности ее использования как покупателем, так и оператором.

[90]

Одной из основных частей предлагаемого устройства является узел транспортирования пачек табачных изделий 3, который состоит из продольного транспортера 9, в концевой части которого находятся поперечный транспортер 10 и вертикальный транспортер 11 (см. фиг.2).

[91]

Вертикальный транспортер 11 заканчивается каналом выдачи 12 пачек П табачных изделий на транспортерную ленту Л кассового узла.

[92]

Блок 1 хранения пачек табачных изделий имеет расположенный под транспортерной лентой кассового узла корпус 4 с группами кассет 5, расположенных на задней стенке корпуса 4 и на его распашных дверцах 6 (см фиг.2 и 4). В каждой из групп кассет 5 имеются вертикальные каналы 7 с выталкивателями 8 пачек табачных изделий. Группы кассет 5 имеют возможность выдвигаться из корпуса 4 (см. фиг.5-8).

[93]

Вертикальный транспортер 11 заканчивается каналом выдачи пачек табачных изделий 12 на транспортерную ленту Л кассового узла. Выдача может осуществляться или в сторону этой транспортерной ленты кассового узла, или в сторону оператора.

[94]

Группы кассет 5 расположены на задней стенке корпуса 4 и на дверцах 6 блока хранения 1 в два этажа. При этом каждая из групп кассет 5 имеет возможность поворота относительно горизонтальной оси, находящейся в ее нижней части, и снабжена установленным на этой оси фрикционным узлом 13. Кроме того, группы кассет, расположенных на задней стенке корпуса 4, имеют возможность выдвигаться в горизонтальном направлении. Такая двухэтажная конструкция блока хранения 1 позволяет существенно расширять ассортимент выдаваемой продукции в процессе эксплуатации предлагаемого устройства.

[95]

Каждый из вертикальных каналов 7 группы кассет 5 имеет связанный с блоком автоматического управления ультразвуковой датчик 32 для определения количества пачек табачных изделий в канале. С блока автоматического управления сигналы о необходимости своевременного пополнения пачками табачных изделий, а также об их наличии и количестве поступают на панель выбора товара 2. Это позволяет минимизировать простои оборудования и повысить удобство эксплуатации.

[96]

Фрикционный узел 13, конструкция которого показана на фиг.10-12, включает корпус 14 цилиндрической формы. В средней части корпуса 14 выполнено цилиндрическое отверстие 15, в котором установлена обойма 16 с роликами, образующая с поверхностью цилиндрического отверстия 15 сужающиеся каналы для роликов.

[97]

С боковых сторон к обойме 16 прикреплены фторопластовые кольца 17. Цилиндрическое отверстие 15 корпуса 14 фрикционного узла 13 по торцам закрыто крышками 18. У каждой из крышек 18 на стороне, обращенной к корпусу 14, выполнена кольцевая канавка 19, а на краях цилиндрического отверстия 15 в корпусе 14 выполнены ответные канавкам 19 кольцевые выступы 20. Наличие в упомянутых деталях канавок и выступов позволяет крышкам 18 вращаться относительно корпуса 14 фрикционного узла, но при этом относительное радиальное смещение корпуса 14 и крышек 18 исключается.

[98]

На внутренней поверхности одной из крышек 18 выполнены выступы 21, а на внутренней поверхности другой крышки выполнены ответные этим выступам углубления. Наличие выступов 21 на одной из крышек 18 и соответствующих впадин на другой крышке 18 исключает возможность вращения одной крышки 18 относительно другой крышки 18.

[99]

Крышки 18 притянуты друг к другу с помощью стяжного регулировочного винта 22, который проходит через центральное отверстие, выполненное в одной из крышек 18, через отверстия в установленных в этой крышке тарельчатых пружинах 23 и ввинчен в центральное отверстие, выполненное в другой крышке 18. Сила сжатия тарельчатых пружин 23 обеспечивает прижатие крышек 18 к фторопластовым кольцам 17.

[100]

Такая конструкция позволяет без сопротивления вращать корпус 14 фрикционного узла относительно обоймы 16 только в одну сторону, показанную на фиг.12 стрелкой С. При попытке вращения корпуса 14 фрикционного узла относительно обоймы 16 в обратную сторону ролики заклиниваются в сужающихся каналах и вращение корпуса 14 относительно обоймы 16 становится невозможным. С момента заклинивания возможен поворот корпуса 14 в обратную сторону (т.е. против стрелки С) только совместно с обоймой 16. Заметим, что на фиг.12 пунктирными линиями обозначено положение корпуса 14, соответствующее положению группы кассет 5 при загрузке пачками.

[101]

В результате этого при вращении корпуса 14 с обоймой 16 в направлении, противоположном направлению стрелки С, в месте контакта внутренних поверхностей крышек 18 и контактирующих с крышками 18 наружных поверхностей фторопластовых колец 17 возникают силы трения, тормозящие поворот корпуса 14 фрикционного узла.

[102]

На наружной поверхности корпуса 14 фрикционного узла имеется средство для крепления 24 этого корпуса к стенке группы кассет 5. На фиг.11 и 12 это средство показано в виде двух отверстий на фланце корпуса, которые предназначены для соединения со стенкой группы кассет 5 посредством болтов или заклепок. По меньшей мере, на одной из крышек 18 корпуса фрикционного узла 14 имеется средство для крепления к элементам корпуса 4 блока хранения пачек табачных изделий 1 и к дверцам 6 этого блока. Это средство может иметь вид многогранного хвостовика 25, выполненного на крышке 18 (см. фиг.10 и 11), который установлен в ответное многогранное отверстие в элементе корпуса 4 или в дверце 6 блока хранения 1. Такая конструкция исключает вращение крышки 18 с многогранным хвостовиком относительно элементов корпуса 4 (например, относительно задней стенки корпуса 4) или распашной дверцы 6 блока хранения 1.

[103]

Как показано на фиг.13-16, выталкиватели 8 пачек табачных изделий из вертикальных каналов 7 выполнены в виде ленточных транспортеров 26. Ролики 28 этих транспортеров имеют на рабочей поверхности зубцы. Ленты ленточных транспортеров 26 с внутренней стороны также имеют зубцы, соответствующие зубцам роликов 28. С наружной стороны каждая из этих лент снабжена двумя лопатками 27, которые расположены на лентах так, что делят длину лент на две равные части. Каждый из выталкивателей 8 снабжен оптическим датчиком 29, связанным с электроприводом ленточного транспортера 26. Это дает возможность остановки ленточного транспортера 26 в положении ожидания сигнала о выдаче очередной пачки табачного изделия. В этом положении одна из лопаток перекрывает отверстие выдачи в вертикальном канале группы кассет 5, тем самым препятствуя несанкционированному выпадению пачки в результате случайных внешних воздействий, что повышает надежность работы предлагаемого устройства.

[104]

Каждый из выталкивателей 8 оснащен фиксатором 30, используемым для закрепления выталкивателя на горизонтальных рейках 35 в любом месте группы кассет 5. Фиксаторы 30 для закрепления выталкивателей 8 состоят из оппозитно расположенных пружинящих пластин 31 с крюковыми захватами на концах (см. фиг.17-19). Такое устройство фиксаторов позволяет легко монтировать и демонтировать выталкиватель 8, а также передвигать его по горизонтальной рейке 35 в направлении D и Е, как показано на фиг.17, и без снятия его с рейки.

[105]

Продольный транспортер 9 и поперечный транспортер 10 узла транспортирования пачек табачных изделий 3 снабжены дополнительными натяжными роликами 32 для возможности изменения длины этих транспортеров. Такое усовершенствование конструкции придает устройству универсальность, а именно возможность его компоновки с уже существующими кассовыми узлами, которые могут иметь разные габаритные размеры (см. фиг.21 и 22).

[106]

Показанный на фиг.24 и 25 канал выдачи изделий имеет окно 37 с наклонным лотком 34 для направления этих пачек в сторону оператора. Окно 37 снабжено фигурной заслонкой 38, обеспечивающей при закрытом окне 37 подачу пачек табачных изделий через окно 40 на транспортерную ленту кассового узла (см. фиг.26 и 28).

[107]

К блоку 1 хранения пачек табачных изделий может быть присоединен, по меньшей мере, один дополнительный блок 36 хранения пачек табачных изделий, что позволяет еще более расширить ассортимент отпускаемых товаров.

[108]

В стенке канала выдачи табачных изделий 12 имеется дополнительное окно 41, которое используется, когда место оператора и вертикальный транспортер 11 расположены зеркально симметрично относительно вертикальной плоскости, проходящей через осевую линию транспортера кассового узла (см. фиг.27).

[109]

Предлагаемое устройство используется следующим образом.

[110]

Обслуживающий персонал, выдвинув группы кассет 5 из корпуса 4 блока хранения 1, заполняет вертикальные каналы 7 с учетом ассортимента, показанного на панели выбора товара 2.

[111]

Использование фрикционного узла 13 позволяет оперативно переводить группы кассет 5 в положение загрузки (заполнения) вертикальных каналов 7 пачками, а после загрузки возвращать группы кассет 5 в рабочее (вертикальное) положение без сопротивления со стороны фрикционного узла 13, а также надежно фиксировать группы кассет 5 в рабочем положении, исключая их несанкционированные отклонения от рабочего положения в результате случайных внешних воздействий, что повышает надежность работы предлагаемого устройства.

[112]

В процессе работы предлагаемого устройства крупные предметы, предварительно выбранные покупателем на стеллажах супермаркета, транспортерной лентой Л доставляются к кассовому узлу. Покупатель, пользуясь панелью выбора товара 2, выбирает нужные ему пачки табачных изделий. После этого по сигналу, поступившему от панели выбора товара 2 через блок автоматического управления на привод ленточного транспортера 26 соответствующего выталкивателя 8, осуществляется выталкивание пачки П из вертикального канала 7. Одновременно с блока автоматического управления поступает команда на включение приводов продольного, поперечного и вертикального транспортеров 9, 10 и 11. Пачка П перемещается по продольному транспортеру, поперечному транспортеру, вертикальному транспортеру 11.

[113]

Выдача пачки осуществляется через канал выдачи 12 или в сторону транспортерной ленты Л кассового узла или (если с окна 37 снята фигурная заслонка 38) в сторону оператора. Таким образом, если необходимо, пачки могут передаваться в сторону оператора. Для этого снимают фигурную заслонку 38 и пачка поступает не на ленту кассового транспортера, а в наклонный лоток 34 (см. фиг 24, 26 и 28).

[114]

Одновременно с выдачей пачки на транспортерную ленту кассового узла от панели выбора товара 2 через блок автоматического управления на кассовый узел поступают сведения о стоимости выданной пачки, которые могут быть приплюсованы к общей сумме товаров, предварительно выбранных покупателем на стеллажах супермаркета.

[115]

Как указано выше, предлагаемое устройство можно использовать, в случае если место оператора расположено зеркально симметрично относительно вертикальной плоскости, проходящей через осевую линию транспортера кассового узла. Для этого достаточно переместить вертикальный транспортер 11 на противоположную сторону транспортерной ленты кассового узла и переставить фигурную заглушку 38 в канале выдаче пачек 12, как показано на фиг.27. В том случае, когда предлагаемое устройство не поставляется в комплекте с кассовым узлом, а его необходимо смонтировать на уже имеющемся кассовом узле супермаркета, при монтаже возможно, с учетом размеров имеющегося кассового узла, изменить длину продольного транспортера 9 и поперечного транспортера 10.

[116]

В случае установки в кассовый узел последовательно одного и более дополнительных блоков хранения, вертикальный и поперечный транспортеры используются только в одном блоке хранения. Остальные блоки хранения пристыковываются к боковым торцам друг друга, а сквозная подача пачек из одного блока в другой обеспечивается за счет увеличения длины продольного транспортера и демонтажа торцевых заглушек 39.

[117]

В случае монтажа изделия в другие прилавки (барные стойки, столы и т.п.) вертикальный транспортер монтируется с торцевой стенки блока хранения, в таком случае в блоке хранения не используется поперечный транспортер, а передача пачек на вертикальный транспортер осуществляется за счет удлинения продольного транспортера и снятия торцевой заглушки блока хранения.

Как компенсировать расходы
на инновационную разработку
Похожие патенты