патент
№ RU 2399389
МПК A62B1/00

УСТРОЙСТВО ДЛЯ АВАРИЙНОГО СПУСКА ЧЕЛОВЕКА С ВЫСОТНОГО ОБЪЕКТА (ВАРИАНТЫ)

Авторы:
Метелев Юрий Алексеевич
Номер заявки
2009114229/12
Дата подачи заявки
15.04.2009
Опубликовано
20.09.2010
Страна
RU
Как управлять
интеллектуальной собственностью
Чертежи 
3
Реферат

Изобретение относится к средствам спасения людей. Устройство для аварийного спуска человека с высотного объекта закрепляется на спине человека. Оно включает в себя надувную центральную торообразную камеру с мембраной для размещения человека, связанную с одной стороны с надувными спицами, располагаемыми при надувании по конусу, которые связаны между собой надувными перемычками, а с другой стороны с надувной демпферной конструкцией, имеющей торообразную надувную камеру, также связанную надувными спицами с центральной торообразной камерой. Торообразная надувная камера демпферной конструкции выполнена диаметром, большим диаметра центральной торообразной камеры и меньшим диаметра основания конуса, образованного распрямленными надуванием спицами, сообщенными между собой перемычками. Между спицами и торообразными камерами натянута воздухонепроницаемая перфорированная ткань, или спицы с торообразными камерами обтянуты воздухонепроницаемыми перфорированными чехлами для образования конусообразного тормозного экрана в виде двух усеченных конусообразных пирамид с общим основанием в зоне центральной торообразной камеры. Изобретение обеспечивает повышение эффективности за счет упрощения конструкции и повышение безопасности за счет исключения опрокидывания устройства в момент приземления. 2 н.п. ф-лы, 4 ил.

Формула изобретения

1. Устройство для аварийного спуска человека с высотного объекта, закрепляемое на спине человека и включающее в себя надувную от автономного источника газонаполнения центральную торообразную камеру, к которой прикреплена мембрана для размещения спасаемого человека и которая связана с одной стороны с надувными спицами, располагаемыми при надувании по конусу и которые связаны между собой надувными перемычками, а с другой стороны - с надувной демпферной конструкцией, имеющей торообразную надувную камеру, расположенную относительно центральной торообразной камеры противоположно размещению связанных перемычками надувных спиц, отличающееся тем, что торообразная надувная камера сообщена с центральной торообразной камерой надуваемыми спицами и выполнена диаметром, большим диаметра центральной торообразной камеры и меньшим диаметра основания конуса, образованного распрямленными надуванием спицами, сообщенными между собой перемычками, при этом между спицами каждой из торообразных камер натянута воздухонепроницаемая перфорированная ткань или спицы с торообразными камерами обтянуты воздухонепроницаемыми перфорированными чехлами для образования конусообразного тормозного экрана в виде двух усеченных конусообразных пирамид с общим основанием в зоне центральной торообразной камеры и с направленными в противоположные стороны разного диаметра большими основаниями, в торообразной камере демпферной конструкции натянута мембрана, и воздухонепроницаемая ткань выполнена перфорированной, а автономный источник газонаполнения сообщен с одной из торообразных надувных камер или с одной из надувных спиц, внутренние объемы всех торообразных камер и спиц сообщены между собой и образуют единый замкнутый объем.

2. Устройство для аварийного спуска человека с высотного объекта, закрепляемое на спине спасаемого человека и включающее в себя надувную от автономного источника газонаполнения центральную торообразную камеру, связанную с одной стороны с надуваемыми спицами, которые связаны с верхней торообразной надувной камерой, диаметром, большим диаметра центральной торообразной камеры, и с другой стороны - с надувной демпферной конструкцией, составленной из нижней торообразной надувной камеры, при этом к центральной торообразной камере прикреплена мембрана для размещения спасаемого человека, отличающееся тем, что нижняя торообразная надувная камера выполнена диаметром, большим диаметра центральной торообразной камеры и меньшим диаметра верхней торообразной камеры, и связана с центральной торообразной камерой надуваемыми спицами, к нижней торообразной камере в зоне ее центральной полости прикреплена мембрана, при этом между спицами каждой нижней и верхней торообразных камер натянута воздухонепроницаемая ткань, или спицы каждой торообразной камеры снаружи обтянуты воздухонепроницаемыми чехлами для образования двух усеченных пирамид с общим основанием и с направленными в противоположные стороны разного диаметра большими основаниями, автономный источник газонаполнения сообщен с одной из торообразных надувных камер или с одной из надувных спиц, а внутренние объемы всех торообразных камер и спиц сообщены между собой и образуют единый объем, а воздухонепроницаемая ткань нижней торообразной камеры выполнена перфорированной.

Описание

[1]

Изобретение относится к средствам спасения людей и рассматривает устройство, предназначенное для спасения людей при чрезвычайных ситуациях, преимущественно для спуска людей с верхних этажей высотных объектов при пожаре или в иных аварийных ситуациях.

[2]

Известно спасательное устройство, предназначенное для приема на земле людей, прыгающих или падающих с большой высоты, содержащее пневматическую камеру, включающую эластичные трубы, образующие контуры верхнего и нижнего оснований и соединяющие их стойки каркаса, охватываемые гибкой оболочкой, включающей горизонтальную амортизирующую мембрану (RU №2150980, А62В 1/22, публ. 1999).

[3]

Недостаток устройства заключается в том, что объем каркаса составляет значительную часть от общего объема камеры.

[4]

Известно устройство для аварийного спуска человека с высотного объекта, содержащее ранец со средствами крепления его на спине спасаемого человека, соединенный через промежуточную мембрану со сложенным в нем парашютом, включающим в себя надувные камеры, предназначенные для формирования оснований пневматического каркаса, соединенных между собой с образованием эластичной юбки, формирующей конусообразный тормозной экран, и посадочную гондолу, сформированную надувными камерами (заявка RU №2003124165/12, опубл. 05.08.2003).

[5]

Недостаток этого устройства заключается в значительных его габаритах и весе, а также в невысокой эффективности.

[6]

Известно устройство для аварийного спуска человека с высотного объекта, содержащее опорный элемент в виде ранца, снабженного средствами его крепления на спине спасаемого человека и соединенного через промежуточную мембрану со сложенным в нем парашютом, включающим надувные камеры, предназначенные для формирования при их наддуве верхнего и нижнего оснований пневматического каркаса, образующего эластичную юбку, формирующую при ее соединении с надувными камерами конусообразный тормозной экран, средства раскрытия парашюта, включающие источник газа, скрепленный с ранцем и сообщенный с надувными камерами посредством гибких эластичных газопроводов, и надувные камеры для формирования посадочной гондолы, в нем надувные камеры посадочной гондолы выполнены в виде нижнего основания и стоек, образующих каркас и сообщающихся с нижним основанием пневматического каркаса, при этом посадочная гондола снабжена перегородками вертикальными и горизонтальными, нижней и верхней, образующими полости, в нижней перегородке выполнены отверстия, а верхняя перегородка скреплена с нижним основанием пневматического каркаса и с ранцем (RU №2288758, А62В 1/00, B64D 25/14, опубл. 2006.12.10).

[7]

Недостаток данного устройства заключается в значительных его габаритах и весе, а также в невысокой эффективности.

[8]

Известно устройство для аварийного спуска человека с высотного объекта, содержащее ранец со средствами его крепления на спине спасаемого человека, прилегаемая к спине этого человека часть которого выполнена в виде опорного элемента и внутри которого помещен надуваемый каркас, включающий в себя надувную от источника газа торообразную камеру, связанную с надуваемыми спицами, которые связаны с верхней торообразной камерой цилиндрообразной надувной конструкции, составленной из один над другим размещенных торообразных надувных камер диаметром, меньшим диаметра первой из упомянутых надувных камер, для образования конусообразного тормозного экрана, при этом к верхней надувной торообразной камере меньшего диаметра прикреплен опорный элемент ранца, надувную до атмосферного давления цилиндрообразную камеру с калиброванными отверстиями для стравливания избыточного давления в момент ее нагружения внешним усилием от удара о землю, размещенную под опорным элементом, к которому прикреплен спасаемый человек, внутри полости, образованной цилиндрообразным расположением надувных торообразных камер меньшего диаметра и герметизированной со стороны, обратной размещению торообразной камеры большего диаметра, опорный элемент ранца выполнен в виде анатомического ложемента по форме спины человека, прикрепленного к верхней надувной торообразной камере меньшего диаметра лентами, выполненными с возможностью расслаивания или разделения по длине на равнопрочные части при нагрузке, а источник газа для надувных торообразных камер выполнен в виде газогенераторов холодного газа, размещенных в соответствующей полости надувной камеры, при этом по крайней мере в одной из спиц установлен газогенератор, соединяющий две камеры, изолированные от объема других надувных камер и спиц (RU №66206, А62В 1/00, B64D 25/14, опубл. 2007.09.10).

[9]

Недостаток данного устройства заключается в значительных его габаритах и весе, а также в невысокой эффективности в части обеспечения гашения энергии при приземлении системы с человеком.

[10]

Данное решение принято в качестве прототипа для заявленных объектов.

[11]

Технический результат, достигаемый предлагаемым изобретением, заключается в снижении массы устройства, уменьшении потребности в газе для его заполнения, повышении его эффективности за счет упрощения конструкции и повышении безопасности за счет исключения опрокидывания устройства в момент приземления.

[12]

Указанный технический результат для первого примера исполнения достигается тем, что в устройстве для аварийного спуска человека с высотного объекта, закрепляемом на спине человека и включающем в себя надувную от автономного источника газонаполнения центральную торообразную камеру, к которой прикреплена мембрана для размещения спасаемого человека и которая связана с одной стороны с надувными спицами, располагаемыми при надувании по конусу, которые связаны между собой надувными перемычками, а с другой стороны с надувной демпферной конструкцией, имеющей торообразную надувную камеру, расположенную относительно центральной торообразной камеры противоположно размещению связанных перемычками надувных спиц, торообразная надувная камера сообщена с центральной торообразной камерой надуваемыми спицами и выполнена диаметром, большим диаметра центральной торообразной камеры и меньшим диаметра основания конуса, образованного распрямленными надуванием спицами, сообщенными между собой перемычками, при этом между спицами и торообразными камерами натянута воздухонепроницаемая перфорированная ткань, или спицы с торообразными камерами обтянуты воздухонепроницаемыми перфорированными чехлами для образования конусообразного тормозного экрана в виде двух усеченных конусообразных пирамид с общим основанием в зоне центральной торообразной камеры и с направленными в противоположные стороны разного диаметра большими основаниями, в торообразной камере демпферной конструкции натянута мембрана, а автономный источник газонаполнения сообщен с одной из торообразных надувных камер или с одной из надувных спиц, внутренние объемы всех торообразных камер и спиц сообщены между собой и образуют единый замкнутый объем.

[13]

Указанный технический результат для второго примера исполнения достигается тем, что в устройстве для аварийного спуска человека с высотного объекта, закрепляемом на спине спасаемого человека и включающем в себя надувную от автономного источника газонаполнения центральную торообразную камеру, связанную с одной стороны с надуваемыми спицами, которые связаны с верхней торообразной надувной камерой диаметром, большим диаметра центральной торообразной камеры, и с другой стороны с надувной демпферной конструкцией, составленной из нижней торообразной надувной камеры, при этом к центральной торообразной камере прикреплена мембрана для размещения спасаемого человека, нижняя торообразная надувная камера выполнена диаметром, большим диаметра центральной торообразной камеры и меньшим диаметра верхней торообразной камеры, и связана с центральной торообразной камерой надуваемыми спицами, к нижней торообразной камере в зоне ее центральной полости прикреплена мембрана, при этом между спицами каждой нижней и верхней торообразных камер натянута воздухонепроницаемая перфорированная ткань, или спицы каждой торообразной камеры снаружи обтянуты воздухонепроницаемыми перфорированными чехлами для образования двух усеченных пирамид с общим основанием и с направленными в противоположные стороны разного диаметра большими основаниями, автономный источник газонаполнения сообщен с одной из торообразных надувных камер или с одной из надувных спиц, а внутренние объемы всех торообразных камер и спиц сообщены между собой и образуют единый объем.

[14]

Указанные признаки являются существенными и взаимосвязаны между собой с образованием устойчивой совокупности существенных признаков, достаточной для достижения указанного технического результата.

[15]

Настоящее изобретение поясняется конкретными примерами, которые, однако, не являются единственно возможными, но наглядно демонстрируют возможность достижения приведенной совокупностью признаков требуемого технического результата.

[16]

На фиг.1 представлен вид сбоку на устройство для аварийного спуска человека с высотного объекта, первый пример исполнения;

[17]

фиг.2 - вид сверху на устройство для аварийного спуска человека с высотного объекта по фиг.1;

[18]

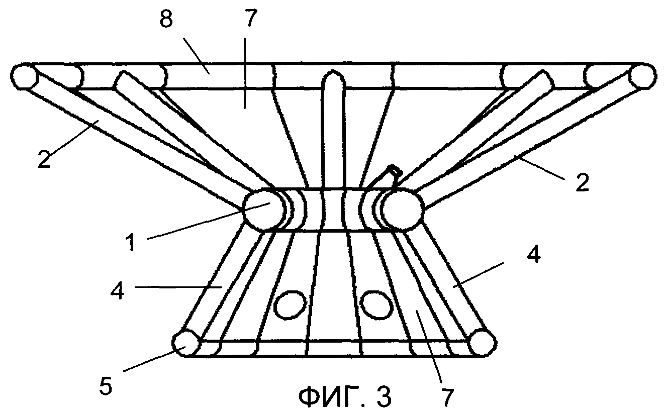
фиг.3 - вид сбоку на устройство для аварийного спуска человека с высотного объекта, второй пример исполнения;

[19]

фиг.4 - вид сверху на устройство для аварийного спуска человека с высотного объекта по фиг.3.

[20]

Согласно настоящему изобретению рассматривается устройство для аварийного спуска человека с высотного объекта, которое представляет собой надувное по функции тормозное устройство. Это устройство предназначено для индивидуального спасения людей и ценных грузов, находящихся на любом этаже высотных зданий, во время пожара или в других чрезвычайных ситуациях, требующих срочной эвакуации. Возможность создания такого устройства появляется благодаря тому, что оно совмещает в себе как эффективное средство торможения при спуске в атмосфере, так и амортизирующее устройство. При использовании устройства не требуется специальных навыков в управлении, можно использовать его практически мгновенно, оно защищает в процессе спуска от ударов о стены и воздействия высокой температуры и открытого пламени, наличие системы амортизации (демпферной конструкции) обеспечивает безопасность приземления.

[21]

Устройство является основным компонентом системы спасения и предназначено для придания заданной формы устройству и обеспечения расчетной скорости снижения и посадки. Устройство состоит из двух каскадов: основного, имеющего форму «перевернутого или обратного усеченного конуса», и дополнительного, также имеющего форму усеченного конуса, но намного большего диаметра (представляет собой демпферную конструкцию). В надутом, развернутом (рабочем) состоянии устройство имеет форму двух усеченных конусов, соединенных «навстречу друг другу», с разными диаметрами больших оснований, а малыми основаниями обоих конусов является центральная торообразная камера. При таком исполнении устройство является аэродинамически устойчивым и самоориентируемым в полете телом так, что при снижении оно будет постоянно иметь тенденцию к развороту таким образом, что большой конус будет находиться сверху, малый конус - снизу.

[22]

Устройство для аварийного спуска человека с высотного объекта по первому варианту исполнения (фиг.1, 2) содержит средство крепления на спине спасаемого человека, включающее в себя надувную от источника газа центральную торообразную камеру 1, связанную с одной стороны с надувными спицами 2, располагаемыми по конусу при надувании, которые связаны между собой надувными перемычками 3, и с другой стороны с надувной демпферной конструкцией, составленной из спиц 4 нижней торообразной надувной камеры 5, при этом к центральной торообразной камере 1 прикреплена мембрана 6 для размещения спасаемого человека. Нижняя торообразная надувная камера 5 выполнена диаметром, большим диаметра центральной торообразной камеры 1 и меньшим диаметра основания конуса, образованного распрямленными по конусу спицами 2, и связана с центральной торообразной камерой 1 надувными спицами 4.

[23]

Между спицами торообразных камер натянута воздухонепроницаемая ткань 7, или спицы с торообразными камерами обтянуты воздухонепроницаемыми чехлами. Воздухонепроницаемая ткань или воздухонепроницаемые чехлы выполнены перфорированными.

[24]

В нижней торообразной камере натянута мембрана (не показана) для образования двух усеченных конусообразных пирамид с общим основанием в зоне центральной торообразной камеры и с направленными в противоположные стороны разного диаметра большими основаниями для образования конусообразного тормозного экрана.

[25]

Автономный источник газонаполнения сообщен с одной из торообразных надувных камер или с одной из надувных спиц, внутренние объемы всех торообразных камер и спиц в свою очередь сообщены между собой и образуют единый объем.

[26]

Ниже рассматривается конкретное исполнение первого варианта.

[27]

По первому варианту исполнения устройство (фиг.1, 2) содержит средство крепления на спине спасаемого человека (выполнено в виде ранца, не показан), которое включает в себя надувную от источника газа центральную торообразную камеру 1, связанную с одной стороны с надуваемыми спицами 2, которые связаны между собой надуваемыми перемычками 3 с образованием верхней торообразной надувной камерой диаметром, большим диаметра центральной торообразной камеры 1, и с другой стороны с надувной демпферной конструкцией, составленной из нижней торообразной надувной камеры 5. К центральной торообразной камере 1 прикреплена мембрана 6 для размещения спасаемого человека. Нижняя торообразная надувная камера 5 выполнена диаметром, большим диаметра центральной торообразной камеры 1 и меньшим диаметра верхней торообразной камеры, и связана с центральной торообразной камерой надуваемыми спицами 4. Между спицами 2 и спицами 4 торообразных камер натянута воздухонепроницаемая ткань 7 для образования двух усеченных конусообразных пирамид с общим основанием и с направленными в противоположные стороны разного диаметра большими основаниями для образования конусообразного тормозного экрана. Полости спиц сообщены между собой перетоками и сообщены с автономным источником газообразования.

[28]

Верхний конус предназначен для обеспечения эффективного аэродинамического торможения и стабилизации положения устройства в полете, имеет форму «перевернутого усеченного конуса», образованного центральной торообразной камерой 1 и спицами 2 с перемычками 3.

[29]

Верхний и нижний конусы выполнены в виде надувных герметичных спиц, которые размещены вдоль образующих конусов и обтянуты коническим воздухонепроницаемым чехлом, при этом, строго говоря, конусы вырождаются в пирамиды, в основаниях которых лежат многоугольники с количеством углов, равным количеству спиц, от 6 шт. до 16 шт., в нашем случае 8 шт.

[30]

Спицы верхнего и нижнего конусов, центральная камера сообщены между собой газовыми перетоками и составляют единый объем, изолированный и герметичный. Устройство заполняется газом под избыточным давлением, вследствие чего оно не изменяет свою форму во время спуска. Наружная сторона устройства может быть снабжена теплозащитным покрытием, обеспечивающим безопасность при прохождении через очаги открытого пламени.

[31]

Нижний конус предназначен для обеспечения эффективного аэродинамического торможения и стабилизации положения устройства в полете, состоит из наклонно расположенных цилиндрических спиц 4, которые являются образующей конуса и соединены между собой нижней надувной камерой 5. Верхний конус имеет форму «конуса», образованного центральной торообразной камерой 1 и спицами 2 с перемычками 3.

[32]

Нижний и центральный торы закрыты воздухонепроницаемой тканью (материалом) по нижним границам торов к спицам верхнего конуса с внутренней стороны (со стороны оси симметрии устройства) также прикреплена воздухонепроницаемая ткань (материал), имеющая несколько калиброванных отверстий для сообщения внутреннего объема «пневмомешка» с атмосферой. При наполнении пневмокаркаса устройства (торы, спицы, перемычки) газом с помощью автономной системы наполнения до избыточного давления в процессе разворачивания устройства из сложенного состояния в демпфирующий «пневмомешок» поступает забортный (из атмосферы) воздух, и верхний конус принимает заданную рабочую форму.

[33]

Размещение человека осуществляется в ложементе на мембране устройства. Человек притягивается привязной системой к ложементу спиной. Ложемент является частью ранца, в форму которого уложено устройство со всеми его системами. Ложемент имеет анатомическую форму спины человека для обеспечения равномерного давления на человека в момент приземления и прочно прикреплен к силовому тору.

[34]

Система амортизации (демпфирующая система устройства) предназначена для снижения величин ударных перегрузок до безопасного уровня в момент приземления и работает следующим образом.

[35]

В момент касания нижней камеры поверхности приземления за счет упругости спиц нижний тор ввиду небольшой массы теряет скорость в системе координат, связанной с поверхностью приземления, практически до нуля, при этом человек в ложементе, центральная камера и верхний конус за счет большей массы продолжают двигаться в направлении к поверхности приземления. При этом, поскольку упругость нижних спиц при работе на сжатие ограничена, происходит «слом спиц», или упругая деформация спиц нижнего конуса. К моменту «слома» спиц нижнего конуса скорость человека с ложементом, силовым тором существенно снижается, но продолжается движение к поверхности приземления. Далее при значительных перемещениях происходит деформация демпфирующего «пневмомешка», вследствие чего внутри него повышается давление, причем чем выше скорость перемещения человека с ложементом и силовым тором соответственно, тем сильнее возрастает избыточное давление в демпфирующем «пневмомешке». Избыточное давление внутри мешка, воздействуя на силовой тор с прикрепленным к нему газонепроницаемым материалом, создает дополнительное усилие, помимо упругости спиц, которое окончательно гасит кинетическую энергию человека с ложементом, что приводит к полной остановке последнего. Стоит отметить, что по мере повышения избыточного давления в демпфирующем «пневмомешке» через калиброванные отверстия происходит истечение воздуха из пневмомешка в атмосферу, причем чем выше избыточное давление внутри мешка, тем выше скорость истечения воздуха, что приводит к стабилизации или снижению избыточного давления внутри мешка. При правильном подборе количества, диаметров и расположения данных отверстий можно обеспечить перегрузки, испытываемые человеком при посадке, в пределах допустимых значений. Таким образом, организованная система демпфирования является универсальной и позволяет обеспечить приземление человека с любой массой в заданных пределах.

[36]

Ложемент предназначен для размещения человека во время полета в лежащем положении и его фиксации. Человек притягивается привязной системой к ложементу - спиной. Ложемент является частью ранца, в форму которого уложено устройство со всеми его системами. Ложемент имеет анатомическую форму спины человека для обеспечения равномерного давления в момент приземления. Ложемент - силовой элемент, посредством разрывных элементов крепится к силовому тору ОНТУ. Фиксация человека, размещенного в ложементе, осуществляется с помощью привязной системы. Ранец одевается со стороны спины.

[37]

В процессе полета устройства обеспечивается эффективное аэродинамическое торможение до скорости менее чем 11 м/с. Посадочные нагрузки при касании с землей гасятся системой демпфирования. Перегрузка при посадке не превышает 16 ед., и время ее действия менее 0,5 сек.

[38]

По второму варианту исполнения центральная торообразная камера связана с одной стороны с надуваемыми спицами, располагаемыми по конусу при надувании, которые связаны между собой надуваемыми перемычками без образования верхней торообразной камеры.

[39]

Устройство для аварийного спуска человека с высотного объекта по второму варианту исполнения (фиг.3, 4) также содержит средство крепления на спине спасаемого человека (в виде ранца, не показано), включающее в себя надувную от источника газа центральную торообразную камеру 1, связанную с одной стороны с надуваемыми спицами 2, которые связаны с верхней торообразной надувной камерой 8, выполненной диаметром, большим диаметра центральной торообразной камеры 1, и с другой стороны с надувной конструкцией, составленной из нижней торообразной надувной камеры 5. К центральной торообразной камере 1 прикреплена мембрана 6 для размещения спасаемого человека, и имеется автономный источник газонаполнения (не показан). Нижняя торообразная надувная камера 5 выполнена диаметром, большим диаметра центральной торообразной камеры 1 и меньшим диаметра верхней торообразной камеры 8, и связана с центральной торообразной камерой 1 надуваемыми спицами 4. Между спицами каждой нижней и верхней торообразной камеры натянута воздухонепроницаемая ткань 7, или спицы каждой торообразной камеры обтянуты воздухонепроницаемыми чехлами. Воздухонепроницаемая ткань 7 или воздухонепроницаемые чехлы выполнены перфорированными.

[40]

К нижней торообразной камере 5 снизу прикреплена мембрана 9 для образования двух усеченных конусообразных пирамид с общим основанием и с направленными в противоположные стороны разного диаметра большими основаниями для образования конусообразного тормозного экрана.

[41]

Автономный источник газонаполнения сообщен с одной из торообразных надувных камер или с одной из надувных спиц, а внутренние объемы всех торообразных камер и спиц в свою очередь сообщены между собой и образуют единый объем.

[42]

Функционирует конструкция по второму варианту аналогично ранее рассмотренной конструкции по первому варианту.

[43]

Настоящее изобретение промышленно применимо, может быть изготовлено с использованием материалов и технологий, применяемых при создании автомобильных систем безопасности типа надувных от газогенератора мешков.

Как компенсировать расходы
на инновационную разработку
Похожие патенты