патент
№ RU 2669816
МПК E21B37/00

СКРЕБОК ДЛЯ ОЧИСТКИ БУРИЛЬНОЙ КОЛОННЫ ТРУБ

Авторы:
Глухов Александр Юрьевич Машков Виктор Алексеевич Боднарчук Алексей Владимирович
Все (4)
Номер заявки
2017138905
Дата подачи заявки
08.11.2017
Опубликовано
16.10.2018
Страна
RU
Как управлять
интеллектуальной собственностью
Чертежи 
2
Реферат

Изобретение относится к нефтегазодобывающей отрасли и предназначено для обработки наружной поверхности бурильных труб от загрязнений при их подъеме из скважины. Устройство состоит из верхней и нижней частей, связанных друг с другом болтами, с размещенным между ними упругим эластичным элементом. Верхняя часть снабжена стаканом с осевым каналом, в котором по периметру на внутренней поверхности установлены постоянные магниты. Нижняя часть снабжена двумя полуцилиндрами с крепежными уголками на наружной поверхности, связанными друг с другом болтами. В теле полуцилиндров выполнен ряд продольных пазов для свободного слива бурового раствора. Упругий эластичный элемент имеет один сквозной радиальный паз. Устройство позволяет осуществлять замену упругого эластичного элемента без остановки процесса бурения и удалять с поверхности бурильных труб металлические частицы и стружку. При падении в скважину посторонних металлических предметов, последние захватываются и удерживаются постоянными магнитами, размещенными как минимум в два ряда, со смещением в шахматном порядке. Повышается эффективность очистки и ремонтопригодность. 3 ил.

Формула изобретения

Устройство для очистки бурильных труб, содержащее верхнюю и нижнюю части, связанные друг с другом болтами, эластичный упругий элемент между ними, отличающееся тем, что верхняя часть снабжена стаканом с осевым каналом, в котором по периметру на внутренней поверхности установлены постоянные магниты, как минимум в два ряда, со смещением в шахматном порядке, нижняя часть снабжена двумя полуцилиндрами, снабженными крепежными уголками, связанными друг с другом болтами, причем в теле полуцилиндров выполнен ряд продольных пазов, а эластичный упругий элемент имеет один сквозной радиальный разрез.

Описание

[1]

Изобретение относится к технике для обработки наружной поверхности бурильной колонны труб от загрязнений при ее подъеме из скважины.

[2]

Известно устройство для очистки бурильных труб от загрязнений (I) (см. а. с. СССР №747981, кл. МКИ Е21В 37/02).

[3]

Скребок состоит из резиновой шайбы, эластичной камеры, заполненной нейтрализующей жидкостью, и стальной шайбы. Резиновая шайба имеет радиальные отверстия для подачи жидкости из камеры, к поверхности бурильных труб.

[4]

Камера снабжена отверстием с пробкой для заполнения жидкостью. Скребок размещают под съемными вкладышами ротора. При подъеме труб бурильной колонны скребок погружается к низу ротора. Резиновые шайбы очищают поверхность труб от отложений слоя бурового раствора, который стекает обратно в скважину.

[5]

Трубы поджимают эластичную камеру, с выдавливанием жидкости через радиальные отверстия шайбы на поверхность труб, с их смачиванием и обработкой. Тем самым происходит очистка от загрязнений.

[6]

Стальная шайба защищает резиновую шайбу от повреждений, при поперечных колебаниях колонны труб.

[7]

К недостаткам конструкции следует отнести:

[8]

- ограниченный объем жидкости для обработки труб, что требует перезарядки устройства;

[9]

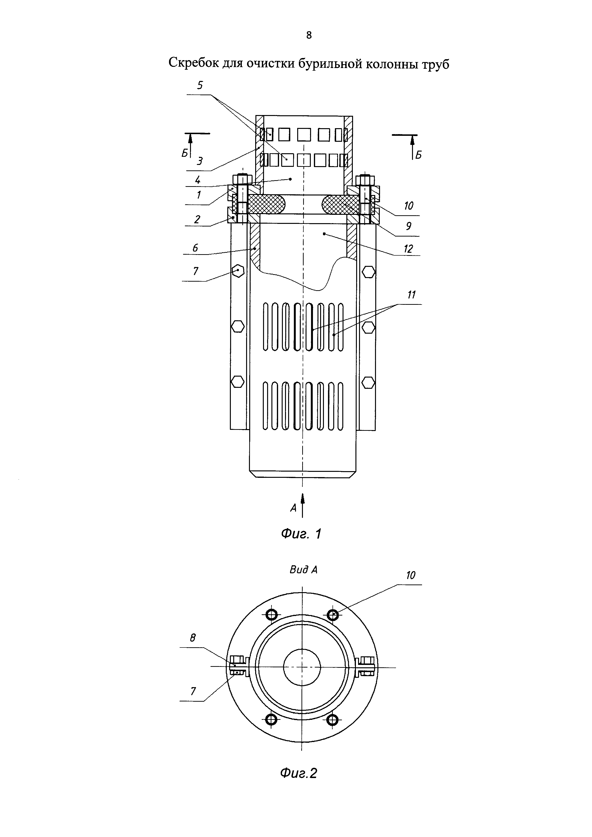
- в случае разрушения или износа резиновой шайбы и эластичной камеры, для их замены необходимо остановить процесс подъема и осуществить демонтаж устройства, при его нахождении под ротором, что требует больших затрат рабочего времени;

[10]

- устройство не имеет в составе своей конструкции приспособлений для улавливания механических частиц на поверхности труб, чтобы исключить их попадание в буровые насосы.

[11]

Известно устройство для очистки наружной поверхности труб (II) (см. а.с. СССР №285857, кл. МКИ Е21В 17/12).

[12]

Предложенное устройство выполнено в виде вращающихся вокруг своей оси на рамках пустотелой втулки, несущей на себе двуплечие подпружиненные рычаги со щетками на одном конусе и грузами на другом. Устройство приводится в движение электродвигателем с ременной передачей. При вращении втулки вокруг своей оси, под воздействием центробежных сил, воспринимаемых грузами, рычаги проворачиваются с поджимом щеток к телу очищаемой трубы.

[13]

К недостаткам устройства можно отнести:

[14]

- сложность самой конструкции и проблемы монтажа - демонтажа на буровой, с охватом колонны труб;

[15]

- наличие электропривода также осложняет работу буровой бригады.

[16]

При попадании посторонних предметов или шлама, в виде обломков горной породы, возможно заклинивание устройства, особенно при взаимодействии с муфтами, имеющими больший диаметр, чем сами трубы.

[17]

Известен скребок для очистки бурильных труб (III) (см. а.с. СССР №641076, кл. МКИ Е21В 37/02).

[18]

Скребок состоит из корпуса с внутренней перегородкой с закрепленным в нем резиновыми шайбами. Вместе они образуют верхнюю кольцевую камеру, а также нижнюю кольцевую камеру, которые заполнены нейтрализующей жидкостью и водяным паром.

[19]

Работа устройства

[20]

Скребок устанавливают под ротором, с охватом труб бурильной колонны, с контактом с ней резиновых шайб, что приводит к очистке ее поверхности от глинистого раствора.

[21]

Пар, по радиальным каналам, вместе с жидкостью нейтрализует поверхность от загрязнений.

[22]

Однако при монтаже самой конструкции на устье скважины необходимо пропустить через осевой канал трубу бурильной колонны. Замена изношенных резиновых шайб требует полного демонтажа устройства с места применения, что требует остановки процесса бурения и достаточно больших затрат рабочего времени;

[23]

- устройство не имеет приспособлений, чтобы удалять или удерживать магнитные частицы и шлам с поверхности труб.

[24]

Известно устройство для очистки труб при подъеме из скважины (ПИ) (см. пат. РФ №2.023.869, Мкл. Е21В 37/02), принятое авторами за прототип.

[25]

Устройство содержит корпус, состоящий из верхней части с центральным отверстием, отверстия для крепления автомата развенчивания труб. Нижняя часть корпуса также имеет центральное отверстие и отверстие для крепления к колонному фланцу. К нижней части, в месте расположения центрального отверстия, закреплена направляющая воронка.

[26]

Верхняя и нижняя части соединены обечайкой с окнами, поперечные размеры которых приняты больше, чем наружный диаметр очищающего узла, последний состоит из двух полуколец, которые соединены между собой болтами. Между полукольцами закреплены эластичные пластины, образующие очищающий элемент с центральным отверстием, радиальными разрезами и отверстия для стока бурового раствора.

[27]

Каждая половина очищающего узла снабжена пластиной с отверстиями для скрепления болтами и резьбовыми отверстиями.

[28]

Работа устройства

[29]

Бурильные трубы пропускают через направляющую воронку и центральное отверстие корпуса. Нижняя часть корпуса крепится болтами на колонный фланец. Направляющая воронка размещается в осевом канале технической колонны труб.

[30]

Через окна в корпусе вставляют половинки очищающего узла, с контролем плотного обхвата тела бурильной трубы, с соединением друг с другом пластинами с отверстиями под болты. После установки автомата начинают подъем труб из скважины. Очищающий элемент плотно облегает трубу и очищает ее наружную поверхность от бурового раствора, который через отверстия в теле полуколец очищающего элемента стекает обратно в скважину. При проходе муфты через очищающий элемент, последний за счет наличия радиальных разрезов отгибается вверх и после прохода муфты возвращается в исходное положение.

[31]

Отмечено, что очищающий элемент защищен от разрушения за счет радиального перемещения в корпусе.

[32]

К недостаткам конструкции корпуса следует отнести:

[33]

- наличие радиальных разрезов в очищающем элементе снижает его прочностные характеристики, а следовательно, сокращает время длительности наработки на отказ;

[34]

- отсутствие постоянных магнитов для удержания магнитных металлических частиц, негативно влияющих на качество бурового раствора, а также возможность случайного попадания посторонних предметов в ствол скважины с поверхности увеличивает риски по созданию аварийной ситуации.

[35]

Технический результат, который может быть получен при реализации предлагаемого изобретения, заключается в следующем:

[36]

- возможность замены изношенных эластичных элементов без остановки процесса бурения;

[37]

- наличие продольных пазов на поверхности полуцилиндров обеспечивает свободный сброс бурового раствора в скважину, с исключением образования поршневого эффекта при входе в осевой канал соединительной муфты;

[38]

- возможность удаления с поверхности труб бурильной колонны металлических частиц и стружки, с удержанием последних на поверхности постоянных магнитов;

[39]

- возможность захвата магнитами посторонних металлических предметов, случайно попадающих в район расположения устройства.

[40]

Технический результат достигается тем, что устройство состоит из верхней и нижней частей, связанных друг с другом болтами, с упругим эластичным элементом между ними. Верхняя часть снабжена стаканом с осевым каналом, в котором по периметру на внутренней поверхности установлены постоянные магниты, как минимум в два ряда, со смещением в шахматном порядке. Нижняя часть снабжена двумя полуцилиндрами, с крепежными уголками на наружной поверхности, связанными друг с другом болтами. В теле полуцилиндров выполнен ряд продольных пазов, а эластичный упругий элемент имеет один сквозной радиальный разрез.

[41]

Конструкция устройства поясняется чертежами, где:

[42]

- на фиг. 1 - в разрезе общий вид устройства;

[43]

- на фиг. 2 - монтаж двух полуцилиндров;

[44]

- на фиг. 3 - поперечное сечение устройства по месту расположения постоянных магнитов.

[45]

Устройство состоит из верхней части 1, нижней части 2, верхняя часть 1 снабжена стаканом 3, с осевым каналом 4, на внутренней поверхности которого размещены по крайней мере два ряда постоянных магнитов 5, с размещением последних в шахматном порядке. Нижняя часть 2 снабжена двумя полуцилиндрами 6, снабженными крепежными уголками 8, связанными друг с другом болтами 7.

[46]

Верхняя 1 и нижняя 2 части охватывают эластичный упругий элемент 9 в виде кольца, с одним сквозным радиальным разрезом и связаны друг с другом болтами 10. На внутренней поверхности полуцилиндров 6 выполнен ряд продольных пазов 11 для свободного слива бурового раствора из осевого канала 12, сформированного двумя полуцилиндрами 6, обратно в скважину.

[47]

Устройство работает следующим образом.

[48]

Перед подъемом бурильной колонны устройство устанавливается над превентором, с охватом трубы эластичным упругим элементом 9. При этом он плотно облегает поверхность трубы, с воздействием на слой бурового раствора, с его очисткой и сбросом в осевой канал 12, сформированный двумя полуцилиндрами 6. Буровой раствор через продольные пазы 11, выполненные в теле полуцилиндров 6, свободно сбрасывается в скважину. Благодаря этому, при входе муфты в осевой канал 12 полуцилиндров 6, отсутствует поршневой эффект. Далее, очищенный участок трубы выходит в осевой канал 4 стакана 3, где со стенки трубы, под действием магнитного поля, сформированного постоянными магнитами 5, удаляются металлические частицы, мелкая стружка с удержанием последних на внутренней поверхности стакана 3 между постоянными магнитами 5.

[49]

В ряде случаев имеет место несанкционированное падение различных металлических предметов в скважину, которые за счет наличия магнитов 5 прилипают к внутренней поверхности стакана 3 и не падают в скважину, что предотвращает создание аварийной ситуации.

Как компенсировать расходы
на инновационную разработку
Похожие патенты