патент
№ RU 2621925
МПК B64C1/26

СТЫК КОНСОЛИ КРЫЛА С ЦЕНТРОПЛАНОМ САМОЛЕТА

Авторы:
Кислый Геннадий Васильевич Кошелева Татьяна Михайловна Смоков Юрий Васильевич
Все (4)
Номер заявки
2016102919
Дата подачи заявки
28.01.2016
Опубликовано
08.06.2017
Страна
RU
Как управлять
интеллектуальной собственностью
Чертежи 
2
Реферат

Изобретение относится к области авиастроения. Крыло самолета состоит из центроплана и двух консолей крыла. Кессон центроплана образован верхними и нижними панелями, передним и задним лонжеронами, нервюрами. Кессон консольной части крыла состоит из верхних и нижних панелей, переднего и заднего лонжеронов и набора нервюр. На торце консоли крыла установлена стыковочная нервюра, которая имеет верхний пояс, нижний пояс и стенку со стойками. Стыковочная нервюра установлена на торце консольной части крыла. Стык верхних панелей консольной части крыла и центроплана выполнен со смещением от плоскости стыковочной нервюры в сторону центроплана. Верхние панели консольной части крыла закреплены на верхнем поясе стыковочной нервюры. Стык верхних панелей консольной части крыла и центроплана выполнен при помощи фрезерованных фланцевых узлов с колодцами на верхних панелях консолей крыла. Изобретение направлено на уменьшение количества стыковочных деталей и крепежа. 3 ил.

Формула изобретения

Стык консоли крыла с центропланом самолета, содержащий стыковочную нервюру, по нижнему поясу которой перестыкованы нижние панели консольной части крыла и центроплана, по стыку нижних панелей снаружи установлена стыковочная накладка, отличающийся тем, что стыковочная нервюра установлена на торце консольной части крыла, а стык верхних панелей консольной части крыла и центроплана выполнен со смещением от плоскости стыковочной нервюры в сторону центроплана, причем верхние панели консольной части крыла закреплены на верхнем поясе стыковочной нервюры, а стык верхних панелей консольной части крыла и центроплана выполнен при помощи фрезерованных фланцевых узлов с колодцами, имеющихся в конструкции верхних панелей консольной части крыла.

Описание

[1]

Изобретение относится к области авиастроения, а именно к конструкции самолетов, касается конструкции стыка консоли крыла с центропланом самолета.

[2]

Известно устройство соединения консолей крыла и центроплана по патенту RU №2556268 C1, МПК В64С 1/26. В данной публикации раскрывается соединение консолей крыла и центроплана самолета, в котором консоль крыла выполнена с верхними и нижними панелями, а центроплан выполнен в виде коробчатой конструкции, содержит стенки бортовых нервюр, верхнюю и нижнюю панели, при этом верхние и нижние панели центроплана соединены соответственно с верхними и нижними панелями консоли крыла посредством верхних и нижних внешних и внутренних накладок, причем: в первом варианте прокладки установлены между верхней внутренней накладкой и верхней панелью центроплана, во втором варианте прокладки установлены между верхней внешней накладкой и верхней панелью центроплана.

[3]

Недостатками устройства являются значительные затраты времени при подборе и подгонке прокладок и, как следствие, увеличенный цикл сборки.

[4]

Наиболее близким техническим решением, выбранным в качестве прототипа, является патент US №2012/0286090 А1, в котором приводится способ соединения фюзеляжа с крылом, характеризующийся тем, что торцевая нервюра коробчатого центроплана, расположенная на поверхности фюзеляжа, обеспечивает стыковку консоли крыла с центропланом по всему контуру. Нижние панели стыкуются на тавровом нижнем поясе нервюры. Верхняя панель отъемной части крыла и верхняя панель центроплана состыкованы кронштейнами, установленными на наружной и внутренней поверхностях верхней панели консоли крыла и верхней панели центроплана крыла. Кронштейны соединены между собой в поперечном направлении через нервюру, продлевающую фюзеляж, болтами, в целях передачи механических напряжений.

[5]

Недостатками известного технического решения является большое количество стыковочных кронштейнов и соединительного крепежа, что приводит к повышенной массе конструкции, высокой трудоемкости при изготовлении деталей и стыковке.

[6]

Технический результат заявленного изобретения заключается в уменьшении трудоемкости и времени стыковки частей крыла, уменьшении количества стыковочных деталей и крепежа, снижении массы конструкции.

[7]

Указанный технический результат достигается тем, что консоль крыла выполнена в виде коробчатой конструкции, имеющая стыковочную нервюру, установленную на торце консольной части крыла. Центроплан коробчатой конструкции не имеет стыковочной нервюры. Стыковочная нервюра, установленная на торце консольной части крыла, обеспечивает стыковку нижних панелей на тавровом нижнем поясе нервюры. Стыковка стенок лонжеронов выполнена на тавровых стойках нервюры с прокладками по стенкам лонжеронов центроплана. Стык верхних панелей консольной части крыла и центроплана выполнен со смещением от плоскости стыковочной нервюры в сторону центроплана. Стыковка верхних панелей консольной части крыла и центроплана выполнена при помощи фрезерованных фланцевых узлов с колодцами, выполненными зацело с верхними фрезерованными панелями или цельнофрезерованных фланцевых узлов с колодцами, установленных на верхних панелях. Торцы колодцев центроплана и консоли крыла стыкуются болтами. Колодцы закрыты съемной лентой, которая защищает их от влаги и внешних воздействий.

[8]

По сравнению с известными стыками консоли крыла и центроплана заявленный стык отличается меньшим количеством деталей и крепежа, отсутствием подгонки деталей при стыковке, уменьшенным циклом сборки и меньшими трудозатратами. Имеется компенсация погрешностей в вертикальном направлении по контуру панелей консоли крыла и центроплана. При этом обеспечивается прочность и надежность стыка.

[9]

Предлагаемая конструкция стыка дает возможность упростить и облегчить стыковку агрегатов, что снижает трудоемкость работ при стыковке консолей крыла с центропланом.

[10]

В приведенном описании представлено соединение только правой консольной части крыла и центроплана, а соединение левой консольной части крыла и центроплана является зеркальным отражением относительно продольной плоскости симметрии самолета, т.е. описание конструкции стыка левой консольной части крыла будет аналогично представленному описанию.

[11]

Таким образом, заявляемый стык консоли крыла с центропланом самолета соответствует критерию изобретения «новизна». Сравнение заявляемого решения не только с прототипом, но и с другими защищенными патентами техническими решениями в данной области техники, не позволило выявить в них признаки, отличающие заявляемое решение от прототипа, что позволяет сделать вывод о соответствии критерию «изобретательский уровень». Заявляемое решение пригодно к осуществлению промышленным путем.

[12]

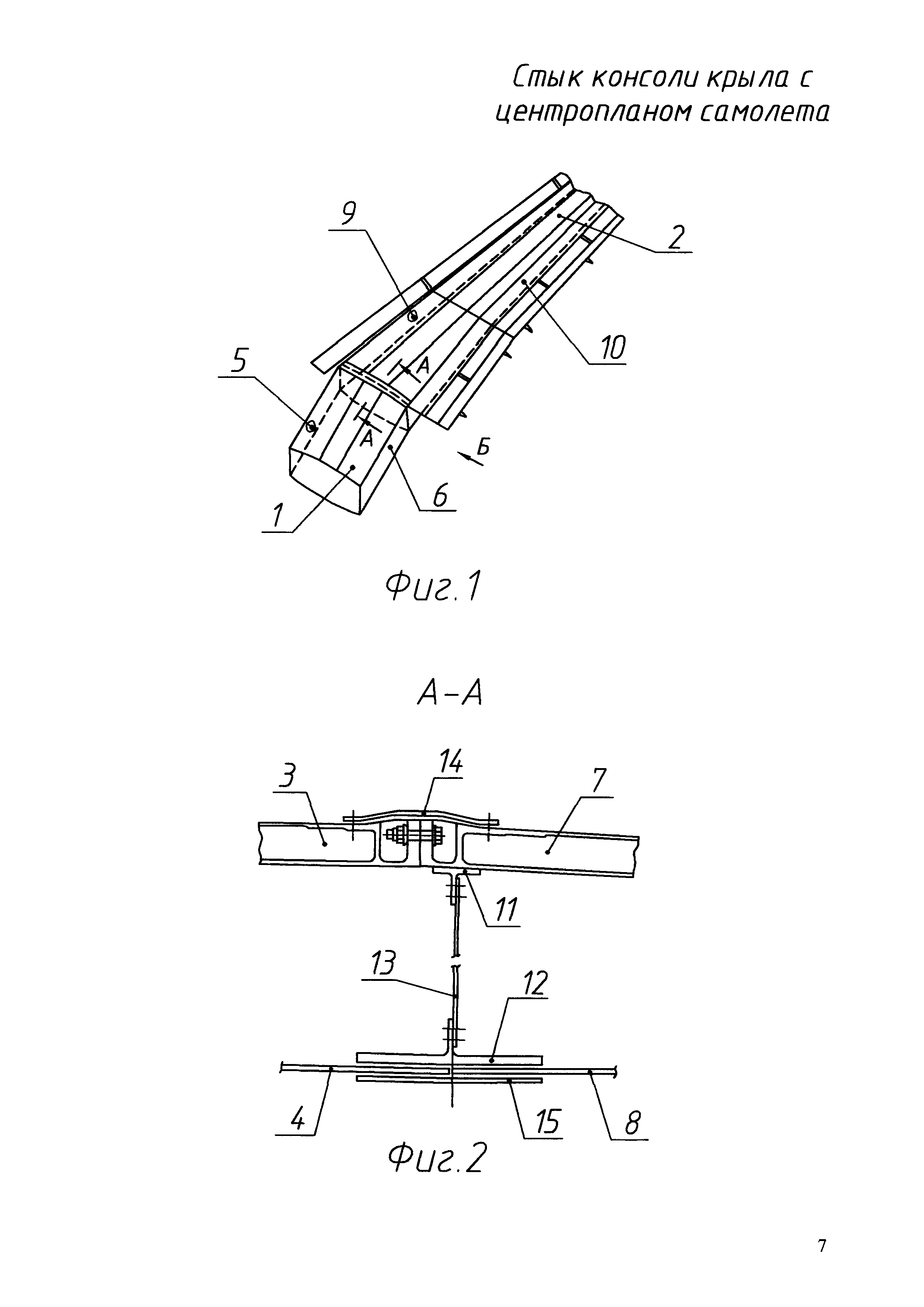
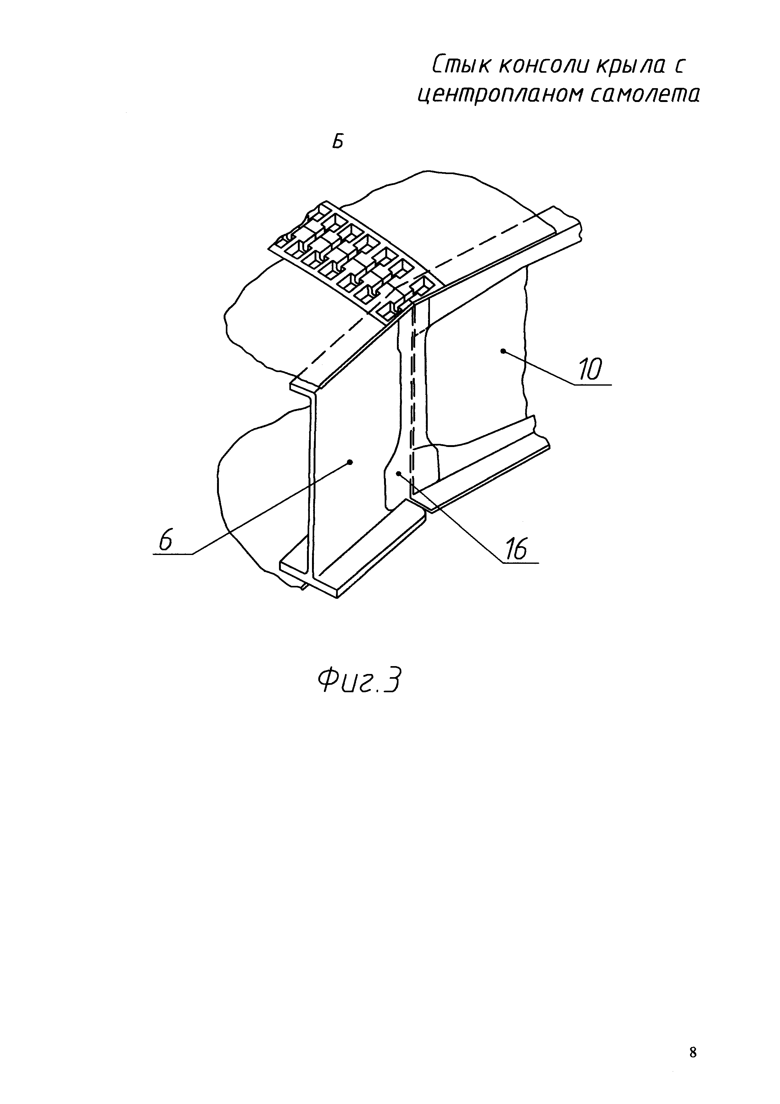
Сущность изобретения поясняется нижеследующим описанием и чертежами, где на фиг. 1 показан общий вид крыла самолета, на фиг. 2 показано поперечное сечение стыка правой консоли крыла с центропланом (по направлению полета), а на фиг. 3 представлен стык лонжеронов консольной части крыла и центроплана (для заднего лонжерона).

[13]

Крыло самолета состоит из центроплана 1 и двух консолей крыла 2. Кессон центроплана 1 образован верхними 3 и нижними 4 панелями, передним 5 и задним 6 лонжеронами, нервюрами. Стыковочные нервюры отсутствуют. Кессон консольной части крыла 2 состоит из верхних 7 и нижних 8 панелей, переднего 9 и заднего 10 лонжеронов и набора нервюр. На торце консоли крыла 2 установлена стыковочная нервюра.

[14]

Стыковочная нервюра консольной части крыла 2 имеет верхний пояс 11, нижний пояс 12 и стенку 13 со стойками.

[15]

Стык верхних панелей 7 консольной части крыла с верхними панелями 3 центроплана - фланцевый со стыковочными колодцами по всей кромке верхних панелей. Для обеспечения совпадения сопрягаемых поверхностей выполняется фрезерование в разделочных стендах центроплана и консолей крыла стыковочных фланцев по плоскости фланцев. Стыковые болты установлены в пазы колодцев панелей. Для предохранения от попадания влаги колодцы закрыты перекрывной съемной лентой 14.

[16]

Нижние панели 8 консольной части крыла 2 и нижние панели 4 центроплана 1 перестыкованы по нижнему поясу 12 таврового сечения стыковочной нервюры и наружной накладке 15 многорядным болтовым соединением.

[17]

Стенка заднего лонжерона 10 правой консольной части крыла 2 стыкуется со стенкой заднего лонжерона 6 центроплана 1 болтами через торцевую стойку 16 таврового сечения, закрепленной на стенках лонжеронов. Аналогично выполнена стыковка стенки переднего лонжерона 9 левой консольной части крыла со стенкой переднего лонжерона 5 центроплана 1.

[18]

Стыковку центроплана 1 с консолью крыла 2 осуществляют следующим образом. Консоль крыла 2 подводят к центроплану 1 сбоку и сверху, обеспечивают прилегание нижней поверхности нижнего таврового пояса 12 стыковочной нервюры консоли с верхней поверхностью нижних панелей 4 центроплана 1. Снаружи стык нижних панелей 8 консольной части крыла 2 и нижних панелей 4 центроплана 1 перекрывается накладкой 15. Стыковка нижних панелей 6 и 7 производится несколькими рядами болтов. Стыковка верхних панелей 3 и 7 выполняется одним рядом горизонтально установленных в колодцах болтов. Стык верхних панелей консольной части крыла и центроплана закрыт съемной лентой 14. Стыковка стенок лонжеронов консоли крыла 2 и центроплана 1 выполняется с помощью стоек торцевой нервюры. Торцевая стойка 16 на переднем и заднем лонжеронах устанавливается по стенке лонжерона и по стенке торцевой нервюры при сборке консоли крыла. При стыковке консоли 2 и центроплана 1 устанавливаются компенсирующие прокладки между полками торцевых стоек и стенками лонжеронов центроплана.

[19]

Благодаря такому выполнению стыковки консольной части крыла и центроплана уменьшено количество стыковочных деталей и крепежа, вследствие чего снижены трудозатраты, сокращен цикл сборки стыка консоли крыла с центропланом. Масса конструкции минимальна.

[20]

Выпущены рабочие чертежи.

Как компенсировать расходы
на инновационную разработку
Похожие патенты