Изобретение относится к системам и способам выявления причин возникновения претензий и инцидентов в сети устройств самообслуживания. Техническими результатами являются повышение качества анализа клиентских обращений, повышение точности и скорости анализа претензий пользователей устройства самообслуживания. В способе выявления и классификации причин возникновения претензий пользователей в устройствах самообслуживания получают набор претензий пользователей в хронологическом порядке. Выделяют группу претензий для анализа на основании требования к типу и количеству операций. Получают операцию, соответствующую претензии из выделенной на предыдущем шаге группы претензий, и проводят анализ операции посредством применения синтаксического анализа текста. Выполняют построчное чтение операции и определяют клиентскую сессию пользователя на основании операции. Выявляют причину возникновения ошибки по операции пользователя и осуществляют классификацию претензий пользователей на основании операций пользователей, по которым произошли ошибки в устройстве самообслуживания. 2 н. и 8 з.п. ф-лы, 4 ил.
1. Способ выявления и классификации причин возникновения претензий пользователей в устройствах самообслуживания, включающий следующие шаги: получают набор претензий пользователей в хронологическом порядке, возникших при использовании устройства самообслуживания; выделяют группу претензий пользователей для анализа на основании по меньшей мере одного требования к типу и количеству операций, причем каждой претензии соответствует по меньшей мере одна операция; получают по меньшей мере одну операцию, соответствующую по меньшей мере одной претензии из выделенной на предыдущем шаге группы претензий; проводят анализ по меньшей мере одной операции посредством применения синтаксического анализа текста, причем выполняют построчное чтение по меньшей мере одной операции; определяют по меньшей мере одну клиентскую сессию пользователя на основании по меньшей мере одной операции; выявляют по меньшей мере одну причину возникновения ошибки по операции пользователя; осуществляют классификацию претензий пользователей на основании операций пользователей, по которым произошли ошибки в устройстве самообслуживания. 2. Способ по п. 1, характеризующийся тем, что совместно с набором претензией пользователя получают фото- или видеоизображение пользователя. 3. Способ по п. 1, характеризующийся тем, что полученный набор претензий пользователей фильтруют на основании типа произошедших операций. 4. Способ по п. 1, характеризующийся тем, что при получении набора претензий пользователей используют биометрическую идентификацию пользователя по голосу для записи его претензии. 5. Способ по п. 1, характеризующийся тем, что при получении набора претензий пользователей операции пользователя записываются автоматически в журнал событий. 6. Способ по п. 1, характеризующийся тем, что выделяют группу претензий пользователей, относящиеся к сбойным операциям, на основании доли затронутых пользователей, или продуктов, или степени неисправности. 7. Способ по п. 1, характеризующийся тем, что выделяют группу претензий пользователей, относящиеся к сбойным операциям, на основании их критичности. 8. Способ по п. 1, характеризующийся тем, что причина возникновения ошибки определяется по символьному или числовому идентификатору, который однозначно соответствует типу операции и/или типу ошибки. 9. Способ по п. 1, характеризующийся тем, что классификацию претензий осуществляют на основании найденных ошибок по операционным дням работы банкомата, и/или по типам операций, и/или типам банкоматов, и/или типам журналов событий. 10. Система выявления и классификации причин возникновения претензий пользователей в устройствах самообслуживания, содержащая: по меньшей мере одно устройство самообслуживания; по меньшей мере одно устройство обработки данных; по меньшей мере одно устройство хранения данных; по меньшей мере одну программу, где одна или более программа хранится на одном или более устройстве хранения данных и исполняется на одном и более устройстве обработки данных, причем одна или более программа включает инструкции для выполнения способа по п. 1.
ОБЛАСТЬ ТЕХНИКИ [001] Данное техническое решение, в общем, относится к области вычислительной техники, а в частности к системам и способам выявления причин возникновения претензий и инцидентов в сети устройств самообслуживания. УРОВЕНЬ ТЕХНИКИ [002] Банковские устройства самообслуживания (далее - УС) быстро сыграли ключевую роль в осуществлении финансовых транзакциях. Поэтому важность эффективного управления такими УС с возможностью выявления и классификации причин возникновения претензий пользователей продолжает расти. УС позволяют клиентам осуществлять различные финансовые операции, включая депозиты, переводы средств между счетами, платежи по счетам, запросы сальдо, снятие наличных денег и т.п. [003] УС обычно размещаются в местах, где клиенты УС могут быстро и удобно выполнять транзакции, включая перевод денежных средств. В некоторых случаях УС принадлежат юридическому лицу (например, финансовому учреждению), а управляются другим субъектом, таким как поставщик услуг, который заключил контракт с финансовым учреждением по обслуживанию. В этом случае поставщик услуг является оператором УС. [004] Операторы размещают УС в местах, где клиенты могут быстро и удобно выполнять транзакции, по ряду причин. Например, владелец ресторана может приобрести УС для размещения в ресторане, чтобы увеличить прибыль в баре ресторана. Финансовые учреждения обычно управляют крупными сетями УС, которые позволяют клиентам финансовых учреждений иметь больше свободы при совершении финансовых транзакций. Клиенты финансового учреждения, которое предоставляют такую большую сеть УС, рассматривают большое количество УС как преимущество ведения бизнеса с конкретным финансовым учреждением. Финансовые учреждения рассматривают УС как еще один источник потенциальных доходов. [005] Операторы банкоматов (иногда ATM от англ. Automated teller machine), которые являются типом УС, должны эффективно управлять каждым банкоматом, для того чтобы обосновать причину размещения банкомата в определенном месте и следить за отсутствием сбоев. Эксплуатируемый банкомат должен правильно функционировать (т.е. без механических или электрических сбоев) и содержать достаточную сумму денежных средств для обработки каждой транзакции, запрашиваемой клиентом банкомата. Если банкомат не работает, клиент обычно находит банкомат другого финансового учреждения и использует этот банкомат для выполнения транзакции. Оператор нерабочего банкомата может потерять доход, связанный с будущими транзакциями, если клиент не вернется к этому оператору банкомата из-за негативного опыта эксплуатации, в связи с чем выявление и классификация причин возникновения претензий пользователей в канале банкомата является очень важной задачей в уровне техники. [006] Современные методы управления УС дороги для реализации и ограничены по функциональности. Дополнительно данные методы управления УС часто выполняются сторонними поставщиками услуг, что усложняет работу по обработке претензий пользователей. [007] Из уровня техники известна заявка на патент US 20020082994 А1 «Method and apparatus for managing automated banking machines», патентообладатель: Efunds Corporation, дата публикации: 27.06.2002.В данном техническом решении приложение управления банкоматом используется для обеспечения оператора банкомата полным набором информации об управлении банкоматом. Эта информация для управления банкоматом может позволить оператору ATM повысить прибыльность банкоматов за счет повышения доступности и сокращения средств ATM. Приложение управления банкоматом может включать в себя любое количество следующих модулей: модуль управления денежными средствами, модуль запроса статуса операции, модуль курьерских услуг, модуль автоматической проверки баланса, модуль проверки депозитов, модуль управления сайтом и модуль управления прибылью. СУЩНОСТЬ ИЗОБРЕТЕНИЯ [008] Техническое решение направлено на устранение недостатков, присущих существующим решениям из известного уровня техники. [009] Технической задачей, поставленной в данном техническом решении, является выявление и классификация причин возникновения претензий пользователей в устройствах самообслуживания. [0010] Техническим результатом, проявляющимся при решении вышеуказанной задачи, является повышение качества анализа претензий пользователей, возникших в результате ошибок работы устройств самообслуживания. [0011] Дополнительным техническим результатом, достигающимся при решении вышеуказанной задачи, является повышение точности анализа претензий пользователей и скорости анализа претензий пользователей за счет использования автоматизированного синтаксического анализатора для анализа сбойных операций. [0012]Данный технический результат достигается благодаря осуществлению способа выявления и классификации причин возникновения претензий пользователей в канале устройства самообслуживания, в котором получают набор претензий пользователей в хронологическом порядке, возникших при использовании устройства самообслуживания; выделяют группу претензий пользователей для анализа на основании по меньшей мере одного требования к типу и количеству операций, причем каждой претензии соответствует по меньшей мере одна операция; получают по меньшей мере одну операцию, соответствующую по меньшей мере одной претензии из выделенной на предыдущем шаге группы претензий; проводят анализ по меньшей мере одной операции посредством применения синтаксического анализа текста, причем выполняют построчное чтение по меньшей мере одной операции; определяют по меньшей мере одну клиентскую сессию пользователя на основании по меньшей мере одной операции; выявляют по меньшей мере одну причину возникновения ошибки по операции пользователя; затем осуществляют классификацию претензий пользователей на основании операций пользователей, по которым произошли ошибки в устройстве самообслуживания. [0013] В некоторых вариантах осуществления совместно с набором претензией пользователя получают фото- или видеоизображение пользователя. [0014] В некоторых вариантах осуществления полученный набор претензий пользователей фильтруют на основании типа произошедших операций. [0015] В некоторых вариантах осуществления при получении набора претензий пользователей используют биометрическую идентификацию пользователя по голосу для записи его претензии. [0016] В некоторых вариантах осуществления при получении набора претензий пользователей, операции пользователя записываются автоматически в журнал событий. [0017] В некоторых вариантах осуществления выделяют группу претензий пользователей, относящиеся к сбойным операциям, на основании доли затронутых пользователей или продуктов, или степени неисправности. [0018] В некоторых вариантах осуществления выделяют группу претензий пользователей, относящиеся к сбойным операциям, на основании их критичности. [0019] В некоторых вариантах осуществления причина возникновения ошибки определяется по символьному или числовому идентификатору, который однозначно соответствует типу операции и/или типу ошибки. [0020] В некоторых вариантах осуществления классификацию претензий осуществляют на основании найденных ошибок по операционным дням работы устройства самообслуживания и/или по типам операциям, и/или типам устройств самообслуживания, и/или типам журналов событий. КРАТКОЕ ОПИСАНИЕ ЧЕРТЕЖЕЙ [0021] Признаки и преимущества настоящего технического решения станут очевидными из приводимого ниже подробного описания изобретения и прилагаемых чертежей, на которых: [0022] На Фиг. 1 приведена блок-схема способа выявления и классификации причин возникновения претензий пользователей в канале устройстве самообслуживания; [0023] На Фиг. 2 показана схема взаимодействия узлов системы выявления и классификации причин возникновения претензий пользователей в канале устройства самообслуживания; [0024] На Фиг. 3 показана примерная схема анализа претензий посредством применения синтаксического анализа текста; [0025] На Фиг. 4 показан вариант осуществления, когда одной претензии пользователя соответствуют несколько операций и ошибок по ним. ПОДРОБНОЕ ОПИСАНИЕ ИЗОБРЕТЕНИЯ [0026] Ниже будут описаны понятия и термины, необходимые для понимания данного технического решения. [0027] В данном техническом решении под системой подразумевается, в том числе компьютерная система, ЭВМ (электронно-вычислительная машина), ЧПУ (числовое программное управление), ПЛК (программируемый логический контроллер), компьютеризированные системы управления и любые другие устройства, способные выполнять заданную, четко определенную последовательность операций (действий, инструкций). [0028] Под устройством обработки команд подразумевается электронный блок либо интегральная схема (микропроцессор), исполняющая машинные инструкции (программы). [0029] Устройство обработки команд считывает и выполняет машинные инструкции (программы) с одного или более устройств хранения данных. В роли устройства хранения данных могут выступать, но не ограничиваясь, жесткие диски (HDD), флеш-память, ПЗУ (постоянное запоминающее устройство), твердотельные накопители (SSD), оптические приводы. [0030] Программа - последовательность инструкций, предназначенных для исполнения устройством управления вычислительной машины или устройством обработки команд. [0031] ATM (Automated Teller Machine) или банкомат - программно-технический комплекс, предназначенный для автоматизированной выдачи и/или приема наличных денежных средств как с использованием платежных карт, так и без, а также выполнения других операций, в том числе оплаты товаров и услуг, составления документов, подтверждающих соответствующие операции. [0032]Журнал событий (англ. log) - стандартный способ для приложений и операционной системы записи и централизованного хранения информации о важных программных и аппаратных событиях. Служба журналов событий сохраняет события от различных источников в едином журнале событий, которая позволяет пользователю наблюдать за журналом событий, программный интерфейс (API) позволяет приложениям записывать в журнал информацию и просматривать существующие записи. [0033] Синтаксический анализатор (иначе парсер) - это программа или часть программы, выполняющая синтаксический анализ. В ходе синтаксического анализа исходный текст преобразуется в структуру данных, обычно - в дерево, которое отражает синтаксическую структуру входной последовательности символов и хорошо подходит для дальнейшей обработки. [0034] Банковское устройство самообслуживания (англ. self-service terminal) -это наиболее общее определение всех автоматов, позволяющих клиенту совершать различные банковские операции без участия служащих банка. Банковские устройства самообслуживания подразделяются на два типа в зависимости от того, поддерживают ли они функцию выдачи наличных денег или нет. Если функция выдачи наличных средств поддерживается, то данные устройства самообслуживания называются ATM (англ. automated teller mashines), или банкоматы, в другом случае -NCS (англ. non-cash systems), или терминалы для безналичных операций. [0035] В некоторых вариантах осуществления способ выявления и классификации причин возникновения претензий пользователей в устройствах самообслуживания, показанный на Фиг. 1, включает следующие шаги. [0036] Шаг 101: получают набор претензий пользователей в хронологическом порядке, возникших при использовании устройства самообслуживания; [0037] Предварительно пользователь 200, как показано на Фиг. 2, осуществляет доступ к устройству самообслуживания, которым может быть банкомат 201 и осуществляет необходимые ему банковские операции. [0038] В качестве банковской операции может быть, не ограничиваясь, взнос наличных на счет карты, оплата услуг наличными, выдача денежных средств. [0039]Во время проведения операции взноса наличных на счет карты нераспознанные купюры возвращаются клиенту. В случае если клиент не забрал/не смог забрать возвращенные нераспознанные купюры в течение таймаута N секунд, распознанные денежные средства сохраняются в кассете. В журнале 206 событий ERL ошибка фиксируется следующим образом: [0040] При возникновении сбоев при работе банкомата 201, например, появления ошибок или неверного проведения операций, или аппаратного сбоя при приеме купюр, пользователь 200 как правило оставляет претензию по работе банкомата 201 и системы в целом. [0041] Все претензии пользователей, оставленные в банкомате 201 или по телефону оператору горячей линии, поступают из банкомата 201 или из удаленного сервера 202 от пользователя или оператора горячей линии в систему 203 учета и регистрации жалоб и претензий клиентов. [0042] В некоторых вариантах осуществления используют биометрическую идентификацию пользователя 200 по голосу для записи его претензии. [0043] Способы связи, описанные выше, позволяют множеству пользователей/клиентов получать доступ к системе 203 через сеть связи непосредственно из банкомата или подключаться из удаленного сервера 202, который может быть веб-сервером. Удаленный сервер 202 может быть подключенным к множеству серверов 202 а, включая, но, не ограничиваясь, сервер базы данных, файловый сервер, сервер электронной коммерции, сервер управления контентом, сервер каталогов, FTP сервер, сервер печати и прокси-сервер с или без брандмауэром. [0044] В некоторых вариантах реализации совместно с претензией пользователя 200 получают фото- или видеоизображение пользователя с одной из установленных на банкомате 201 камер (в том случае, если на банкомате установлена система видеонаблюдения). [0045] Шаг 102: выделяют группу претензий пользователей для анализа на основании по меньшей мере одного требования к типу и количеству операций, причем каждой претензии соответствует по меньшей мере одна операция; [0046] Каждой зафиксированной претензии пользователя ставится в соответствие по меньшей мере одна операция, по которой произошла ошибка (другими словами сбойная операция), как показано на Фиг. 4. [0047]Данное соответствие может подразумевать запись претензии и операции в один файл, использование с одним и тем же числовым или символом идентификатором, в одну запись базы данных и т.д. [0048] Все сбойные операции записываются автоматически в журнал 206 событий или лог, лог-файл, который представляет собой сообщения системы, сформированные в результате произошедших операций, в результате осуществления действий пользователя 200 (Фиг. 2) в банкомате 201, причем эти данные могут фильтроваться на основании типа произошедших операций. [0049] Критерии фильтра могут включать в себя предопределенные условия и/или условия, разработанные с использованием машинного обучения или других адаптивных методов. Критерии фильтра могут быть реализованы на сервере 204 системы 203 на основе продукционных правил, автоматически настроенных пользователем или динамически настроенных с помощью программного обеспечения на основе методов машинного обучения (например, с использованием искусственной нейронной сети). [0050]Журнал 206 событий состоит из записей, хранящихся в базе данных 205. В качестве журнала 206 событий могут использоваться, не ограничиваясь, PRJ-, PRR-, PRF- и ERL-файлы. В некоторых вариантах реализации журнал 206 событий состоит из одного или нескольких файлов, каждый из которых включает конкретный тип операций или ошибок. [0051]Журналы событий 206, например, в формате *.рrr и *.prj хранятся в файлах, соответствующих операционным дням банкомата, в виде текстовых файлов с именами вида ГГГГММДД, где ГГГГ - год, ММ - месяц и ДД - день открытия соответствующего операционного дня. Журнал *.erl может создаваться каждый день с именем того же вида ГГГГММДД. Например, файл 20170411.рrr содержит копию клиентских чеков за операционный день банкомата, открытый 11 апреля 2017 года. Сроки хранения журналов событий, используемые печатные формы, уровни трассировки и другие характеристики журналов событий являются параметрами конфигурации программного обеспечения банкомата и могут быть изменены пользователем, который является, например оператором. [0052] Записи об операциях, по которым произошли ошибки, могут храниться в течение заранее заданного времени, а потом архивироваться. [0053] Кратко сводную информацию по журналам событий можно представить в виде таблицы. [0054] В некоторых вариантах реализации могут сохранять внутренние состояния неисправностей в журнале 206 событий, которые не связаны с претензий пользователя, для последующего анализа, даже если состояния отказа никогда не передаются в качестве сигнала сбоя. Банкомат 201 может передавать сигналы сбоя, соответствующие состояниям отказа, не удовлетворяющим критерию фильтра, на сервер 204 удаленного управления в ответ на запрос этих сигналов неисправности или на периодической основе (например, ежедневно, еженедельно, ежемесячно и т.п.). [0055] Сервер 204, размещенный в системе, агрегирует информацию от всех тестирующих и пользовательских клиентов, которые были настроены для использования сервера 204. В одном варианте осуществления один сервер 204 обслуживает всех клиентов. В другом варианте множество серверов 204 обслуживают подмножество клиентов. Сервер 204 также реализует функциональную логику, которая предоставляет пользователю доступ к сети для предоставления подробной информации о новых событиях и ошибках, а также для анализа существующих ошибок. [0056] Выделяют группу претензии на основании операций, например, на основании их критичности. Например, операции могут быть сгруппированы по следующим категориям: - операция не может быть выполнена; - операция может быть выполнена частично; - операция может быть выполнена на бумаге, но требует последующего ручного ввода в систему; - операция может быть выполнена полностью, используя обходное решение; - операция может быть выполнена полностью, скорость работы сотрудника банка снижена; - операция доступна - запрос на доработку, консультацию и т.д. [0057] В некоторых вариантах реализации технического решения операции могут быть объединены в группы на основании доли затронутых пользователей или продуктов, или степени неисправности, не ограничиваясь. [0058] На основании того, что операции объединены в группы, выделяют на основании заранее заданных требований наиболее приоритетные претензии пользователей, относящиеся к сбойным операциям. [0059]Также выделяют группу претензии на основании заранее заданного требования по количеству соответствующих операций. [0060] Шаг 103: получают по меньшей мере одну операцию, соответствующую по меньшей мере одной претензии из выделенной на предыдущем шаге группы претензий; [0061] Система 203 учета и регистрации жалоб и претензий пользователей использует опубликованный API 206. Посредством данного API, имеющего графический интерфейс, эффективно выгружают жалобы, претензии, а также ошибки в банкомате, из-за которых возникли претензии, из системы 203. Преимущество API заключается в том, что, если пользователю необходимо, чтобы система 203 учета и регистрации жалоб и претензий клиентов поддерживала другие типы устройств (таких как обработчики или другие тестеры), производителю конкретного устройства необходимо только опубликовать собственный файл конфигурации. Данный файл конфигурации для системы 203 содержит разные типы событий, возникающие ошибки и их атрибуты. [0062] В примерном варианте осуществления система 203 учета и регистрации жалоб и претензий пользователей использует «веб-службу», широко известный универсальный стандарт, который поддерживает взаимодействие между устройствами и компонентами в сети. В одном варианте осуществления язык описания внешних интерфейсов веб-службы (WSDL) используется в сочетании с протоколом обмена сообщениями (SOAP) и языком разметки (XML) для предоставления веб-сервисов через Интернет.WSDL описывает открытый интерфейс веб-службы. [0063] Шаг 104: проводят анализ по меньшей мере одной операции посредством применения синтаксического анализа текста; [0064] На данном шаге предварительно проверяют журнал 206 событий на полноту: все необходимые ли файлы журналов 206 событий получены, содержат ли информацию о претензионных транзакциях. Для пользовательских претензий, по которым не получен/получен в неполном объеме комплект журналов 206 событий банкомата, запрашивают повторный сбор журналов событий. [0065] Шаг 104 а: выполняют построчное чтение по меньшей мере одной операции; [0066] Как показано на Фиг. 3, журнал 206 событий передается в синтаксический анализатор 301, который обрабатывает журнал 206 событий, чтобы сформировать итоговый файл, например в формате XML. Следует отметить, что синтаксический анализатор 301 также может быть реализован с помощью языка программирования Java. Журнал 206 событий часто включает в себя информацию компиляции и выполнения, которая используется при отладке и других операциях по техобслуживанию банкомата. Синтаксический анализатор 301 обрабатывает эту информацию, посредством использования дополнительной информации для создания сформированного файла отчета в формате XML. Кроме того, синтаксический анализатор 301 может извлекать управляющие символы, которые не используются во время дальнейших шагов способа. [0067] Синтаксический анализатор 301 - это универсальный инструмент, который может выполнять SQL-запросы для исходных файлов (то есть журналов событий). Кроме того, SQL-запросы позволяют осуществлять импорт, разбор, представление и экспорт множества различных данных из входных журналов событий в различных форматах (например, CSV, XML, txt, W3C, IIS, таблица базы данных, и другие форматы данных). Кроме того, синтаксический анализатор 301 обеспечивает фильтрацию записей журнала событий, поиск данных и шаблонов в файлах различных форматов данных. Также синтаксический анализатор 301 осуществляет преобразование журналов событий из одного формата данных в другой формат данных, создание отформатированных отчетов и XML-файлов, содержащих данные, полученные из разных источников журналов, экспорт данных (все или отдельные части журналов событий) в таблицы базы данных (например, таблицы SQL), интеллектуальный анализ данных и т.д. [0068] Кроме того, синтаксический анализатор 301 поддерживает агрегированные функции SUM, COUNT, AVG, MIN и MAX. Он поддерживает наиболее распространенные операторы, такие как больше (>), IS NULL, LIKE и IS IN. Также синтаксический анализатор 301 поддерживает большинство стандартных SQL-запросов: SELECT, WHERE, GROUP BY, HAVING и ORDER BY. [0069] В некоторых вариантах реализации синтаксический анализатор 301 позволяет сторонним разработчикам программного обеспечения добавлять в анализатор 301 подключаемые модули. Например, чтобы прочитать и проанализировать журнал 206 событий определенного формата данных, синтаксический анализатор 301 будет взаимодействовать с подключаемым модулем, например, таким как пользовательское считывающее устройство. [0070] Шаг 104 б: определяют по меньшей мере одну клиентскую сессию пользователя на основании по меньшей мере одной операции; [0071] На следующем шаге посредством синтаксического анализатора 301 определяют клиентскую сессию пользователя и ее параметры на основании по меньшей мере одной операции. Параметрами клиентской сессии могут быть начало клиентской сессии (время начала сессии), завершение клиентской сессии (время окончания сессии). Причем завершение клиентской сессии может быть вызвано в связи тем, что операция прекращена (принудительное завершениесессии) и в связи с тем, что произошло принудительное завершение транзакции (принудительное завершение сессии). [0072]Дополнительно на данном шаге посредством синтаксического анализатора 301 выявляют номер банкомата 201, в котором произошла сбойная операция и возникла клиентская претензия, а также номер банковской карты пользователя. [0073] В таблице ниже показано, как может выглядеть журнал 206 событий в формате PRJ: [0074] Шаг 104 в: выявляют по меньшей мере одну причину возникновения ошибки по операции пользователя; [0075] Чтобы сформировать файл разбора, синтаксический анализатор 301 может выполнять в журнале 206 событий любую комбинацию различных операций. Это могут быть операции фильтрации, поиска данных и/или шаблонов в файлах различных форматов данных, группирования и/или упорядочивания извлеченной информации в соответствии с условиями, указанными в запросе синтаксического анализатора 301. Синтаксический анализатор 301 выявляет по меньшей мере одну операцию пользователя, по которой произошли ошибки в банкомате, и генерирует выходные данные на основании результатов запроса. Выходные данные могут представлять собой конечные результаты преобразования журнала 206 событий из одного формата данных в другой формат данных. Также это может быть создание отформатированных отчетов и XML-файлов, содержащих данные, полученные из разных источников журналов 206 событий. [0076] Синтаксический анализатор 301 представляет результат своей работы конечным пользователям (например, через модуль 303 отображения), записывает выявленные операции в одну или несколько таблиц базы данных и/или записывает выявленные операции в файл данных указанного формата данных. [0077]Анализ журналов 206 событий банкомата по каждой претензии с занесением результатов в файл разбора может осуществляться в следующем порядке: [0078] 4.1 PRJ - на предмет сбойных операций на банкомате; [0079] 4.2 ERL - на предмет ошибок и сбоев со стороны железа банкомата; [0080]4.3 NDC - на предмет ошибок и сбоев, зафиксированных при обмене сообщениями банкомат-Хост; [0081] 4.4 PRR - опционально - на предмет содержания предъявленного пользователю чека по сбойной операции; [0082] 4.5 HWR - опционально - на пример ошибок, зафиксированных на банкомате, полная информация содержится в ERL-логе; [0083] 4.6 PPS - опционально; [0084]4.7 STF - опционально - на предмет отслеживания состояний, на которые переходил клиент в момент выполнения сбойной операции; [0085] 4.8. XML - опционально. [0086] Синтаксический анализатор 301 на данном шаге определяют по меньшей мере одну причину возникновения ошибки по операциям пользователя. [0087] Причина возникновения ошибки определяется по символьному или числовому идентификатору, который однозначно соответствует типу операции, типу ошибки. [0088] Пример отображения успешной операции выдачи наличных в журнале PRJ выглядит следующим образом: [0090] Во время проведения операции взноса нераспознанные купюры возвращаются пользователю. В случае если пользователь не забрал/не смог забрать возвращенные нераспознанные купюры в течение таймаута N секунд, распознанные денежные средства сохраняются в кассете. В журнале ERL ошибка фиксируется следующим образом: [0091]Таймаут является настраиваемым параметром банкомата, поэтому значения на различных банкоматах могут коррелировать. В среднем значение настраиваемого параметра равно 45 секунд. [0092] Аналогично, в журнале NDC аппаратный сбой купюроприемника отображается в команде 12. Возможны следующие варианты ошибки: - w3 - аппаратный сбой устройства; - w4 - фатальный сбой устройства. [0093]Для расшифровки кодов ошибок необходимо дополнительно анализировать данные о состоянии устройства банкомата. [0094] В журнале NDC ошибка фиксируется следующим образом: [0096] Строка ошибки в примерных вариантах осуществления может быть следующей: - АППАРАТНЫЙ СБОЙ ПРИ ПРИЕМЕ КУПЮР [дата] [время] - (961) ТАЙМАУТ НА ПРИГЛАШЕНИИ ВЗНОСА КУПЮР [дата] [время] - ПРЕВЫШЕНО ВРЕМЯ ОЖИДАНИЯ ИЗЪЯТИЯ КУПЮР [дата] [время] - КАРТА НЕ ВЗЯТА КЛИЕНТОМ И ЗАДЕРЖАНА [дата] [время] - ЗАХВАЧЕНА КЛИЕНТСКАЯ КАРТА [дата] [время] - ОШИБКА ИНИЦИАЛИЗАЦИИ ВСТАВЛЕНИЯ БАНКНОТ! [дата] [время] - НЕТ ОТВЕТА ОТ ХОСТА [дата] [время] - STATE FLOW ERROR [дата] [время] - 268) СБОЙ КУПЮРОПРИЕМНИКА [дата] [время] - ЛОТОК ПРИЕМА ПЕРЕПОЛНЕН [дата] [время] [0097] Шаг 105: осуществляют классификацию претензий пользователей на основании операций пользователей, по которым произошли ошибки в устройстве самообслуживания. [0098] В соответствии с настоящим изобретением из файла журнала событий классифицируют автоматически претензии пользователей на основании начальных правил. [0099] Классификацию претензий могут осуществлять на основании найденных ошибок по операционным дням работы банкомата и/или по типам операциям, или типам банкоматов, или типам журналов событий. [00100] После классификации претензий пользователей на основании операций пользователей, формируют итоговый или результирующий файл, например, формата csv. В некоторых вариантах осуществления архивируют итоговый файл с паролем или без него. [00101] Данный файл может содержать начало клиентской сессии, конец клиентской сессии, статус завершения клиентской сессии, а также дата/время, терминал, номер банковской карты пользователя, операция, сумма; ошибка. [00102] Формат итогового файла может быть следующим: [00103] В некоторых вариантах осуществления на основании итогового файла формируют рекомендации по устранению выявленных ошибок в устройстве самообслуживания на основании претензий пользователя. [00104] Аспекты настоящего изобретения могут быть также реализованы с помощью устройства обработки данных, являющимся вычислительной машины из системы (или таких средств, как центральный/графический процессор или микропроцессор), которая считывает и исполняет программу, записанную на запоминающее приспособление, чтобы выполнять функции вышеописанного варианта(ов) осуществления, и способа, показанного на Фиг. 1, этапы которого выполняются вычислительной машиной из системы или устройством путем, например, считывания и исполнения программы, записанной на запоминающем приспособлении, чтобы исполнять функции вышеописанного варианта(ов) осуществления. С этой целью программа предоставляется на вычислительную машину, например, через сеть или со среды для записи различных типов, служащей в качестве запоминающего приспособления (например, машиночитаемой среды). [00105] Устройство обработки данных может иметь дополнительные особенности или функциональные возможности. Например, устройство обработки данных может также включать в себя дополнительные устройства хранения данных (съемные и несъемные), такие как, например, магнитные диски, оптические диски или лента. Компьютерные носители данных могут включать в себя энергозависимые и энергонезависимые, съемные и несъемные носители, реализованные любым способом или при помощи любой технологии для хранения информации, такой как машиночитаемые инструкции, структуры данных, программные модули или другие данные. Устройство хранения данных, съемное хранилище и несъемное хранилище являются примерами компьютерных носителей данных. Компьютерные носители данных включают в себя, но не в ограничительном смысле, оперативное запоминающее устройство (ОЗУ), постоянное запоминающее устройство (ПЗУ), электрически стираемое программируемое ПЗУ (EEPROM), флэш-память или память, выполненную по другой технологии, ПЗУ на компакт-диске (CD-ROM), универсальные цифровые диски (DVD) или другие оптические запоминающие устройства, магнитные кассеты, магнитные ленты, хранилища на магнитных дисках или другие магнитные запоминающие устройства, или любую другую среду, которая может быть использована для хранения желаемой информации и к которой может получить доступ устройство обработки данных. Любой такой компьютерный носитель данных может быть частью системы выявления и классификации причин возникновения претензий пользователей в канале банкомата. Устройство обработки данных может также включать в себя устройство(а) ввода, такие как клавиатура, мышь, перо, устройство с речевым вводом, устройство сенсорного ввода, и так далее. Устройство (а) вывода, такие как дисплей, динамики, принтер и тому подобное, также могут быть включены в состав системы. [00106] Устройство обработки данных содержит коммуникационные соединения, которые позволяют устройству связываться с другими вычислительными устройствами, например по сети. Сети включают в себя локальные сети и глобальные сети наряду с другими большими масштабируемыми сетями, включая, но не в ограничительном смысле, корпоративные сети и экстрасети. Коммуникационное соединение является примером коммуникационной среды. Как правило, коммуникационная среда может быть реализована при помощи машиночитаемых инструкций, структур данных, программных модулей или других данных в модулированном информационном сигнале, таком как несущая волна, или в другом транспортном механизме, и включает в себя любую среду доставки информации. Термин «модулированный информационный сигнал» означает сигнал, одна или более из его характеристик изменены или установлены таким образом, чтобы закодировать информацию в этом сигнале. Для примера, но без ограничения, коммуникационные среды включают в себя проводные среды, такие как проводная сеть или прямое проводное соединение, и беспроводные среды, такие как акустические, радиочастотные, инфракрасные и другие беспроводные среды. Термин «машиночитаемый носитель», как употребляется в этом документе, включает в себя как носители данных, так и коммуникационные среды. Последовательности процессов, описанных в этом документе, могут выполняться с использованием аппаратных средств, программных средств или их комбинации. Когда процессы выполняются с помощью программных средств, программа, в которой записана последовательность процессов, может быть установлена и может выполняться в памяти компьютера, встроенного в специализированное аппаратное средство, или программа может быть установлена и может выполняться на компьютер общего назначения, который может выполнять различные процессы. [00107] Например, программа может быть заранее записана на носитель записи, такой как жесткий диск, или ПЗУ (постоянное запоминающее устройство). В качестве альтернативы, программа может быть временно или постоянно сохранена (записана) на съемном носителе записи, таком как гибкий диск, CD-ROM (компакт-диск, предназначенный только для воспроизведения), МО (магнитооптический) диск, DVD (цифровой универсальный диск), магнитный диск или полупроводниковая память. Съемный носитель записи может распространяться в виде так называемого, продаваемого через розничную сеть программного средства. [00108] Программа может быть установлена со съемного носителя записи, описанного выше, на компьютер, или может быть передана по кабелю с сайта загрузки в компьютер или может быть передана в компьютер по сетевым каналам передачи данных, таким как ЛВС (локальная вычислительная сеть) или Интернет. Компьютер может принимать переданную, таким образом, программу и может устанавливать ее на носитель записи, такой как встроенный жесткий диск. [00109] Процессы, описанные в этом документе, могут выполняться последовательно по времени, в соответствии с описанием, или могут выполняться параллельно или отдельно, в зависимости от характеристик обработки устройства, выполняющего процессы, или в соответствии с необходимостью. Система, описанная в этом документе, представляет собой логический набор множества устройств и не ограничивается структурой, в которой эти устройства установлены в одном корпусе.


[0089] Однако при осуществлении операции выдачи наличных в журнале событий могут фиксироваться следующие ошибки: ошибка насчета, аппаратный сбой картридера или карта задержана по таймауту, денежные средства не взяты клиентом в течение таймаута, аппаратный сбой диспенсера, ошибки программного обеспечения, сбой электроэнергии и т.д.
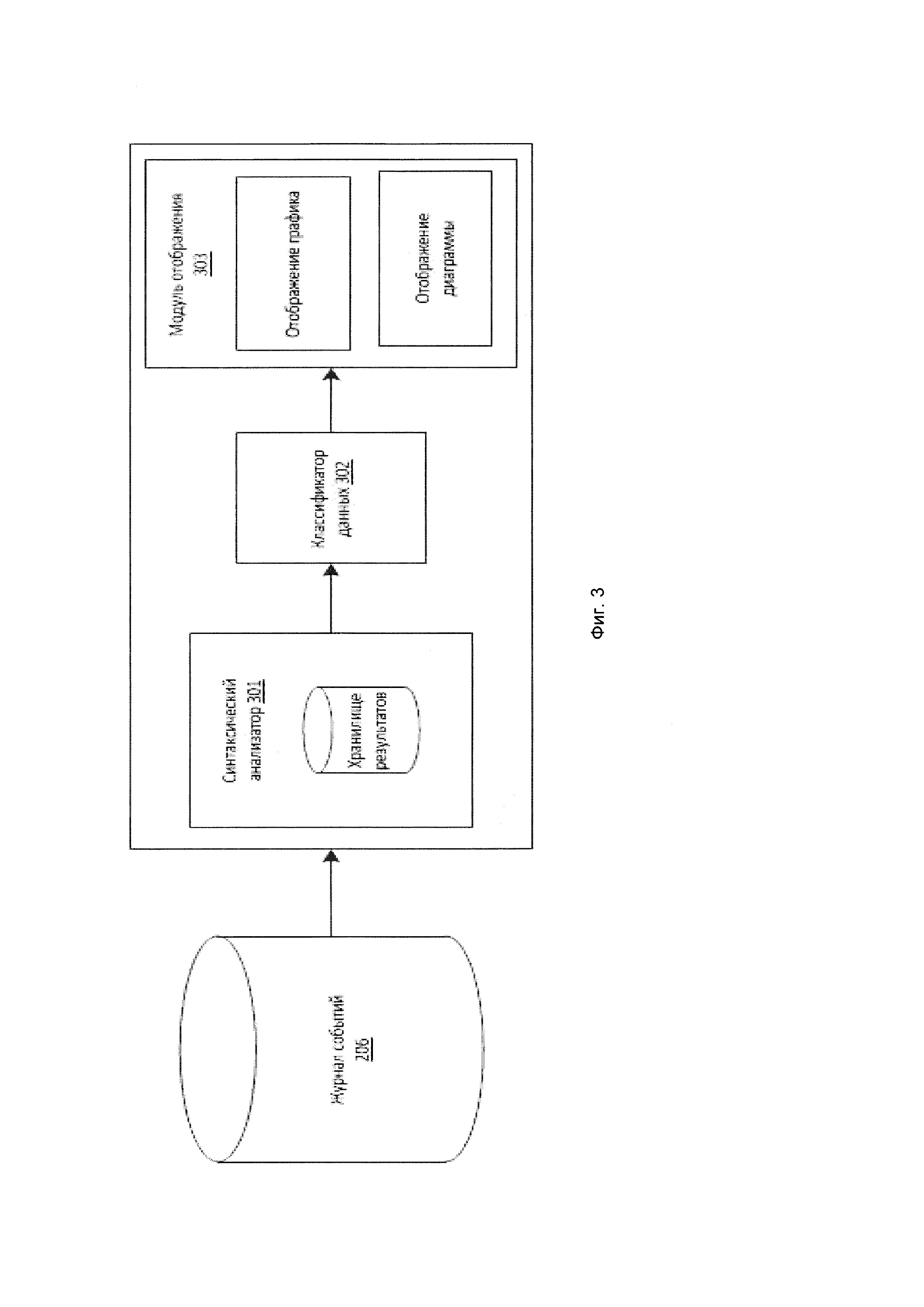
[0095] Внутри клиентской сессии синтаксический анализатор 301 осуществляет поиск начала операции, окончания операции, а также поиск строки ошибки по операции.
