патент
№ RU 2650721
МПК G01L27/02

Способ задания давления в контролируемом объеме и установка для его осуществления

Авторы:
Окладников Виталий Михайлович
Номер заявки
2017106914
Дата подачи заявки
02.03.2017
Опубликовано
17.04.2018
Страна
RU
Как управлять
интеллектуальной собственностью
Чертежи 
1
Реферат

Изобретения относятся к области прикладной метрологии и могут быть использованы при создании приборов для точного воспроизведения, измерения давления и разрежения, для автоматизации процедур калибровки, поверки и точного поддержания давления в небольшой емкости. Заявленная группа изобретений включает способ задания давления в контролируемом объеме и установку для задания давления в контролируемом объеме. Причем способ задания давления в контролируемом объеме состоит в том, что во вспомогательном ресивере задается и регулируется предварительное давление, близкое к заданному, в зависимости от давления в основном ресивере, соединенном с контролируемым внешним объемом, предварительное давление устанавливается выше или ниже заданного, величина и знак отклонения определяется величиной и знаком отклонения давления от заданного в контролируемом объеме, причем давление в контролируемом объеме поддерживается постоянным путем подачи из вспомогательного ресивера или сброса в него газа через два параллельно соединенных клапана с большой и малой пропускной способностью, при этом малая поддерживаемая разность давлений в двух ресиверах и малая пропускная способность одного из клапанов обеспечивают плавность изменения и высокую точность поддержания давления в контролируемом объеме. Техническим результатом является усовершенствование способа и конструкции для реализации задания давления и разрежения, повышение надежности и ресурса работы средств задания давления-разрежения при сохранении высокой точности регулирования. 2 н.п. ф-лы, 1 ил.

Формула изобретения

1. Способ задания давления в контролируемом объеме состоит в том, что во вспомогательном ресивере задается и регулируется предварительное давление, близкое к заданному, в зависимости от давления в основном ресивере, соединенном с контролируемым внешним объемом, предварительное давление устанавливается выше или ниже заданного, величина и знак отклонения определяется величиной и знаком отклонения давления от заданного в контролируемом объеме, причем давление в контролируемом объеме поддерживается постоянным путем подачи из вспомогательного ресивера или сброса в него газа через два параллельно соединенных клапана с большой и малой пропускной способностью, при этом малая поддерживаемая разность давлений в двух ресиверах и малая пропускная способность одного из клапанов обеспечивают плавность изменения и высокую точность поддержания давления в контролируемом объеме.

2. Установка для задания давления в контролируемом объеме включает в себя вспомогательный ресивер с датчиком давления, основной ресивер с датчиком давления, подключенный к контролируемому объему, и систему регулирования, управляющую системой клапанов, отличающаяся тем, что клапаны подключены попарно и параллельно, при этом в каждой паре один из клапанов последовательно соединен с дросселем и имеет малую пропускную способность.

Описание

[1]

Изобретения относятся к области прикладной метрологии и могут быть использованы при создании приборов для точного воспроизведения, измерения давления и разрежения, для автоматизации процедур калибровки, поверки и точного поддержания давления в небольшой емкости.

[2]

Известны способ и устройство аналогичного назначения /US 5142483, кл. G05D 16/00, G06F 15/20, 1990/, в которых изменение давления в контролируемом объеме осуществляется с помощью «быстрого» и «медленного» входных и «быстрого» и «медленного» выходных клапанов. Недостатком данного способа является неэкономичность вследствие постоянного расхода газа при регулировании и относительно невысокая точность регулирования.

[3]

Известны способ и установка для задания давления /RU 2319126, кл. G01L 27/02, G05D 16/00, 2006/. Данный способ принят за прототип.

[4]

В известном способе одновременно: «грубо» задается и контролируется давление в схеме регулирования и «точно» - в рабочей емкости, соединенной с контролируемым объемом. «Прецизионное» регулирование производится путем прямой и обратной подачи необходимого, вычисляемого на основе измерений давлений, количества газа через трубопроводную магистраль, связывающую схему регулирования и контролируемый объем. Для уменьшения минимальной порции газа его всегда пропускают последовательно через два клапана и открывают их с перекрытием во времени.

[5]

Известная установка содержит схему регулирования, включающую трубопроводную магистраль, группы входных и перепускных клапанов и предварительную емкость, а также рабочую емкость, систему управления и датчики давления. При этом входная группа клапанов состоит из трех соединенных звездой клапанов, а группа перепускных состоит из двух последовательно соединенных клапанов.

[6]

Известные средства позволяют регулировать задаваемое давление с определенной точностью и экономичностью.

[7]

К недостаткам способа и установки надо отнести то, что при переходе от регулирования давления-разрежения к регулированию избыточного давления необходимо отсоединять вакуумный насос или производить сброс избыточного давления непосредственно в него, что недопустимо при высоких давлениях. Также недостатком является частое переключение последовательно соединенных перепускных клапанов при регулировании давления, что может повлиять на надежность и долговечность их работы.

[8]

Техническим результатом, получаемым от внедрения изобретения, является усовершенствование способа и конструкции для реализации задания давления и разрежения, повышение надежности и ресурса работы средств задания давления-разрежения при сохранении высокой точности регулирования.

[9]

Данный технический результат достигается за счёт того, что способ задания давления состоит в том, что во вспомогательном ресивере задается и регулируется предварительное давление (разрежение), близкое к заданному. Изменение давление во вспомогательном ресивере осуществляется с помощью группы входных клапанов, подключенных через три пневмопорта к источникам высокого давления, низкого давления и к атмосфере. В зависимости от давления в основном ресивере, соединенном с контролируемым внешним объемом, предварительное давление устанавливается выше или ниже заданного. Величина и знак отклонения определяются величиной и знаком отклонения давления от заданного в контролируемом объеме. Давление в контролируемом объеме поддерживается постоянным путем подачи из вспомогательного ресивера или сброса в него газа через два параллельно соединенных клапана с большой и малой пропускной способностью. В такой схеме для получения малой порции газа время открывания клапана не обязательно должно быть минимальным, а частота открывания во время регулирования может быть небольшой. Малая поддерживаемая разность давлений в двух ресиверах и малая пропускная способность одного из клапанов обеспечивают плавность изменения и высокую точность поддержания давления в контролируемом объеме.

[10]

Установка для задания давления включает в себя вспомогательный ресивер с датчиком давления, подключенные через три пневмопорта к источникам высокого давления, низкого давления и к атмосфере, основной ресивер с датчиком давления, подключенный к контролируемому объему, и систему регулирования, управляющую системой клапанов и отличающуюся тем, что клапаны подключены попарно и параллельно. В каждой паре один из клапанов последовательно соединен с дросселем и имеет малую пропускную способность.

[11]

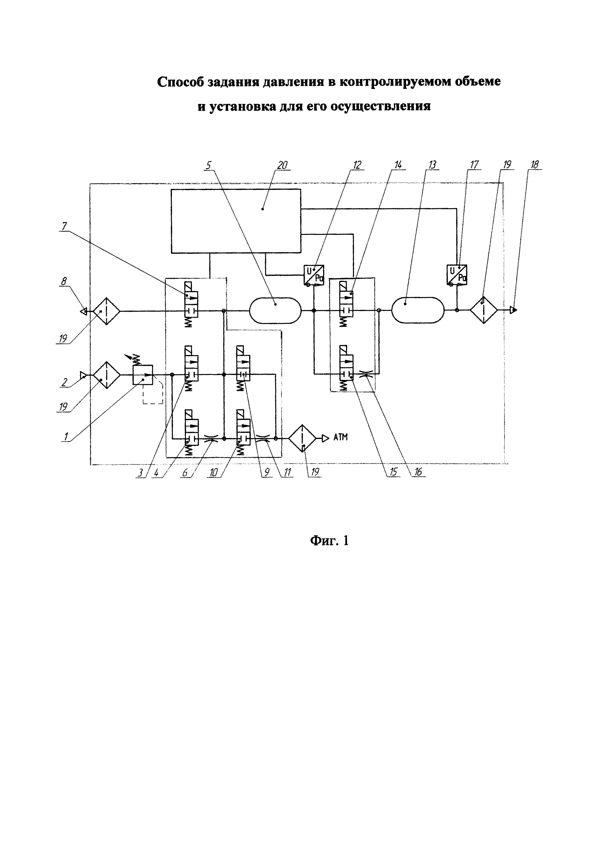
Изобретение поясняется чертежом, представленным на Фиг. 1.

[12]

Установка для задания давления имеет три входных канала: для задания избыточного давления, для задания разрежения и для сброса давления в атмосферу. Канал избыточного давления состоит из регулятора давления 1, понижающего входное давление, поступающего на пневмопорт 2, до нужного значения и двух параллельно соединенных клапанов 3 и 4. Клапан 3 непосредственно соединен со вспомогательным ресивером 5, а клапан 4 - через дроссель 6. Канал разрежения состоит из одного клапана 7, подключенного к пневмопорту 8 и ресиверу 5. Канал сброса давления состоит из двух параллельно соединенных клапанов 9 и 10. Клапан 9 непосредственно сообщается с атмосферой, а клапан 10 - через дроссель 11. Давление в ресивере 5 измеряется датчиком давления 12. Вспомогательный ресивер 5 подключен к основному ресиверу 13 через параллельно соединенные клапаны 14 и 15. Клапан 14 - непосредственно, клапан 15 - через дроссель 16. Давление в ресивере 13 измеряется датчиком давления 17. Ресивер 13 через пневмопорт 18 подсоединяется к внешнему контролируемому объему (на схеме не показан). На всех входах и выходах размещены фильтры 19. Система регулирования 20 подключена к клапанам и датчикам давления.

[13]

Способ реализуется следующим образом.

[14]

Способ задания давления состоит в том, что во вспомогательном ресивере 5 задается и регулируется предварительное давление, близкое к заданному. В зависимости от давления в основном ресивере 13, соединенном с контролируемым внешним объемом (на схеме не показан), предварительное давление устанавливается выше или ниже заданного. Величина и знак отклонения определяются величиной и знаком отклонения давления в контролируемом объеме от заданного. Изменение предварительного давления осуществляется с помощью параллельно соединенных клапанов набора давления 3 и 4, клапанов сброса 9 и 10 и клапана создания разрежения 7. Для больших и быстрых изменений давления открываются клапаны 3, 9, для медленных и небольших изменений - клапаны 4, 10, для изменения разрежения - клапаны 7, 10. Малость изменений достигается последовательным соединением с клапанами дросселей 6 и 11.

[15]

Давление в контролируемом объеме поддерживается постоянным путем подачи газа из вспомогательного ресивера или сброса в него газа через два параллельно соединенных клапана с большой 14 и малой 15 пропускной способностью. Для быстрого изменения открывается клапан 14, для точной подстройки давления - клапан 15 с последовательно подключенным дросселем 16. Малая поддерживаемая разность давлений в двух ресиверах и малая пропускная способность обеспечивают плавность изменения и высокую точность поддержания давления в контролируемом объеме при низкой частоте открывания клапанов во время регулирования. Чем достигается поставленный технический результат.

Как компенсировать расходы
на инновационную разработку
Похожие патенты