патент
№ RU 2667414
МПК B61K5/00

Устройство и способ установки положения колесных пар трехосной железнодорожной тележки с радиально устанавливающимися колесными парами

Авторы:
Оленцов Анатолий Николаевич
Номер заявки
2017142690
Дата подачи заявки
07.12.2017
Опубликовано
19.09.2018
Страна
RU
Как управлять
интеллектуальной собственностью
Чертежи 
4
Реферат

Изобретение относится к железнодорожному транспорту и предназначено для сборки трехосной железнодорожной тележки с радиально устанавливающимися колесными парами. Рама устройства содержит соединенные между собой боковины и поперечины. В центре боковин установлены неподвижные призмы, на концах боковин установлены подвижные опоры. Расстояние между призмами и опорами соответствует расстоянию между средней и крайними осями тележки. Перемещения подвижных опор в диапазоне нормативных допусков ограничены упорами. Перемещения колесных пар в поперечном направлении ограничены буртами в призмах. На устройство установки колесных пар устанавливают трехосную железнодорожную тележку с частично разобранным механизмом радиальной установки колесных пар. Среднюю колесную пару опирают на неподвижные опоры, крайние колесные пары самоустанавливаются на подвижных призмах. Производят сборку механизма радиальной установки колесных пар трехосной тележки. Обеспечивается нормативное межосевое расстояние между средней и крайними колесными парами. Повышается точность сборки и уменьшается износ колес колесных пар. 2 н. и 1 з.п. ф-лы, 4 ил.

Формула изобретения

1. Устройство установки положения колесных пар трехосной железнодорожной тележки с радиально устанавливающимися колесными парами, содержащее раму, состоящую из боковин и поперечин, соединенных между собой, в центре боковин на одинаковом расстоянии от продольной оси симметрии рамы установлены неподвижные призмы, на концах боковин установлены опоры, причем расстояние а между поперечной осью симметрии неподвижных призм и поперечными осями симметрии опор соответствует нормативному расстоянию b между осью средней колесной пары и осями крайних колесных пар трехосной железнодорожной тележки, устанавливаемой на раму, в опорах выполнены отверстия для установки штанг с закрепленными на них подвижными призмами, поворот которых при установке на них крайних колесных пар трехосной железнодорожной тележки ограничивается в диапазоне допусков нормативного расстояния b от минимального расстояния с до максимального расстояния d упорами, установленными на боковинах, а в неподвижных и подвижных призмах выполнены бурты для ограничения перемещения колесных пар трехосной железнодорожной тележки в поперечном направлении.

2. Устройство по п. 1, отличающееся тем, что для периодического контроля расстояния а между поперечной осью симметрии неподвижных призм и поперечными осями симметрии крайних призм, равного нормативному расстоянию b между осью средней колесной пары и осями крайних колесных пар трехосной железнодорожной тележки, предусмотрены оправки, устанавливаемые на неподвижные призмы и застопоренные вертикально относительно поперечной оси симметрии опор подвижные призмы.

3. Способ установки положения колесных пар трехосной железнодорожной тележки с радиально устанавливающимися колесными парами, заключающийся в том, что на устройство установки положения колесных пар трехосной железнодорожной тележки с радиально устанавливающимися колесными парами устанавливают трехосную железнодорожную тележку с частично разобранным механизмом радиальной установки колесных пар, причем среднюю колесную пару опирают на неподвижные призмы, при этом крайние колесные пары под действием массы трехосной железнодорожной тележки самоустанавливаются на подвижные призмы, закрепленные на штангах, которые поворачиваются в отверстиях опор до беззазорного контакта колес крайних колесных пар с подвижными призмами, поворот которых ограничивают в диапазоне допусков нормативного расстояния b от минимального расстояния с до максимального расстояния d упорами, установленными на боковинах устройства, перемещение колесных пар тележки в поперечном направлении ограничивают буртами, установленными на подвижных и неподвижных призмах, после установки крайних колесных пар производят сборку механизма радиальной установки колесных пар трехосной железнодорожной тележки.

Описание

[1]

Изобретение относится к области железнодорожного транспорта и может быть использовано для точной установки положения колесных пар трехосной железнодорожной тележки с радиально устанавливающимися колесными парами относительно друг друга.

[2]

Техническим результатом изобретения является обеспечение нормативного межосевого расстояния между средней и крайними колесными парами трехосной железнодорожной тележки с радиально устанавливающимися колесными парами, что позволит значительно повысить точность сборки механизма радиальной установки колесных пар и, соответственно, уменьшить износ колес колесных пар.

[3]

Указанный технический результат достигается тем, что в устройстве установки положения колесных пар трехосной железнодорожной тележки с радиально устанавливающимися колесными парами, содержащем раму, состоящую из боковин и поперечин, соединенных между собой, в центре боковин на одинаковом расстоянии от продольной оси симметрии рамы установлены неподвижные призмы, на концах боковин установлены опоры, причем расстояние а между поперечной осью симметрии неподвижных призм и поперечными осями симметрии опор соответствует нормативному расстоянию b между осью средней колесной пары и осями крайних колесных пар трехосной железнодорожной тележки, устанавливаемой на раму, в опорах выполнены отверстия для установки штанг с закрепленными на них подвижными призмами, поворот которых при установке на них крайних колесных пар трехосной железнодорожной тележки ограничивается в диапазоне допусков нормативного расстояния b от минимального расстояния с до максимального расстояния d упорами, установленными на боковинах, а в неподвижных и подвижных призмах выполнены бурты для ограничения перемещения колесных пар трехосной железнодорожной тележки в поперечном направлении.

[4]

Указанный технический результат достигается также тем, что для периодического контроля расстояния а между поперечной осью симметрии неподвижных призм и поперечными осями симметрии подвижных призм, равного нормативному расстоянию b между осью средней колесной пары и осями крайних колесных пар трехосной железнодорожной тележки, предусмотрены оправки, устанавливаемые на неподвижные призмы и застопоренные вертикально относительно поперечной оси симметрии опор подвижные призмы.

[5]

Также технический результат достигается тем, что в способе установки положения колесных пар трехосной железнодорожной тележки с радиально устанавливающимися колесными парами, заключающемся в том, что на устройство установки положения колесных пар трехосной железнодорожной тележки с радиально устанавливающимися колесными парами устанавливают трехосную железнодорожную тележку с частично разобранным механизмом радиальной установки колесных пар, причем среднюю колесную пару опирают на неподвижные призмы, при этом крайние колесные пары под действием массы трехосной железнодорожной тележки самоустанавливаются на подвижные призмы, закрепленные на штангах, которые поворачиваются в отверстиях опор до беззазорного контакта колес крайних колесных пар с подвижными призмами, поворот которых ограничивают в диапазоне допусков нормативного расстояния Ъ от минимального расстояния с до максимального расстояния d упорами, установленными на боковинах устройства, перемещение колесных пар трехосной железнодорожной тележки в поперечном направлении ограничивают буртами, установленными на неподвижных и подвижных призмах устройства, после установки крайних колесных пар производят сборку механизма радиальной установки колесных пар трехосной железнодорожной тележки.

[6]

Сущность изобретения поясняется чертежами:

[7]

- на фиг. 1 изображен вид устройства сверху;

[8]

- на фиг. 2 изображен вид устройства сбоку;

[9]

- на фиг. 3 изображен разрез А-А фиг. 2;

[10]

- на фиг. 4 изображено устройство с установленной на него трехосной железнодорожной тележкой с радиально устанавливающимися колесными парами.

[11]

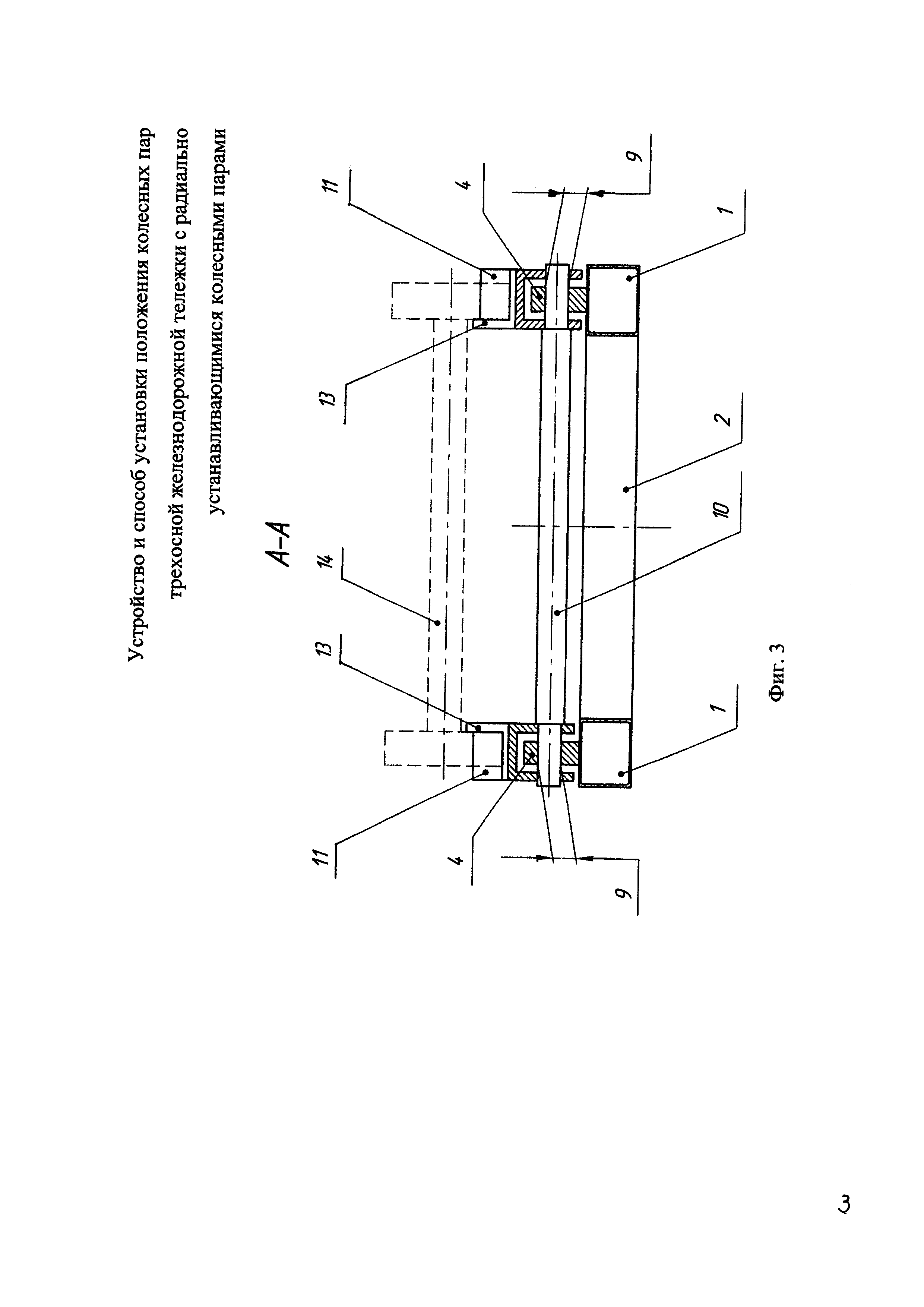
Устройство установки положения колесных пар трехосной железнодорожной тележки с радиально устанавливающимися колесными парами (фиг. 1, 2, 3, 4) содержит раму, которая состоит из боковин 1 и поперечин 2, соединенных между собой, в центре боковин 1 на одинаковом расстоянии от продольной оси симметрии рамы установлены неподвижные призмы 3, на концах боковин 1 установлены опоры 4, причем расстояние а между поперечной осью симметрии неподвижных призм 3 и поперечными осями симметрии опор 4 соответствует нормативному расстоянию b между осью средней колесной пары 5 и осями крайних колесных пар 6 трехосной железнодорожной тележки 7 с частично разобранным механизмом 8 радиальной установки колесных пар тележки (на фиг. 1, 2, 3 не показано). В опорах 4 выполнены отверстия 9 для установки в них штанг 10 с закрепленными на штангах 10 подвижными призмами 11, поворот которых ограничивается упорами 12, установленными на боковинах 1. Упоры 12 ограничивают поворот подвижных призм 11 со штангами 10 в диапазоне допусков нормативного расстояния b от минимального расстояния с до максимального расстояния d (см. фиг. 4). В неподвижных призмах 3 и подвижных призмах 11 выполнены бурты 13, которые ограничивают перемещение средней колесной пары 5 и крайних колесных пар 6 трехосной железнодорожной тележки 7 в поперечном направлении.

[12]

Для периодического контроля расстояния а между поперечной осью симметрии неподвижных призм 3 и поперечными осями симметрии подвижных призм 11, равного нормативному номинальному расстоянию b между осью средней колесной пары 5 и осями крайних колесных пар 6 трехосной железнодорожной тележки 7, предусмотрены оправки 14, устанавливаемые на неподвижные призмы 3 и застопоренные, например, клиньями 15, вертикально относительно поперечной оси симметрии опор 4 подвижные призмы 11.

[13]

Устройство и способ установки колесных пар трехосной железнодорожной тележки с радиально устанавливающимися колесными парами работают следующим образом.

[14]

На устройство установки положения колесных пар трехосной железнодорожной тележки с радиально устанавливающимися колесными парами устанавливают трехосную железнодорожную тележку 7 с частично разобранным механизмом 8 радиальной установки колесных пар. Среднюю колесную пару 5 опирают на неподвижные призмы 3 устройства, при этом крайние колесные пары 6 под действием массы трехосной железнодорожной тележки 7 опираются на подвижные призмы 11, закрепленные на штангах 10, которые поворачиваются в отверстиях 9 опор 4. Поворот подвижных призм 11 с штангами 10 обеспечивает соосную самоустановку крайних колесных пар 6 относительно средней колесной пары 5 и ограничивается упорами 12. Поворот подвижных призм 11 с штангами 10 происходит до беззазорного контакта обоих колес крайних колесных пар 6 с подвижными призмами 11. Перемещение средней колесной пары 5 и крайних колесных пар 6 трехосной железнодорожной тележки в поперечном направлении ограничивается буртами 13, выполненными на призмах 3 и 11. После самоустановки колесных пар 6 трехосной железнодорожной тележки 7 производят сборку механизма 8 радиальной установки колесных пар.

[15]

Таким образом, техническим результатом изобретения является обеспечение нормативного межосевого расстояния между средней и крайними колесными парами трехосной железнодорожной тележки с радиально устанавливающими колесными парами, что позволит значительно повысить точность сборки механизма радиальной установки колесных пар и, соответственно, уменьшить износ колес колесных пар.

Как компенсировать расходы
на инновационную разработку
Похожие патенты