Изобретение относится к электросвязи и может быть использовано для передачи звуковых вещательных сигналов в аналоговых и цифровых каналах связи. Технический результат состоит в повышении качества передачи звуковых вещательных сигналов. Для этого в способе осуществляют компандирование не самого широкополосного звукового вещательного сигнала, а выделенной из него гильбертовской амплитудной огибающей. Для увеличения отношения сигнал/шум не только в паузе, но и на фоне сигнала осуществляется разделение этой амплитудной огибающей на низкочастотные, среднечастотные и высокочастотные составляющие. Далее эти три составляющие подвергаются обработке в виде компрессии в области низких и средних частот и экспандированию в области высоких частот. Эти три составляющие гильбертовской амплитудной огибающей после суммирования используются для восстановления звукового вещательного сигнала путем умножения обработанной гильбертовской амплитудной огибающей на сигнал косинуса фазы, выделенного из звукового сигнала вместе с гильбертовской амплитудной огибающей. 2 н.п. ф-лы, 8 ил.
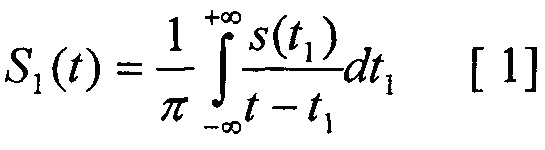
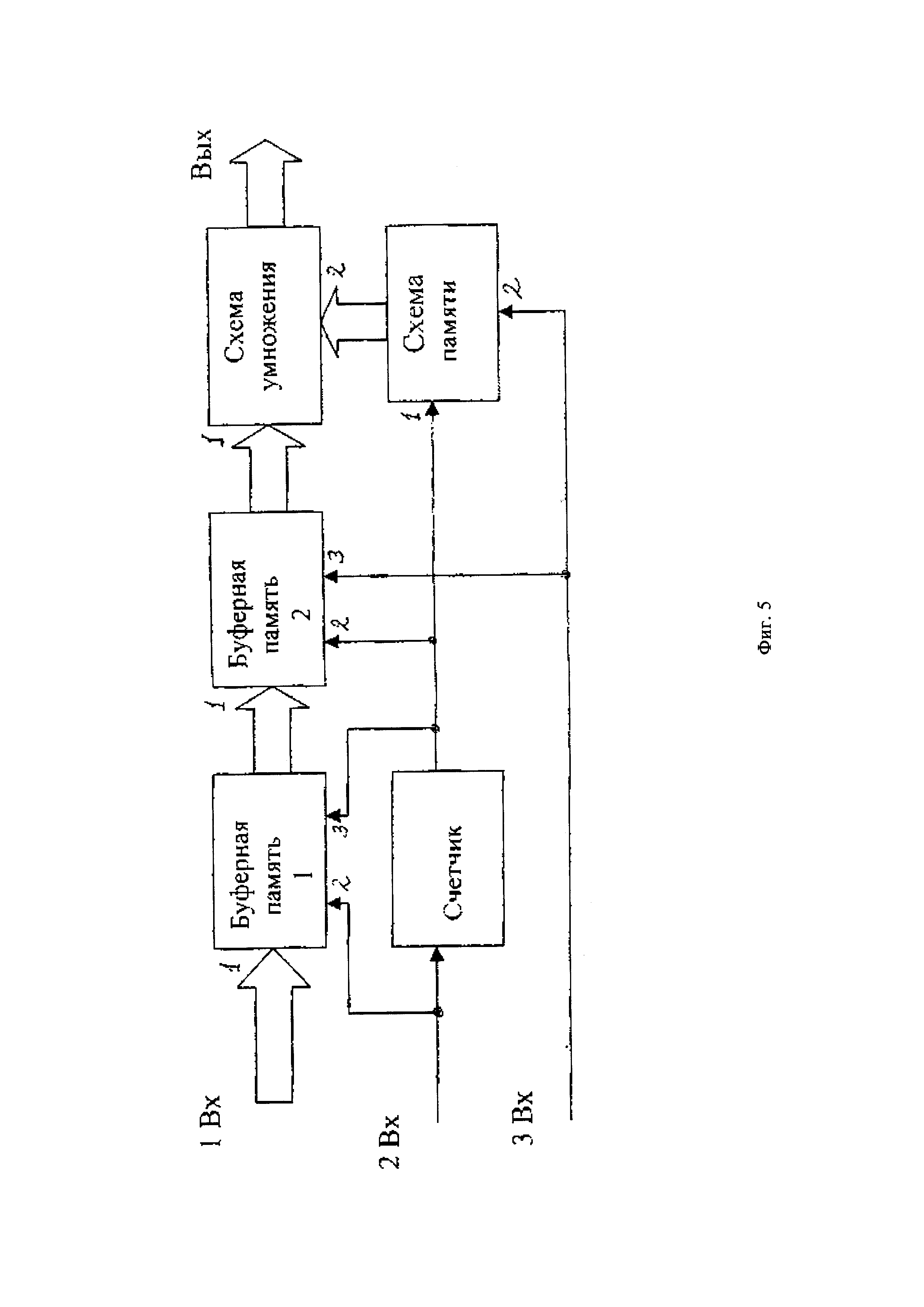
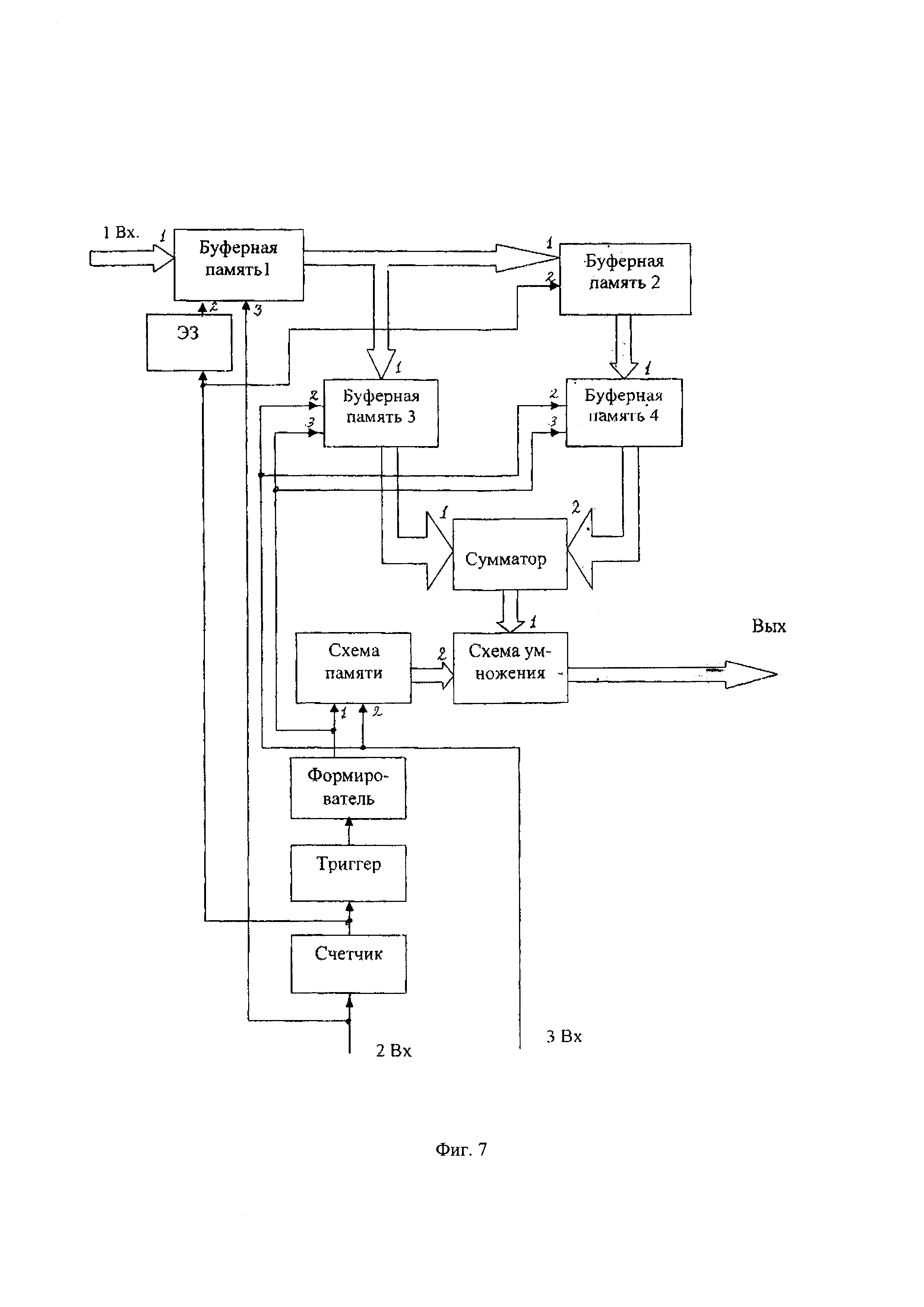
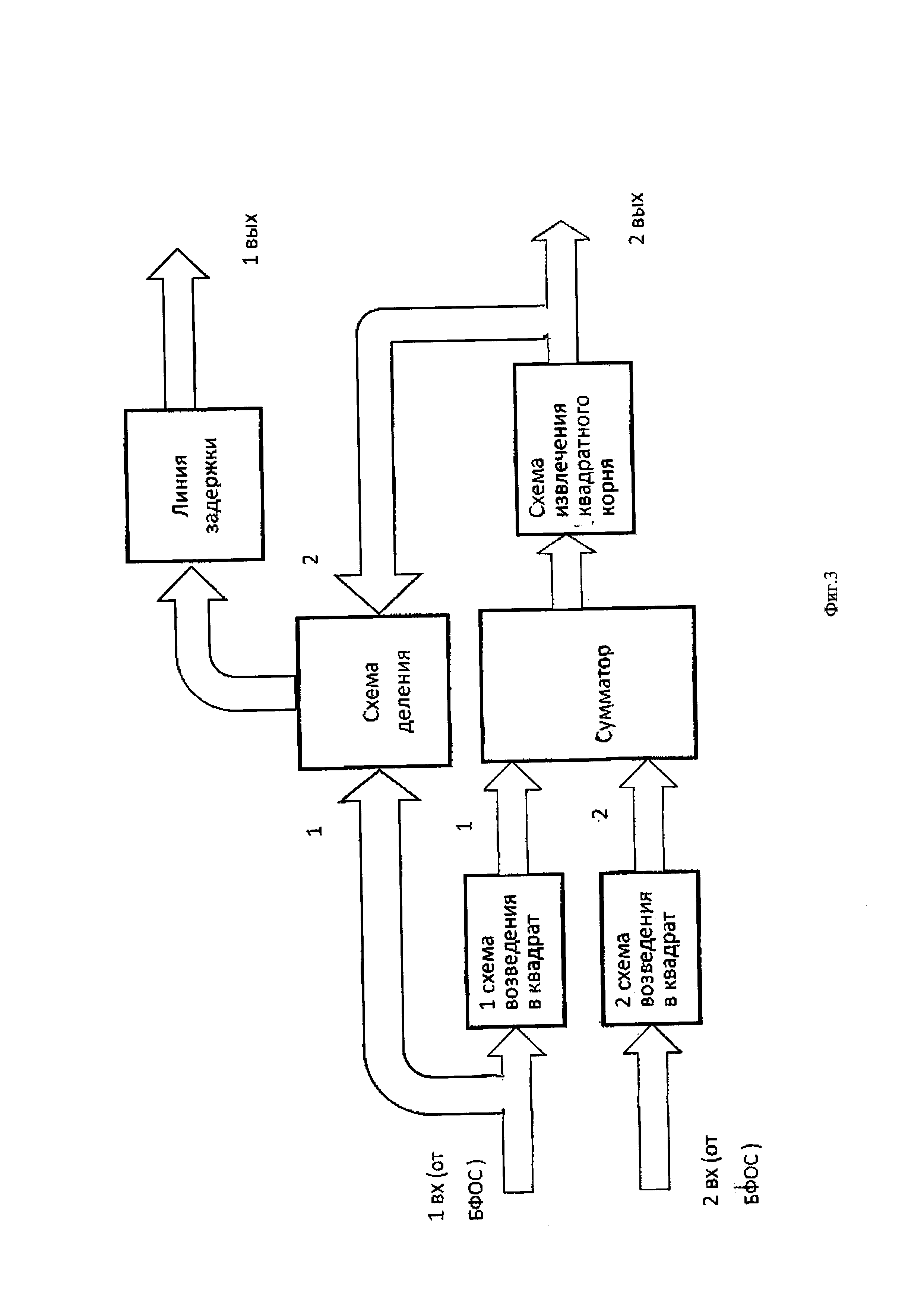
1. Способ компандирования звуковых вещательных сигналов, включающий на передающей стороне частотную коррекцию исходного аналогового звукового вещательного сигнала передачи, амплитудное ограничение этого сигнала, аналого-цифровое преобразование сигнала с формированием цифрового вещательного сигнала передачи, амплитудную компрессию цифрового сигнала, а на приемной стороне - экспандирование цифрового вещательного сигнала приема, цифро-аналоговое преобразование с формированием восстановленного аналогового звукового вещательного сигнала приема, обратную частотную коррекция и получение выходного аналогового звукового вещательного сигнала приема, отличающийся тем, что на передающей стороне после аналого-цифрового преобразования сигнала с формированием цифрового вещательного сигнала передачи, осуществляют формирование сопряженного ему по Гильберту ортогонального сигнала передачи и получение таким образом комплексного сигнала передачи, из которого выделяют сигнал косинуса фазы передачи и сигнал гильбертовской амплитудной огибающей передачи, из которой выделяют путем фильтрации низкочастотные, среднечастотные и высокочастотные составляющие передачи, а затем низкочастотные составляющие огибающей компрессируют с большим коэффициентом сжатия, среднечастотные составляющие огибающей компрессируют с меньшим коэффициентом сжатия, а высокочастотные составляющие огибающей экспонирует, после чего все три составляющих гильбертовской огибающей передачи суммируют и получают обработанную гильбертовскую амплитудную огибающую передачи, которую умножают на сигнал косинуса фазы передачи и получают восстановленный после обработки цифровой вещательный сигнал передачи, из которого путем цифро-аналогового преобразования формируют выходной аналоговый звуковой вещательный сигнал передачи, а на приемной стороне - амплитудное ограничение аналогового звукового вещательного сигнала приема, аналого-цифровое преобразование этого сигнала с формированием таким образом цифрового вещательного сигнала приема, формирование сопряженного ему по Гильберту ортогонального сигнала приема и получение таким образом комплексного сигнала приема, из которого выделяют сигнал косинуса фазы приема и сигнал гильбертовской амплитудной огибающей приема, из которой выделяют путем фильтрации низкочастотные, среднечастотные и высокочастотные составляющие приема, а затем низкочастотные составляющие огибающей экспандируют с большим коэффициентом расширения, среднечастотные составляющие огибающей экспандируют с меньшим коэффициентом расширения, а высокочастотные составляющие огибающей компрессируют, после чего все три составляющие гильбертовской огибающей приема суммируют и получают обработанную гильбертовскую амплитудную огибающую приема, которую умножают на сигнал косинуса фазы приема и получают восстановленный после обработки цифровой вещательный сигнал приема, из которого путем цифро-аналогового преобразования формируют восстановленный аналоговый звуковой вещательный сигнал приема, над которым осуществляют обратную частотную коррекцию и получают выходной аналоговый звуковой вещательный сигнал приема. 2. Устройство для осуществления способа компандирования звуковых вещательных сигналов, содержащее на передающей стороне последовательно соединенные источник звуковых сигналов, блок коррекции, первый ограничитель, первый аналого-цифровой преобразователь, а также первый компрессор, а на приемной стороне первый экспандер и последовательно соединенные первый цифро-аналоговый преобразователь и блок обратной коррекции, отличающееся тем, что дополнительно введены на передающей стороне первый блок формирования ортогонального сигнала, первый блок модуляционного разложения сигнала, первый фильтр низких частот, первый полосовой фильтр, первый фильтр высоких частот, второй компрессор, второй экспандер, первый сумматор, первый блок модуляционного восстановления сигнала и второй цифро-аналоговый преобразователь, при этом выход первого аналого-цифрового преобразователя соединен со входом первого блока формирования ортогонального сигнала, первый и второй выходы которого соединены, соответственно, с первым и вторым входами первого блока модуляционного разложения сигнала, первый выход которого соединен с первым входом первого блока модуляционного восстановления сигнала, а его второй выход соединен со входом первого фильтра низких частот, входом первого полосового фильтра и входом первого фильтра высоких частот, причем выход первого фильтра низких частот соединен со входом первого компрессора, выход которого соединен с первым входом первого сумматора, выход первого полосового фильтра соединен со входом второго компрессора, выход которого соединен со вторым входом первого сумматора, а выход первого фильтра высоких частот соединен со входом второго экспандера, выход которого соединен с третьим входом первого сумматора, выход которого соединен со вторым входом первого блока модуляционного восстановления сигнала, выход которого соединен со входом второго цифро-аналогового преобразователя, выход которого является выходом передающей стороны устройства, а на приемной стороне дополнительно введены второй ограничитель, второй аналого-цифровой преобразователь, второй блок формирования ортогонального сигнала, второй блок модуляционного разложения сигнала, второй фильтр низких частот, второй полосовой фильтр, второй фильтр высоких частот, третий экспандер, третий компрессор, второй сумматор и второй блок модуляционного восстановления сигнала, при этом вход второго ограничителя является входом приемной стороны устройства, а его выход соединен со входом второго аналого-цифрового преобразователя, выход которого соединен со входом второго блока формирования ортогонального сигнала, первый и второй выходы которого соединены, соответственно, с первым и вторым входами второго блока модуляционного разложения сигнала, первый выход которого соединен с первым входом второго блока модуляционного восстановления сигнала, а его второй выход соединен со входом второго фильтра низких частот, входом второго полосового фильтра и входом второго фильтра высоких частот, причем выход второго фильтра низких частот соединен со входом первого экспандера, выход которого соединен с первым входом второго сумматора, выход второго полосового фильтра соединен со входом третьего экспандера, выход которого соединен со вторым входом второго сумматора, а выход второго фильтра высоких частот соединен со входом третьего компрессора, выход которого соединен с третьим входом второго сумматора, выход которого соединен со вторым входом второго блока модуляционного восстановления сигнала, выход которого соединен со входом первого цифро-аналогового преобразователя, выход которого соединен со входом блока обратной коррекции, выход которого является выходом приемной стороны устройства.
Область техники Изобретение относится к электросвязи и может быть использовано для передачи звуковых вещательных сигналов в аналоговых и цифровых каналах связи. Уровень техники Известен способ акомпандирования, реализованный в устройстве (а.с. № SU 1665518 А1 БИ №27 от 23.07.1991 г), включающий на передающей стороне суммирование звукового сигнала, компрессию этого сигнала,, низкочастотную фильтрацию, суммирование с меньшим по уровню частотно-модулированным управляющим сигналом, модуляцию и перенос спектров в область высоких частот с одной боковой полосой частот, ограничение динамического диапазона управляющего сигнала, компрессию высокочастотного сигнала и высокочастотную фильтрацию. А на приемной стороне - экспандирование компрессированного высокочастотного сигнала, высокочастотную фильтрацию и демодуляцию этого сигнала суммирование компрессированного звукового сигнала и его экспандирование, полосовую фильтрацию и демодуляцию частотно-модулирующего управляющего сигнала, низкочастотную фильтрацию с выделением восстановленного звукового сигнала. Недостатком известного способа и устройства является то, что звуковые сигналы могут передаваться только в высокочастотных каналах связи, при этом процессы модуляции и демодуляции сигналов вносят дополнительные искажения, и помехи в эти сигналы. Кроме того, здесь имеет место недостаточное качество компандирования, выражающееся в искажениях формы звукового сигнала, в модуляции переменным коэффициентом передачи высокочастотных составляющих сигнала и шумов, а также в снижении заметности шума только в паузе. Наиболее близким способом того же назначения к заявленному, является способ, реализованный в устройстве (а.с. № SU 1030975 А БИ №27 от 23.07.1983 г. ), включающий на передающей стороне частотную коррекцию аналогового звукового вещательного сигнала передачи, амплитудное ограничение этого сигнала, аналого-цифровое преобразование сигнала с формированием цифрового вещательного сигнала передачи и амплитудную компрессию данного цифрового сигнала, а на приемной стороне -экспандирование цифрового вещательного сигнала приема, цифрово-аналоговое преобразование с формированием восстановленного аналогового звукового вещательного сигнала приема, обратную частотную коррекция и получение выходного аналогового звукового вещательного сигнала приема. Известно устройство для цифрового компандирования звуковых сигналов (а.с. № SU 1030975 А БИ №27 от 23.07.1983 г. ), содержащее на передающей стороне последовательно соединенные источник звуковых сигналов, блок коррекции, первый ограничитель, первый аналого-цифровой преобразователь, а также первый. компрессор, а на приемной стороне - первый экспандер и последовательно соединенные первый цифро-аналоговый преобразователь и блок обратной коррекции. Особенностью известного способа и устройства является то, что здесь используется формирование сигнала управления компрессии, зависящего как от частотного состава кодируемого звукового сигнала, так и от вероятности попадания его поддиапазона, на который разбит весь динамический диапазон кодируемого сигнала. Недостатком известного способа и устройства является недостаточное качество компандирования, выражающееся в искажениях формы звукового сигнала, в модуляции переменным коэффициентом передачи высокочастотных составляющих сигнала и шумов, а также в снижении заметности шума только в паузе. Сущность изобретения Задачей предлагаемого изобретения является -повышение качества передачи звуковых вещательных сигналов. Задача решается за счет использования на передающей стороне гильбертовской амплитудной огибающей передачи, выделяемой из звукового вещательного сигнала передачи, из которого выделяется также сигнал косинуса фазы передачи. Из гильбертовской амплитудной огибающей передачи путем фильтрации выделяются низкочастотные, среднечастотные и высокочастотные составляющие. Затем низкочастотные составляющие огибающей передачи. компрессируют с большим коэффициентом сжатия, среднечастотные составляющие компрессируют с меньшим коэффициентом сжатия, а высокочастотные составляющие экспандируют. После этого все три составляющих суммируют и получают обработанную гильбертовскую амплитудную огибающую передачи, которая используется для восстановления после обработки звукового вещательного сигнала передачи путем умножения этой обработанной гильбертовской огибающей передачи на сигнал косинуса фазы передачи. А на приемной стороне из звукового вещательного сигнала приема выделяют гильбертовскую амплитудную огибающую приема и сигнал косинуса фазы приема. Из гильбертовской амплитудной огибающей приема путем фильтрации выделяются низкочастотные, среднечастотные и высокочастотные составляющие. Затем низкочастотные составляющие огибающей прима экспандируют с большим коэффициентом расширения, среднечастотные составляющие экспандируют с меньшим коэффициентом расширения, а высокочастотные составляющие компрессируют. После этого все три составляющих суммируют и получают обработанную гильбертовскую амплитудную огибающую приема, которая используется для восстановления после обработки звукового вещательного сигнала приема путем умножения этой обработанной гильбертовской огибающей приема на сигнал косинуса фазы приема. Предлагаемый способ компандирования звуковых вещательных сигналов, включающий на передающей стороне частотную коррекцию аналогового звукового вещательного сигнала передачи, амплитудное ограничение этого сигнала, аналого-цифровое преобразование сигнала с формированием таким обркзом цифрового вещательного сигнала передачи, формирование сопряженного ему по Гильберту ортогонального сигнала передачи и получение таким образом комплексного сигнала передачи, из которого выделяют сигнал косинуса фазы передачи и сигнал гильбертовской амплитудной огибающей передачи, из которой" выделяют путем фильтрации низкочастотные, среднечастотные и высокочастотные составляющие передачи, а затем низкочастотные составляющие огибающей компрессируют с большим коэффициентом сжатия, среднечастотные составляющие огибающей компрессирует с меньшим коэффициентом сжатия, а высокочастотные составляющие огибающей экспонирует, после чего все три составляющих гильбертовской огибающей передачи суммируют и получают обработанную гильбертовскую амплитудную огибающую передачи, которую умножают на сигнал косинуса фазы передачи и получают восстановленный после обработки цифровой вещательный сигнал передачи, из которого путем цифро-аналогового преобразования формируют выходной аналоговый звуковой вещательный сигнал передачи, а на приемной стороне - амплитудное ограничение аналогового звукового вещательного сигнала приема, аналого-цифровое преобразование этого сигнала с формированием таким образом цифрового вещательного сигнала приема, формирование сопряженного ему по Гильберту ортогонального сигнала приема и получение таким образом комплексного сигнала приема, из которого выделяют сигнал косинуса фазы приема и сигнал гильбертовской амплитудной огибающей приема, из которой выделяют путем фильтрации низкочастотные, среднечастотные и высокочастотные составляющие приема, а затем низкочастотные составляющие огибающей экспандируют с большим коэффициентом расширения, среднечастотные составляющие огибающей экспандируют с меньшим коэффициентом расширения, а высокочастотные составляющие огибающей компрессируют, после чего все три составляющие гильбертовской огибающей приема суммируют и получают обработанную гильбертовскую амплитудную огибающую приема, которую умножают на сигнал косинуса фазы приема и получают восстановленный после обработки цифровой вещательный сигнал приема, из которого путем цифро-аналогового преобразования формируют восстановленный аналоговый звуковой вещательный сигнал приема, над которым осуществляют обратную частотную коррекцию, и получают выходной аналоговый звуковой вещательный сигнал приема. А в устройство компандирования звуковых вещательных сигналов, содержащее на передающей стороне последовательно соединенные источник звуковых сигналов, блок коррекции, первый ограничитель, первый аналого-цифровой преобразователь, а также первый компрессор, а на приемной стороне первый экспандер и последовательно соединенные первый цифро-аналоговый преобразователь и блок обратной коррекции, дополнительно введены на передающей стороне первый блок формирования ортогонального сигнала, первый блок модуляционного разложения сигнала, первый фильтр низких частот, первый полосовой фильтр, первый фильтр высоких частот, второй компрессор, второй экспандер, первый сумматора первый блок модуляционного восстановления сигнала и второй цифро-аналоговый преобразователь, при этом выход первого аналого-цифрового преобразователя соединен со входом, первого блока формирования ортогонального сигнала, первый и второй выходы которого соединены, соответственно, с первым и вторым входами первого блока модуляционного разложения сигнала, первый выход которого соединен с первым входом первого блока модуляционного восстановления сигнала, а его второй выход соединен со входом первого фильтра низких частот, входом первого полосового фильтра и входом первого фильтра высоких частот, причем выход первого фильтра низких частот соединен со входом первого компрессора, выход которого соединен с первым входом первого сумматора, выход первого полосового фильтра соединен со входом второго компрессора, выход которого соединен со вторым входом первого сумматора, а выход первого фильтра высоких частот соединен со входом второго экспандера, выход которого соединен с третьим входом первого сумматора, выход которого соединен со вторым входом первого блока модуляционного восстановления сигнала, выход которого соединен со входом второго цифро-аналогового преобразователя, выход которого является выходом передающей стороны устройства, а на приемной стороне дополнительно введены второй ограничитель, второй аналого-цифровой преобразователь, второй блок формирования ортогонального сигнала, второй блок модуляционного разложения сигнала, второй фильтр низких частот, второй полосовой фильтр, второй фильтр высоких частот, третий экспандер, третий компрессор, второй сумматор и второй блок модуляционного восстановления сигнала, при этом вход второго ограничителя является входом приемной стороны устройства, а его выход соединен со входом второго аналого-цифрового преобразователя, выход которого соединен со входом второго блока формирования ортогонального сигнала, первый и второй выходы которого соединены, соответственно, с первым и вторым входами второго блока модуляционного разложения сигнала, первый выход которого соединен с первым входом второго блока j модуляционного восстановления сигнала, а его второй выход соединен со входом второго фильтра низких частот, входом второго полосового фильтра и входом второго фильтра высоких частот, причем выход второго фильтра низких частот соединен со входом первого экспандера, выход которого соединен с первым входом второго сумматора, выход второго полосового фильтра соединен со входом третьего экспандера, выход которого соединен со вторым входом второго сумматора, а выход второго фильтра высоких частот соединен со входом третьего компрессора, выход которого соединен с третьим входом второго сумматора, выход которого соединен со вторым входом второго блока модуляционного восстановления сигнала, выход которого соединен со входом первого цифро-аналогового преобразователя, выход которого соединен со входом блока обратной коррекции, выход которого является выходом приемной стороны устройства. Благодаря такому решению задачи предлагаемый способ и устройство компандирования звуковых вещательных сигналов, в отличие от прототипа, позволяет избежать искажения формы звукового сигнала (сохраняет форму сигнала), снизить модуляцию переменным коэффициентом передачи высокочастотных составляющих сигнала и шумов, а также снизить заметность шума не только в паузе, но и в сигнале. Вследствие этого удается повысить качество передачи звуковых вещательных сигналов. Перечень фигур Предложенный способ и устройство поясняются фигурами, на которых показаны: фиг. 1 Структурная схема устройства компандирования звуковых вещательных сигналов; фиг. 2 Схема блока формирования ортогонального сигнала; фиг. 3 Схема блока модуляционного разложения сигнала; фиг. 4 Схема блока модуляционного восстановления сигнала; фиг. 5 Схема сегментации и наложения оконной функции Наттолла, входящей в блок формирования ортогонального сигнала; фиг. 6 Временные диаграммы работы схемы сегментации и наложения суконной функции Наттолла, входящей в блок формирования ортогонального сигнала; фиг. 7 Схема перекрытия сегментов и компенсации неравномерности оконной функции Наттолла, входящей в блок формирования ортогонального сигнала; Фиг. 8 Временные диаграммы работы схемы перекрытия сегментов и компенсации неравномерности оконной функции Наттолла, входящей в блок формирования ортогонального сигнала. Осуществление изобретения Особенностью предлагаемого способа компандирования звуковых вещательных сигналов, в отличие от прототипа, является отсутствие использования сигнала управления компрессии, зависящего как от частотного состава кодируемого звукового сигнала, так и от вероятности попадания его поддиапазона, на который разбит верь динамический диапазон кодируемого сигнала. Отличие от прототипа заключается также в отсутствии искажений формы звукового сигнала, в отсутствии модуляции переменным коэффициентом передачи высокочастотных составляющих сигнала и шумов, а также в снижении заметности шума не только в паузе, но и на фоне самого сигнале. В основе предлагаемого способа лежит компандироваиие не самого широкополосного звукового вещательного сигнала, а выделенной из негр гильбертовской амплитудной огибающей. Для увеличения отношения сигнал/шум не только в паузе, но и на фоне сигнала осуществляется разделение этой амплитудной I огибающей на низкочастотные, среднечастотные и высокочастотные составляющие. Далее эти три составляющие подвергаются обработке в виде компрессии в области низких и средних частот и экспандированию в области высоких частот. Эти три составляющие гильбертовской амплитудной огибающей после суммирования используются для восстановления звукового вещательного сигнала путем умножения обработанной гильбертовской амплитудной огибающей передачи на сигнал косинуса фазы, выделенного из звукового сигнала вместе с гильбертовской амплитудной огибающей. А на приемной стороне, гильбертовская амплитудная огибающая приема, выделенная из звукового вещательного сигнала приема, подвергается разделению на низкочастотные, среднечастотные и высокочастотные составляющие. Далее эти три составляющие подвергаются обработке в виде экспандирования в области низких и средних частот и компрессии в области высоких частот. Эти три составляющие гильбертовской амплитудной огибающей приема после суммирования используются для восстановления звукового вещательного сигнала путем умножения обработанной гильбертовской амплитудной огибающей приема на сигнал косинуса фазы, выделенного из звукового вещательного сигнала приема вместе с гильбертовской амплитудной огибающей. Способ компандирования звуковых вещательных реализуется следующим образом. На передающей стороне исходный аналоговый звуковой вещательный сигнал передачи от источника звуковых сигналов подвергается частотной коррекции (фиг. 1) с небольшим подъемом высокочастотных составляющих сигнала, что позволяет слегка увеличить амплитуду наиболее низкоуровневых компонент данного сигнала. После этого над сигналом осуществляют амплитудное ограничение перед его аналого-цифровым преобразованием. Амплитудное ограничение позволяет согласовать амплитуду звукового вещательного сигнала с динамическим диапазоном аналого-цифрового преобразователя. Аналого-цифровое преобразование позволяет сформировать цифровой вещательный сигнал передачи из аналогового звукового вещательного сигнала передачи. Далее из цифрового вещательный сигнала передачи осуществляют формирование сопряженного ему по Гильберту ортогонального сигнала передачи, согласно (Радиовещание и электроакустика. Под ред. Ковалгина Ю.А. М. Радио и связь, 1999, с. 75): где S1(t) - сопряженный по Гильберту сигнал от исходного цифрового вещательного сигнала S(t). Сопряженный по Гильберту сигнал является точно таким же как и исходный сигнал, но имеющий поворот фазы всех своих спектральных составляющих на 90°. Далее из полученного таким образом комплексного сигнала, состоящего из S(t) и S1(t) выделяют пару параметрических сигналов, содержащую сигнал гильбертовской амплитудной огибающей A(t) передачи и сигнал косинуса фазы cos ϕ(t) передачи, согласно (Радиовещание и электроакустика. Под ред. Ковалгина Ю.А. М. Радио и связь, 1999, с. 75): Таким образом, для выделения гильбертовской амплитудной огибающей A(t), согласно [2] необходимо каждый из сигналов S(t) и S1(t) возвести в квадрат, после чего складывают и получают: Далее, согласно [2] необходимо полученный сигнал [4] подвергнусь операции извлечения квадратного корня (фиг. 3). Сигнал косинуса фазы получают путем деления исходного цифрового вещательного сигнала S(t) на гильбертовскую амплитудную огибающую A(t), согласно [3]. Преобразование Гильберта позволяет представить сигнал в виде произведения двух функций - огибающей A(t) и косинуса фазы cos ϕ(t): Далее из полученного таким образом сигнала гильбертовской амплитудной огибающей передачи выделяют путем фильтрации низкочастотные, среднечастотные и высокочастотные составляющие передачи. Затем низкочастотные составляющие огибающей компрессируют с большим коэффициентом сжатия, среднечастотные составляющие компрессируют с меньшим коэффициентом сжатия, а высокочастотные составляющие экспандируют. Такая раздельная обработка позволяет избежать модуляции переменным коэффициентом компрессии, определяемым, в основном, мощными низкочастотными составляющими и менее мощными среднечастотными составляющими, в отношении низкоуровневых высокочастотных составляющих и шумов в гильбертовской амплитудной огибающей. Экспандирование высокочастотных составляющих огибающей позволяет дополнительно увеличить амплитуду сравнительно высокоуровневых компонент данного сигнала и снизить амплитуду низкоуровневых компонент этого сигнала и шумов. Если частотная коррекция позволила осуществить небольшой подъем как низкоуровневых, так и сравнительно высокоуровневых компонент высокочастотных составляющих, что повысило качество аналого-цифрового преобразования, то экспандирование позволяет отделить высокоуровневые компоненты, воспринимаемые слухом, от низкоуровневых компонент высокочастотной части огибающей, не воспринимаемых слухом, и шумов. После этого все три обработанных составляющих огибающей суммируют и получают обработанную гильбертовскую амплитудную огибающую передачи Aо(t). Эту обработанную огибающую далее умножают на сигнал косинуса фазы cos ϕ(t) и получают восстановленный после обработки цифровой вещательный сигнал передачи Sb(t). Затем восстановленный после обработки цифровой вещательный сигнал передачи подвергают цифро-аналоговому преобразованию и формируют выходной аналоговый звуковой вещательный сигнал передачи, который может быть передан на приемную сторону либо в аналоговом виде, либо в цифровом (на основе дополнительного аналого-цифрового преобразования). А на приемной стороне осуществляют амплитудное ограничение аналогового звукового вещательного сигнала приема, которое позволяет согласовать амплитуду аналогового звукового вещательного сигнала приема с динамическим диапазоном аналого-цифрового преобразователя. После этого осуществляют аналого-цифровое преобразование, которое позволяет сформировать цифровой вещательный сигнал приема из аналогового звукового вещательного сигнала приема. Далее из цифрового вещательный сигнала приема осуществляют формирование сопряженного ему по Гильберту ортогонального сигнала приема, подобно тому как это делалось на передающей стороне. Сопряженный по Гильберту ортогональный сигнал приема является точно таким же как и аналоговый звуковой вещательный сигнал приема, но имеющий поворот фазы всех своих спектральных составляющих на 90°. Далее из полученного таким образом комплексного сигнала приема, выделяют пару параметрических сигналов, содержащую сигнал гильбертовской амплитудной огибающей приема A(t) и сигнал косинуса фазы приема cos ϕ(t), согласно формулам [2] и [3]. Затем из полученного сигнала гильбертовской амплитудной огибающей приема выделяют путем фильтрации низкочастотные, среднечастотные и высокочастотные составляющие приема. После этого низкочастотные составляющие огибающей приема экспандируют с большим коэффициентом расширения, среднечастотные составляющие экспандируют с меньшим коэффициентом расширения, а. высокочастотное составляющие компрессируют. Такая раздельная обработка, носящая противоположный характер по отношению к обработке низкочастотных, среднечастотных и высокочастотных составляющих гильбертовской амплитудной огибающей на передающей стороне, позволяет точно восстановить эти три составляющих гильбертовской амплитудной огибающей на приеме. После этого все три составляющие огибающей приема суммируют и получают обработанную гильбертовскую амплитудную огибающую приема Aо(t). Эту обработанную амплитудную огибающую приема далее умножают на сигнал косинуса фазы прима и получают восстановленный после обработки цифровой вещательный сигнал приема Sв(t). Далее над восстановленным после обработки цифровым вещательным сигналом приема осуществляют цифро-аналоговое преобразование и формируют восстановленный аналоговый звуковой вещательный сигнал приема, над которым осуществляют обратную частотную коррекцию с небольшим опусканием высокочастотных составляющих сигнала и получают таким образом выходной аналоговый звуковой вещательный сигнал приема, соответствующий исходному аналоговому звуковому вещательному сигналу передачи. Способ осуществляют при помощи устройства, которое содержит на передающей стороне (фиг. 1) последовательно соединенные источник звуковых сигналов (ИЗС) 1, блок коррекции (БК) 2, первый ограничитель 3, первый аналого-цифровой преобразователь (АЦП1) 4, а также первый компрессор 5, а на приемной стороне - первой экспандер 6 и последовательно соединенные первый цифро-аналоговый преобразователь (ЦАП1) 7 и блок обратной коррекции (БОК) 8. В устройство дополнительно введены на передающей стороне первый блок формирования ортогонального сигнала (БФОС1) 9, первый блок модуляционного разложения сигнала (БМРС1) 10, первый фильтр низких частот (ФНЧ1) 11, первый полосовой фильтр (ПФ1) 12, первый фильтр высоких частот (ФВЧ1) 13, второй компрессор 14, второй экспандер 15, первый сумматор 16, первый блок модуляционного восстановления сигнала (БМВС1) 17 и второй цифро-аналоговый преобразователь (ЦАП2) 18. При этом выход первого АЦП1 4 соединен со входом первого БФОС1 9, первый и второй выходы которого соединены, соответственно с первым и вторым входами первого БМРС1 10. Первый выход БМРС1 10 соединен с первым входом первого БВМС1 17, а второй выход БМРС1 10 соединен со входом первого ФНЧ1 11, входом первого ПФ1 12 и входом первого ФВЧ1 13. Причем выход первого ФНЧ1 11 соединен входом первого компрессора 5, выход которого соединен с первым входом первого сумматора 16. Выход первого ПФ1 12 соединен со входом второго компрессора 14, выход которого соединен со вторым входом первого сумматора 16. Выход первого ФВЧ1 13 соединен со входом второго экспандера 15, выход которого соединен с третьим входом первого сумматора 16. В свою очередь, выход первого сумматора 16 соединен со вторым входов первого BMBC1 17, выход которого соединен со входом второго ЦАП2 18, выход которого является выходом передающей стороны устройства. А на приемной стороне дополнительно введены (фиг. 1) второй ограничитель 19, второй аналого-цифровой преобразователь (АЦП2) 20, второй блок формирования ортогонального сигнала (БФОС2) 21, второй блок модуляционного разложения сигнала (БМРС2) 22, второй фильтр низких частот (ФНЧ2) 23, второй полосовой фильтр (ПФ2) 24, второй фильтр высоких частот (ФВЧ2) 25, третий экспандер 26, третий компрессор 27, второй сумматор 28 и второй блок модуляционного восстановления сигнала (БМВС2) 29. При этом вход второго ограничителя 19 является входом приемной стороны устройства, а его выход соединен со входом второго АЦП2 20, выход которого соединен со входом второго БФОС2 21. В свою очередь, первый и второй выходы второго БФОС2 21 соединены, соответственно, с первым и вторым входами второго БМРС2 22, первый выход которого соединен с первым входом второго БМВС2 29, а второй выход второго БМРС2 22 соединен со входом второго ФНЧ2 23, входом второго ПФ2 24 и входом второго ФВЧ2 25. При этом выход второго ФНЧ2 23 соединен со входом первого экспандера 6, выход которого соединен с первым входом второго сумматора 28. Выход второго ПФ2 24 соединен со входом третьего экспандера 26, выход которого соединен сэ вторым входом второго сумматора 28. Выход второго ФВЧ2 25 соединен со входом третьего компрессора 27, выход которого соединен с третьим входом второго сумматора 28. j В свою очередь, выход сумматора 28 соединен со вторым входом второго БМВС2 29, выход которого соединен со входом первого ЦАП1 7, выход которого соединен со входом БОК 8, выход которого является выходом приемной стороны устройства. Предлагаемый способ осуществляется при помощи предлагаемого устройства следующим образом (Фиг. 1). На передающей стороне исходный аналоговый звуковой вещательный сигнал передачи от источника звуковых сигналов 1 поступает на вход БК 2, в котором подвергается частотной коррекции. После этого сигнал с выхода БК 2 подается на вход первого ограничителя 3, в котором над сигналом осуществляют амплитудное ограничение. Далее сигнал с выхода первого ограничителя 3 поступает на вход первого АЦП1 4, в котором производится формирование цифрового вещательного сигнала передачи из аналогового звукового вещательного сигнала передачи. Затем сигнал с выхода первого АЦП1 4 подается на вход первого БФОС1 9, в котором из цифрового вещательного сигнала передачи осуществляют формирование сопряженного ему по Гильберту цифрового ортогонального сигнала передачи. После этого цифровой вещательный сигнал передачи и цифровой ортогональный сигнал передачи, соответственно, с первого и второго выходов первого БФОС1 9 поступают, соответственно, на первый и второй входы первого БМРС1 10, в котором из полученного таким образом комплексного сигнала, состоящего из S(t), поступающего на первый вход первого БМРС1 10 и сигнала S1(t), поступающего на второй вход первого BMPCi 10, выделяют пару параметрических сигналов, содержащую сигнал косинуса фазы cos ϕ(t) передачи, поступающий на первый выход первого БМРС1 10 и сигнал: гильбертовской амплитудной огибающей A(t) передачи, поступающий на второй выход первого БМРС1 10. Далее сигнал косинуса фазы cos ϕ(t) передачи с первого выхода первого БМРС1 10 подается на первый вход первого БМВС1 17, а сигнал гильбертовской амплитудной огибающей A(t) передачи со второго выхода первого БМРС1 10 подается на параллельно соединенные входы первого ФНЧ1 11, первого ПФ1 12, и первого ФВЧ1 13, в которых выделяют путем фильтрации соответственно, низкочастотные, среднечастотные и высокочастотные составляющие гильбертовской амплитудной огибающей передачи. Затем низкочастотные составляющие огибающей передачи с выхода первого ФНЧ1 11 подаются на вход первого компрессора 5, в котором их компрессирует с большим коэффициентом сжатия. Среднечастотные составляющие огибающей передачи с выхода первого ПФ1 12 поступают на вход второго компрессора 14, в котором их компрессируют с меньшим коэффициентом сжатия. Высокочастотные составляющие огибающей передачи с выхода первого ФВЧ1 13 подаются на вход второго экспандера 15, в котором их экспандируют. После этого сигналы с выходов первого ФНЧ1 11, первого ПФ1 12, и первого ФВЧ1 13, подаются, соответственно, на первый, второй и третий входы первого сумматора 16, в котором они суммируются и получают обработанную гильбертовскую амплитудную огибающую Aо(t) передачи. Далее этот сигнал обработанной гильбертовской огибающей передачи с выхода перрого сумматора 16 поступает на второй вход первого БМВС1 17, в котором он умножается на сигнал косинуса фазы передачи cos ϕ(t), поступающего на первый вход первого БМВС1 17 и получают на выходе первого БМВС1 17 восстановленный после обработки цифровой вещательный сигнал передачи Sв(t). Затем восстановленный после обработки цифровой вещательный сигнал передачи с выхода первого БМВС1 17 подается на вход ЦАП2 18, на выходе которого формируют выходной аналоговый звуковой вещательный сигнал передачи, являющийся выходным сигналом передающей стороны). А на приемной стороне (фиг. 1) входной аналоговый звуковой вещательный сигнал приема поступает на вход второго ограничителя 19, в которой над сигналом осуществляют амплитудное ограничение. Далее сигнал с выхода второго ограничителя 19 поступает на вход второго АЦП2 20, в котором производится формирование цифрового вещательного сигнала приема из аналогового звукового вещательного сигнала приема. Затем сигнал с выхода второго АЦП2 20 подается на вход второго БФОС2 21, в котором из цифрового вещательного сигнала приема осуществляют формирование (упряженного ему по Гильберту ортогонального сигнала приема. После этого сигналы с первого и второго выходов второго БФОС2 21 поступают, соответственно, на первый и второй входы второго БМРС2 22, в котором из полученного таким образом комплексного сигнала, состоящего из S(t), поступающего на первый вход второго БМРС2 22 и сигнала S1(t), поступающего на второй вход второго БМРС2 22, выделяют пару 'рараметрических сигналов, содержащую сигнал косинуса фазы cos ϕ(t) приема, поступающий на первый выход второго БМРС2 22 и сигнал гильбертовской амплитудной огибающей A(t) приема, поступающий на второй выход второго БМРС2 22. Далее сигнал косинуса фазы cos (p(t) приема с первого выхода второго БМРС2 22 подается на первый вход второго БМВС2 29, а сигнал гильбертовской амплитудной огибающей A(t) приема со второго выхода второго БМРС2 22 подается на параллельно соединенные входы второго ФНЧ2 2% второго ПФ2 24, и второго ФВЧ2 25, в которых выделяют путем фильтрации, соответственно, низкочастотные, среднечастотные и высокочастотные составляющие гильбертовской огибающей приема. Затем низкочастотные составляющие. огибающей приема с выхода второго ФНЧ2 23 подаются на вход первого экспандера 6, в котором их экспандируют с большим коэффициентом расширения. Среднечастотные составляющие огибающей приема с выхода второго ПФ2 24 поступают на вход третьего экспандеру 26, в котором их экспандируют с меньшим коэффициентом расширения. Высокочастотные составляющие огибающей приема с выхода второго ФВЧ2 25 подаются на вход третьего компрессора 27, в котором их компрессируют. После этого сигналы с выходов второго ФНЧ2 23, второго ПФ2 24, и второго ФВЧ2 25, подаются, соответственно, на первый, второй и третий входы второго сумматора 28, в котором они суммируются и получают обработанную гильбертовскую амплитудную огибающую приема Aо(t). Далее этот сигнал обработанной гильбертовской огибающей приема с выхода второго сумматора 28 поступает на второй вход второго БМВС2 29, в котором он умножается на сигнал косинуса фазы приема cos ϕ(t), поступающего на первый вход второго БМВС2 29 и получают на. выходе второго БМВС2 29 восстановленный после обработки цифровой вещательный сигнал приема Sв(t). Затем восстановленный после обработки цифровой вещательный сигнал-приема с выхода второго БМВС2 29 подается на вход первого ЦАП1 7, на выходе которого формируют аналоговый звуковой вещательный сигнал приема. После этого аналоговый звуковой вещательный сигнал приема с выхода первого ЦАП1 7 подается на вход блока обратной коррекции 8, в котором подвергается обратной частотной коррекции с небольшим опусканием высокочастотных составляющих сигнала. С выхода блока обратной коррекции 8 поступает выходной аналоговый звуковой вещательный сигнал приема, который является выходным сигналом приемной стороны. Предлагаемое устройство компандирования звуковых вещательных сигналов, в отличие от прототипа, позволяет избежать искажения формы Звукового сигнала (сохраняет форму сигнала), снизить модуляцию переменным коэффициентом передачи высокочастотных составляющих сигнала и шумов, а также снизить занятность шума не только в паузе но и в сигнале. Вследствие этого удается повысить качество передачи звуковых вещательных сигналов. Особенностью предлагаемого устройства компандирования звуковых вещательных сигналов является то, что нестандартными в нем являются: блок формирования ортогонального сигнала (БФОС), блок модуляционного разложения сигнала (БМРС) и блок модуляционного восстановления сигнала (БМВС). Пример реализации блока формирования ортогонального сигнала (БФОС) 9, 21 показан на фиг. 2 Данный блок содержит последовательно соединенные: схему сегментации и наложения оконной функции Наттолла (ССНОФН), схему прямого дискретного преобразования Фурье (СПДПФ) схему поворота фазы коэффициентов преобразования (СПФКП), схему обратного дискретного преобразования Фурье (СОДПФ), схему перекрытия сегментов и компенсации неравномерности оконной функции Наттолла (СПСКНОФН). Кроме того БФОС 9, 21 содержит схему удвоения частоты импульсов дискретизации (СУЧИД) и линию задержки. Первый (кодовый) вход ССНОФН соединен со входом (кодовым) БФОС 9, 21 и первым (кодовым) входом линии задержки, а кодовый выход ССНОФН подключен через- последовательно соединенные СПДПФ, СПФКП, СОДПФ к кодовому входу СПСКНОФН, кодовый выход которой соединен со вторым (кодовым) выходом БФОС 9, 21. Вход дискретизирующих импульсов БФОС 9, 21 (не показан на фиг. 1) соединен со вторым входом ССНОФН, вторым входом СПСКНОФН, вторым входом линии задержки и входом СУЧИД, выход которой соединен с третьим входом ССНОФН, третьим входом СПСКНОФН, вторым входом СПДПФ, вторым входом СПФКП и вторым входом СОДПФ. Кодовый выход: линии задержки соединен с первым (кодовым) выходом БФОС 9, 21. Работа блока формирования ортогонального сигнала (БФОС) 9, 21 основана на выражении для прямого и обратного дискретного преобразования Фурье:(ДПФ) где х(n) - последовательность из В временных отсчетов, Х(к) -последовательность из В частотных отсчетов. Блок БФОС 9, 21, функционирует следующим образом (фиг. 2). На вход (кодовый) БФОС 9, 21 поступают параллельные кодовые комбинации с выхода АЦП 4 (фиг. 1). Эти кодовые комбинации внутри БФОС 9, 21 подаются на первый (кодовый) вход линии задержки и на первый (кодовый) вход ССНОФН, на второй и третий входы которой поступают, соответственно, импульсы частоты дискретизации и импульсы с удвоенной частотой дискретизации со входа и выхода СУЧИД. Импульсы частоты дискретизации (ДИ от АЦП на фиг. 2) поступают на вход СУЧИД от АЦП 4 (на фиг. 1 цепь для импульсов частоты дискретизации от АЦП 4 к БФОС 9, 21 не показана). В ССНОФН осуществляют формирование сегментов, состоящих из В параллельных кодовых комбинаций в каждом сегменте, соответствующих В временным дискретным отсчетам звукового сигнала. На каждый сегмент далее налагают оконную функцию Наттолла. Цифровой сигнал в виде сегментов из В параллельных кодовых комбинаций в каждом сегменте c кодового выхода ССНОФН поступает на кодовый вход СПДПФ, где осуществляют В точечное прямое дискретное преобразование Фурье этих В параллельных кодовых комбинаций в каждом сегменте. Необходимость наложения оконной функции Наттолла вызвала тем, что при дискретном преобразовании Фурье (ДПФ) используется прямоугольное окно без перекрытия, что приводит к появлению разрывов анализируемых функций. Возникающие вследствие этого в спектре боковые лепестки преобразования окна, называемые просачиванием, будут искажать амплитуды соседних спектральных составляющих. Для снижения уровня искажений и помех необходимо минимизировать Такое просачивание энергии боковых лепестков в основные компоненты сигнала. Очевидно, что чем ниже уровень боковых лепестков функции окна в частотной области, тем выше точность прямого дискретного преобразования Фурье. Наименьшим уровнем боковых лепестков, из существующих оконных функций, обладает именно окно Наттолла. В результате В точечного прямого дискретного преобразования Фурье В кодовых комбинаций в СПДПФ формируют В пар коэффициентов, соответствующих представлению цифрового звукового сигнала в спектральной области, согласно [8]. Далее цифровой сигнал с кодового выхода СПДПФ подается на кодовый вход СПФКП, где осуществляют поворот фазы коэффициентов преобразования путем изменения в каждой паре коэффициентов знака коэффициента при jsin 2πnk/B, что соответствует повороту фазы на 90° всех спектральных составляющих во временной области в исходном аналоговом звуковом сигнале. Затем цифровой сигнал с кодового выхода СПФКП подается на кодовый вход СОДПФ, где осуществляется В точечное обратное дискретное преобразование Фурье из В пар коэффициентов в В кодовых комбинаций в каждом сегменте, согласно [9]. После этого цифровой сигнал с кодового выхода СОДПФ поступает на кодовый вход СПСКНОФН. Данная схема необходима для более качественного восстановления сигнала в случае использования окна Наттолла, для чего дополнительно осуществляют сложение с 50% перекрытием. С этой целью в СПСКНОФН осуществляют сложение с 50% перекрытием каждого сегмента с предыдущим ему сегментом, задержанным на длительность, равную половине длительности сегмента. Поскольку окно Наттола не относиться к числу окон обеспечивающих единичный коэффициент передачи при использовании 50% перекрытий, то дополнительное увеличение точности восстановленного цифрового звукового сигнала осуществляют путем компенсации неравномерности оконной функции Наттолла. Такая компенсация позволяет увеличить защитное отношение, характеризующее уровень помех и искажений в сигнале, до 92 дБ, что существенно для повышения точности формирования ортогонального сигнала и качества обработки сигналов в устройстве в целом. Цифровой сигнал с кодового выхода СПСКНОФН подается далее на второй (кодовый) выход БФОС 9, 21. Таким образом, в БФОС 9, 21 было осуществлено гильбертовское ортогональное преобразование цифрового сигнала, соответствующее повороту фазы всех спектральных составляющих аналогового звукового сигнала на 90°. Однако данный цифровой сигнал после прохождения через ССНОФН, СПДПФ, СПФКП, СОДПФ и СПСКНОФН прибрел временную задержку. Для нормальной работы блока модуляционного разложения сигнала (БМРС) 10, 22 необходимо, чтобы цифровой сигнал, поступивший на (кодовый) вход БФОС 9, 21, имел бы на первом (кодовом) выходе данного блока точно такую же временную задержку, как и цифровой сигнал на его втором (кодовом) выходе. Для этой цели в БФОС 9, 21 служит линия задержки. Особенностью БФОС 9, 21 является то, что нестандартными в нем являются ССНОФН и СПСКНОФН, которые требуют дополнительного раскрыта. Данные блоки и временные диаграммы их работы показаны на фиг. 5 - фиг. 8. Схема удвоения частоты импульсов дискретизации (СУЧИД), входящей в БФОС 9, 21, может быть выполнена в виде последовательно включенных: формирователя меандра, дифференциальной схемы, двухполупериодного выпрямителя и формирователя коротких импульсов. Пример реализации блока модуляционного разложения сигнала (БМРС) 10, 22 показан на фиг. 3. БМРС 10, 22 состоит из первой и второй схем возведения в квадрат, сумматора, схемы извлечения квадратного корня, схемы деления и линии задержки. Первый (кодовый) вход БМРС 10,22 соединен с первым (кодовым) входом схемы деления и с кодовым входом первой схемы возведения в квадрат (CBK2), а кодовый вход второй схемы возведения в квадрат (СВК2) подключен ко второму (кодовому) входу БМРС 10, 22. Кодовые выходы CBK1 и СВК2 соединены, соответственно, с первым и вторым (кодовыми) входами сумматора. Кодовый выход сумматора соединен с (кодовым) входом схемы извлечения квадратного корня (СИКК), кодовый выход которой подключен ко второму (кодовому) выходу БМРС 10, 22 и ко второму (кодовому) входу схемы деления. Кодовый выход схемы деления соединен с кодовым входом линии задержки, кодовый выход которой соединен с первым (кодовым) выходом БМРС 10, 22. Функционирование БМРС 10, 22 (фиг. 3), с выделением гильбертовской амплитудной огибающей осуществляется в соответствии с выражение А(t)=[s2(t)+s12(t)]1/2. Для этого используется цифровой сигнал, с первого (кодового) выхода БФОС 9, 21 (фиг. 1), соответствующий аналоговому звуковому сигналу s(t) и цифровой сигнал со второго (кодового) выхода БФОС 9, 21, соответствующий аналоговому звуковому сигналу, но со сдвинутыми на 90° спектральными составляющими s1(t). В первой и второй СВК (фиг. 3) осуществляется в цифровом виде возведение в квадрат числовых значений каждой параллельной кодовой комбинации (соответствующих отсчетам мгновенных амплитуд аналогового звукового сигнала). Далее цифровой сигнал в виде параллельных кодовых комбинаций с кодовых выходов первой CBK1 и второй СВК2 подаются на, соответственно, первый и второй (кодовые) входы сумматора. В данной схеме в цифровом виде осуществляется суммирование числовых значений кодовых комбинаций, поступающих на 1 кодовый вход сумматора с соответствующими им кодовыми комбинациями, поступающими на 2 кодовый вход сумматора. Эта операция соответствует выражению s2(t)+s12(t). После этого цифровой сигнал в виде параллельных кодовых комбинаций с кодового выхода сумматора поступает - на кодовый вход СИКК. В данной схеме в цифровом виде осуществляется операция извлечения квадратного корня из числовых значений кодовых комбинаций, полученных после суммирования. Эта операция соответствует выражению [s2(t)+s12(t)]1/2. Цифровой сигнал, Соответствующий выделенной гильбертовской амплитудной огибающей аналогового звукового сигнала A(t), с кодового выхода СИКК поступает на второй (кодовый) выход БМРС 10, 22 и на второй (кодовый) вход схемы деления. Операция деления соответствует выражению cos ϕ(t)=s(t)/A(t)=s(t)/[s2(t)+s12(t)]1/2. Цифровой сигнал, соответствующий выделенному сигналу косинуса фазы аналогового звукового сигнала cos ϕ(t), с кодового выхода схемы деления поступает на кодовый вход линии задержки. Линия задержки необходима вследствие того, что цифровой сигнал с первого и второго (кодовых) входов БМРС 10, 22 после прохождения через CBK1 и СВК2, сумматор и СИКК прибрел временную задержку. Кроме того цифровой сигнал со второго (кодового) выхода БМРС 10, 22 (фиг. 1) далее проходит через ФНЧ 11, 23, ПФ 12, 24, ФВЧ 13, 25, через компрессор 5, 14, 27, через экспандер 15, 6, 26, а также через сумматор 16, 28, то для нормалырй работы блока модуляционного восстановления сигнала (БМВС) 17, 29 (фиг. 1) необходимо, чтобы цифровой сигнал, поступивший на первый (кодовый) вход БМВС 17, 29, имел бы точно такую же временную задержку, как и цифровой сигнал на втором (кодовом) входе БМВС 17, 29. Для этой цели в БМРС 10, 22 (фиг. 3) служит линия задержки. Пример реализации блока модуляционного восстановления сигнала (БМВС) 17, 29 показан на фиг. 4. БМВС 17, 29 состоит из схемы умножения. Первый (кодовый) вход БМВС 17, 29 соединен с первым (кодовым) входом схемы умножения, а второй (кодовый) вход БМВС 17, 29 соединен со вторым (кодовым) входом схемы умножения, кодовый выход которой соединен с (кодовым) выходом БМВС 17, 29. Функционирование БМВС 17, 29 (фиг. 4), с формированием восстановленного после обработки цифрового вещательного сигнала, осуществляется в соответствии с выражением [5] Sв(t)=Aо(t)⋅cos ϕ(t). Для этого используется цифровой сигнал виде параллельных кодовых комбинаций, с первого (кодового) выхода БМРС 10, 22 (фиг. 1), соответствующий сигналу косинуса фазы cos ϕ(t), который поступает на первый (кодовый) вход БМВС 17, 29. А внутри БМВС 17, 29 (фиг. 4) цифровой сигнал с его первого (кодового) входа поступает на первый (кодовый) вход схемы умножения. Кроме того, здесь используется цифровой сигнал виде параллельных кодовых комбинаций с (кодового) выхода сумматора 16, 28 (фиг. 1), соответствующий сигналу обработанной гильбертовской амплитудной огибающей Aо(t), который поступает на второй (кодовый) вход БМВС 17, 29. А внутри БМВС 17, 29 (фиг. 4) цифровой сигнал с его второго (кодового) входа поступает на второй (кодовый) вход схемы умножения. После умножения в БМВС 17, 29 этих двух цифровых сигналов на его [кодовом выходе формируется восстановленный после обработки цифровой вещательный сигнал Sв(t), который поступает на кодовый выход БМВС 17, 29. Пример реализации схемы сегментации и наложения оконной функции Наттолла (ССНОФН), входящей в состав БФОС 9, 21, показан на фиг. 5. Данная схема содержит первую и вторую буферные памяти, схему умножения, счетчик и схему памяти. Первый (кодовый) вход ССНОФН соединен с первым (кодовым) входом первой буферной памяти, кодовый выход которой соединен через вторую буферную память с кодовым входом схемы умножения, второй (кодовый) вход которой соединен с кодовым выходом схемы памяти, а выход подключен к кодовому выходу ССНОФН. Второй, вход ССНОФН соединен со вторым входом первой буферной памяти и со входом счетчика, выход которого подключен к третьему входу первой буферной памяти, ко второму входу второй буферной памяти и к первому входу схемы памяти. Третий вход ССНОФН соединен с третьим входом второй буферной памяти и со вторым входом схемы памяти. Схема сегментации и наложения оконной функции Наттолла (фиг. 5) работает следующим образом. В исходном состоянии первая и вторая буферные Памяти и счетчик обнулены. Схема памяти также находится в исходном состоянии, коща на ее кодовом выходе присутствует кодовая комбинация, соответствующая коэффициенту передачи окна Натолла для первой из В кодовых комбинаций (дискретных отсчетов) цифрового сигнала в сегменте. На первый (кодовый) вход ССНОФН с (кодового) входа БФОС 9, 21 (фиг. 2) поступают параллельные кодовые комбинации, которые подаются на первый (кодовый) вход первой буферной памяти (фиг. 5). Одновременно на второй вход ССНОФН со входа схемы удвоения частоты импульсов дискретизации, входящей в БФОС 9, 21 (фиг. 2) поступают импульсы частоты дискретизации, которые подаются на вход счетчика и второй вход первой буферной памяти (фиг. 5). На третий вход ССНОФН с выхода схемы удвоения частоты импульсов дискретизации, входящей в состав БФОС 9, 21 (фиг. 2), поступают импульсы с удвоенной частотой дискретизации, которые подаются на третий вход второй буферной памяти и второй вход схемы памяти (фиг. 5). При этом счетчик в ССНОФН предназначен для подсчета количества кодовых комбинаций, равных половине длительности сегмента (полусегмента), на который затем накладывается оконная функция Натолла. Например, из цифрового сигнала, имеющего частоту дискретизации 48 кГц нужно сформировать последовательность полусегментов, каждый из которых должен содержать В/2=480 дискретных отсчетов (кодовых комбинаций). При этом каждый дискретный отсчет представляет из себя, например, 16 разрядную кодовую комбинацию. Тогда на длительности каждого полусегмента будет умещаться 480 шестнадцатиразрядных кодовых комбинаций. Именно после данного количества импульсов частоты дискретизации на выходе счетчика появляется короткий импульс, свидетельствующий об окончании данного полусегмента и начале следующего (фиг. 6 а, б). Импульсы с выхода счетчика подаются на третий вход первой буферной памяти, на второй вход второй буферной памяти и на первый вход схемы памяти. j Первая буферная память в ССНОФН вмещает в себя В/2=480 кодовых комбинаций (полусегмент), а вторая буферная память состоит из двух половин и вмещает в себя В=960 кодовых комбинаций (два полусегмента по 480 кодовых комбинаций). По мере поступления параллельных кодовых комбинаций на, 1 кодовый вход первой буферной памяти, они записываются в нее под действием импульсов с частотой дискретизации. Эти кодовые комбинации появляются на кодовом выходе первой буферной памяти и прикладываются к кодовому входу второй буферной памяти, но не записываются в нее. В это же время из второй буферной памяти считываются В=960 нулевых кодовых комбинаций под действием импульсов с удвоенной частотой дискретизации. Эти нулевые 16 разрядные кодовые комбинации последовательно поступают на первой кодовый вход схемы умножения. На второй кодовый вход данной схемы в это время подаются 16 разрядные кодовые комбинации, соответствующие коэффициентам передачи окна Натолла. После перемножения кодовых комбинаций, поданных на 1 и 2 кодовые входы схемы умножения, на ее выходе также будут нулевые 16 разрядные кодовые комбинации. Т.о., в период заполнения первой буферной памяти кодовыми комбинациями, соответствующими первому полусегменту (1 п.с. на фиг. 6а) на выходе схемы умножения осуществляется формирование первого по счету сегмента (01-00 сегм. Ha фиг. 6в) из нулевых кодовых комбинаций. После заполнения 480 шестнадцатиразрядными кодовыми комбинациями первой буферной памяти на выходе счетчика появляется первый короткий импульс (фиг. 6б) под действием переднего фронта которого данные кодовые комбинации из [первой буферной памяти записываются в первую половину второй буферной памяти (1 п.с. на фиг. 6а). Под действием этого же короткого импульса 480 нулевых кодовых комбинаций из первой половины второй буферной памяти сдвигаются и записываются во вторую половину данной буферной памяти (0 п.с. на фиг. 6а). Таким образом, из нулевого и первого полусегментов формируется первый сегмент (1 сегм. на фиг. 6а). Под действием спада того же короткого импульса осуществляется установка первой буферной памяти и схемы памяти в исходное состояние. При этом на кодовом выходе схемы памяти появляется кодовая комбинация, соответствующая коэффициенту передачи окна Натолла для первой из В=960 кодовых комбинаций в первом сегменте (1 сегм. на фиг. 6а). Следует заметить, что коэффициенты передачи окна Натолла (и соответствующие им кодовые комбинации) для первой половины сегмента (например 0 п.с. в 1 сегм. на фиг. 6а) являются возрастающими, а для второй половины сегмента (например 1 п.с. в 1 сегм. на фиг. 6а) являются уменьшающимися. Параллельные кодовые комбинации, продолжающие поступать на 1 кодовый вход первой буферной памяти, записываются в данную память под действием импульсов с частотой дискретизации. В это же время под действием импульсов с удвоенной частотой дискретизации на третьем входе второй буферной памяти и втором входе схемы памяти, 16 разрядные кодовые комбинации с их кодовых выходов поступают, на соответственно, первый и второй кодовые входы схемы умножения. Первыми умножаются нулевые кодовые комбинации (из второй половины второй буферной памяти) нулевого полусегмента первого сегмента (1 сегм. на фиг. 6а), поэтому на кодовом выходе схемы умножения появляются только нулевые 16 разрядные кодовые комбинации. Далее начинают умножаться информационные кодовые комбинации (из первой половины второй буферной памяти) первого полусегмента первого сегмента (1 сегм. на фиг. 6а), поэтому на кодовом выходе схемы умножения появляются перемноженные 16 разрядные кодовые комбинации, соответствующие исходным кодовым комбинациям, но с наложенными на них коэффициентами передачи окна Натолла. Т.о. в период заполнения первой буферной памяти кодовыми комбинациями, соответствующими второму по счету полусегменту (1 п.с. на фиг. 6а) на выходе схемы умножения осуществляется формирование второго по счету сегмента (11-02 сегм. на фиг. 6в), состоящего из второй раз используемого нулевого полусегмента и первый раз используемого первого полусегмента (в котором коэффициенты передачи окна Натолла являются уменьшающимися). После заполнения следующими 480 кодовыми комбинациями первой буферной памяти на выходе счетчика появляется второй короткий импульс (фиг. 6б) под действием переднего фронта которого данные кодовые комбинации записываются в первую половину второй буферной памяти. Под действием этого же короткого импульса 480 ранее записанных кодовых комбинаций из первой половины второй буферной памяти сдвигаются и записываются во вторую половину данной буферной памяти. Таким образом, из первого и второго полусегментов формирует второй сегмент (2 сегм. на фиг. 6а). Под действием спада того же короткого импульса осуществляется установка первой буферной памяти и схемы памяти в исходное состояние. При этом на кодовом выходе схемы памяти появляется кодовая комбинация, соответствующая коэффициенту передачи окна Натолла для первой из В=960 кодовых комбинаций во втором сегменте (2 сегм. на фиг. 6а). Под действием импульсов на третьем входе второй буферной памяти и втором входе схемы памяти, 16 разрядные кодовые комбинации с их кодовых выходов поступают на, соответственно, первый и второй кодовые входы схемы умножения. Первыми умножаются кодовые комбинации (из второй половины второй буферной памяти) первого полусегмента второго сегмента (2 сегм. на фиг. 6а). Эти перемноженные кодовые комбинации появляются на выходе схемы умножения. Далее начинают умножаться кодовые комбинации (из первой половины второй буферной памяти) второго полусегмента второго сегмента (2 сегм. на фиг. 6а). Эти перемноженные кодовые комбинации также появляются на выходе схемы умножения. Т.о. на выходе схемы умножения осуществляется формирование третьего по счету сегмента (21-12 сегм. на фиг. 6в), состоящего из второй раз используемого первого полусегмента (в котором коэффициенты передачи окна Наттола являются увеличивающимися) и первый раз используемого второго полусегмента (в котором коэффициенты передачи окна Натолла являются уменьшающимися). Пока из второй буферной памяти осуществляется считывание 16 разрядных кодовых комбинаций, в первую буферную память записываются кодовые комбинации, соответствующие третьему полусегменту (3 п.с. на фиг. 6а). После заполнения очередными 480 кодовыми комбинациями первой буферной памяти на выходе счетчика появляется третий короткий импульс (фиг. 6б) под действием переднего фронта которого данные кодовые комбинации записываются в первую половину второй буферной памяти. Под действием этого же короткого импульса 480 ранее записанных кодовых комбинаций из первой половины второй буферной памяти сдвигаются и записываются во вторую половину данной буферной памяти. Таким образом, из второго и третьего полусегментов формируется третий сегмент (3 сегм. на фиг. 6а). Под действием спада того же короткого импульса осуществляется установка первой буферной памяти и схемы памяти в исходное состояние. При этом на кодовом выходе схемы памяти появляется кодовая комбинация, соответствующая коэффициенту передачи окна Натолла для первой из В=960 кодовых комбинаций в третьем сегменте (3 сегм. на фиг. 6а). Под действием импульсов на третьем входе второй буферной памяти и втором входе схемы памяти, 16 разрядные кодовые комбинации с их кодовых выходов поступают на, соответственно, первый и второй кодовые входы схемы умножения. Первыми умножаются кодовые комбинации (из второй половины второй буферной памяти) второго полусегмента третьего сегмента (3 сегм. на фиг. 6а). Эти перемноженные кодовые комбинации появляются на выходе схемы умножения. Далее начинают умножаться кодовые комбинации (из первой половины второй буферной памяти) третьего полусегмента третьего сегмента (3 сегм. на фиг. 6а). Эти перемноженные кодовые комбинации также появляются на выходе схемы умножения. Т.о. на выходе схемы умножения осуществляется формирование четвертого по счету сегмента (31-22 сегм. на фиг. 6в), состоящего из второй раз используемого второго полусегмента (в котором коэффициенты передачи окна Натолла являются увеличивающимися) и первый раз используемого третьего полусегмента (в котором коэффициенты передачи окна Натолла являются уменьшающимися). Далее работа ССНОФН происходит аналогичным образом. Пример реализации схемы перекрытия сегментов и компенсации неравномерности оконной функции Наттолла (СПСКНОН), входящей в состав БФОС 9, 3 показан на фиг. 7. Данная схема содержит: первую, вторую, третью и четвертую буферные памяти (БП), сумматор, схему памяти (СП), схему умножения (СУ), счетчик, триггер, формирователь, элемент задержки (ЭЗ). Первый (кодовый) вход первой буферной памяти (БП1) соединен с первым (кодовым) входом СПСКНОН, а его кодовый выход - с первым (кодовым) входом второй буферной памяти (БП2) и с первым (кодовым) входом третьей буферной памяти (БП3). Второй вход БП1 подключен к выходу элемента-задержки ЭЗ, а третий вход БП1 соединен со вторым входом СПСКНОН, к которому также подключен вход счетчика, выход которого соединен со входом триггера, входом ЭЗ и со вторым входом БП2, кодовый выход которой соединен с первым (кодовым) входом БП4. Третий вход СПСКНОН соединен со вторым входом схемы памяти (СП), вторым входом БП3 и вторым входом БП4. Выход триггера подключен ко входу формирователя, выход которого соединен с первым входом СП, с третьим входом БП3 и с третьим входом БП4. Кодовые выходы БП3 и БП4 соединены, соответственно, с первым и вторым кодовыми входами сумматора, кодовый выход которого соединен с первым кодовым входом схемы умножения (СУ), второй кодовый вход которой подключен к кодовому выходу СП, а кодовый выход СУ соединен с выходом СПСКНОН. СПСКНОН (фиг. 7) работает следующим образом. В исходном состоянии БП1, БП2, БП3, БП4, счетчик, а также триггер обнулены. СП также находится в исходном состоянии, когда на ее кодовом выходе присутствует кодовая комбинация, соответствующая коэффициенту передачи для компенсации неравномерности оконной функции Наттолла для первой из В кодовых комбинаций в первом сегменте. На первый (кодовый) вход СПСКНОН (фиг. 7) и далее на первый (кодовый) вход БЩ поступают параллельные кодовые комбинации с кодового выхода схемы обратного дискретного преобразования Фурье, входящей в состав БФОС 9, 21 (фиг. 2). Одновременно на второй вход СПСКНОН с выхода схемы удвоения частоты импульсов дискретизации, входящей в состав БФОС 9, 21 (фиг. 2), поступают импульсы с удвоенной частотой дискретизации, которые далее подаются на третий вход БП1 (фиг. 7). Под действием данных импульсов кодовые комбинации, поступающий на вход БП2, записываются в нее и появляются на кодовом выходе БП1. Эти кодовые комбинации прикладываются к первым (кодовым) входам БП2 и БП3, но не записываются в них. Одновременно счетчик начинает подсчет импульсов с удвоенной частотой дискретизации. Данный счетчик предназначен для подсчета количества кодовых комбинаций, равных половине длительности сегмента (полусегмента). Например, из цифрового сигнала, имеющего удвоенную частоту дискретизации нужно сформировать последовательность полусегментов, каждый из которых должен содержать В/2=480 дискретных отсчетов (кодовых комбинаций). При этом каждый дискретный отсчет представляет из себя 16 разрядную кодовую комбинацию. Тогда на длительности каждого полусегмента будет умещаться 480 шестнадцатиразрядных кодовых комбинаций. Именно после данного количества импульсов с удвоенной частотой дискретизации на выходе счетчика появляется короткий импульс, свидетельствующий об окончании данного полусегмента и начале следующего (фиг. 8 а, б). БП1, БП2, БП3, БП4 в нашем примере, вмещают в себя каждый по 480 шестнадцатиразрядных кодовых комбинаций (т.е. каждый по полусегменту), Кодовые комбинации с кодовых выходов сумматора, СУ и СП также являются 16 разрядными. СПСКНОН предназначена для формирования сегментов цифрового сигнала из В кодовых комбинаций в каждом сегменте и сложение с 50% перекрытием каждого сегмента с предыдущим ему сегментом. С целью избежания разрывов в последовательности цифрового сигнала, формирующегося после перекрытия сегментов, необходимо, чтобы запись кодовых комбинаций в БП1 производилась с удвоенной частотой дискретизации, а считывание кодовых комбинаций из БП3 и БП4 производилась с частотой дискретизации. Эти импульсы с частотой дискретизации поступают на третий вход СПСКНОН со входа схемы удвоения частоты импульсов дискретизации, входящей в состав БФОС 9, 21 (фиг. 2). Одновременно с записью кодовых комбинаций в БП1, из БП3 и БП4 происходит считывание нулевых кодовых комбинаций под действием импульсов на их вторых входах (фиг. 7). Эти нулевые 16 разрядные кодовые комбинации поступают на первый и второй кодовые входы сумматора, на выходе которого также будут нулевое 16 разрядные кодовые комбинации, которые подаются на первый кодовый вход СУ. На второй кодовый вход данной схемы с кодового выхода СП в это время подаются 16 разрядные кодовые комбинации, соответствующие коэффициентам передачи для компенсации неравномерности оконной функции Наттолла. После перемножения кодовых комбинаций, поданных на 1 и 2 кодовые входы СУ, на ее кодовом выходе также будут нулевые 16 разрядные кодовые комбинации Т.о. в период заполнения БП1 кодовыми комбинациями, соответствующими первому полусегменту (00 п.с. на фиг. 8а) на кодовом выходе СУ осуществляется формирование полусегмента (0н на фиг. 8 г) из нулевых кодовых комбинаций. После заполнения 480 шестнадцатиразрядными нулевыми кодовыми комбинациями БЩ, соответствующими 00-полусегменту, (фиг. 8а), на выходе счетчика появляется первый короткий импульс (фиг. 8б) от которого срабатывает триггер, а на выходе формирователя также появляется короткий импульс. Под действием переднего фронта импульса с выхода формирователя нулевые кодовые комбинации, соответствующие 00-полусегменту, с выхода БП1 записываются в БП3, а в БП4, записываются тоже нулевые кодовые комбинации, которые присутствовали в БП2. Таким образом, из 0 и 00 полусегментов (фиг. 8а) формируется первый сегмент (1 сегм. на фиг. 8а - внизу). Одновременно, под действием того же короткого импульса с выхода формирователя осуществляется установка СП в исходное состояние, когда на ее кодовом выходе появляется кодовая комбинация, соответствующая коэффициенту передачи для компенсации неравномерности оконной функции Наттолла для первой кодовой комбинации в сегменте. После этого под действием спада импульса с выхода счетчика кодовые комбинации с кодового выхода БП1, соответствующие 00-полусегменту записываются в БП2 и появляются на его кодовом выходе. Кроме того, под действием короткого импульса, задержанного в ЭЗ, БП1 обнуляется и начинает запись кодовых комбинаций, соответствующих следующему 01-полусегменту (фиг. 8а). Под действием импульсов на вторых входах БП3 и БП4, 16 разрядные нулевые кодовые комбинации с их кодовых выходов поступают на, соответственно, первый и второй кодовые входы сумматора. Далее нулевые кодовые комбинации с кодового выхода сумматора (00 п.с. +0 п.с. на фиг. 8а) подаются на первый кодовый вход СУ, на второй кодовый вход которой поступают кодовые комбинации с выхода СП. Т.о. на выходе СУ осуществляется формирование первого сегмента (00+0 сегм. на фиг. 8в). Пока из БП3 и БП4 осуществляется замедленное в 2 раза (по сравнению со скоростью записи в БП1) считывание 16 разрядных кодовых комбинаций, в БП1 записываются кодовые комбинации, соответствующие 01 полусегменту. После заполнения 480 нулевыми кодовыми комбинациями БП1 на выходе счетчика появляется второй короткий импульс (фиг. 8б) под действием которого срабатывает триггер и на его выходе появляется «логический 0» («лог. 0»), от которого на выходе формирователя не возникает никакого сигнала, а значит и записей в БП3 и БП4 параллельных кодовых комбинаций из БП1 и БП2 не происходит. В это время из БП3 и БП4 продолжается считывание, сложение и умножение нулевых кодовых комбинаций, соответствующих 00 и 0 полусегментам и формируется 00-0 сегмент (фиг. 8в). Под действием спада импульса с выхода счетчика кодовые комбинации с кодового выхода БП1, соответствующие 01-полусегменту записываются в БП2 и появляются на его кодовом выходе. Кроме того, под действием короткого импульса, задержанного в ЭЗ, БП1 обнуляется и начинает запись кодовых комбинаций, соответствующих: следующему 02-полусегменту (фиг. 8а). После заполнения нулевыми кодовыми комбинациями БП1 (02 п.с.на фиг. 8а) на выходе счетчика появляется третий короткий импульс (фиг. 8б) под действием которого срабатывает триггер и на его выходе появляется «логическая 1» («лог. 1»), от которого на выходе формирователя появляется второй короткий импульс (фиг. 8в). Под действием переднего фронта импульса с выхода формирователя нулевые кодовые комбинации, соответствующие 02 полусегменту, с выхода БП2 записываются в БП3, а в БП4 записываются тоже нулевые кодовые комбинации, соответствующее ' Oi и которые присутствовали в БЩ. Таким образом, из О2 и Oi полусегментов формируется второй сегмент (2 сегм. на фиг. 8а - внизу). Одновременно, под действием того же короткого импульса с выхода формирователя осуществляется установка СП в исходное состояние, когда на ее кодовом выходе появляется кодовая комбинация, соответствующая коэффициенту передачи для компенсации неравномерности оконной функции Наттолла для первой кодовой комбинации в сегменте. После этого под действием спада импульса с выхода счетчика кодовые комбинации с кодового выхода БП1, соответствующие 02-полусегмент записываются в БП2 и появляются на его кодовом выходе. Кроме того, под действием кроткого импульса, задержанного в ЭЗ, БП1 обнуляется и начинает запись кодовых комбинаций, соответствующих следующему 11-полусегменту (фиг. 8а). Под действием импульсов на вторых входах БП3 и БП4, 16 разрядные нулевые кодовые комбинации с их кодовых выходов поступают на, соответственно, первый и второй кодовые входы сумматора. Далее нулевые кодовые комбинации с кодового выхода сумматора (02 п.с.+01 п.с. на фиг. 8а) подаются на первый кодовый вход СУ, на второй кодовый вход которого поступают кодовые комбинации с выхода СП. На кодовом выхода БУ появляются нулевые 16 разрядные кодовые комбинации. Т.о. на выходе БУ осуществляется формирование второго сегмента (02+01 сегм. на фиг. 8 г). Пока из БП3 и БП4 осуществляется считывание 16 разрядных кодовых комбинаций (02 п.с. и 01 п.с. на фиг. 8а), в БП1 записываются кодовые комбинации, соответствующие 11 полусегменту (11 п.с. на фиг. 8а). После заполнения кодовыми комбинациями (11 п.с на фиг. 8а) невыходе счетчика появляется четвертый короткий импульс (фиг. 8б) под действием которого срабатывает триггер и на его выходе появляется «лог. 0», от которого на выходе формирователя не возникает никакого сигнала, а значит и записи в БП3 и БП4 кодовых комбинаций из БП1 и БП2 не происходит. В это время из БП3 и БЩ4 продолжается считывание, сложеше и умножение нулевых кодовых комбинаций, соответствующих 02 и 01 полусегментам и формируется О2-O1 сегмент (фиг. 8 г). Под действием спада импульса с выхода счетчика кодовые комбинации с кодового выхода БП1, соответствующие 11 полусегменту записываются в БП2 и появляются на его кодовом выходе. Кроме того, под действием короткого импульса, задержанного в ЭЗ, БП1 обнуляется и начинает запись кодовых комбинаций, соответствующих: следующему 12-полусегменту (фиг. 8а). После заполнения кодовыми комбинациями БП1 (12 п.с. и на фиг. 8а) на выходе счетчика появляется пятый короткий импульс (фиг. 8б) под действием которого срабатывает триггер и на его выходе появляется «лог. 1», от которого на выходе формирователя появляется третий короткий импульс (фиг. 8в). Под действием данного импульса кодовые комбинации с кодовых выходов БП1 и БП2. записываются, соответственно, в БП3 и БП4. Таким образом, из 12 и 11 полусегментов формируется третий сегмент (3 сегм. на фиг. 8а - внизу). Одновременно, под действием того же короткого импульса осуществляется установка блока памяти в исходное состояние, когда на его кодовом выходе появляется кодовая комбинация, соответствующая коэффициенту передачи для компенсации неравномерности оконной функции Наттолла для первой кодовой комбинации в третьем сегменте. После этого под действием спада импульса с выхода сметчика кодовые комбинации с кодового выхода БП1, соответствующие 12-полусегменту записываются в БП2 и появляются на его кодовом выходе. Кроме того, под действием короткого импульса, задержанного в ЭЗ, БП1 обнуляется и начинает запись кодовых комбинаций, соответствующих следующему 21-полусегменту (фиг. 8а). Под действием импульсов с частотой дискретизации на вторых уходах БП3 и БП4, 16 разрядные информационные кодовые комбинации с их кодовых выходов поступают на, соответственно, первый и второй кодовые входы сумматора. При суммировании происходит сложение кодовых комбинаций, входящих в 12 полусегмент (в котором коэффициенты передачи окна Натолла являются увеличивающимися) с теми же кодовыми комбинациями, входящими в 11 полусегмент (в котором коэффициенты передачи окна Натолла являются уменьшающимися), поэтому на выходе сумматору коэффициенты передачи окна Натолла выравниваются (становятся близкими к 1), хотя и остается некоторая неравномерность. Далее после суммирования кодовые комбинации с кодового выхода сумматора (12 п.с.+11 п.с. на фиг. 8а) подаются на первый кодовый вход СУ, на второй кодовый вход которого поступают кодовые комбинации с выхода СП. После перемножения кодовых комбинаций оказывается скомпенсированной неравномерность оконной функции Наттолла. Если сравнить (11-02) сегмент и (21-12) сегмент (вверху фиг. 8а) на входе СПСКНОН с 3 сегментом (3 сегм. на фиг. 8а или 12+11 сегм. на фиг. 8г) на выходе сумматора, то видно, что имеет место сложение с 50% перекрытием сегмента с предыдущим ему сегментом. На кодовый выход БУ поступают 16 разрядные кодовые комбинации с компенсированной неравномерностью оконной функции Наттолла. Т.о, на выходе БУ осуществляется формирование третьего сегмента (12+11 сегм. на фиг. 8 г). Пока из БП3 и БП4 осуществляется считывание 16 разрядных кодовых комбинаций (12 п.с. и 11 п.с. на фиг. 8а), в БП1 записываются кодовые комбинации, соответствующие 21 полусегменту (21 п.с. на фиг. 8а). После заполнения кодовыми комбинациями (21 п.с на рис. 13а) БП1 на выходе счетчика появляется шестой короткий импульс (фиг. 8б) под действием которого срабатывает триггер и на его выходе появляется «лог. 0», от которого на выходе формирователя не возникает никакого сигнала, а значит и записи в БП3 и БП4 параллельных кодовых комбинаций с кодовых выходов БП1 и БП2 не происходит. В это время из БП3 и БП4 продолжается считывание, сложений, и умножение кодовых комбинаций, соответствующих 12 и 11 полусегментам и формируется 12-11 сегмент (фиг. 8 г). Под действием спада импульса с выхода счетчика кодовые комбинации с кодового выхода БП1, соответствующие 21 полусегменту записываются в БП2 и появляются на его кодовом выходе. Кроме того, под действием короткого импульса, задержанного в ЭЗ, БП1 обнуляется и начинает запись кодовых комбинаций, соответствующие, следующему 21-полусегменту (фиг. 8а). После заполнения БП1 кодовыми комбинациями, соответствующими 22-полусегменту (22 п.с. на фиг. 8а) на выходе счетчика появляется седьмой короткий импульс (фиг. 8б), под действием которого срабатывает триггер и на его выходе появляется «лог. 1», от которого на выходе формирователя появляется четвертый короткий импульс (фиг. 8в). Под действием данного импульса кодовые комбинации с кодовых выходов БП1 и БП2 записываются в БП3 и БП4. Таким образом, из 22 и 21 полусегментов формируется четвертый сегмент (4 сегм. на фиг. 8а внизу). Одновременно, под действием того же короткого импульса осуществляется установка блока памяти в исходное состояние, когда на его кодовом выходе появляется кодовая комбинация, соответствующая коэффициенту передачи для компенсации неравномерности оконной функции Наттолла для первой кодовой комбинации в четвертом сегменте. После этого под действием спада импульса с выхода сметчика кодовые комбинации с кодового выхода БП1, соответствующие 22-полусегменту. Записываются в БШ и появляются на его кодовом выходе. Кроме того, под действием короткого импульса, задержанного в ЭЗ, БП1 обнуляется и начинает запись кодовых комбинаций, соответствующих следующему 31-полусегменту (фиг. 8а). Под действием импульсов на вторых входах БП3 и БП4 16 разрядные информационные кодовые комбинации с их кодовых выходов поступают на, соответственно, первый и второй кодовые входы сумматора. При суммировании происходит сложение кодовых комбинаций, входящих в 22 полусегмент (в котором коэффициенты передачи окна Натолла являются увеличивающимися) с теми же кодовыми комбинациями, входящими в 21 полусегмент (в котором коэффициенты передачи окна Натолла являются уменьшающимися), поэтому на выходе сумматора коэффициенты передачи окна Натолла выравниваются (становятся близкими к 1), хотя и остается некоторая неравномерность. Далее после суммирования кодовые комбинации с кодового выхода сумматора (22 п.с. +21 п.с. на фиг. 8а) подаются на первый кодовый вход СУ, на второй кодовый вход которого поступают кодовые комбинации с выхода СП. После перемножения кодовых комбинаций оказывается скомпенсированной неравномерность оконной функции Наттолла. Если сравнить (21-12) сегмент и (31-22) сегмент (вверху фиг. 8а) на входе СПСКНОН с 4 сегментом (4 сегм. на фиг. 8а внизу или 22+21 сегм. на фиг. 8г) на выходе сумматора, то видно, что имеет место сложение с 50% перекрытием сегмента с предыдущим ему сегментом. На кодовый выход БУ поступают 16 разрядные кодовые комбинации с компенсированной неравномерностью оконной функции Наттолла. Т.о. на выходе БУ осуществляется формирование четвертого сегмента (22+21 сегм. на фиг. 8г). Далее работа БПСКНОН происходит аналогичным образом. Благодаря такому решению задачи предлагаемый способ и устройство компандирования звуковых вещательных сигналов, в отличие от прототипа, позволяет избежать искажения формы звукового сигнала (сохраняет форму сигнала), снизить модуляцию переменным коэффициентом передачи высокочастотных составляющих сигнала и шумов, а также снизить заметность шума не только в пауз но и в сигнале. Вследствие этого удается повысить качество передачи звуковых вещательных сигналов. Особенностью современных каналов передачи является то, что вследствие обработок существующими компандерами, передаваемые звуковые вещательные сигналы не сохраняют свою форму и поэтому не могут качественно контролироваться имеющимся метрологическим обеспечением, ориентированным на измерение формы. Предлагаемый же способ и устройство сохраняют форму сигнала, что позволяет использовать существующее метрологическое обеспечение при оценке качества передачи (по форме сигнала). Кроме того, сохранение формы сигнала и повышение вследствие этого качества эквивалентно повышению разрядности цифрового представления не] 2 разряда. Это повышение качества звуковых вещательных сигналов позволяет снизить скорость передачи или объем сигнала при его передаче и хранении в обмен на незначительное ухудшении этого качества, соответствующего качеству при обработке j существующими компандерами. С помощью предлагаемого способа и устройства могут передаваться как звуковые вещательные сигналы, так и речевые сигналы, а также любые аналоговый сигналы. Предлагаемые способ и устройство могут найти применение существующих аналоговых и цифровых каналах передачи, а также в системах хранения информации. Их использование позволит повысить качество передачи информационного сообщений и снизить скорость передачи или объем сигнала в канале связи. Экономический эффект от использования предлагаемого изобретения предполагается получить за счет обеспечения высокого качества передачи и приема информационных аналоговых сигналов. Сохранение формы сигнала позволяет использовать существующее метрологическое обеспечение, а не разрабатывать новые измерительные приборы при оценке качества передачи. Экономический эффект может быть получен также за счет снижения скорости передачи или объема сигнала при его передаче и хранении и увеличения вследствие этого количества каналов.







