Изобретение относится к технике систем для подсветки жидкокристаллических индикаторов (ЖКИ) и может быть использовано в бортовых индикаторах при работе операторов в обычных условиях и с применением приборов ночного видения (ПНВ). Полный световой поток при дневной и ночной подсветках образуется суммированием прямого излучения соответствующих светодиодов оптического излучателя и переотраженного излучения, которые формируют с помощью отражателя. Отражатель выполнен из непрозрачного материала с высоким коэффициентом диффузного отражения и имеет размеры отверстий и выборок, которые исключают в дневном режиме работы ЖКИ паразитную засветку, возникающую как за счет частичного прохождения света от дневных светодиодов белого цвета через светофильтры, установленные над светодиодами ночной подсветки, так и за счет переотражения от светофильтров. В ночном режиме работы ЖКИ, за счет обеспечения прохождения излучения светодиодов через светофильтр под углами, близкими к нормали, обеспечивается полная фильтрация видимой части спектра излучения светодиода. Технический результат заключается в обеспечении неискаженного полноцветного отображения информации в дневном режиме работы ЖКИ и исключении влияния излучения светодиодов ночной подсветки на работу ПНВ в ночном режиме работы ЖКИ. 2 н.п. ф-лы, 2 ил.
1. Способ светодиодной двухрежимной подсветки ЖКИ, который заключается в облучении световодной пластины световым потоком, создаваемым оптическим излучателем в виде линейки светодиодов, часть которых используется для дневной подсветки ЖКИ, а другая часть светодиодов используется для ночной подсветки с применением светофильтров, полоса пропускания которых лежит в зоне нечувствительности приборов ночного видения, причем полный световой поток при дневной и ночной подсветках образуется суммированием прямого излучения соответствующих светодиодов оптического излучателя и переотраженного излучения, отличающийся тем, что прямое и переотраженное излучение светодиодов формируют с помощью выполненного из непрозрачного материала с высоким коэффициентом диффузного отражения отражателя, который имеет отверстия для светодиодов линейки и выборки, светофильтры устанавливают на уступах выборки с фиксированным зазором над светодиодами ночной подсветки, при этом прямое излучение светодиодов обеспечивают в угле ±θ0, а излучение в углах θ>θ0 формируют за счет переотражений от внутренней поверхности отверстий и выборок, при этом глубину Н2 выборки выбирают из соотношения где А - ширина уступа выборки; L - ширина отверстия; Н0 - глубина отверстия; θ0 - угол, соответствующий половине ширины диаграммы направленности по уровню половинной силы света излучения светодиода. 2. Оптический излучатель, содержащий печатную плату с установленной на ней линейкой светодиодов, причем часть светодиодов используется для дневной подсветки ЖКИ, а другая часть используется для ночной подсветки с применением светофильтров, полоса пропускания которых лежит в зоне нечувствительности приборов ночного видения, отличающийся тем, что на печатной плате установлен выполненный из непрозрачного материала с высоким коэффициентом диффузного отражения отражатель, который имеет отверстия для установленных светодиодов и выборки, на уступах которых с фиксированным зазором над светодиодами для ночной подсветки установлены светофильтры, при этом глубину выборки Н2 выбирают из соотношения где А - ширина уступа выборки; L - ширина отверстия; Н0 - глубина отверстия; θ0 - угол, соответствующий половине ширины диаграммы направленности по уровню половинной силы света излучения светодиода.

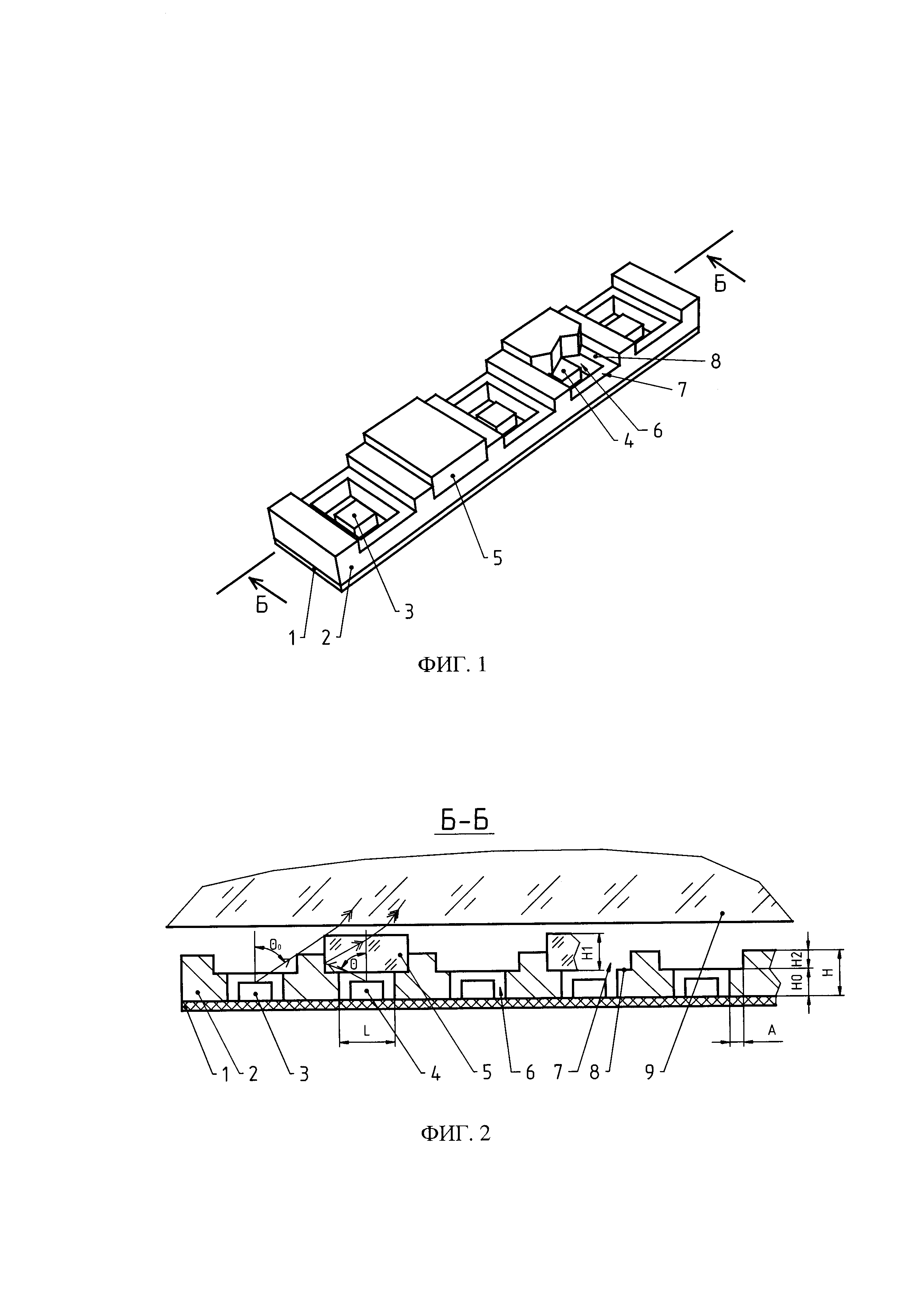
Группа изобретений относится к технике систем для подсветки жидкокристаллических индикаторов (ЖКИ) и может быть использована в бортовых индикаторах при работе операторов в обычных условиях и с применением приборов ночного видения (ПНВ). Системы для подсветки ЖКИ на основе светодиодов более устойчивы к температурным, вибрационным и ударным воздействиям, благодаря чему получают все большее распространение в бортовых индикаторах, предназначенных для применения на летательных аппаратах, морских судах и других объектах, где требуются высокие показатели яркости, прочности конструкции и термостойкости. При применении ПНВ оператор осматривает закабинную обстановку через ПНВ, а за изображением на экране бортового индикатора, размещенном на приборной доске, наблюдает невооруженными глазами. Оптическое излучение бортового индикатора, не сопряженное по спектральным характеристикам с ПНВ, создает как фоновую, так и прямую засветку ПНВ. Это приводит к нарушению работы ПНВ, уменьшает контраст при обзоре закабинной обстановки и снижает дальность обнаружения закабинных объектов. Известны оптические излучатели (ОИ) для светодиодных систем подсветки ЖКИ, отличающиеся разным конструктивным построением (US 2004008474 МПК G06F 1/116, G02F 1/1333, 2004; US 2004151006 МПК G02F 1/1335, H01J 5/16, 2004; US 2004228107 МПК F21V 7/04, 2004; WO 03021565 МПК G09G 3/34, 2003), но все они не приспособлены для работы в ночных условиях с применением очков ночного видения. В ЖКИ пропускающего типа свет, излучаемый оптическим излучателем, поступает сквозь жидкокристаллическую панель с задней стороны. Для этого система подсвета содержит световодную пластину, которая при освещении ее с торцов оптическими излучателями обеспечивает гомогенизацию и излучение света в направлении, перпендикулярном плоскости пластины. Способ светодиодной двухрежимной подсветки ЖКИ, реализованный в светодиодной двухрежимной системе подсвета ЖКИ по патенту RU 103633 U1, МПК G02F 1/133, опубл. 20.04.2011, заключается в облучении световодной пластины световым потоком, создаваемым двумя группами ОИ, причем группа ОИ, предназначенная для дневной подсветки, расположена вдоль двух противоположных граней световодной пластины, а группа ОИ для ночной подсветки, содержащая светофильтр и обеспечивающая совместимость с ПНВ, располагается вдоль двух других противоположных граней световодной пластины. Недостатком применения известных ОИ в системе по патенту RU 103633 U1, 2011 г., является существенное усложнение конструкции световодной пластины из-за необходимости выравнивания световых потоков от ортогонально разнесенных ОИ. В ночном режиме подсветки при прохождении излучения через светофильтр под острыми углами, за счет ухудшения подавления светофильтром видимой части спектра, не обеспечивается полная фильтрация видимой части спектра излучения светодиода, что приводит к ухудшению коэффициента адаптации ПНВ. Наиболее близким к заявляемому способу светодиодной двухрежимной подсветки ЖКИ и оптическому излучателю по технической сущности и достигаемому техническому результату является способ и оптический излучатель, реализованные в светодиодной двухрежимной системе подсветки ЖКИ по патенту RU 63078 U1, МПК G02F 1/133, опубл. 10.05.2007, которые приняты за прототип для способа и оптического излучателя, соответственно. Способ светодиодной двухрежимной подсветки ЖКИ по патенту RU 63078 U1, 2007 г. заключается в облучении световодной пластины световым потоком, создаваемым оптическим излучателем в виде линейки светодиодов, часть которых используется для дневной подсветки ЖКИ, а другая часть светодиодов используется для ночной подсветки за счет установки на их излучающую поверхность светофильтра, полоса пропускания которого лежит в зоне нечувствительности приборов ночного видения, причем полный световой поток при дневной и ночной подсветках ЖКИ образуется суммированием прямого излучения соответствующих светодиодов оптического излучателя и переотраженного излучения от слоя диффузно отражающего материала, которым покрыты контактные площадки в промежутках между светодиодами. Оптический излучатель по патенту RU 63078 U1, 2007 г. содержит печатную плату, в виде основания, которое выполнено из жесткого теплопроводящего материала в форме вытянутого прямоугольного параллелепипеда, на продольной грани которого закреплена теплопроводящая диэлектрическая подложка с проводящим слоем, который разделен на изолированные друг от друга контактные площадки, между которыми установлены светодиоды белого цвета, с подключением выводов светодиодов к соседним контактным площадкам. Контактные площадки в промежутках между светодиодами покрыты слоем диффузно отражающего материала. Среди светодиодов белого цвета размещены светодиоды ночной подсветки, со спектром излучения, находящимся в области нечувствительности приборов ночного видения. В качестве светодиода ночной подсветки применяют светодиод белого цвета с наложенным на его излучающую поверхность светофильтром, полоса пропускания которого лежит в зоне нечувствительности приборов ночного видения. В ночном режиме работы ЖКИ включены только светодиоды ночной подсветки, спектр излучения которых лежит в зоне нечувствительности ПНВ. В дневном режиме работы ЖКИ включены только светодиоды дневной подсветки. Недостатком способа светодиодной двухрежимной подсветки ЖКИ и оптического излучателя по патенту RU 63078, 2007 г. является наличие паразитной засветки зеленого цвета в дневном режиме работы ЖКИ за счет частичного прохождения света от светодиодов дневной подсветки через светофильтры, установленные на светодиоды для ночной подсветки, и переотражений от них, что искажает передачу цветов отображаемой информации. В ночном режиме работы ЖКИ при прохождении части излучения светодиодов через светофильтр под острыми углами, ухудшается коэффициент подавления светофильтра и, следовательно, не обеспечивается полная фильтрация видимой части спектра излучения светодиода, что приводит к ухудшению коэффициента адаптации ПНВ. Кроме того, для обеспечения прохождения всего светового потока светодиодов ночной подсветки через светофильтр, необходимо плотное наложение светофильтра на светодиод, что приводит к быстрой потере свойств светофильтра из-за его перегрева. В основу настоящего изобретения положена задача создать способ светодиодной двухрежимной подсветки ЖКИ и оптический излучатель для его осуществления, которые обеспечивают неискаженное полноцветное отображение информации в дневном режиме работы ЖКИ, и в ночном режиме работы ЖКИ исключают влияние излучения светодиодов ночной подсветки на работу ПНВ. Применительно к способу задача решается тем, что в способе светодиодной двухрежимной подсветки ЖКИ, который заключается в облучении световодной пластины световым потоком, создаваемым оптическим излучателем в виде линейки светодиодов, часть которых используется для дневной подсветки ЖКИ, а другая часть светодиодов используется для ночной подсветки с применением светофильтров, полоса пропускания которых лежит в зоне нечувствительности ПНВ, причем полный световой поток при дневной и ночной подсветках образуется суммированием прямого излучения соответствующих светодиодов оптического излучателя и переотраженного излучения, согласно изобретению, прямое и переотраженное излучение светодиодов формируют с помощью выполненного из непрозрачного материала с высоким коэффициентом диффузного отражения отражателя, который имеет отверстия для светодиодов линейки и выборки, светофильтры устанавливают на уступах выборки с фиксированным зазором над светодиодами ночной подсветки, при этом прямое излучение светодиодов обеспечивают в угле ±θ0, а излучение в углах θ>θ0 формируют за счет переотражений от внутренней поверхности отверстий и выборок, при этом глубину Н2 выборки выбирают из соотношения где А - ширина уступа выборки; L - ширина отверстия; Н0 - глубина отверстия, θ0 - угол, соответствующий половине ширины диаграммы направленности по уровню половинной силы света излучения светодиода. Применительно к оптическому излучателю задача решается тем, что в оптическом излучателе, содержащем печатную плату с установленной на ней линейкой светодиодов, причем часть светодиодов используется для дневной подсветки ЖКИ, а другая часть используется для ночной подсветки с применением светофильтров, полоса пропускания которых лежит в зоне нечувствительности ПНВ, согласно изобретению, на печатной плате установлен выполненный из непрозрачного материала с высоким коэффициентом диффузного отражения отражатель, который имеет отверстия для установленных светодиодов и выборки, на уступах которых над светодиодами для ночного режима с фиксированным зазором установлены светофильтры, при этом глубину выборки Н2 выбирают из соотношения где А - ширина уступа выборки; L - ширина отверстия; Н0 - глубина отверстия; θ0 - угол, соответствующий половине ширины диаграммы направленности по уровню половинной силы света излучения светодиода. Технический результат достигается введением отражателя, выполненного из непрозрачного материала с высоким коэффициентом диффузного отражения и имеющего размеры отверстий и выборок, которые исключают в дневном режиме работы ЖКИ паразитную засветку, возникающую за счет частичного прохождения света от светодиодов дневной подсветки белого цвета через светофильтры, установленные на светодиоды ночной подсветки, и переотражений от светофильтров. В ночном режиме работы ЖКИ исключается прохождение излучения светодиодов через светофильтры под острыми углами, что обеспечивает полную фильтрацию видимой части спектра излучения светодиода и приводит к улучшению коэффициента адаптации ПНВ. Изобретение иллюстрируется чертежами, на которых приведены: на фиг. 1 - вид фрагмента оптического излучателя в изометрии; на фиг. 2 - продольный разрез фрагмента оптического излучателя. На фиг. 1 и 2 введены обозначения: 1 - печатная плата; 2 - отражатель; 3 - светодиод дневной подсветки; 4 - светодиод ночной подсветки; 5 - светофильтр; 6 - отверстие под светодиод; 7 - выборка; 8 - уступ выборки; 9 - световодная пластина. Описание способа светодиодной двухрежимной подсветки ЖКИ совместимо с описанием оптического излучателя для его осуществления. Оптический излучатель содержит печатную плату 1 с линейкой светодиодов, часть которых используется в качестве светодиодов 3 дневной подсветки, а другая часть светодиодов 4 используется для ночной подсветки с применением светофильтров 5, полоса пропускания которых лежит в зоне нечувствительности ПНВ. На печатной плате 1 установлен выполненный из непрозрачного материала с высоким коэффициентом диффузного отражения отражатель 2, который имеет отверстия 6 для установленных светодиодов 3 и 4 и выборки 7, на уступах 8 которых над светодиодами 3 для ночного режима с фиксированным зазором установлены светофильтры 5. Отражатель 2 выполняют из непрозрачного материала с высоким коэффициентом диффузного отражения, например, белого органического стекла Plexiglas GS WM03. В зависимости от режима подсветки, излучение от светодиодов 3 или светодиодов 4 попадает в световодную пластину 9, посредством которой осуществляется равномерное распределение светового потока для подсветки ЖКИ. При этом излучение от светодиодов 4 ночной подсветки перед попаданием в световодную пластину 11 проходит через светофильтр 5, полоса пропускания которого лежит в зоне нечувствительности приборов ночного видения. Полный световой поток при дневной и ночной подсветках образуется суммированием прямого излучения соответствующих светодиодов оптического излучателя и переотраженного излучения от отражателя. Ширину L отверстия 6 выбирают в соответствии с размерами посадочных площадок светодиодов 3 и 4, определяемых технической документацией на компоненты и рекомендациями производителя, таким образом, чтобы отражатель 2 устанавливался на печатную плату без зазоров. Ширину А уступа 8 выборки 7 выбирают, исходя из способа крепления светофильтра 5 к отражателю 2. Глубину Н0 отверстия 6 выбирают, исходя из высоты светодиода 4 ночной подсветки и минимально необходимого зазора между светодиодом 4 и светофильтром 5, который выбирают не менее 0,2 мм для обеспечения нормального температурного режима светодиода и светофильтра. Толщина H1 светофильтра 5 определяется производителем материала. Глубину Н2 выборки 7 определяют по приведенной формуле, из условия исключения прохождение излучения от светодиодов 3 дневной подсветки через светофильтр 5, как путем прямой засветки, так и за счет переотражений от отражателя 2 и световодной пластины 9. Кроме того, общая высота Н отражателя 6 подобрана таким образом, чтобы излучение от светодиодов для углов ±θ0, напрямую попадало в световодную пластину 9. Для углов θ больших θ0 излучение от светодиодов за счет переотражения от внутренней поверхности отверстий 6 и выборки 7 отражателя 2, в результате его выполнения из непрозрачного материала с высоким коэффициентом диффузного отражения, также попадает в световодную пластину 9, где суммируется с прямым излучением светодиодов, что повышает эффективность оптического излучателя для подсветки ЖКИ в обоих режимах подсветки. Таким образом, излучение светодиодов дневной подсветки в дневном режиме работы ЖКИ без паразитной засветки, обеспечивает неискаженное полноцветное отображение информации в дневном режиме работы ЖКИ. В ночном режиме работы ЖКИ обеспечивается прохождение излучения светодиодов ночной подсветки через светофильтры под углами, обеспечивающими полную фильтрация видимой части спектра излучения светодиодов, что приводит к улучшению коэффициента адаптации ПНВ. Кроме того, наличие зазора между светофильтром и светодиодом ночной подсветки улучшает температурные режимы работы светодиода и светофильтра, что повышает надежность работы ЖКИ.
