патент
№ RU 2537631
МПК C22B3/18

УСТАНОВКА БАКТЕРИАЛЬНОГО ВЫЩЕЛАЧИВАНИЯ МЕТАЛЛОВ ИЗ ТЕХНОГЕННЫХ ОТХОДОВ

Авторы:
Виноградов Максим Сергеевич Петрова Елена Владимировна Балина Алена Антоновна
Все (6)
Номер заявки
2013144613/02
Дата подачи заявки
04.10.2013
Опубликовано
10.01.2015
Страна
RU
Как управлять
интеллектуальной собственностью
Чертежи 
4
Реферат

Изобретение относится к бактериальному выщелачиванию металлов из техногенных отходов. Установка для бактериального выщелачивания металлов из техногенных отходов включает аппарат для накопления биомассы микроорганизмов в жидкой среде с техногенными отходами, аппарат для выщелачивания металлов из техногенных отходов, узел для выделения металлов из жидкой среды с техногенными отходами в виде аппарата для ионной флотации и блок регенерации выщелачивающих растворов в виде резервуара с пневматической системой аэрации. Аппарат для накопления биомассы микроорганизмов оснащен турбинной мешалкой и выносным контуром охлаждения. В качестве аппарата для выщелачивания металлов использован многокамерный флотационный аппарат с устройствами перетока жидкой среды с техногенными отходами из камеры в камеру, выполненный с возможностью изменения условий аэрации и интенсивности перемешивания. Обеспечивается увеличение степени выщелачивания металлов из техногенных отходов. 4 з.п. ф-лы, 5 ил.

Формула изобретения

1. Установка бактериального выщелачивания металлов из техногенных отходов, включающая аппарат для накопления биомассы микроорганизмов в жидкой среде c техногенными отходами и аппарат для выщелачивания металлов из техногенных отходов, отличающаяся тем, что она оснащена узлом для выделения металлов из жидкой среды в виде флотационного аппарата для ионной флотации и блоком регенерации выщелачивающих растворов в виде резервуара с пневматической системой аэрации, при этом аппарат для накопления биомассы микроорганизмов оснащен турбинной мешалкой и выносным контуром охлаждения, а в качестве аппарата для выщелачивания металлов использован многокамерный флотационный аппарат с устройствами перетока жидкой среды с техногенными отходами из камеры в камеру, выполненный с возможностью изменения условий аэрации и интенсивности перемешивания.

2. Установка по п.1, отличающаяся тем, что в аппарате для накопления биомассы микроорганизмов турбинная мешалка установлена над днищем аппарата на уровне 1:10 до 3:10 от высоты аппарата.

3. Установка по п.1, отличающаяся тем, что устройства для перетока жидкой среды с техногенными отходами из камеры в камеру выполнены в виде гибких трубок, с возможностью регулировки расположения по высоте их входных и выходных отверстий.

4. Установка по п.1, отличающаяся тем, что флотационный аппарат для ионной флотации представляет собой флотоотстойник, выполненный в виде емкости с кондиционирующей камерой, рабочий объем которой для улучшения подготовки пульпы к последующей ионной флотации составляет от 0,1 до 0,5 всего рабочего объема флотоотстойника, камерой флотации и выходной камерой.

5. Установка по п.1, отличающаяся тем, что в блоке регенерации выщелачивающих растворов установлены пневматические аэраторы с деформируемыми мембранами.

Описание

[1]

Область техники

[2]

Полезная модель относится к установкам для извлечения металлов из техногенных отходов (в том числе шлаков) путем бактериального выщелачивания мокрым способом с добавлением микроорганизмов.

[3]

Уровень техники

[4]

Известна установка для бактериального выщелачивания металлов из техногенных отходов, включающая корпус реактора, устройство для подачи пульпы, систему инжекции и диффузии воздуха для смешивания и подачи воздуха, необходимого для проведения процесса, а также патрубок вывода пульпы (Международная РСТ-заявка WO 2013057557 А1. Bioleaching bioreactor with a system for injection and diffusion of air. МПК С22В 3/18 (2006.01), B01F 7/16 (2006.01), B01J 8/00 (2006.01). Опубликовано 25.04.2013.). Степень выщелачивания металлов из техногенных отходов, в частности редкоземельных, при ее использовании составляет от 20 до 30%.

[5]

Существенным недостатком известной установки является недостаточно высокая степень извлечения металлов, а также сложность установки и ее слабая управляемость.

[6]

Наиболее близким техническим решением является установка для бактериального выщелачивания металлов из техногенных отходов, включающая аппарат для накопления биомассы микроорганизмов в жидкой среде техногенных отходов и аппарат для выщелачивания металлов из техногенных отходов (Каравайко Г. и др. Биотехнология металлов. Практическое руководство. - М.: Центр международных проектов ГКНТ - 1989, с.193-196). Аппараты этой установки выполнены в виде цилиндрических резервуаров, внутри которых размещены мешалки. Степень выщелачивания металлов, в частности редкоземельных, при осуществлении процесса в такой установке составляет от 30 до 45%.

[7]

Недостатками установки являются относительно невысокая степень выщелачивания, а также большие габариты установки.

[8]

Раскрытие полезной модели

[9]

Задачей полезной модели является увеличение степени выщелачивания, повышение управляемости процесса и уменьшение габаритов установки.

[10]

Задача решается тем, что предложена установка для бактериального выщелачивания металлов из техногенных отходов, включающая аппарат для накопления биомассы микроорганизмов в жидкой среде техногенных отходов и аппарат для выщелачивания металлов из техногенных отходов, причем введены узел для выделения металлов из жидкой среды и блок регенерации выщелачивающих растворов, в качестве аппарата для накопления биомассы микроорганизмов используется аппарат с турбинной мешалкой и выносным контуром охлаждения, а в качестве аппарата для выщелачивания металлов использован многокамерный флотационный аппарат с регулируемыми устройствами перетока жидкой среды с техногенными отходами из камеры в камеру и с изменяемыми условиями аэрации и интенсивностью перемешивания, и в качестве узла выделения металлов флотационный аппарат для ионной флотации, и в качестве блока регенерации выщелачивающих растворов резервуар с пневматической системой аэрации. В аппарате для накопления биомассы микроорганизмов турбинная мешалка установлена над днищем аппарата на уровне от 1:10 до 3:10 от высоты аппарата.

[11]

Устройства для перетока жидкой среды с отходами выполнены в виде, например, гибких трубок с регулируемым расположением по высоте. Флотационный аппарат для ионной флотации представляет собой флотоотстойник, выполненный в виде емкости с кондиционирующей камерой, рабочий объем которой составляет от 0,1 до 0,5 всего рабочего объема флотоотстойника, камерой флотации и выходной камерой. В блоке регенерации выщелачивающих растворов установлены пневматические аэраторы с деформируемыми мембранами.

[12]

Перечень фигур

[13]

На фиг.1 изображена принципиальная схема установки бактериального выщелачивания металлов из техногенных отходов.

[14]

На фиг.2 изображен аппарат накопления биомассы микроорганизмов и бактериального выщелачивания металлов из техногенных отходов с совмещенными камерами накопления биомассы микроорганизмов и бактериального выщелачивания металлов.

[15]

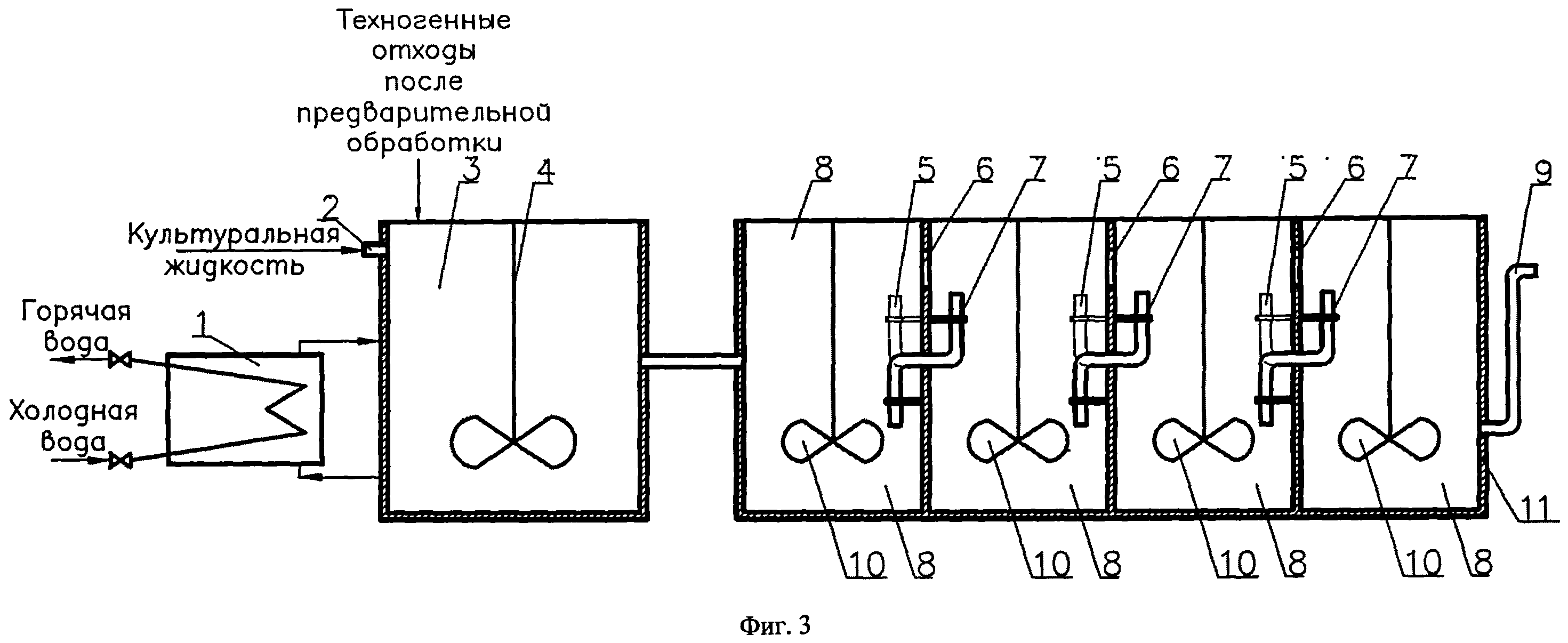
На фиг.3 изображены аппарат накопления биомассы микроорганизмов и бактериального выщелачивания металлов из техногенных отходов с раздельными камерами накопления биомассы микроорганизмов и бактериального выщелачивания металлов.

[16]

На фиг.4 изображен узел выделения металлов из жидкой среды.

[17]

На фиг.5 изображен блок регенерации выщелачивающих растворов.

[18]

Осуществление полезной модели

[19]

Принципиальная схема установки бактериального выщелачивания металлов из техногенных отходов (фиг.1) включает в себя аппарат для накопления биомассы аборигенных микроорганизмов с выносным контуром охлаждения, аппарат для выщелачивания металлов из техногенных отходов, узел выделения металлов из жидкой среды и блок регенерации выщелачивающих растворов.

[20]

Аппарат для накопления биомассы микроорганизмов и бактериального выщелачивания металлов из техногенных отходов с совмещенными камерами накопления биомассы микроорганизмов и бактериального выщелачивания металлов из техногенных отходов (фиг.2) состоит из корпуса установки 11 с входным и выходным патрубками 2 и 9 соответственно. Установка разделена на несколько камер: одна камера накопления биомассы аборигенных микроорганизмов 3 с выносным контуром охлаждения 1, в которой установлена турбинная мешалка 4, и остальные камеры бактериального выщелачивания 8, в которых установлены аэраторы 10, например, в виде пропеллерных мешалок. Разделение камер осуществлено посредством перегородок с регулируемыми устройствами перетока жидкой среды с отходами, представляющие собой, например, гибкие трубки 5, закрепленные хомутами 7. Для исключения перелива в перегородках предусмотрены окна 6.

[21]

Установка бактериального выщелачивания металлов из техногенных отходов работает следующим образом. В рабочее пространство аппарата накопления биомассы микроорганизмов 3 подают культуральную жидкость с аборигенными микроорганизмами через входной патрубок 2 и техногенные отходы, предварительно прошедшие подготовку, например, сепарацию золошлаков на концентрационных столах, при этом происходит их постоянное перемешивание и аэрирование посредством турбинной мешалки 4, установленной для наилучшего перемешивания над днищем аппарата на уровне от 1:10 до 3:10 от высоты аппарата. Охлаждение пульпы осуществляется с помощью выносного контура охлаждения 1 для поддержания оптимальных условий для жизнедеятельности микроорганизмов. После накопления достаточного количества микроорганизмов пульпа подается последовательно в камеры бактериального выщелачивания 8, где происходит постоянное перемешивание и аэрирование пульпы посредством, например, пропеллерных мешалок 10. Переток пульпы из одной камеры бактериального выщелачивании в другую осуществляется с помощью регулируемых устройств перетока жидкой среды с отходами, представляющих собой, например, гибкие трубки 5 для регулирования положения выходных отверстий по высоте, что определяет производительность установки. Фиксация трубок осуществляется хомутами 7.

[22]

В зависимости от используемого сырья, в частности трудно выщелачиваемых техногенных отходов, аппарат может быть выполнен с отдельной камерой накопления биомассы микроорганизмов и камерой бактериального выщелачивания металлов из техногенных отходов (фиг.3).

[23]

После завершения процесса бактериального выщелачивания пульпа подается в узел выделения металлов (фиг.4), представляющий собой флотоотстойник, выполненный в виде емкости с кондиционирующей камерой, рабочий объем которой для улучшения подготовки пульпы к последующей ионной флотации составляет от 0,1 до 0,5 всего рабочего объема флотоотстойника, камерой флотации и выходной камерой. В узле выделения металлов происходит разделение пульпы на жидкую и твердую фазу, а также происходит концентрирование металлов посредствам ионной флотации в пенном продукте.

[24]

Затем отделенная во флотоотстойнике жидкая фаза направляется в блок регенерации выщелачивающих растворов (фиг.5), в котором установлены пневматические аэраторы с деформируемыми мембранами для исключения забивания пор и выхода аэратора из строя. После регенерации раствор подают в аппарат накопления биомассы микроорганизмов.

[25]

Пример использования установки.

[26]

Бактериальное выщелачивание редкоземельных и благородных металлов из золошлаков Алексинской ТЭЦ проводили с использованием предлагаемой установки в следующей последовательности:

[27]

1. Предварительно обработали золошлаковые материалы на концентрационном столе.

[28]

2. Концентрат смешивали с выщелачивающим раствором и далее осуществляли процесс накопления биомассы аборигенных серо- и железоокисляющих микроорганизмов, содержащихся в исходных золошлаках, до концентрации клеток порядка 106…107 кл/мл в аппарате накопления биомассы микроорганизмов.

[29]

3. Пульпу подали в аппарат биовыщелачивания, в котором проводилось выщелачивание.

[30]

4. После завершения процесса бактериального выщелачивания пульпу подали в узел выделения металлов, где происходит разделение пульпы на жидкую и твердую фазы во флотоотстойнике, а также концентрирование ионов металлов в пенном продукте.

[31]

5. Жидкую фазу подали в блок регенерации выщелачивающих растворов, а затем направили в аппарат накопления биомассы микроорганизмов.

[32]

6. В результате по завершении процесса бактериального выщелачивания получили извлечение по редкоземельным металлам: скандий - 63,5%; иттрий - 61,9%; лантан - 59,8% и по благородным металлам: золото - 78,4%; серебро - 72,6%.

[33]

В случае использования ранее известной установки для бактериального извлечения (по прототипу) извлечение металлов составило соответственно: скандий - 35,8%; иттрий - 33,6%; лантан - 41,3%; золото - 59,7%; серебро - 61,2%.

[34]

Таким образом, предлагаемая установка бактериального выщелачивания металлов из отходов позволяет осуществить более эффективное извлечение металлов, в частности повысить степень извлечения редкоземельных металлов примерно на 10…35%, благородных металлов на 10…25%, а также уменьшить габариты, занимаемые установкой, за счет объединения камер на 15…25% и повысить управляемость процесса за счет возможности изменять производительность установки.

Как компенсировать расходы
на инновационную разработку
Похожие патенты