патент
№ RU 2583820
МПК B66C13/42

ГИДРОПРИВОД МЕХАНИЗМА ПОВОРОТА ПЛАТФОРМЫ СТРЕЛОВОГО САМОХОДНОГО КРАНА

Авторы:
Бордачев Евгений Федорович
Номер заявки
2014154210/11
Дата подачи заявки
29.12.2014
Опубликовано
10.05.2016
Страна
RU
Как управлять
интеллектуальной собственностью
Чертежи 
1
Реферат

Изобретение относится к подъемно-транспортному машиностроению. Гидропривод механизма поворота платформы стрелового самоходного крана содержит насос, бак, гидромотор, гидролинии, односторонние гидрозамки, трехпозиционный кран с электромагнитным управлением, клапан ИЛИ, гидроцилиндр тормоза, предохранительный клапан, входной штуцер которого соединен через клапан ИЛИ с гидролиниями гидромотора, а выход соединен через обратные клапаны с гидролиниями гидромотора и двухпозиционным краном с гидравлическим управлением. Гидропривод также снабжен клапаном плавного пуска, содержащим корпус, золотник со щелями переменной площади и поршень, которые подпружинены. Входное отверстие корпуса сообщено со щелями переменной площади и односторонним дросселем, соединенным с управляющей полостью, образованной поршнем и корпусом, а также входное отверстие корпуса соединено с выходным клапаном ИЛИ и входом двухпозиционного крана с гидравлическим управлением. Последний соединен с гидроцилиндром тормоза Выходы корпуса и двухпозиционного крана с гидравлическим управлением сообщены с баком. Достигается уменьшение динамических нагрузок при пуске (останове) механизма поворота путем улучшения плавности регулирования скорости вращения вала гидромотора. 2 ил.

Формула изобретения

Гидропривод механизма поворота платформы стрелового самоходного крана, содержащий насос, бак, гидромотор, гидролинии, односторонние гидрозамки, трехпозиционный кран с электромагнитным управлением, клапан ИЛИ, гидроцилиндр тормоза, двухпозиционный кран с гидравлическим управлением, предохранительный клапан, входной штуцер которого соединен через клапан ИЛИ с гидролиниями гидромотора, а выход предохранительного клапана через обратные клапаны - с гидролиниями гидромотора, отличающийся тем, что он снабжен клапаном плавного пуска, содержащим корпус, подпружиненные золотник со щелями переменной площади и поршень, а входное отверстие корпуса сообщено со щелями переменной площади, односторонним дросселем, соединенным с управляющей полостью, образованной поршнем и корпусом, при этом входное отверстие корпуса соединено с выходом клапана ИЛИ и входом двухпозиционного крана с гидравлическим управлением, соединенным с гидроцилиндром тормоза, а выходы корпуса и двухпозиционного крана с гидравлическим управлением связаны с баком.

Описание

[1]

Область техники, к которой относится изобретение

[2]

Изобретение относится к подъемно-транспортному машиностроению, а именно к гидроприводам механизма поворота платформы стрелового самоходного крана.

[3]

Уровень техники

[4]

Известны гидроприводы механизма поворота платформы стреловых самоходных кранов, в частности, гидропривод механизма поворота платформы стрелового самоходного крана (например, по а.с. №772970, кл. В66С 13/42, 23/84), содержащий гидромотор, гидролинии которого сообщены через распределитель с ручным управлением с насосом, гидроцилиндр тормоза, полость которого сообщена с гидролиниями гидромотора через клапан ИЛИ, напорный клапан и фильтр, а также через дроссель соединена с баком. Проточная гидролиния распределителя с ручным управлением сообщена со сливной гидролинией, а гидролиния управления напорного клапана подключена к гидролиниям гидромотора через клапан ИЛИ.

[5]

К недостаткам данного устройства следует отнести наличие только ручного управления, что не позволяет дублировать управление в случае отказа аппаратуры управления и предотвратить возникновение больших динамических нагрузок.

[6]

При резком переводе рукоятки распределителя из нейтрального положения в крайнее весь расход насоса поступает в гидромотор, при этом создается максимальное ускорение и происходит рывок, раскачка груза и возникают большие динамические нагрузки.

[7]

При переводе рукоятки распределителя из крайнего в нейтральное положение инерционная нагрузка заставляет гидромотор работать в качестве насоса и при этом давление в его гидролиниях падает. Из полости гидроцилиндра тормоза происходит сброс рабочей жидкости через клапан ИЛИ в гидролинию гидромотора, из которой через сливную гидролинию распределителя с ручным управлением и фильтр в бак. Гидроцилиндр тормоза затормаживает вал гидромотора. Создается максимальное тормозное ускорение и происходит рывок, раскачка груза, что приводит к возникновению больших динамических нагрузок. При резком переводе рукоятки распределителя из крайнего в нейтральное положение динамические нагрузки будут еще сильнее. Кроме того, имеет место наличие постоянных утечек рабочей жидкости через дроссель, который соединен с баком через гидролинии гидромотора, клапан ИЛИ, напорный клапан и фильтр.

[8]

Наиболее близким техническим решением является гидропривод механизма поворота платформы стрелового самоходного крана по а.с. №1312053, кл. В66С 13/42, 23/84, содержащий гидромотор, гидролинии которого сообщены через распределитель с ручным управлением с насосом, гидроцилиндр тормоза, полость которого сообщена с гидролиниями гидромотора через клапан ИЛИ, регулятор давления, через который проточная гидролиния распределителя с ручным управлением сообщена со сливной гидролинией, а гидролиния управления регулятора давления подключена к гидролиниям гидромотора также через клапан ИЛИ, сливная гидролиния распределителя сообщена со сливной гидролинией после регулятора давления.

[9]

К недостаткам данного устройства следует отнести также наличие только ручного управления и отсутствие дистанционного управления, что не позволяет дублировать управление в случае отказа аппаратуры управления и предотвратить возникновение больших динамических нагрузок.

[10]

При резком переводе рукоятки распределителя из нейтрального положения в крайнее весь расход насоса поступает в гидромотор, при этом создается максимальное ускорение и происходит рывок, раскачка груза и возникают большие динамические нагрузки.

[11]

При переводе рукоятки распределителя из крайнего в нейтральное положение инерционная нагрузка заставляет гидромотор работать в качестве насоса и при этом давление в его гидролиниях падает. Из полости гидроцилиндра тормоза происходит сброс рабочей жидкости через клапан ИЛИ в гидролинию гидромотора, из которой через сливную гидролинию распределителя с ручным управлением и фильтр в бак. Гидроцилиндр тормоза затормаживает вал гидромотора. Создается максимальное тормозное ускорение и происходит рывок, раскачка груза, что приводит к возникновению больших динамических нагрузок. При резком переводе рукоятки распределителя из крайнего в нейтральное положение динамические нагрузки будут еще сильнее.

[12]

Таким образом, устройству присущи большие динамические нагрузки при пуске (останове) механизма поворота из-за отсутствия плавности регулирования скорости вращения вала гидромотора. Кроме того, отсутствует дистанционное управление гидропривода механизма поворота.

[13]

Раскрытие изобретения

[14]

Основной задачей, на решение которой направлено настоящее изобретение, является улучшение эксплуатационных характеристик гидропривода механизма поворота платформы стрелового самоходного крана за счет уменьшения динамических нагрузок при пуске (останове) механизма поворота путем улучшения плавности регулирования скорости вращения вала гидромотора. Второй задачей данного изобретения является создание гидропривода механизма поворота с дистанционным управлением.

[15]

Решение задач достигается за счет того, что гидропривод механизма поворота платформы стрелового самоходного крана содержит насос, бак, гидромотор, гидролинии, односторонние гидрозамки, трехпозиционный кран с электромагнитным управлением, клапан ИЛИ, гидроцилиндр тормоза, предохранительный клапан, входной штуцер которого соединен через клапан ИЛИ с гидролиниями гидромотора, а выход соединен через обратные клапаны с гидролиниями гидромотора, двухпозиционный кран с гидровлическим управлением.

[16]

Гидропривод механизма поворота платформы стрелового самоходного крана снабжен клапаном плавного пуска, содержащим корпус, подпружиненные золотник со щелями переменной площади и поршень. Входное отверстие корпуса сообщено со щелями переменной площади золотника, односторонним дросселем, соединенным с управляющей полостью, образованной поршнем и корпусом, а также входное отверстие корпуса соединено с выходом клапана ИЛИ и входом двухпозиционного крана с гидравлическим управлением, который соединен с гидроцилиндром тормоза, а выходы корпуса и двухпозиционного крана с гидравлическим управлением сообщены с баком.

[17]

Таким образом, предлагаемое техническое решение отличается от прототипа наличием новых признаков, которые придают объекту новые свойства, проявившиеся в техническом эффекте. За счет введения в известную совокупность признаков новой совокупности отличительных признаков, обеспечивается уменьшение динамических нагрузок при пуске (останове) механизма поворота и улучшение плавности регулирования скорости вращения вала гидромотора, что позволяет улучшить эксплуатационные характеристики гидропривода механизма поворота платформы стрелового самоходного крана и решить задачу улучшения эксплуатационных характеристик гидропривода механизма поворота платформы стрелового самоходного крана.

[18]

Кроме того, за счет введения в гидропривод трехпозиционного крана с электромагнитным управлением обеспечивается создание гидропривода механизма поворота с дистанционным управлением.

[19]

Краткое описание чертежей

[20]

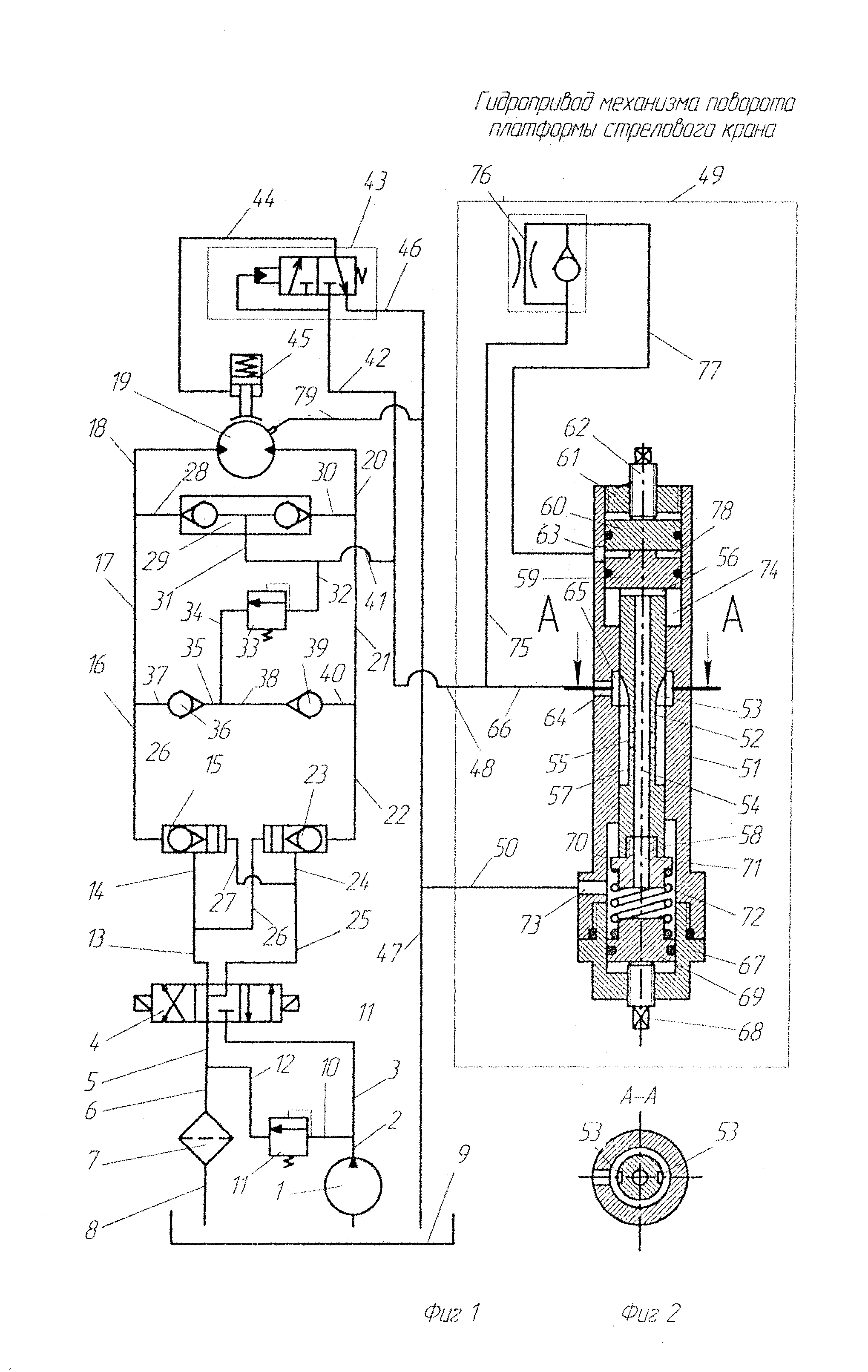
На фиг. 1 показана принципиальная гидравлическая схема механизма поворота.

[21]

На фиг. 2 - разрез А-А.

[22]

Осуществление изобретения

[23]

Гидропривод механизма поворота платформы стрелового самоходного крана содержит насос 1, от которого рабочая жидкость поступает по напорным гидролиниям 2, 3 к трехпозиционному крану 4 с электромагнитным управлением. Трехпозиционный кран 4 с электромагнитным управлением через гидролинии 5, 6, фильтр 7, гидролинию 8 соединен с баком 9. Напорная гидролиния 2 через гидролинию 10 соединена с предохранительным клапаном 11, который через гидролинии слива 12, 6, фильтр 7, гидролинию 8 соединен с баком 9.

[24]

Левый выход трехпозиционного крана 4 с электромагнитным управлением через гидролинии 13, 14, односторонний гидрозамок 15, гидролинии 16, 17, 18 соединен с гидромотором 19 механизма поворота, а правый выход из гидромотора 19 через гидролинии 20, 21, 22, односторонний гидрозамок 23, гидролинии 24, 25 соединены с правым выходом трехпозиционного крана 4 с электромагнитным управлением. Полость управления одностороннего гидрозамка 23 соединена гидролинией 26 с гидролиниями 13, 14, а полость управления одностороннего гидрозамка 15 соединена гидролинией 27 с гидролиниями 24, 25. Гидролинии 17, 18 соединены через гидролинию 28 с левым входом клапана ИЛИ 29, а правый вход в клапан ИЛИ 29 соединен гидролинией 30 с гидролиниями 20, 21. Выход из клапана ИЛИ 29 соединен через гидролинии 31, 32 с предохранительным клапаном 33. Выход из предохранительного клапана 33 соединен через гидролинии 34, 35, обратный клапан 36, гидролинию 37 с гидролиниями 16,17, а через гидролинии 34, 38, обратный клапан 39, гидролинию 40 с гидролиниями 21, 22. Выход из клапана ИЛИ 29 также соединен через гидролинии 31, 41, 42, двухпозиционный кран 43 с гидравлическим управлением, гидролинию 44 с гидроцилиндром тормоза 45 гидромотора 19. Двухпозиционный кран 43 с гидравлическим управлением через гидролинии 46, 47 соединен с баком 9. Кроме того, выход из клапана ИЛИ 29 соединен через гидролинии 31, 41, 48 с клапаном 49 плавного пуска, который соединен через гидролинии 50, 47 с баком 9.

[25]

Клапан 49 плавного пуска содержит корпус 51, в котором расположен золотник 52, имеющий две щели 53 переменной площади, осевое продольное отверстие 54, два отверстия 55, перпендикулярных оси золотника 52, канавку 56 в верхнем торце золотника 52, проточку 57 с внешней поверхности золотника 52 после щелей 53, отверстие 58 в нижнем торце золотника 52. В корпусе 51 со стороны верхнего торца установлены поршень 59, взаимодействующий с золотником 52, опора 60, взаимодействующая с поршнем 59, гайка 61, в которую ввернут винт 62. В корпусе 51 выполнено отверстие 63, расположенное между поршнем 59 и опорой 60, отверстие 64 и проточка 65, расположенные в зоне щелей 53, соединены через гидролинию 66 с гидролинией 48. В корпусе 51 со стороны нижнего торца установлена гайка 67, в которую ввернут винт 68, взаимодействующий с опорой 69, расположенной в гайке 67. В нижнее торцевое отверстие 58 золотника 52 вставлена опора 70 с осевым продольным отверстием 71. Между опорами 69 и 70 установлена пружина 72, которой подпружинены также золотник 52 и поршень 59. В корпусе 51 в районе пружины 72 выполнено отверстие 73, с которым соединена гидролиния 50. В корпусе 51 между поршнем 59 и золотником 52 образована полость 74. Гидролинии 48, 66 через гидролинию 75 соединены с односторонним дросселем 76, который через гидролинию 77 соединен с отверстием 63. В корпусе 51 со стороны верхнего торца между поршнем 59 и опорой 60 образована управляющая полость 78. Корпус насоса через гидролинии 79, 46, 47 соединен с баком 9.

[26]

Гидропривод механизма поворота платформы стрелового самоходного крана работает следующим образом.

[27]

При отсутствии электропитания на электромагнитах трехпозиционного крана 4 с электромагнитным управлением и включенном электроприводе насоса 1 рабочая жидкость будет поступать через напорные гидролинии 2, 3 к трехпозиционному крану 4, а по гидролиниям 2, 10 - к предохранительному клапану 11, который обеспечивает защиту гидропривода от избыточного давления, а из него - по гидролиниям слива 12, 6 через фильтр 7, гидролиниию 8 в бак 9, при этом трехпозиционный кран 4 с электромагнитным управлением находится в нейтральном положениии, вход закрыт, а выходы соединены через гидролинии 5, 6, фильтр 7, гидролинию 8 с баком 9.

[28]

При подаче электропитания на левый электромагнит трехпозиционного крана 4 с электромагнитным управлением рабочая жидкость под давлением по гидролиниям 13, 14 через односторонний гидрозамок 15, гидролинии 16, 17, 18 поступает к гидромотору 19. Одновременно из гидролинии 17 рабочая жидкость под давлением по гидролинии 28 поступает к клапану ИЛИ 29, из которого по гидролиниям 31, 41. 42 - к двухпозиционному крану с гидравлическим управлением 43, а по гидролиниям 31, 41, 48 - к клапану плавного пуска 49 и по гидролиниям 31, 32 к предохранительному клапану 33.

[29]

В момент поступления рабочая жидкость под давлением проходит в клапан плавного пуска 49 по гидролинии 66 через отверстие 64, проточку 65 в две открытые щели переменного сечения 53, проточку 57, два отверстия 55, осевые продольные отверстия 54, 71, отверстие 73, гидролинии 50, 47 в бак 9. Одновременно рабочая жидкость по гидролинии 75 поступает через односторонний дроссель 76, гидролинию 77, отверстие 63 между опорой 60 и поршнем 59 в управляющую полость 78. При этом золотник 52 настроен с помощью винтов 62, 68 так, чтобы при номинальном расходе рабочей жидкости насоса 1 щели 53 золотника 52 создавали перепад давления на них 1,0…1,5 МПа. Рабочая жидкость под этим давлением через гидролинии 31, 41, 42 поступает к двухпозиционному крану с гидравлическим управлением 43, который переключается в левое положение и подает через гидролинию 44 рабочую жидкость в гидроцилиндр тормоза 45, который растормаживает гидромотор 19. При этом из гидромотора 19 рабочая жидкость через гидролинии 20, 21, 22, односторонний гидрозамок 23, гидролинии 24, 25, трехпозиционный кран 4 с электромагнитным управлением, гидролинии 5, 6, фильтр 7, гидролинию 8 может поступать в бак 9. Однако в начальный момент расход рабочей жидкости насоса 1 делится на два потока: минимальный расход может идти через гидромотор 19, а максимальный расход через клапан плавного пуска 49. Начало вращения гидромотора 19 произойдет, когда момент, развиваемый гидромотором 19, зависящий от давления рабочей жидкости, превысит момент нагрузки. Поэтому в начальный момент весь расход рабочей жидкости насоса 1 пойдет через клапан плавного пуска 49. Затем рабочая жидкость пройдет через односторонний дроссель 76, гидролинию 77, отверстие 63, в управляющую полость 78 между опорой 60 и поршнем 59. Поршень 59 под действием давления рабочей жидкости начнет перемещаться вниз, преодолевая трение золотника 52 в корпусе 51 и сопротивление пружины 72, а рабочая жидкость из полости 74 будет сливаться через отверстия 54, 71, 73, гидролинии 50, 47 в бак 9. Золотник 52, перемещаясь вниз, уменьшает площади сечения щелей 53, что вызывает увеличение гидравлического сопротивления и величины давления рабочей жидкости. При достижении давления рабочей жидкости, которое позволит преодолеть момент сопротивления нагрузки, гидромотор 19 начнет вращаться и расход рабочей жидкости, идущий через гидромотор 19, будет увеличиваться, а расход рабочей жидкости через клапан плавного пуска 49 будет уменьшаться за счет того, что золотник 52, перемещаясь вниз, перекрывает щели 53. Это позволит обеспечить плавный пуск механизма поворота, а расход рабочей жидкости через клапан плавного пуска 49 будет минимальным. Наличие плавного пуска гидромотора 19 позволяет увеличить время выхода привода механизма поворота с большой массой на номинальную скорость поворота с небольшим ускорением, что устраняет раскачку груза при пуске.

[30]

При выключении электропитания левого электромагнита трехпозиционного крана 4 с электромагнитным управлением перебрасывается в среднее положение и весь расход рабочей жидкости насоса 1 под давлением по гидролиниям 2, 10 сбрасывается через предохранительный клапан 11, а из него по гидролиниям слива 12, 6, фильтр 7, гидролинию 8 - в бак 9. Давление рабочей жидкости в гидролиниях 13, 14, 26 становится равным сливному, что приводит к закрытию одностороннего гидрозамка 23. В этот момент инерционная сила груза создает вращательный момент на гидромоторе 19 и он переходит в режим насоса, создавая давление рабочей жидкости в гидролиниях 20, 21, 22, 30, и рабочая жидкость поступает через клапан ИЛИ 29, через гидролинии 31, 32 к сбрасывающему давление рабочей жидкости до величины его настройки предохранительному клапану 33, через гидролинии 34, 35, обратный клапан 36, гидролинии 17, 18 к гидромотору 19. Гидромотор 19 уменьшает частоту вращения и останавливается. Торможение гидромотора 19 с уменьшением давления рабочей жидкости в гидролиниях 31, 41, 42, 48, 66 происходит за счет утечек рабочей жидкости из корпуса гидромотора 19 по гидролиниям 79, 47 в бак 9. Двухпозиционный кран с гидравлическим управлением 43 перебрасывается в правое положение. Рабочая жидкость из гидроцилиндра тормоза 45 через гидрлинию 44, двухпозиционный кран с гидравлическим управлением 43, гидролинии 46, 47 поступает в бак 9. Гидроцилиндр тормоза 45 затормаживает гидромотор 19. Золотник 52 и поршень 59 клапана плавного пуска 49 под действием пружины 72 перемещаются вверх, в результате чего открываются щели 53 и рабочая жидкость из управляющей полости 78 вытесняется через отверстие 63, гидролинию 77, обратный клапан одностороннего дросселя 76, гидролинии 75, 66, отверстие 64, щели 53, проточку 57, отверстия 55, осевые отверстия 54, 71, отверстие 73, гидролинии 50,47 в бак 9. Клапан плавного пуска 49 приходит в исходное положение с открытыми щелями 53 и гидропривод механизма поворота платформы стрелового самоходного крана готов к новому пуску.

[31]

При подаче электропитания на правый электромагнит трехпозиционного крана 4 с электромагнитным управлением рабочая жидкость под давлением по гидролиниям 25, 24 через односторонний гидрозамок 23, гидролинии 22, 21, 20 поступает к гидромотору 19. Одновременно из гидролинии 21 рабочая жидкость под давлением по гидролинии 30 поступает к клапану ИЛИ 29, из которого по гидролиниям 31, 41, 42 - к двухпозиционному крану с гидравлическим управлением 43, а по гидролиниям 31, 41, 48, 66 - к клапану плавного пуска. В момент поступления рабочая жидкость под давлением проходит в клапан плавного пуска 49 по гидролинии 66 через отверстие 64, проточку 65 в две щели 53 переменного сечения, которые открыты, проточку 57, два отверстия 55, осевые продольные отверстия 54, 71, отверстие 72, гидролинии 50, 47 в бак 9. Одновременно рабочая жидкость по гидролинии 75 через односторонний дроссель 76, гидролинию 77, отверстие 63 поступает в управляющую полость 78. При этом золотник 52 настроен с помощью винтов 62, 68 так, чтобы при номинальном расходе рабочей жидкости насоса 1 щели 53 золотника 52 создавали перепад давления на них 1,0…1,5 МПа. Рабочая жидкость под этим давлением через гидролинии 42, 17 поступает к двухпозиционному крану с гидравлическим управлением 43, который переключается в левое положение и подает через гидролинию 44 рабочую жидкость в тормоз 45, который растормаживает гидромотор 19.

[32]

При этом из гидромотора 19 рабочая жидкость через гидролинии 18, 17,16, односторонний гидрозамок 15, гидролинии 14, 13, трехпозиционный кран с электромагнитным управлением 4, гидролинии 5, 6, фильтр 7, гидролинию 8 может поступать в бак 9. Однако в начальный момент расход рабочей жидкости насоса 1 делится на два потока: минимальный расход может идти через гидромотор 19, а максимальный расход через клапан плавного пуска 49. Начало вращения гидромотора 19 произойдет, когда момент, развиваемый гидромотором 19, зависящий от давления рабочей жидкости, превысит момент нагрузки. Поэтому в начальный момент весь расход рабочей жидкости насоса 1 пойдет через клапан плавного пуска 49. Затем рабочая жидкость пройдет через односторонний дроссель 76, гидролинию 77, отверстие 63, управляющую полость 78 между опорой 60 и поршнем 59, который под действием давления рабочей жидкости начнет перемещаться вниз, преодолевая трение золотника 52 в корпусе 51 и сопротивление пружины 72, а рабочая жидкость из полости 74 будет сливаться через отверстия 54, 71, 73, гидролинии 50, 47 в бак 9. Золотник 52, перемещаясь вниз, уменьшает площади сечения щелей 53, что вызывает увеличение гидравлического сопротивления и величины давления рабочей жидкости. При достижении давления рабочей жидкости, которое позволит преодолеть момент сопротивления нагрузки, гидромотор 19 начнет вращаться в другую сторону и расход рабочей жидкости, идущий через гидромотор 19, будет увеличиваться, а расход рабочей жидкости через клапан плавного пуска 49 будет уменьшаться. Это позволит обеспечить плавный пуск механизма поворота, а расход рабочей жидкости через клапан плавного пуска 49 будет минимальным. При выключении электропитания правого электромагнита трехпозиционного крана 4 с электромагнитным управлением он перебрасывается в среднее положение и весь расход рабочей жидкости насоса 1 под давлением по гидролиниям 2, 10 сбрасывается через предохранительный клапан 11, а из него по гидролиниям слива 12, 6, через фильтр 7, гидролинию 8 в бак 9. Давление рабочей жидкости в гидролиниях 25, 26, 27 становится равным сливному, что приводит к закрытию одностороннего гидрозамка 15. В этот момент инерционная сила груза создает вращающий момент на гидромоторе 19, он переходит в режим насоса, создавая давление рабочей жидкости в гидролиниях 18, 17, 16, 28, и рабочая жидкость через клапан ИЛИ 29, поступает через гидролинии 31, 32 к сбрасывающему давление рабочей жидкости до величины его настройки предохранительному клапану 33, через гидролинии 34, 38, обратный клапан 39, гидролинии 40, 22, 21, 20 к гидромотору 19. Гидромотор 19 уменьшает частоту вращения, происходит торможение гидромотора 19 с уменьшением давления рабочей жидкости в гидролиниях 31, 41, 42, 48, 66 за счет утечек рабочей жидкости из корпуса гидромотора 19 по гидролиниям 79, 47 в бак 9. Двухпозиционный кран с гидравлическим управлением 43 перебрасывается в правое положение. Давление рабочей жидкости из гидроцилиндра тормоза 45 через гидрлинию 44, двухпозиционный кран с гидравлическим управлением 43, гидролинии 46, 47 поступает в бак 9. Гидроцилиндр тормоза 45 затормаживает гидромотор 19. Золотник 52 и поршень 59 клапана плавного пуска 49 под действием пружины 72 перемещаются вверх, открываются щели 53 и рабочая жидкость из управляющей полости 78 вытесняется через отверстие 63, гидролинию 77, обратный клапан одностороннего дросселя 76, гидролинии 75, 66, отверстие 64, щели 53, проточку 57, отверстия 55, осевые отверстия 54, 71, отверстие 73, гидролинии 50, 47 в бак 9. Клапан плавного пуска 49 приходит в исходное положение с открытыми щелями 53. Таким образом, гидропривод механизма поворота платформы стрелового самоходного крана готов к новому пуску.

[33]

При отсутствии электропитания на трехпозиционном кране 4 с электромагнитным управлением и включенном электроприводе насоса 1 гидроцилиндр тормоза 45 удерживает гидромотор 19 в заторможенном состоянии при наличии ветровой нагрузки и уклоне.

Как компенсировать расходы
на инновационную разработку
Похожие патенты