патент
№ RU 2670402
МПК F41G3/26

СПОСОБ ОПРЕДЕЛЕНИЯ СТЕПЕНИ ПОРАЖЕНИЯ ПРИ ИМИТАЦИИ СТРЕЛЬБЫ С ПОМОЩЬЮ ЛАЗЕРНОГО ИМИТАТОРА СТРЕЛЬБЫ

Авторы:
Лукошков Алексей Альбертович Пустовой Виктор Иванович Фролов Денис Владимирович
Все (4)
Номер заявки
2018118784
Дата подачи заявки
22.05.2018
Опубликовано
22.10.2018
Страна
RU
Как управлять
интеллектуальной собственностью
Чертежи 
2
Реферат

Изобретение относится к области имитации поражения при обучении стрельбе и тренировке в условиях двустороннего воздействия. Имитацию стрельбы осуществляют лазерным имитатором стрельбы - ЛИС, установленным на оружии участника обучения при дополнительной инициации выстрела холостым патроном. На участнике размещены инфракрасные датчики попадания и блок электроники, обеспечивающий обмен информации между элементами ЛИС и центром управления обучением - ЦУО. При попадании луча лазера на инфракрасные датчики противника происходит преобразование сигнала в цифровой вид и передача его в блок электроники противника с добавлением номеров датчиков, которые зафиксировали это попадание. Программный блок электроники на основании информации об уникальном номере стреляющего, типе оружия, дальности стрельбы, точке попадания и степени защищенности точки попадания (прикрыта эта точка попадания каской или бронежилетом или нет) производит расчет степени поражения по представленному алгоритму и таблице возможных состояний. Обеспечивается повышение достоверности определения степени поражения от средств имитации стрельбы при обучении в условиях двустороннего взаимодействия с учетом наличия у обучаемых индивидуальных средств защиты от стрелкового оружия. 1 з.п. ф-лы, 2 ил.

Формула изобретения

1. Способ определения степени поражения при имитации стрельбы с помощью лазерного имитатора стрельбы, включающий определение степени поражения с помощью алгоритма определения степени поражения и таблицы возможных состояний, учитывающий информацию о точке попадания, дистанции, типе оружия, степени защиты точки попадания, отличающийся тем, что точка попадания лазерного имитатора стрельбы приходится на зоны поражения, в том числе прикрытые средствами индивидуальной защиты от стрелкового оружия.

2. Способ по п. 1, отличающийся тем, что индивидуальные средства защиты от стрелкового оружия представляют собой бронежилет и/или каску различной степени защищенности.

Описание

[1]

Область техники, к которой относится изобретение.

[2]

Изобретение относится к области имитации поражения при обучении стрельбе и тренировке в условиях двустороннего воздействия. Уровень техники.

[3]

Из уровня техники известен аналог «Система лазерного имитатора стрельбы» (патент RU 2347171, 27.05.2008), где в качестве способа определения степени поражения описана мишень, которая содержит несколько приемников сигнала лазерного излучения, расположенных на экипировке в соответствии с зонами поражения, выполненными в виде фотодиодов.

[4]

Степень поражения рассчитывается в блоке отработки сигналов по определенному алгоритму. В зависимости от количества попаданий и зон поражения, степень поражения может индицироваться с помощью блока световой индикации через зажигание светодиодов определенного цвета, соответствующих степени поражения, например:

[5]

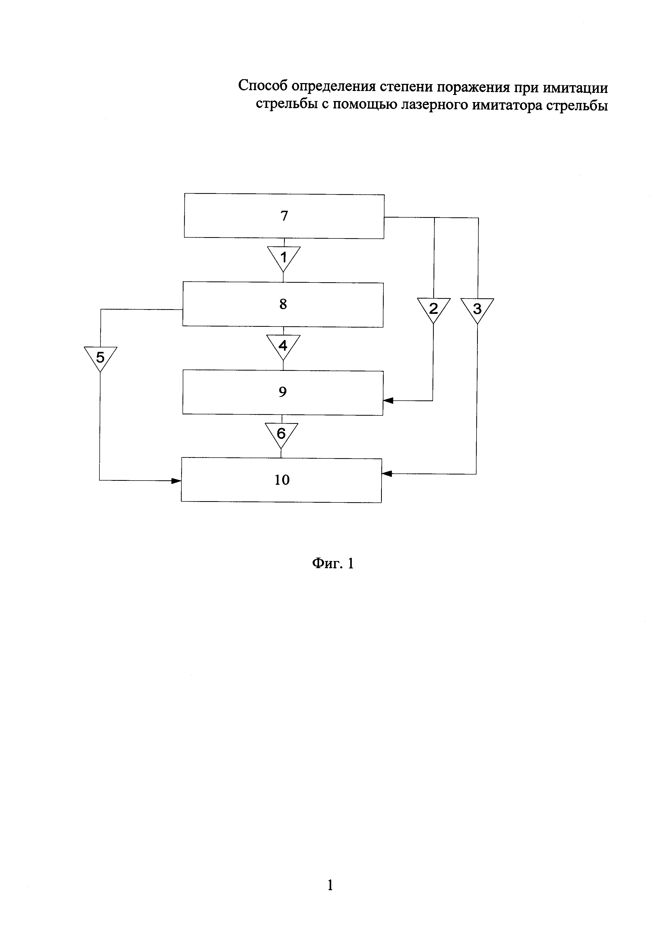
- желтый цвет - легкое ранение;

[6]

- зеленый цвет - ранение средней тяжести;

[7]

- голубой цвет - тяжелое ранение;

[8]

- красный цвет - смертельное ранение.

[9]

Недостатком известного изобретения является низкая достоверность определения степени поражения мишени, из-за отсутствия информации о степени защиты точки попадания, а именно наличия или отсутствия в экипировке индивидуальных средств защиты от стрелкового оружия в виде касок и бронежилетов.

[10]

Наиболее близким аналогом можно считать полезную модель «Устройство для проведения игр, имитирующих стрелковый бой» (патент RU 9400 U1, кл. A63B 71/02, 16.03.1999) включающий определение степени поражения с помощью алгоритма степени поражения, заключающийся в том, что степень поражения определяется с учетом информации о точке попадания, дистанции, типе оружия, степени зашиты точки попадания.

[11]

Степень защиты точки попадания задается в начале игры каждому игроку путем допустимого количества поражений (жизнестойкостью) и возможностью автоматической корректировки указанного параметра в различных ситуациях игры.

[12]

Однако указанные параметры жизнестойкости устанавливаются вручную с контролем по цифроиндикатору динамического блока индикации, после чего ручной ввод пломбируется, и корректируются автоматически в различных ситуациях игры с возможностью периодического контроля игроком этой информации и не зависят от наличия в экипировке игрока-мишени индивидуальных средств защиты, снижая тем самым достоверность определения степени поражения.

[13]

Также у аналога в передаваемом лазерном луче от имитатора оружия к игроку-мишени отсутствует информация об уникальном номере стреляющего, типе оружия из которого был произведен выстрел, дальности стрельбы.

[14]

Кроме того, замена аппаратных логических блоков «И, ИЛИ, НЕ», присутствующих в аналоге, на программные позволяет обеспечить возможность настройки программного обеспечения под экипировку участника учений без его замены. (Участники учений могут быть без индивидуальных средств защиты, только в каске и/или бронежилете).

[15]

Раскрытие изобретения.

[16]

Технический результат заключается в повышении достоверности определения степени поражения при имитации стрельбы с помощью лазерного имитатора с точностью до двух диаметров калибра оружия, при условии наличия у участников обучения индивидуальных средств защиты в виде бронежилетов и касок различной степени защищенности.

[17]

Высокая точность попадания до двух диаметров калибра оружия обусловлена необходимостью определения зоны поражения прикрытой или не прикрытой индивидуальными средствами защиты. Указанная точность и исходные параметры для расчета степени поражения (информация о точке попадания луча лазерного имитатора стрельбы, дистанции, типе оружия, степени защиты точки попадания) позволят достичь необходимой достоверности при расчете степени поражения.

[18]

Технический результат достигается определением степени поражения исходя из нанесенного ущерба на основании информации о точке попадания, дистанции, типе оружия и степени защиты точки попадания, с помощью алгоритма определения степени поражения и таблицы возможных состояний, в том числе информации о том прикрыта ли указанная точка индивидуальными средствами защиты.

[19]

При этом индивидуальные средства защиты от стрелкового оружия могут представлять собой бронежилет и/или каску различной степени защищенности.

[20]

Признаки, используемые для характеристики способов.

[21]

Способ определения степени поражения при имитации стрельбы с помощью лазерного имитатора стрельбы основан на применении информации о точке попадания луча лазерного имитатора стрельбы, дистанции, типе оружия, степени защиты точки попадания для определения нанесенного ущерба и дальнейшего расчета с помощью программного обеспечения, которое на основании набора исходной информации определяет степень поражения путем выбора согласно алгоритму определения степени поражения (Фиг. 1) и в соответствии с таблицей возможных состояний (Фиг. 2).

[22]

Все состояния участника обучения отображаются на специальном дисплее в виде пиктограмм. При тяжелом ранении и смерти происходит отключение лазерного имитатора стрельбы участника обучения и подача звукового сигнала.

[23]

Способ определения степени поражения при имитации стрельбы и поражения с помощью лазерного имитатора стрельбы достигается следующей последовательностью действий:

[24]

- получение информации о точке попадания, дистанции и типе оружия;

[25]

определение степени защищенности точки попадания от воздействующих факторов;

[26]

- определение нанесенного ущерба;

[27]

- определение степени поражения исходя из нанесенного ущерба;

[28]

- визуальную и звуковую индикацию степени поражения в виде набора состояний:

[29]

- боеспособен;

[30]

- легко ранен;

[31]

- тяжело ранен;

[32]

- убит.

[33]

Краткое описание чертежей.

[34]

Фиг. 1 - алгоритм определения степени поражения.

[35]

1, 2, 3, 4, 5, 6 - векторы перехода между состояниями;

[36]

7 - боеспособен;

[37]

8 - легко ранен;

[38]

9 - тяжело ранен;

[39]

10 - убит.

[40]

Фиг. 2 - таблица возможных состояний.

[41]

Осуществление изобретения.

[42]

Способ может быть осуществлен следующим образом.

[43]

Лазерный имитатор стрельбы (ЛИС) (на чертежах не показан) устанавливается на оружии участника обучения. Участник обучения выбирает тип оружия исходя из своей должности (стрелок, пулеметчик и т.п.). Кроме того, на участнике размещены инфракрасные датчики попадания с диаметром приемного окна не более 20 миллиметров (на чертежах не показаны), которые расположены на каске (от 3 до 5 штук), груди (от 1 до 3 штук), спине (от 1 до 3 штук), руках (по 1 штуке) и ногах (по 1 штуке) и блок электроники (на чертежах не показан) обеспечивающий обмен информации между элементами ЛИС и центром управления обучением (ЦУО) (на чертежах не показан). ЛИС имитирует выстрел лучом лазера, работающим на частоте 0,9 мкм и являющимся безопасным для зрения участников учений. Луч лазера при имитации выстрела инициируется при выстреле из оружия холостым патроном. В момент выстрела происходит замер дальности с помощью ЛИС, запрос статуса (жив, убит) в блок электроники и формирование сигнала отправляемого по модулированному лучу лазера в сторону противника (другого участника учений). В сигнале передается информация об уникальном номере стреляющего, типе оружия из которого был произведен выстрел, дальности стрельбы.

[44]

При попадании луча лазера на инфракрасные датчики противника происходит преобразование сигнала в цифровой вид и передача его в блок электроники противника с добавлением номеров датчиков, которые зафиксировали это попадание. Блок электроники на основании информации о типе оружия, дальности стрельбы, точки попадания и степени защищенности точки попадания (прикрыта эта точка попадания каской или бронежилетом или нет) производит расчет степени поражения по представленному алгоритму (фиг. 1 и фиг. 2). После расчета степени поражения в зависимости от изменения статуса участника обучения (жив, легко ранен, тяжело ранен, убит) возможны несколько вариантов событий:

[45]

1. если тяжело ранен или убит, то выдается звуковая сигнализация и происходит отключение лазерного имитатора стрельбы на оружии участника, на информационном дисплее отображается статус участника (тяжело ранен, убит);

[46]

2. если легко ранен, то выдается звуковая сигнализация и на информационном дисплее отображается статус участника (легко ранен).

[47]

Приведем пример расчета степени поражения с использованием алгоритма (фиг. 1 и фиг. 2).

[48]

Участник, вооруженный ЛИС установленным на автомате Калашникова, например АК-74, производит выстрел по условному противнику с определенной дистанции, например 400 метров. В момент имитации выстрела лазерный луч с модулированным сигналом, содержащим информацию об уникальном номере стреляющего, типе оружия (АК-74) и дальности стрельбы (400 метров) попадает, к примеру, на инфракрасный датчик противника расположенный на левой части груди. Определяется, что эта часть прикрыта бронежилетом. В дальнейшем по таблице (фиг. 2) определяется вектор расчета степени поражения. В нашем случае программа расчета степени поражения выбирает из таблицы состояние соответствующее данному набору входящей информации (тип оружия - АК-74, дистанция - 400 метров, точка попадания с учетом степени защиты - попадание в пластину бронежилета). Данному набору входящей информации соответствует вектор 1, который согласно фиг. 1 определяет степень поражения как «легко ранен». Электронный блок издает сигнал о получении поражения участником и на дисплей участника выводится информация о степени поражения.

[49]

Описанный способ определения степени поражения может быть применен в системах имитации боевой реальности при обучении стрельбе в условиях двустороннего взаимодействия с учетом наличия у обучаемых индивидуальных средств защиты от стрелкового оружия. Кроме того данный способ может быть реализован для определения степени поражения бронированной техники и обучаемых, расположенных в ней. Это позволяет проводить занятия по боевой подготовке сухопутных войск в условиях, максимально приближенных к боевым.

Как компенсировать расходы
на инновационную разработку
Похожие патенты