патент
№ RU 2680652
МПК G09B29/00

СПОСОБ КОМПЛЕКСНОГО МОНИТОРИНГА ПРИРОДНОЙ СРЕДЫ

Авторы:
Лепехин Павел Павлович Шаповалов Дмитрий Анатольевич Родионова Ольга Михайловна
Все (5)
Номер заявки
2017116218
Дата подачи заявки
11.05.2017
Опубликовано
25.02.2019
Страна
RU
Как управлять
интеллектуальной собственностью
Чертежи 
1
Реферат

Изобретение относится к области охраны окружающей среды, в частности для мониторинга использования и экологического состояния природной, а также техногенной сред: атмосферы, воды, недр, почв, биоресурсов, техногенных объектов, пересечений линейными объектами (нефтегазопроводами) водных преград: рек, водохранилищ, озер, болот и других, суши с целью получения общей картины состояния контролируемой территории, раннего обнаружения и установления местоположения отклонений от существующих требований. Сущность предлагаемого изобретения заключается в том, что в отличие от приведенных прототипов предлагается новое технологическое решение, направленное на автоматизацию и автономность системы комплексного мониторинга природной среды. Целью изобретения является создание комплекса взаимообусловленных и взаимосвязанных мониторингов экологического состояния и использования природных территорий. Задача изобретения - проведение анализа и контроля за состоянием природной и техногенной сред для площадных и линейных объектов, расположенных на суше, под водой и на водной поверхности, посредством объединения информационных потоков в едином Центре комплексного мониторинга природной среды (ЦКМПС), функционирующего на основе использования современных методов дистанционного зондирования при использовании геопорталов и порталов метаданных. Для решения поставленной задачи разработан новый способ комплексного мониторинга природной среды (КМПС), отличающийся от прототипов тем, что при его применении однотипные циклы КМПС осуществляются не реже одного раза в пять лет на основе статистического анализа потоков комплексной информации, выявления наиболее информативных показателей наблюдений с целью актуализации, кластеризации в границах установленных территорий ПС и разработки программ КМПС, базирующегося на дистанционных методах и получении информации в режиме on-line. 2 н.п. ф-лы, 1 ил.

Формула изобретения

1. Способ комплексного мониторинга природной среды (КМПС), заключающийся в создании автоматизированной системы комплексного экологического мониторинга природной среды, в которой до начала проведения обследований вводят в базу знаний единого информационного Центра КМПС программный комплекс анализа, обработки, управления и средств, параметры значений границ интервалов допустимых показателей состояния исследуемого объекта, правила их оценки и соответствия или несоответствия установленным нормам, затем вводят информативные показатели наблюдений исследуемого объекта на основе статистического анализа потоков комплексной информации, базирующегося на дистанционных методах получения информации в режиме on-line, природных объектов (ПО) - земельных участков (ЗУ), разделяемых по видам функционального использования с учетом конкретных природных условий, рельефа местности с применением данных геопортала и портала метаданных, контрольно-измерительных стационарных и мобильных контрольных пунктов (СМКП) по доминирующим основным факторам антропогенного воздействия (ФАВ), проводят съемку фактической территории природного техногенного объекта двумя методами дистанционного зондирования в соответствии с требованиями СНиП: 1) космическую, 2) аэросъемку с использованием современных беспилотных летательных аппаратов в видимом диапазоне электромагнитного излучения (ЭИ) или дополнительную (например, параллельную) в невидимом инфракрасном диапазоне ЭИ (например, георадаром «Зонд-10»), определяют по разному фототону места утечек углеводородного топлива из подземных трубопроводов и емкостей хранения, определяют границы их подземных накоплений и территорий, подверженных загрязнению, заболачиванию, засолению, определяют отсутствующую, но необходимую для углубленной оценки в требуемый момент реального времени совокупность процедур состояния комплексной системы, формируют в программном комплексе обработки и управления задание каждому средству мониторинга на контроль состояния системы или ее элементов, на изменение содержания базы знаний и порядка использования процедур интеллектуальной обработки измеренных значений, на изменение пространственно-временных характеристик состояния средства в процессе осуществления мониторинга, создают в полярной системе координат графический образ состояния системы и текстовую часть, которые включают в содержание результатов по видам мониторинга, осуществленных на каждом средстве, формируют в заданной форме результаты по осуществленным ими видам контроля, передают их в центр обработки и АСУ, где совмещают их графические и текстовые части для одновременного представления результатов оценки экологической обстановки комплексного мониторинга природной среды.

2. Способ комплексного мониторинга ПС, отличающийся тем, что в созданной автоматизированной системе комплексного экологического мониторинга природной среды находится блок актуализированных цифровых карт территории обследования, изготавливаемых тематическими по видам использования, например, географические (размещение, состояние, связи имеющихся природных и общественных явлений), экологические (загрязнение, зараженность, радиоактивность, подверженность опасным природным и природно-техногенным процессам: селям, оползням, снежным лавинам, обвалам, землетрясениям, цунами и т.д.) и другие, а также картосхемы (в т.ч. трехмерные модели местности), картограммы, показывающие требуемые тематические характеристики факторов антропогенного воздействия (ФАВ), полученных по данным аэрокосмических и наземных съемок.

3. Способ комплексного мониторинга ПС, отличающийся тем, что может проводиться как на территориях суши, так и на территориях водных акваторий.

Описание

[1]

Изобретение относится к области охраны окружающей среды, в частности, для мониторинга использования и экологического состояния природной, а также техногенной сред: атмосферы, воды, недр, почв, биоресурсов, техногенных объектов, пересечений линейными объектами (нефтегазопроводами) водных преград: рек, водохранилищ, озер, болот и других, суши с целью получения общей картины состояния контролируемой территории, раннего обнаружения и установления местоположения отклонений от существующих требований.

[2]

Известны два прототипа предлагаемого способа «Автоматизированная система аварийного и экологического мониторинга окружающей природной среды региона» [1, 2], которые включают стационарные (СКП) и мобильные (МКП) контрольные посты, прямые и обратные связи, центральный контрольный пульт (ЦКП).

[3]

Известна система радиационного мониторинга окружающей среды, включающая СКП с детекторами, ЦКП и прямую связь между ними [3].

[4]

Известна автоматизированная система аварийного и экологического мониторинга окружающей среды региона, включающая СКП с детекторами измерения параметров и характеристик окружающей среды, ЦКП с блоком сравнения и управления, приемопередатчиком прямой и обратной связи контрольных постов с ЦКП [4].

[5]

Известен способ мониторинга загрязнения атмосферного воздуха, изложенный в рекомендациях по организации и функционированию систем специальных наблюдений Росгидромета Р 52.24.581-97 [5].

[6]

Известен способ мониторинга атмосферы и контроля источников загрязнения и система для его реализации, опубликованная в Интернете [6].

[7]

Основными недостатками вышеуказанных способов являются:

[8]

1) извлечение части информации, формирующейся для конкретной природной среды (ПС), определяемой по ландшафтным и/или физико-географическим характеристикам СОБ без учета антропогенного объекта, что приводит к получению фрагментарности информации и не обеспечивает полной информационной характеристикой объекта исследования как природно-техногенной системы (ПТС);

[9]

2) ограниченный объем получаемой информации, зависимость базы данных от базового компьютера, невозможность организации круглосуточного наблюдения за состоянием параметров окружающей ПС;

[10]

3) отсутствие МКП ограничивает маневренность системы, не позволяет оперативно определять местоположение возникших в результате аварии экологически опасных источников и осуществлять вблизи них мониторинг, а также обеспечивать оперативную замену неисправных СКП;

[11]

4) отсутствие в СКП и МКП предварительной обработки поступающей с детекторов информации не позволяет оперативно оценивать экологическую обстановку и переходить на соответствующий режим работы, не предоставляет возможность уменьшать загрузку канала связи за счет сокращения избыточности передаваемой информации, а также оперативно оповещать о возникновении предаварийной ситуации;

[12]

5) невозможность обнаружения и устранения ошибок в информации и командах управления, передаваемых по каналу связи;

[13]

6) отсутствие защиты от несанкционированного доступа, например террористов и хакеров.

[14]

Сущность предлагаемого изобретения заключается в том, что в отличие от приведенных прототипов предлагается новое технологическое решение, направленное на автоматизацию и автономность системы комплексного мониторинга природной среды.

[15]

Цель изобретения - создание комплекса взаимообусловленных и взаимосвязанных мониторингов экологического состояния и использования ПС.

[16]

Задача изобретения - проведение анализа и контроля за состоянием природной и техногенной сред для площадных и линейных объектов, расположенных на суше, под водой и на водной поверхности, посредством объединения информационных потоков в едином Центре комплексного мониторинга природной среды (ЦКМПС), функционирующего на основе использования современных методов дистанционного зондирования при использовании геопорталов и порталов метаданных.

[17]

Для решения поставленной задачи разработан новый способ комплексного мониторинга природной среды (КМПС), отличающийся от прототипов тем, что при его применении однотипные циклы КМПС осуществляются не реже одного раза в пять лет на основе статистического анализа потоков комплексной информации, выявления наиболее информативных показателей наблюдений с целью актуализации, кластеризации в границах установленных территорий ПС и разработки программ КМПС, базирующегося на дистанционных методах и получении информации в режиме on-line.

[18]

В КМПС выявляют отличия состояния природных объектов (ПО) ПС от проведенного последнего однотипного цикла мониторинга: исследуемую ПС объектов мониторинга или земельные участки (ЗУ), представленные частью земной поверхности, характеризующейся пространством, рельефом, климатом, почвами, растительностью, недрами, водами, являющейся местом расселения, главным средством производства в сельском и лесном хозяйстве, а также пространственным базисом для размещения объектов недвижимости, включая предприятия и комплексы хозяйств, а также зоны земель особого использования для проведения полевого обследования, разделяют на зоны ПО ПС по видам функционального использования с учетом конкретных природных условий, рельефа местности с применением данных геопортала и портала метаданных, контрольно-измерительных стационарных и мобильных контрольных пунктов (СМКП) по доминирующим основным факторам антропогенного воздействия (ФАВ), проводят съемку территории природного техногенного объекта в масштабе от 1:500 до 1:50000, а картографические материалы территорий по этой фотосъемке выполняют в масштабе от 1:500 до 1:10000 двумя методами дистанционного зондирования в соответствии с требованиями СНиП: 1) космическую, 2) аэросъемку с использованием современных беспилотных летательных аппаратов в видимом диапазоне электромагнитного излучения (ЭИ) или дополнительную (например, параллельную) в невидимом инфракрасном диапазоне ЭИ (например, георадаром «Зонд-10»), определяют по разному фототону места утечек углеводородного топлива из подземных трубопроводов и емкостей хранения, границы их подземных накоплений и территорий, подверженных загрязнению, заболачиванию, засолению, подтоплению, деградации, пожарам, проводят оценку изменения пойм рек, водоемов, болотных массивов и других видов состояния ПС, отображают их пространственно-временную динамику изменения границ и характеристик природных и техногенных объектов, обнаруженную в результате проведенного анализа сравнения материалов последнего и предыдущего однотипных циклов КМПС, условными топографическими знаками соответствующими цветами на актуализированных картах территории обследования ПС, изготавливаемых тематическими по видам использования, например, географические (размещение, состояние, связи имеющихся природных и общественных явлений), экологические (загрязнение, зараженность, радиоактивность, подверженность опасным природным и природно-техногенным процессам: селям, оползням, снежным лавинам, обвалам, землетрясениям, цунами и т.д.) и другие, а также картосхемы (в т.ч. трехмерные модели местности), картограммы, показывающие требуемые тематические характеристики факторов антропогенного воздействия (ФАВ), полученные результаты заносят в банк данных (БД), в котором формируется информационная база о состоянии территории и ее ПС, затем выявляют причины их изменения, принимают решение о возможности использования видов ПО ПС и необходимости проведения мероприятий по устранению причин изменения их состояния и сроках проведения очередного однотипного цикла КМПС, осуществляют контроль за функционированием техногенных объектов;

[19]

С помощью предлагаемого изобретения решаются следующие задачи:

[20]

- измерение с применением специального оборудования экологически значимых показателей: химических веществ, задымленности, сейсмических, метеорологических и других важных для оценки экологической обстановки;

[21]

- оценка экологической обстановки на основе предварительной обработки в КП результатов измерений и принятие решения об изменении режима работы и передачи информации, в частности автономной работы при потере связи с центральным контрольным пультом;

[22]

- сокращение объема передаваемой информации для уменьшения загрузки канала связи;

[23]

- защита информации и команд управления от несанкционированного входа в систему;

[24]

- определение местоположения экологически опасных источников.

[25]

Для достижения технического результата создается автоматизированная система комплексного экологического мониторинга природной среды, включающая единый информационный Центр комплексного мониторинга природной среды (ЦКМПС), в котором происходит непрерывный сбор данных с СМКП, материалов дистанционного зондирования Земли и их анализ с использованием статистических программных продуктов, определяются с наибольшими значениями факторных нагрузок репрезентативные показатели с рассчитанными индексами деградационной опасности для ПС территорий с определенными показателями индекса техногенного риска (ИТР) влияния техногенных объектов (ТО) на состояние ПС на окружающей их территории, то есть происходит формирование единой базы с привязкой к реальному времени всех измеряемых параметров, а также обеспечивается различный уровень доступа в зависимости от возможностей абонента, при котором передача данных осуществляется проводным или беспроводным способом в зависимости от удаленности и конструктивно-обоснованного выбора связи объекта с помощью автоматизированной системы управления (АСУ), включающей программно-вычислительные средства и средства построения актуализированных карт территорий исследования состояния ПТС, установленные в ЦКМПС, содержащем в аппаратной части размещенное в едином корпусе следующее техническое оборудование: центральный контрольный пульт, связанный с блоками управления и приемопередатчики прямой и обратной связи, включающими блок определения местоположения, данные измерений параметров и характеристики окружающей среды с датчиков СКП и МКП, передающиеся в блоки предварительной обработки информации, которая передаваемой по командам блоков управления в блоки шифрования, затем через приемопередатчики прямой и обратной связи поступающей на центральный контрольный пульт (в блок управления КП), промышленный компьютер, устройство защиты от перенапряжений и аналого-цифровой преобразователь, положительный эффект которой проявляется в трех сферах:

[26]

1. Экономическая: сокращение финансовых затрат в связи с создание на 5 лет вперед прогноза состояния ПС исследуемой территории посредством разработанного коэффициента фактического изменения с помощью получения изображения карты для принятия и ускорения своевременных управленческих решений по предотвращению негативных явлений и их катастрофических последствий, проведении работ по рекультивации, консервации и других защитных мероприятий; снижение трудозатрат в промышленных масштабах;

[27]

2. Экологическая: формирование единой базы данных о состоянии природных сред в реальном времени и создание изображения-карты на запрашиваемую территорию с учетом уровня доступа; снижение заболеваемости людей, животных и растений путем предупреждения чрезвычайных ситуаций при проведении своевременной оценки экологической обстановки ПС;

[28]

3. Социальная: улучшение условий производства и жизнедеятельности населения; способствование устойчивому развитию городских и сельских территорий; сохранение трудовых ресурсов и территориальной целостности страны; создание новых рабочих мест; увеличение продолжительности жизни за счет улучшения здоровья населения.

[29]

Программное обеспечение состоит из стандартного лицензионного и специального, которое формирует базу актуализированных данных и отслеживает достоверность информации

[30]

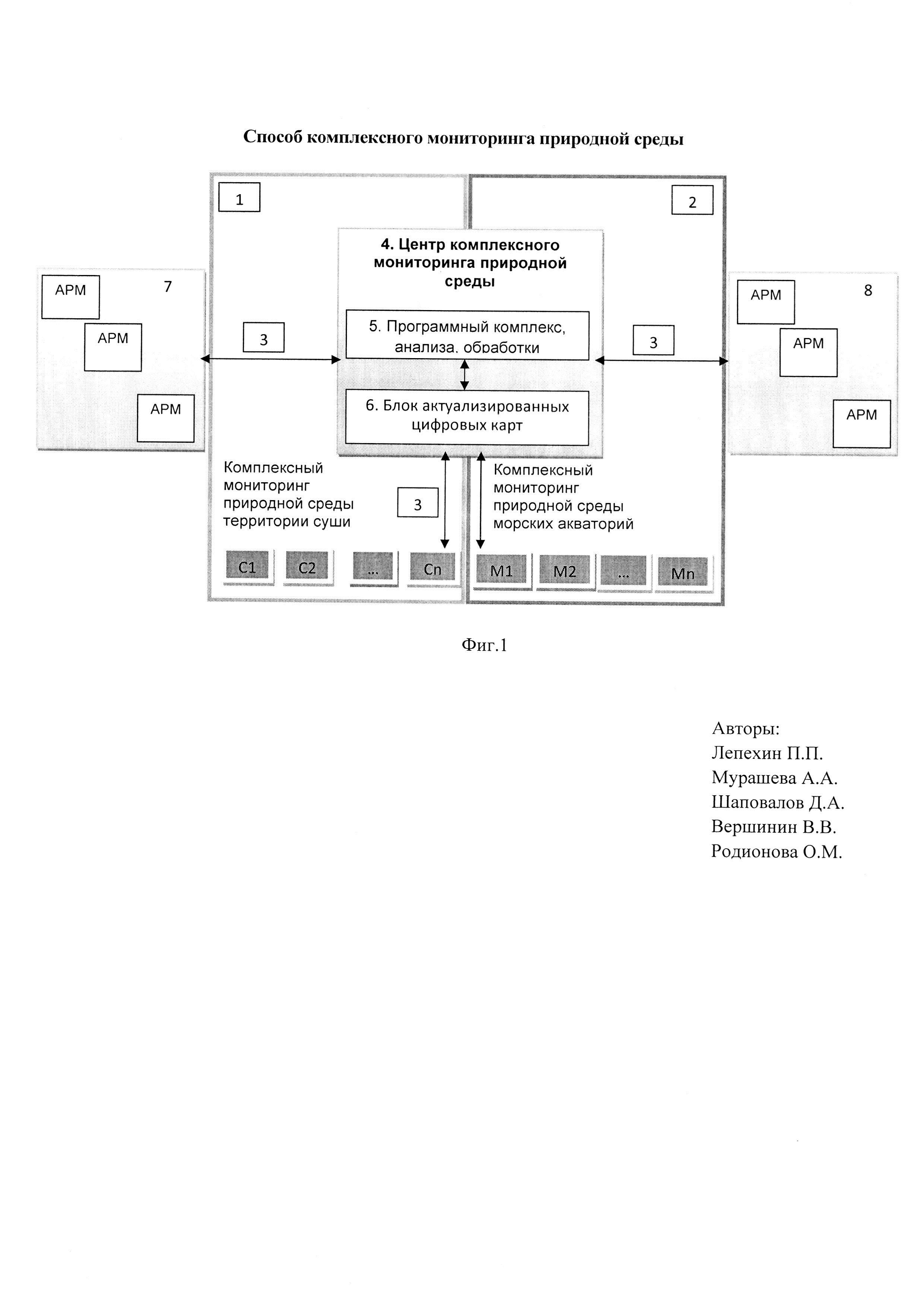
На фигуре 1 представлена условная схема способа КМПС, где 1 -территория суши и контрольных постов КМПС (С1.); 2 - территория морских акваторий и контрольных постов КМПС на море (M1.); 3 - прямая и обратная связь; 4 - ЦКМПС; 5 - программный комплекс анализа, обработки; 6 - блок актуализированных цифровых карт, полученных по данным аэрокосмических и наземных съемок; 7 и 8 - АРМ1 - автоматизированные рабочие места пользователей, имеющих различный уровень доступа к базе данных актуализированных цифровых карт в ЦКМПС, в блоке программного комплекса которого на основе большого количества данных получают наиболее важные информативные показатели для конкретной исследуемой территории по выбранному числу характеризующих ее факторов.

[31]

Введение в систему дополнительных мобильных КП с блоками определения их местоположения, предварительной обработки информации, шифрования позволяет:

[32]

1) повышать маневренность системы;

[33]

2) определять местоположение экологически опасных источников;

[34]

3) осуществлять вблизи экологически опасных источников комплексный мониторинг;

[35]

4) обеспечивать оперативную замену неисправных СКП;

[36]

5) проводить оперативную оценку экологической обстановки при авариях для оперативного оповещения об опасности сокращения загрузки канала связи;

[37]

6) проводить обнаружение и устранение ошибок передаваемой информации и командах управления, а также защиту системы от несанкционированного доступа;

[38]

7) при нарушении связи с ЦКП перейти в автономный режим работы по внутренней программе, заложенной в блоки управления;

[39]

8) введение в систему блока шифрования, в частности криптографического позволяет защитить ее от несанкционированного доступа террористов и хакеров.

[40]

Источники информации

[41]

1. Патент RU №2257598, 27.07.2005 г.

[42]

2. Патент RU №2210095, 10.08.2003 г.

[43]

3. Михоя Э. и др. Система радиационного мониторинга окружающей среды // Атомная техника за рубежом. М.:, 1998 г., №11, стр. 21-25.

[44]

4. Патент RU №2150126, 27.05.2000 г.

[45]

5. Организация и функционирование системы специальных наблюдений за состоянием природной среды в районах развития угледобывающей промышленности и сопутствующих производств. Рекомендации. М.:, Росгидромет, 1999, стр. 14-15.

[46]

6. Лежнев А.С.Автоматизированная система мониторинга атмосферы и контроля источников загрязнения (АС-МАКИЗ), //www.intellect.csti.ru/objects.asp?num=83-005.

Как компенсировать расходы
на инновационную разработку
Похожие патенты