патент
№ RU 2611697
МПК H01P5/18

НАПРАВЛЕННЫЙ МОСТ

Авторы:
Павлов Сергей Владимирович Янчук Дмитрий Александрович Дроботун Николай Борисович
Все (4)
Номер заявки
2015150112
Дата подачи заявки
23.11.2015
Опубликовано
28.02.2017
Страна
RU
Как управлять
интеллектуальной собственностью
Чертежи 
2
Реферат

Изобретение относится к области техники СВЧ диапазона и может быть использовано для направленного отбора мощности из основного канала во вторичный, а также в составе измерителей комплексных коэффициентов передачи и отражения (векторных анализаторах цепей) для разделения падающих и отраженных волн. Направленный мост выполнен на печатной плате. На печатной плате расположены резисторы и симметрирующий трансформатор. Печатная плата выполнена из трех слоев СВЧ диэлектрика, при этом верхний и нижний слои выполнены из материала Rogers RO4350, средний слой выполнен из материала RO4450. Топология внутреннего и нижнего слоев является прямоугольным полигоном, соединенным с корпусом при помощи сквозных переходных отверстий. На внутреннем слое выполнен центральный проводник коаксиальной линии передачи, соединенный с микрополосковой линией передачи на верхнем слое с помощью глухого переходного отверстия. Техническим результатом является упрощение и удешевление изготовления направленного моста, расширение диапазона рабочих частот, а также уменьшение габаритов и массы. 4 ил.

Формула изобретения

Направленный мост, выполненный на печатной плате с расположенными на ней резисторами и содержащий симметрирующий трансформатор, изготовленный из отрезка коаксиальной линии передачи, отличающийся тем, что печатная плата выполнена из трех слоев СВЧ диэлектрика, при этом верхний и нижний слои выполнены из материала Rogers RO4350, средний слой выполнен из материала RO4450, топология внутреннего и нижнего слоев является прямоугольным полигоном, соединенным с корпусом при помощи сквозных проходных отверстий, при этом на внутреннем слое выполнен центральный проводник коаксиальной линии передачи.

Описание

[1]

Изобретение относится к области техники СВЧ диапазона и может быть использовано для направленного отбора мощности из основного канала во вторичный, а также в составе измерителей комплексных коэффициентов передачи и отражения (векторных анализаторах цепей) для разделения падающих и отраженных волн.

[2]

Уровень техники

[3]

Основными электрическими характеристиками направленного моста являются диапазон рабочих частот, потери в основном канале, выраженные в децибелах (отношение мощностей на входе и выходе моста), переходное ослабление, выраженное в децибелах (отношение мощностей на входе основного канала и выходе вторичного), развязка, выраженная в децибелах (отношение мощностей на входе основного канала и развязанном выходе вторичного).

[4]

Известны направленные мосты с равным делением мощности генератора между испытываемым устройством и выходом измерительного сигнала (Collier, R.J. Microwave Measurements / R.J. Collier, A.D. Skinner. - 3th ed. 2007. - c. 210-211; Bryant, G. H. Principles of Microwave Measurements / G.H. Bryant 1993. - c. 112-116). Или иначе, с равными 6 дБ потерями в основном канале и переходным ослаблением. В основном в таких мостах измерительный сигнал детектируется диодным детектором.

[5]

Недостатком этого технического решения, так же как и других мостов с равным делением мощности и диодным детектированием измерительного сигнала, является потеря информации о его фазе и, как следствие, невозможность их применения в векторных анализаторах цепей.

[6]

Наиболее близким техническим решением является преобразование симметричного измерительного сигнала в несимметричный при помощи симметрирующего трансформатора.

[7]

Такое решение позволяет сохранить информацию о фазе измерительного сигнала и расширить область применения направленного моста. Однако применение симметрирующего трансформатора значительно усложняет разработку и изготовление направленного моста. Это связано с влиянием трансформатора на эталонную нагрузку R3 моста, что является причиной его разбалансировки.

[8]

Наиболее близким по технической сущности к заявленному объекту является направленный мост (заявка US 20070252660, МПК Н01Р 5/18, опубл. 01.11.2007), который выполнен на одной диэлектрической подложке и содержит симметрирующий трансформатор, изготовленный из отрезка коаксиального кабеля, на внешний проводник которого надеты ферритовые кольца.

[9]

Недостатком этого устройства является большая сложность при изготовлении и настройке по сравнению с направленным мостом с равным делением мощности и диодным детектированием измерительного сигнала.

[10]

Основной сложностью при изготовлении направленного моста прототипа является монтаж коаксиального кабеля, который требует обеспечения определенной длины кабеля с высокой точностью, а также наличия специальной оснастки для его зачистки.

[11]

Сущность изобретения

[12]

Техническая задача, на достижение которой направлено предлагаемое решение, - упрощение и удешевление изготовления направленного моста, расширение диапазона рабочих частот, а также уменьшение габаритов и массы.

[13]

Техническая задача заключается в том, что в направленном мосте, выполненном на печатной плате с расположенными на ней резисторами и содержащем симметрирующий трансформатор, изготовленный из отрезка коаксиальной линии передачи, согласно предложенному решению печатная плата выполнена из трех слоев СВЧ диэлектрика, при этом верхний и нижний слои выполнены из материала Rogers RO4350, средний слой выполнен из материала RO4450, а топология внутреннего и нижнего слоев является прямоугольным полигоном, соединенным с корпусом при помощи сквозных переходных отверстий, при этом на внутреннем слое выполнен центральный проводник коаксиальной линии передачи.

[14]

Краткое описание чертежей

[15]

На фиг. 1 - общий вид направленного моста, на фиг. 2 - вид А, на фиг. 3 представлена топология направленного моста на верхнем слое, состоящая из микрополосковых линий передач, на фиг. 4 представлен центральный проводник коаксиальной линии передачи, расположенный на внутреннем слое.

[16]

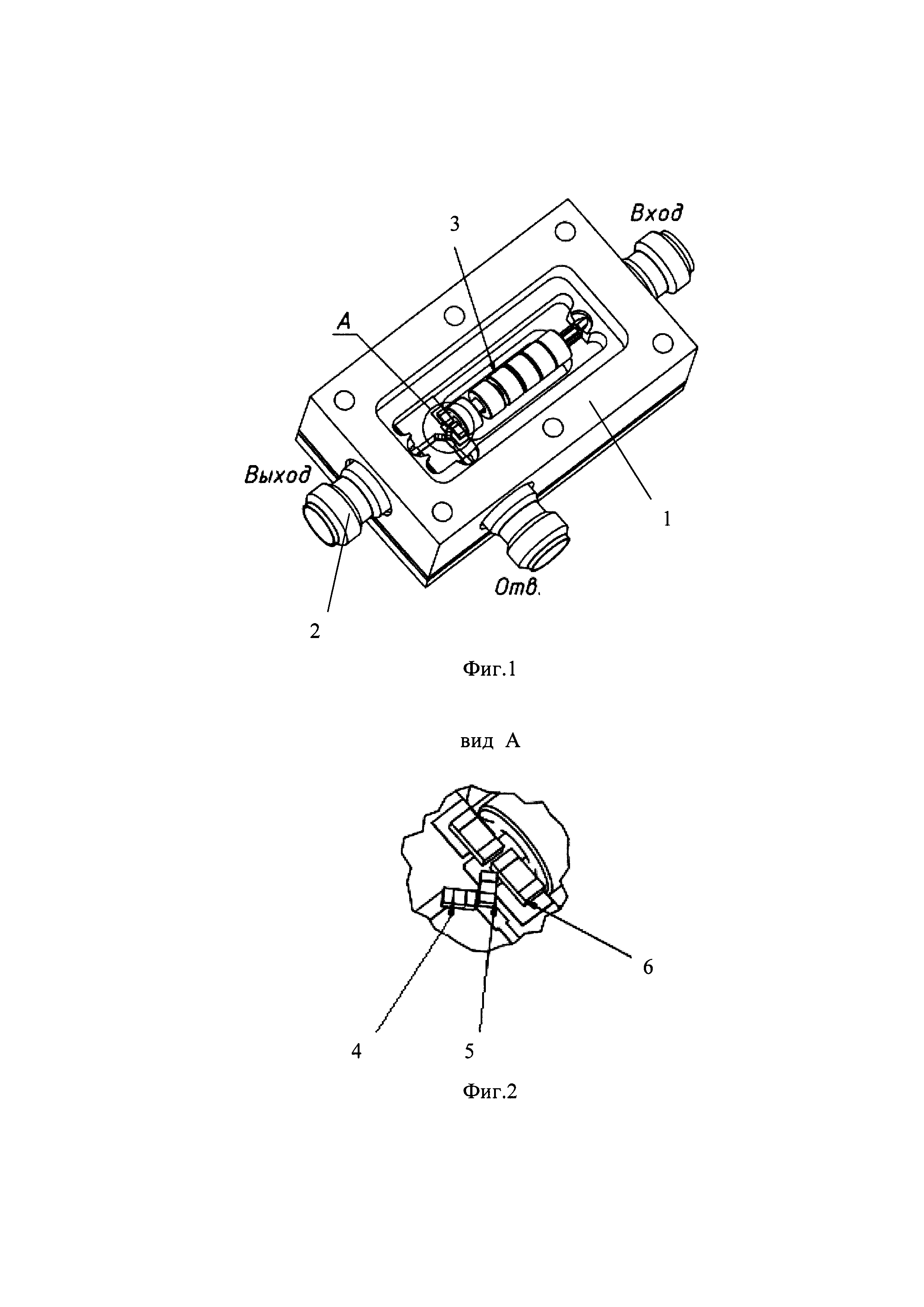
Направленный мост состоит из алюминиевого корпуса 1, имеющего прямоугольное основание. В корпусе 1 выполнены выборки различной глубины для установки печатной платы и отверстия для установки коаксиальных разъемов 2. Выборки для установки печатной платы являются прямоугольными и выполняются фрезеровкой. Длина и ширина выборок выполняются с небольшим увеличением относительно габаритов печатной платы, что позволяет обеспечить ее установку и центровку относительно коаксиальных разъемов 2. В месте установки ферритовых шайб 3 выборки в корпусе 1 являются сквозными. Основание корпуса 1 покрыто слоем никеля для обеспечения возможности пайки коаксиальных разъемов и печатной платы.

[17]

Печатная плата направленного моста состоит из нескольких слоев СВЧ диэлектрика. Верхний слой выполнен из материала Rogers RO4350 толщиной 0,254 мм, средний слой выполнен из материала Rogers RO4450B, толщиной 0,101 мм, нижний слой выполнен из материала Rogers RO4350 толщиной 0,178 мм соответственно. С учетом металлизации суммарная толщина печатной платы равна примерно 0,6 мм. Топология внутреннего и нижнего слоев является прямоугольным полигоном, соединенным с корпусом 1 при помощи сквозных переходных отверстий. На внутреннем слое выполнен центральный проводник 7 коаксиальной линии передачи. Соединение центрального проводника 7 с микрополосковой линией передачи на верхнем слое осуществляется за счет глухого переходного отверстия. Конструктивно центральный проводник 7 коаксиальной линии передачи выполнен на внутреннем слое печатной платы, а внешний проводник образуется за счет металлизации верхнего и нижнего слоев, а также торцов печатной платы. При этом размеры поперечного сечения коаксиальной линии выбираются с учетом обеспечения возможности установки ферритовых шайб 3. Ферритовые шайбы 3 имеют типоразмер 3,5×1,78×1,78 мм и начальную магнитную проницаемость, равную 10000.

[18]

Резисторы 4 и 5 (R1, R2) выполнены поверхностно-монтируемыми компонентами типоразмера 0402. Резистор 6 (R3) также является поверхностно-монтируемым, состоящим из двух, соединенных параллельно, резисторов типоразмера 0603 сопротивлением 22 Ом. При этом все резисторы устанавливаются на печатную плату таким образом, что их резистивный слой обращен к металлизации верхнего слоя печатной платы.

[19]

Значения резисторов R2 и R3 выбираются из обеспечения условия баланса моста . При этом значение номинала резистора R1 постоянно и равно сопротивлению генератора, т.е. 50 Ом. В этом случае направленный мост с номинальным значением переходного ослабления, равным 16 дБ, и потерь в основном канале, равным 1,5 дБ, будет иметь значения номиналов резисторов R2 и R3 270 Ом и 9,25 Ом соответственно. Из-за влияния симметрирующего трансформатора значение номинала резистора R3 необходимо увеличить до 11 Ом (примерно на 20%). В заявленной конструкции длина коаксиальной линии выбрана равной 13 мм, что обеспечивает установку шести ферритовых шайб 3. Соединение центрального проводника с микрополосковой линией передачи на верхнем слое осуществляется за счет глухого переходного отверстия.

[20]

Соединение центрального проводника коаксиального разъема 2 с линией передачи на печатной плате осуществляется при помощи золотой фольги. Это позволяет защитить печатную плату от механических воздействий во время присоединения или отсоединения от направленного моста различных устройств. После окончания сборки и настройки направленного моста основание корпуса 1 с двух сторон закрывается крышками, при этом между крышками и основанием корпуса 1 дополнительно устанавливается прокладка из токопроводящей резины для обеспечения лучшего экранирования конструкции.

[21]

Конструктивное исполнение симметрирующего трансформатора, состоящего из коаксиальной линии прямоугольного сечения, являющегося единым целым с печатной платой направленного моста, позволяет существенно сократить сложность и время сборки. Настройка направленного моста осуществляется за счет перемещения одной или нескольких ферритовых шайб вдоль оси коаксиального кабеля, а также их частичного экранирования. В итоге настроенный направленный мост имеет диапазон рабочих частот от 1 МГц до 13,5 ГГц. Направленность в диапазоне рабочих частот составляет не менее 20 дБ.

Как компенсировать расходы
на инновационную разработку
Похожие патенты