патент
№ RU 2323145
МПК B65D25/48

УСТРОЙСТВО ВЫВОДА ТЕКУЧИХ ПРОДУКТОВ ИЗ ЕМКОСТИ И РАЗДАТОЧНЫЙ ПАТРУБОК

Авторы:
Загороднюк Владимир Евгеньевич
Номер заявки
2004137054/12
Дата подачи заявки
20.12.2004
Опубликовано
27.04.2008
Страна
RU
Как управлять
интеллектуальной собственностью
Чертежи 
4
Реферат

[84]

Устройство вывода текучих продуктов из емкости и раздаточный патрубок относятся к устройствам для разлива, отпуска и переливания текучих продуктов, в том числе жидкостей, из емкостей. Устройство может быть использовано для ручного вылива текучих продуктов из емкостей, преимущественно малообъемных, в технологические отверстия различных устройств. Устройство содержит горловину и раздаточный патрубок, выполненный с возможностью оборотного размещения в горловине в транспортном положении и герметичного сочленения с внутренней поверхностью горловины в рабочем положении. Раздаточный патрубок может использоваться как независимая отдельная деталь и содержит установочную и направляющую части. Установочная часть выполнена с цилиндрическим кольцевым выступом большего диаметра с возможностью его упругого взаимодействия с внутренней частью горловины. Направляющая часть выполнена в виде последовательно наклоненных суживающихся от установочной части отрезков. Патрубок снабжен разделителем по выпуклой стороне соседних наклонных отрезков, начиная с конечного, с образованием воздушного канала. Наклон и сужение патрубка, а также возможность его вращения облегчают вылив текучего продукта из емкости. 2 н. и 8 з.п. ф-лы, 5 ил.

Формула изобретения

1. Устройство вывода текучих продуктов из емкости, содержащее горловину 2 и раздаточный патрубок 6, отличающееся тем, что оно выполнено с возможностью оборотного размещения раздаточного патрубка 6 в горловине 2 и его герметичного сочленения с внутренней поверхностью горловины 2 в рабочем положении.

2. Устройство по п.1, отличающееся тем, что верхняя часть 4 горловины 2 выполнена внутри цилиндрической.

3. Устройство по п.1, отличающееся тем, что оно выполнено с возможностью вращения и прокачивания раздаточного патрубка 6 в его оборотном размещении и вращения в рабочем положении в горловине 2.

4. Устройство по п.1, отличающееся тем, что в верхней части горловины 2 оно снабжено внутренним ограничителем 3.

5. Устройство по п.4, отличающееся тем, что внутренний ограничитель 3 выполнен в виде двух диаметрально расположенных выступов.

6. Устройство по п.1, отличающееся тем, что оно снабжено дополнительным средством 15 удержания раздаточного патрубка 6 в виде единой ленты с отверстиями 16, 17 для горловины 2 и раздаточного патрубка 6 с возможностью ее натяжения в рабочем положении раздаточного патрубка 6.

7. Раздаточный патрубок 6, содержащий установочную 7 и направляющую 10 части, отличающийся тем, что установочная часть 7 выполнена с возможностью упругого герметичного взаимодействия с посадочным отверстием, а направляющая часть 10 выполнена в виде последовательно наклоненных суживающихся от установочной части отрезков 11, 12, 13.

8. Патрубок по п.7, отличающийся тем, что установочная часть 7 имеет заходный элемент 9 и уплотняющий элемент 8, в виде кольцевого цилиндрического выступа большего диаметра, и снабжена с обеих сторон внутренними буртиками 14, 18.

9. Патрубок по п.8, отличающийся тем, что заходный элемент 9 установочной части 7 выполнен в виде сопряженных конусообразных составляющих.

10. Патрубок по п.7, отличающийся тем, что направляющая часть 10 выполнена с разделителем 19 по выпуклой стороне соседних наклонных отрезков, начиная с конечного 13.

Описание

[1]

Область техники, к которой относится изобретение

[2]

Изобретение относится к устройствам для разлива, отпуска и переливания текучих продуктов, в том числе жидкостей, из емкостей и может быть использовано для ручного разлива из емкостей, преимущественно малообъемных.

[3]

Уровень техники

[4]

Известны традиционно применяемые металлические, суживающиеся и наклонные раздаточные патрубки, обычно устанавливаемые на металлические канистры (емкостью от 5 до 20 литров), присоединительные узлы которых сходны с узлами крепления крышек канистр и содержат трубки сообщения емкости канистры с окружающим воздухом, для облегчения вылива.

[5]

Также известны раздаточные патрубки для пластмассовых канистр (емкостью от 5 до 20 литров), которые имеют изогнутый пластмассовый или металлический патрубок одного диаметра с накидной гайкой, крепящейся на место снятой пробки, и не содержат отдельного воздушного канала.

[6]

Известны крышки с коротким патрубком и отверстием для воздуха, применяемые для малогабаритных емкостей (от 0,05 до 0,25 литра).

[7]

Приведенные раздаточные устройства не являются принадлежностью емкостей и представляют собой самостоятельные изделия, которые не всегда бывают под рукой.

[8]

Известен "Уплотняемый раздаточный наконечник упаковки с текучими пищевыми продуктами" (Патент US 6398075 ВА, 7 В67D 5/00, "Изобретения стран мира", вып. 34, №11/2003, с.53), используемый с упаковками, снабженными герметизирующей мембраной, которую при установке раздаточного наконечника вырезает, вскрывая упаковку, его острая кромка.

[9]

Раздаточный наконечник представляет собой одну деталь в виде прямого патрубка с двумя внешними резьбовыми участками большего и меньшего радиуса, объединенными уплотнительным диском большего диаметра. На резьбовом участке большего радиуса установлена крышка, а резьбовой участок вворачивается во вскрытое отверстие упаковки до уплотняющего диска, обеспечивающего герметизацию раздаточного наконечника и упаковки.

[10]

Раздаточный наконечник из-за прямого с широким отверстием патрубка не обеспечивает налив в небольшие отверстия и не может быть использован для емкостей с непищевыми текучими продуктами.

[11]

Наиболее близким к заявляемой полезной модели является устройство для вылива автомобильных масел, которое используется в 5-литровых пластиковых емкостях (SHELL, HELIX, LIQUI MOLY), является неотъемлемой частью емкости и представляет собой жестко закрепленный в основной крышке раздаточный патрубок, представляющий собой тонкостенную трубку двух диаметров, меньший из которых является конечным и снабжен дополнительной съемной крышкой с петлей с возможностью ее одноразовой укладки при изготовлении узла герметизации емкости.

[12]

В транспортном состоянии раздаточный патрубок находится в сложенном состоянии частично в венчике и частично в горловине (часть трубки большего диаметра вывернута внутрь горловины, в ней размещена часть трубки меньшего диаметра, а верх дополнительной крышки расположен заподлицо с основной крышкой).

[13]

Для приведения в рабочее положение раздаточный патрубок вытягивают за кольцо на дополнительной крышке, которая снимается для обеспечения выливания масла. Раздаточный патрубок при этом устанавливается вертикально и служит для подачи масла в технологические отверстия автомобильного двигателя.

[14]

Указанное устройство обладает рядом недостатков, а именно:

[15]

- не имеет наклона, облегчающего налив в технологические отверстия (попытка его изгиба приводит к пережиманию трубки);

[16]

- не имеет воздушного канала для обеспечения ламинарного потока вылива (масло булькает и расплескивается);

[17]

- торчащий патрубок создает неудобства при транспортировке в багажнике автомобиля;

[18]

- является одноразовым, т.к. вторичный возврат патрубка в исходное (транспортное) положение не предусмотрен.

[19]

Раскрытие изобретения

[20]

Технической задачей заявляемого изобретения является создание устройства вылива и раздачи текучих продуктов, как совокупности горловины емкости и являющегося ее принадлежностью раздаточного патрубка, хранящегося в ней при транспортировке, выполняющего свою функцию в рабочем положении и убирающегося в емкость после использования, обеспечивающего удобство вылива и ламинарность потока. Кроме того, раздаточный патрубок должен быть автономным для возможности использования с другими емкостями.

[21]

Указанная задача решается тем, что устройство вывода текучих продуктов из емкости содержит горловину и раздаточный патрубок и выполнено с возможностью оборотного размещения раздаточного патрубка в горловине и его герметичного сочленения с внутренней поверхностью горловины в рабочем положении.

[22]

Верхняя часть горловины выполнена внутри цилиндрической.

[23]

Устройство выполнено с возможностью вращения и прокачивания раздаточного патрубка в его оборотном размещении и вращения в рабочем положении в горловине.

[24]

Устройство в верхней части горловины снабжено внутренним ограничителем.

[25]

Внутренний ограничитель выполнен в виде как минимум двух диаметрально расположенных выступов.

[26]

Устройство снабжено дополнительным средством удержания раздаточного патрубка в виде единой ленты с отверстиями для горловины и раздаточного патрубка с возможностью ее натяжения в рабочем положении раздаточного патрубка.

[27]

Раздаточный патрубок содержит установочную и направляющую части, установочная часть выполнена с возможностью упругого герметичного взаимодействия с посадочным отверстием, а направляющая часть выполнена в виде последовательно наклоненных суживающихся от установочной части отрезков.

[28]

Установочная часть раздаточного патрубка имеет заходный элемент и уплотняющий элемент в виде кольцевого цилиндрического выступа большего диаметра и снабжена с обеих сторон внутренними буртиками.

[29]

Заходный элемент установочной части выполнен в виде сопряженных конусообразных составляющих.

[30]

Направляющая часть раздаточного патрубка выполнена с разделителем по выпуклой стороне соседних наклонных отрезков, начиная с конечного.

[31]

Краткое описание чертежей

[32]

На представленных графических материалах изображена конструкция устройства вывода текучих продуктов из емкости и раздаточный патрубок.

[33]

На фиг.1 представлен общий вид (сбоку) устройства вывода текучих продуктов из емкости в транспортном положении в разрезе;

[34]

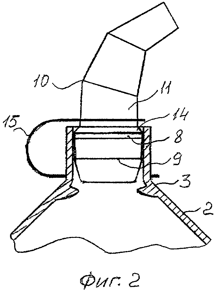
на фиг.2 - общий вид (сбоку) устройства вывода текучих продуктов из емкости в рабочем положении с дополнительным средством удержания раздаточного патрубка в разрезе;

[35]

на фиг.3 - раздаточный патрубок в разрезе;

[36]

на фиг.4 - временное размещение раздаточного патрубка;

[37]

на фиг.5 - дополнительное средство удержания раздаточного патрубка (в аксонометрии).

[38]

Осуществление изобретения

[39]

Предлагаемая конструкция устройства вывода текучих продуктов из емкости и раздаточный патрубок представляют собой пример их наилучшей реализации, но не исчерпывают всех возможных разновидностей их практического осуществления.

[40]

Обратимся к фиг.1. На ней изображено устройство вывода текучих продуктов из емкости 1, в транспортируемом состоянии, которое включает:

[41]

горловину 2 с ограничителями, выполненными в виде двух диаметрально противоположных выступов 3 в верхней части горловины 2,

[42]

венчик 4 горловины 2 с укупорочной крышкой 5 (например, винтовой), раздаточный патрубок 6, отформованный в виде одной детали из пластической массы трубчатого сечения, с установочной частью 7 с уплотняющим элементом в виде кольцевого цилиндрического выступа 8 большего диаметра и заходного элемента 9 в виде сопряженных конусообразных составляющих (кольцевой цилиндрический выступ 8 плавно сопряжен с заходным элементом 9) и с направляющей частью 10, включающей конические отрезки 11, 12, 13,

[43]

буртик 14 установочной части 7,

[44]

дополнительное средство 15 удержания раздаточного патрубка 6 с отверстием 16 для направляющей части 10 раздаточного патрубка 6 и отверстием 17 для венчика 4 горловины 2 в транспортируемом состоянии. При этом раздаточный патрубок 6 размещен внутри горловины 2 емкости 1 в подвешенном на буртике 14 и выступах 3 состоянии, с размещенной направляющей частью 10 внутри горловины 2, обеспечивающем возможность его поворота на 360 градусов и прокачивания в необходимых пределах, обеспеченного сопряженными конусообразными составляющими заходного элемента 9 и нахождением кольцевого цилиндрического выступа 8 ниже венчика 4.

[45]

Обратимся к фиг.2. На ней изображено устройство вывода текучих продуктов из емкости 1 в рабочем состоянии, при котором раздаточный патрубок 6 установлен кольцевым цилиндрическим выступом 8 большего диаметра установочной части 7 внутри венчика 4 с натягом, обеспечивающим герметичность их соединения и возможность поворота на 360 градусов в фиксированном относительно оси венчика 4 состоянии, обеспечиваемом шириной кольцевого цилиндрического выступа 8. При этом направляющая часть 10 раздаточного патрубка 6 размещена снаружи горловины 2 емкости 1.

[46]

Здесь же показано дополнительное средство 15 удержания раздаточного патрубка 6, отверстие 16 которого охватывает конический отрезок 11 направляющей части 10 раздаточного патрубка 6, а отверстие 17 охватывает венчик 4 горловины 2 емкости 1.

[47]

Обратимся к фиг.3. На ней изображен раздаточный патрубок 6 в разрезе, с кольцевым цилиндрическим выступом 8, конусообразными составляющими заходного элемента 9 и буртиками 14 и 18 установочной части 7, коническими отрезками 11, 12, 13, разделителем 19 и воздушным каналом 20 направляющей части 10.

[48]

Обратимся к фиг.4. На ней изображено временное размещение раздаточного патрубка 6 на горловине 2 при закрытой крышкой 5 емкости 1 с помощью дополнительного средства 15 удержания раздаточного патрубка 6.

[49]

Обратимся к фиг.5. На ней изображено дополнительное средство 15 удержания раздаточного патрубка 6 в аксонометрии, выполненного в виде тонкой ленты, например, из гибкого пластического материала, предназначенное для дополнительного удержания раздаточного патрубка 6 при выливании текучего продукта, например, в начале вылива из емкости 1, когда возможно воздействие ударной волны продукта.

[50]

Если емкость большая, например 10-литровая, дополнительное средство 15 удержания выполняет функцию элемента поддержки, облегчающего вылив из емкости 1.

[51]

Дополнительное средство 15 удержания используется с наибольшим удобством при наличии у емкости ручки, которая захватывается ладонью, а указательный палец пропускается в петлю, образуемую лентой, и удерживает раздаточный патрубок 6 путем ее натяжения.

[52]

Предлагаемое изобретение выполняет свои функции следующим образом.

[53]

В исходном состоянии пластиковая емкость 1 заполнена текучим продуктом, например незамерзающей жидкостью для смывания стекол автомобиля, и закрыта, например, винтовой крышкой 5.

[54]

Раздаточный патрубок 6 размещен направляющей частью 10 внутрь горловины 2 емкости 1. Буртик 14 установочной части 7 раздаточного патрубка 6 опирается на два диаметрально противоположных ограничителя 3, расположенных в верхней части горловины 2 для обеспечения возможности поворота на 360 градусов и прокачки относительно оси емкости 1 раздаточного патрубка 6 для размещения в горловинах различной геометрии (круглого или многоугольного сечения). Сопряженные конусообразные составляющие части заходного элемента 9 установочной части 7 облегчают свободу размещения раздаточного патрубка 6 в горловине 2.

[55]

Дополнительное средство 15 удержания раздаточного патрубка 6 также находится в транспортном положении, часть с большим отверстием 17 - под крышкой 5 на венчике 4, а часть с малым отверстием 16 для направляющей части 10 раздаточного патрубка 6 пропущена сквозь отверстие 17 и прижата к поверхности горловины 2 за счет упругости образованной петли (показана, но не обозначена).

[56]

При переводе устройства для вылива в рабочее состояние отвинчивается крышка 5, раздаточный патрубок 6 вынимается из горловины 2, например, с помощью пальца за буртик 18 установочной части 7. Дополнительное средство 15 удержания раздаточного патрубка 6 освобождается и отверстием 17 надевается на венчик 4 горловины 2, а в отверстие 16 пропускается направляющая часть 10 раздаточного патрубка 6 до установочной части 7.

[57]

Раздаточный патрубок 6 вводится установочной частью 7 в отверстие венчика 4 горловины 2. При этом кольцевой цилиндрический выступ 8 установочной части 7 устанавливается с натягом внутри венчика 4 за счет упругой деформации как цилиндрического выступа 8 большего диаметра, так и венчика 4, выполненных из пластмасс, тем самым обеспечивая герметичность их соединения.

[58]

Направляющая часть 10 раздаточного патрубка 6, выполненная в виде наклонных конических отрезков 11, 12, 13 и снабженная разделителем 19, создающим возможность, с помощью канала 20, доступа воздуха в емкость 1, облегчает вылив жидкости и налив ее в технологические отверстия, например в емкость омывателя ветрового стекла автомобиля, ламинарным потоком без изменения направления струи жидкости.

[59]

Для большего удобства вылива направляющий патрубок 6 может поворачиваться в отверстии венчика 4 относительно его оси на 360 градусов.

[60]

При необходимости, раздаточный патрубок 6 может быть вынут из венчика 4 горловины 2 и временно находиться вне емкости 1, закрытой крышкой 5, но при ней, на дополнительном средстве 15 удержания.

[61]

Раздаточный патрубок 6 может использоваться в рабочем состоянии и с другими пластиковыми емкостями, имеющими соответствующий установочному элементу 7 внутренний диаметр венчика. С учетом унификации конструкции венчиков выпускаемых пластиковых емкостей возможности использования раздаточного патрубка 6 весьма обширны.

[62]

Предлагаемое устройство может быть изготовлено из разнообразных пластических материалов на стандартном оборудовании в том числе методом формования раздаточного патрубка 6 в виде одной детали различного цвета.

[63]

Предлагаемое устройство является универсальной конструкцией, в которой раздаточный патрубок 6 всегда находится с емкостью 1, не занимая дополнительного места вне ее в транспортируемом положении.

[64]

Предлагаемое устройство может использоваться не только для жидкостей, но и для мелкодисперсных сыпучих материалов, а при использовании для налива в емкость и вылива из нее бензина обеспечивает безопасность, т.к. поток бензина за счет имеющегося воздушного канала 20 выливается ламинарно, не отрывается от среза конечного конического элемента 13 раздаточного патрубка 6, поэтому возможность образования искры статического электричества исключается.

[65]

Перечень обозначений чертежей

[66]

1 Емкость

[67]

2 Горловина

[68]

3 Ограничители

[69]

4 Венчик

[70]

5 Крышка

[71]

6 Раздаточный патрубок

[72]

7 Установочный элемент раздаточного патрубка

[73]

8 Кольцевой цилиндрический выступ установочного элемента

[74]

9 Конические части установочного элемента

[75]

10 Направляющий элемент раздаточного патрубка

[76]

11,12,13 Конические отрезки направляющего элемента

[77]

14 Буртик установочной части раздаточного патрубка

[78]

15 Дополнительное средство удержания раздаточного патрубка

[79]

16 Отверстие для направляющего элемента раздаточного патрубка

[80]

17 Отверстие для венчика горловины

[81]

18 Буртик установочной части раздаточного патрубка

[82]

19 Разделитель

[83]

20 Воздушный канал

Как компенсировать расходы
на инновационную разработку
Похожие патенты