патент
№ RU 2604772
МПК F02K9/34

ТВЕРДОТОПЛИВНЫЙ ИМПУЛЬСНЫЙ ДВИГАТЕЛЬ

Авторы:
Мухамедов Виктор Сатарович Измайлов Алексей Юрьевич Алферов Александр Александрович
Все (4)
Номер заявки
2015127383/06
Дата подачи заявки
08.07.2015
Опубликовано
10.12.2016
Страна
RU
Как управлять
интеллектуальной собственностью
Чертежи 
2
Реферат

Изобретение относится к области ракетной техники и может быть использовано при создании твердотопливных импульсных двигателей, к которым предъявляются повышенные требования разноимпульсности при работе в паре или в целой связке. Твердотопливный импульсный двигатель содержит камеру сгорания с зарядом из цилиндрических канальных шашек всестороннего горения, расположенных между опорными решетками, сопло, воспламенитель, закрепленный на передней опорной решетке со стороны донной части камеры сгорания, и пиропатрон, установленный в донной части камеры сгорания. Между соплом и опорной решеткой, расположенной со стороны сопла, установлена перфорированная тонкостенная термостойкая перегородка эллиптической формы, обращенная выпуклой поверхностью к соплу и имеющая перфорацию в виде сквозных отверстий. Оси сквозных отверстий перегородки составляют острый угол с осью сопла с вершиной в сторону критического сечения сопла. Суммарная площадь отверстий перегородки превышает площадь критического сечения сопла. Изобретение позволяет снизить разброс импульса тяги твердотопливного импульсного двигателя за счет увеличения времени пребывания частиц топлива в его сопловом тракте. 2 з.п. ф-лы, 2 ил.

Формула изобретения

1. Твердотопливный импульсный двигатель, содержащий камеру сгорания с зарядом из цилиндрических канальных шашек всестороннего горения, расположенных между опорными решетками, сопло, воспламенитель, закрепленный на передней опорной решетке со стороны донной части камеры сгорания, пиропатрон, установленный в донной части камеры сгорания, отличающийся тем, что между соплом и опорной решеткой, расположенной со стороны сопла, установлена перфорированная тонкостенная термостойкая перегородка эллиптической формы (перегородка), обращенная выпуклой поверхностью к соплу и имеющая перфорацию в виде сквозных отверстий, оси которых составляют острый угол с осью сопла с вершиной в сторону критического сечения сопла, при этом суммарная площадь отверстий перегородки превышает площадь критического сечения сопла

2. Твердотопливный импульсный двигатель по п. 1, отличающийся тем, что вершина перегородки расположена от критического сечения сопла на расстоянии не менее 2-х калибров диаметра критического сечения сопла.

3. Твердотопливный импульсный двигатель по п. 1, отличающийся тем, что после перегородки с зазором, величина которого составляет не менее 1-й толщины перегородки, установлена дополнительная перфорированная тонкостенная термостойкая перегородка эллиптической формы с осевым отверстием в ней, при этом вершина дополнительной перегородки отстоит от критического сечения на расстоянии не менее 2-х калибров диаметра критического сечения, а оси остальных отверстий в ней составляют острый угол с осью сопла с вершиной в сторону критического сечения сопла и не совпадают с осями отверстий раннее упомянутой перегородки.

Описание

[1]

Настоящее техническое предложение относится к области ракетной техники и предназначено для увеличения точности обеспечения импульса тяги автономных двигателей, работающих одновременно в связке, например, в качестве двигателей закрутки головных блоков, для которых выставляются повышенные требования к разноимпульсности в работающей паре (или в целой связке) двигателей.

[2]

Известен твердотопливный импульсный двигатель, содержащий камеру сгорания с зарядом из цилиндрических канальных шашек, расположенных между опорными решетками, сопло, воспламенитель, расположенный у передней крышки камеры сгорания, пиропатрон, установленный в данной части камеры сгорания (см. кн. «Твердотопливные регулируемые двигательные установки» авт. Ю.С. Соломонов, A.M. Липанов, А.В. Алиев, А.А. Дорофеев, В.И. Черепов, 2011 г. ООО «Издательство Машиностроение» с. 92, рис. 2.3.2) - принятый авторами за прототип.

[3]

При горении заряда твердого топлива в виде канальных цилиндрических шашек всестороннего горения в таком двигателе наблюдается выброс несгоревших частиц топлива. Это объясняется тем, что канальные цилиндрические шашки при работе утоняются и разрушаются как от действия газодинамических сил, так и от действия перегрузок. Кроме того, разрушению способствуют технологические эксцентриситеты наружной поверхности шашки по отношению к поверхности канала.

[4]

Выброс топлива сказывается на величину реализуемого двигателем импульса тяги и его разбросы, особенно для малогабаритных двигателей. Для уменьшения выброса топлива существенную роль играет время пребывания догорающих частиц топлива в сопловом тракте.

[5]

Задачей изобретения является повышение времени пребывания частиц топлива в сопловом тракте и тем самым получение стабильного импульса тяги двигателей от истечения потока продуктов сгорания заряда.

[6]

Указанная задача достигается за счет того, что в известном твердотопливном импульсном двигателе, содержащем камеру сгорания с зарядом из цилиндрических канальных шашек всестороннего горения, расположенных между опорными решетками, сопло, воспламенитель, закрепленный на передней опорной решетке со стороны донной части камеры сгорания, пиропатрон, установленный в донной части камеры сгорания, между соплом и опорной решеткой (расположенной со стороны сопла) установлена перфорированная тонкостенная термостойкая перегородка эллиптической (сферической) формы, обращенная выпуклой поверхностью к соплу и имеющая перфорацию в виде сквозных отверстий, оси которых составляют острый угол с осью сопла с вершиной в сторону критического сечения сопла, при этом суммарная площадь отверстий перегородки превышает площадь критического сечения сопла, а вершина перегородки расположена от критического сечения сопла на расстоянии не менее 2-х калибров диаметра критического сечения.

[7]

Для повышения эффективности поставленной задачи после перфорированной перегородки с зазором, величина которого составляет не менее 1-й толщины перегородки, может быть установлена дополнительная перфорированная тонкостенная термостойкая перегородка эллиптической (сферической) формы с осевым отверстием, при этом вершина дополнительной перегородки отстоит от критического сечения (dкр) на расстоянии не менее 2-х калибров диаметра критического сечения, а оси остальных отверстий составляют острый угол с осью сопла с вершиной в сторону критического сечения сопла и не совпадают с осями отверстий перфорированной перегородки.

[8]

Предложенное техническое решение поясняется чертежами:

[9]

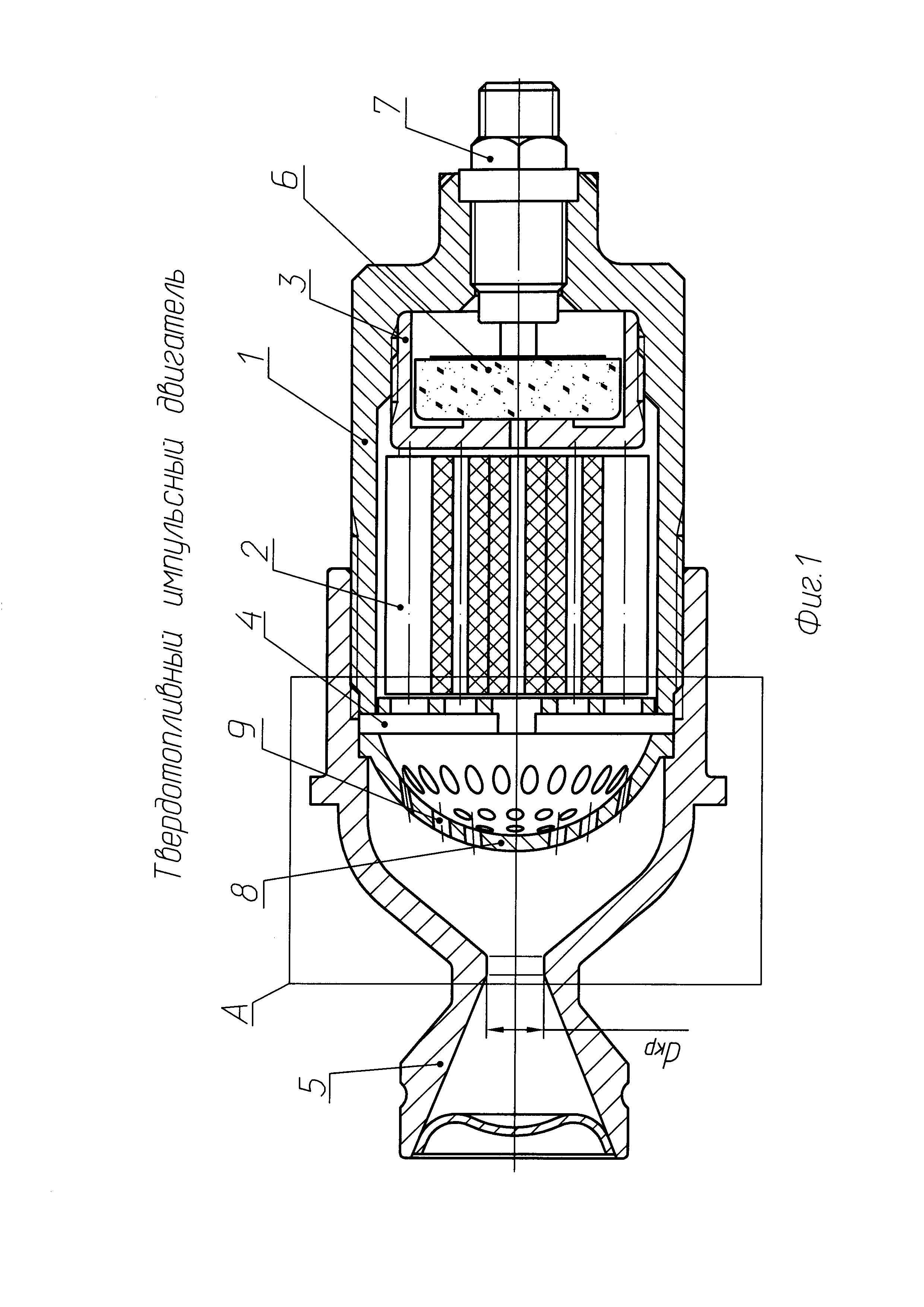
фиг. 1 - общий вид твердотопливного импульсного двигателя;

[10]

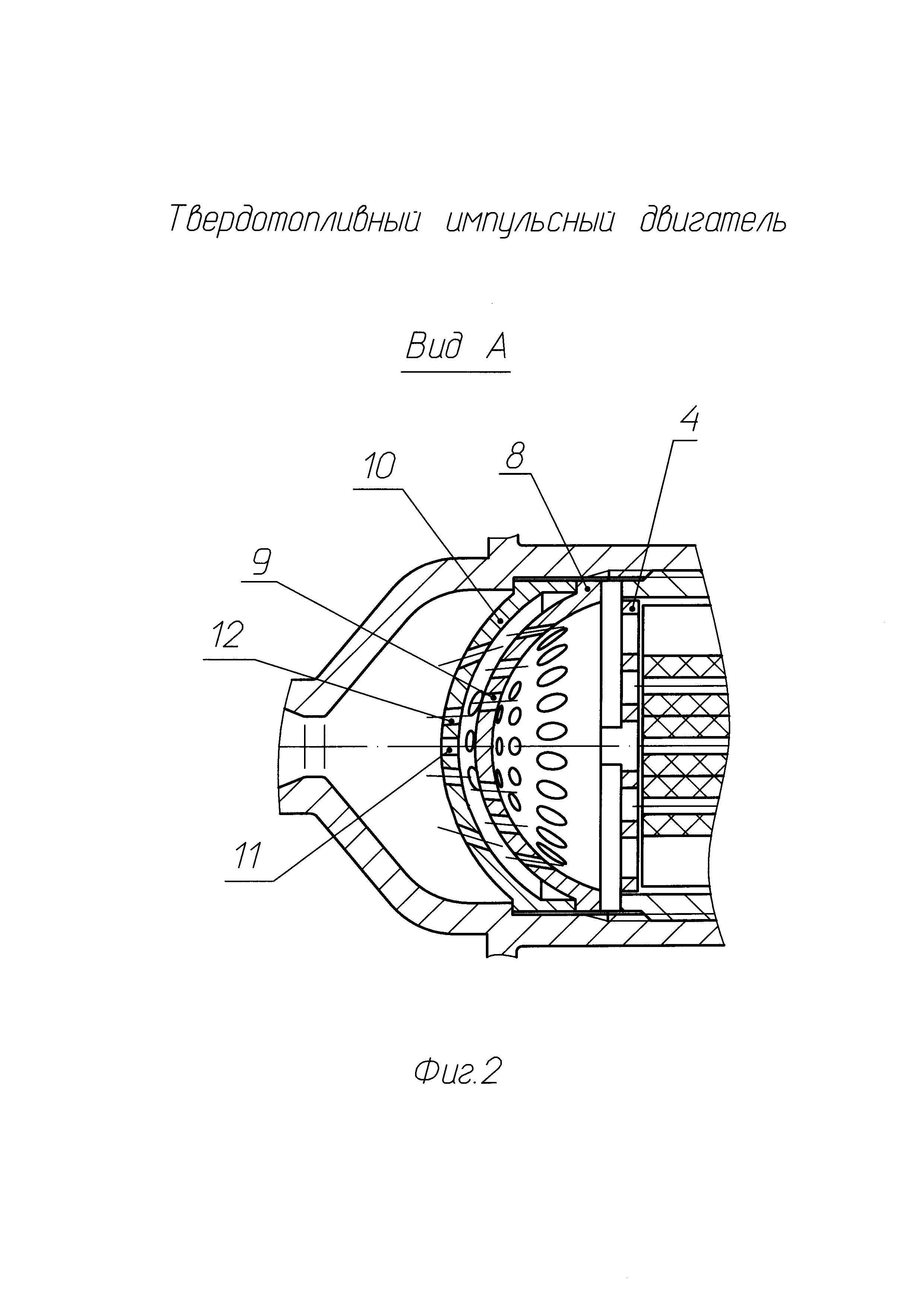
фиг. 2 - вариант исполнения с применением двух перегородок.

[11]

Твердотопливный импульсный двигатель состоит из камеры сгорания 1 с расположенным внутри зарядом 2 из цилиндрических канальных шашек всестороннего горения, расположенных между опорными решетками 3 (передняя) и 4 (обращенная к соплу 5), воспламенитель 6, закрепленный на передней опоре решетки 3, и пиропатрон 7, закрепленный в донной части камеры сгорания 1. Камера сгорания закрыта сопловой крышкой, содержащей сопло 5 с критическим сечением dкр. Между соплом 5 и опорной решеткой 4 установлена перфорированная тонкостенная перегородка 8 эллиптической (сферической) формы без осевого отверстия, обращенная выпуклой поверхностью к соплу 5 и имеющая перфорацию в виде сквозных отверстий 9, оси которых составляют острый угол с осью сопла с вершиной в сторону критического сечения сопла 5. Вершина перегородки 8 расположена от критического сечения (dкр) сопла на расстоянии не менее 2-х калибров диаметра критического сечения (dкр) и по оси сопла не имеет отверстие. При этом суммарная площадь отверстий 9 перегородки 8 превышает площадь критического сечения (dкр) сопла.

[12]

В варианте исполнения с применением двух перегородок в твердотопливном импульсном двигателе после перфорированной перегородки 8 (фиг. 2) с зазором, величина которого составляет не менее 1-й толщины перегородки, может быть установлена дополнительная перфорированная тонкостенная термостойкая перегородка 10 эллиптической (сферической) формы с осевым отверстием 11. При этом вершина дополнительной перегородки 10 отстоит от критического сечения (dкр) на расстоянии не менее 2-х калибров диаметра критического сечения, а оси остальных отверстий 12 составляют острый угол с осью сопла с вершиной в сторону критического сечения сопла 5 и не совпадают с осями отверстий 9 перфорированной перегородки 8.

[13]

Двигатель работает следующим образом.

[14]

При подаче команды на срабатывание двигателя срабатывает пиропатрон 7, который своим форсом зажигает воспламенитель 6, продукты сгорания которого, обтекая шашки заряда 2, зажигают их. В конце горения шашек заряда 2 из-за разносводности шашек, воздействия газодинамических сил и осевых перегрузок ломаются шашки заряда 2, и их осколки, вылетая через отверстия в опорной решетке 4, попадают в полость между опорной решеткой 4 и перфорированной перегородкой 8, где поток продуктов сгорания и несгоревших осколков задерживается и через отверстия 9 догорающие осколки шашек вносятся скоростным потоком газов в сопловой тракт сопла 5, успевая окончательно догореть до вылета через критическое сечение (dкр).

[15]

Этому способствует создание турбулентного потока продуктов сгорания за счет взаимного влияния истекающего газового потока через расположенные отверстия 9 в перфорированной перегородке 8, тем самым обеспечивая стабильный импульс тяги двигателя, а в сочетании с ограничением разброса массы зарядов 2 для двух и более двигателей в комплекте достигается минимальная разноимпульсность тяги в связке двигателей (менее 0,5%).

[16]

Отсутствие осевого отверстия в перегородке 8 исключает прямой вылет несгоревших осколков заряда 2 в сопловой тракт сопла 5.

[17]

Наклон осей отверстий 9 исключает прямое воздействие истекающих из них струй газового потока на стенку сопловой крышки, предотвращая эрозию стенки и ее прогар.

[18]

Конкретные соотношения радиусов кривизны перфорированной решетки 8, площадей отверстия 9 и их расположение по отношению к опорной решетке определяются расчетно-экспериментальным путем при разработке конкретного образца импульсного двигателя с заданными внутрибаллистическими и энергетическими характеристиками.

[19]

При установке дополнительной перфорированной перегородки 10 (фиг. 2) поток продуктов сгорания заряда 2, в том числе и несгоревшие частицы топлива, в зазоре между перегородками 8 и 10 меняют направление движения для истечения из отверстий 12, в перфорированной перегородке 10. Тем самым увеличивается время пребывания потока продуктов горения заряда 2 в тракте сопла 5, повышая эффективность работы двигателя - уменьшаются разбросы импульса тяги.

Как компенсировать расходы
на инновационную разработку
Похожие патенты